Ministerio de Industria, Turismo y Comercio LogoMinisterior
 

Alerta

Resultados 557 resultados
LastUpdate Última actualización 02/04/2026 [06:49:00]
pdfxls
Solicitudes publicadas en los últimos 15 días / Applications published in the last 15 days
previousPage Resultados 550 a 557 de 557  

ELECTROCHEMICAL CELL AND ELECTROCHEMICAL DEVICE

NºPublicación:  EP4711506A1 18/03/2026
Solicitante: 
DE NORA PERMELEC LTD [JP]
De Nora Permelec Ltd
EP_4711506_PA

Resumen de: EP4711506A1

Provided are an electrochemical cell and an electrochemical device that are easily manufactured and capable of retrofitting. The electrochemical cell includes: a first plate and a second plate between which an anode chamber and a cathode chamber are respectively formed on respective opposing inner surface sides thereof; and a sealing portion provided between the first plate and the second plate, in which the sealing portion includes plural frame bodies disposed at intervals from an inner side to an outer side, and plural sealing members disposed between the plural frame bodies and disposed in a compressed state between the first plate and the second plate. The electrochemical device includes the electrochemical cell.

IMPROVEMENTS TO ELECTRO-SYNTHETIC OR ELECTRO-ENERGY CELLS

NºPublicación:  EP4709909A1 18/03/2026
Solicitante: 
HYSATA PTY LTD [AU]
Hysata Pty Ltd
CN_121399300_PA

Resumen de: CN121399300A

An electrosynthetic or electrical energy cell is disclosed that includes a first gas diffusion electrode and a second electrode. A spacer, including but not limited to a porous capillary spacer, is at least partially positioned between the first gas diffusion electrode and the second electrode. In one form, the liquid electrolyte is transferred onto a side surface of the separator beyond the electrode. In one example, a liquid electrolyte reservoir is also provided in which the first gas diffusion electrode, the second electrode, and the spacer are positioned outside the liquid electrolyte reservoir. In one example, a liquid electrolyte reservoir includes an aperture for releasing a liquid electrolyte. In another form, an intermediate liquid supply structure is located at least partially between the spacer and the liquid electrolyte reservoir, where the liquid electrolyte is transferred through the intermediate liquid supply structure. Methods of operation and cell stacks are also disclosed.

ELECTROLYTE COMPOSITION FOR ALL-IRON REDOX FLOW BATTERIES

NºPublicación:  EP4712177A1 18/03/2026
Solicitante: 
VOLTSTORAGE GMBH [DE]
VoltStorage GmbH
EP_4712177_PA

Resumen de: EP4712177A1

The invention provides an electrolyte for use in an all-iron redox flow battery, comprising an aqueous solution of an Fe<sup>2+</sup> salt; a first cation additive being aluminium Al<sup>3+</sup>; and a second cation additive selected from the group consisting of Na<sup>+</sup>, K<sup>+</sup>, Ca<sup>2+</sup>, Mg<sup>2+</sup> or NH<sub>4</sub><sup>+</sup>.

RECIRCULATION DEVICE FOR A FUEL CELL

NºPublicación:  EP4710374A1 18/03/2026
Solicitante: 
WOODWARD LORANGE GMBH [DE]
Woodward L`Orange GmbH
KR_20260025855_PA

Resumen de: WO2025031655A1

The present invention relates to a recirculation device (2) for a fuel cell (3). The recirculation device (2) has a drive (10), a conveying means (20) and a separation means (30). The drive (10) comprises a drive shaft (11). The conveying means (20) is coupled to the drive shaft (11) in such a manner that the conveying means (20) can be driven by the drive (10). The conveying means (20) is designed to recirculate a medium as recirculated material in the fuel cell (3). The separation means (30) is arranged upstream of the conveying means (20) in the flow direction of the recirculated material. The separation means (30) is coupled to the drive shaft (11) in such a manner that the separation means (30) can be driven by the drive (10). The separation means (30) is designed to separate liquid from the recirculated material.

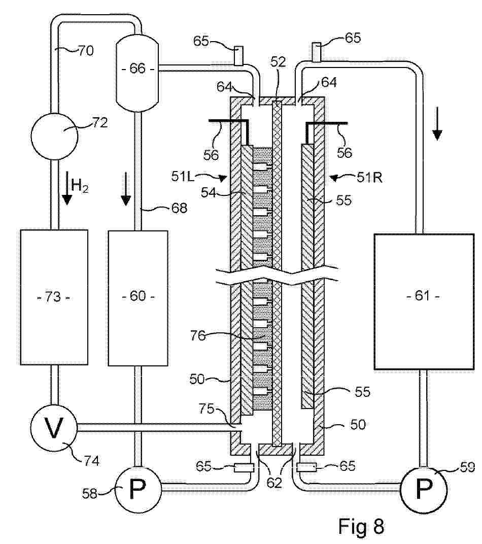
DEVICE FOR CHECKING THE TIGHTNESS OF ELECTROCHEMICAL CELLS

NºPublicación:  EP4710080A1 18/03/2026
Solicitante: 
MAFU ROBOTICS GMBH [DE]
MAFU Robotics GmbH
DE_102023112531_PA

Resumen de: WO2024230864A1

The invention relates to a device (1) for checking the tightness of electrochemical cells (2), in particular with regard to H2 tightness. The device has a chamber (3) for accommodating and checking at least one electrochemical cell (2). For the purpose of the check, the chamber (3) is subjected to a vacuum. A unit (6) for gas supply is provided, which supplies an electrochemical cell (2) to be checked with compressed air, as a result of which the interior of the electrochemical cell (2) is pressurized. This is made possible particularly advantageously in that the pressure difference between the interior of the cell (2) having the excess pressure and the chamber (3) having the vacuum is particularly high and is additionally varied periodically. As a result, there is a particular incentive for a periodically varying gas transfer between the interior of the cell (2) and the chamber (3) under vacuum, which allows for the tightness to be checked particularly advantageously and meaningfully. The pressure sensor (7) allows for a periodic pressure increase in the chamber (3) to be detected and to be analyzed by means of the control unit (8), and for meaningful information regarding insufficient tightness to be obtained, without interference by non-periodic interfering effects, and made available to the user. The device according to the invention can detect very minor leaks, which for example lead to leakage rates in the range of 10-4 mbar per liter of the volume and per second, and a

Pump

NºPublicación:  GB2644122A 18/03/2026
Solicitante: 
CUMMINS FUEL SYSTEMS WUHAN CO LTD [CN]
Cummins Fuel Systems (Wuhan) Co Ltd
GB_2644122_PA

Resumen de: GB2644122A

A bearing housing (93, Fig.7) for a hydrogen recirculation pump 1, comprising, a body (99, Fig.7) configured to receive one or more bearings (95, Fig.7), the one or more bearings being configured to support rotation of an impeller (29, Fig.7) about a longitudinal axis and a connecting flange (107, Fig.7) configured to engage the impeller , the connecting flange extending around and radially outward of the body; and wherein the connecting flange is offset along the longitudinal axis, from an axial midpoint of the body. Also disclosed are a hydrogen recirculation pump 1 and a modular form thereof, coupling members (49 , Fig.7), an impeller, a pump cover 3 and an adaptor 7.

FLUID ADDITIVES FOR REGENERATIVE FUEL CELLS

Nº publicación: EP4712174A1 18/03/2026

Solicitante:

SERVICES PETROLIERS SCHLUMBERGER [FR]
SCHLUMBERGER TECHNOLOGY BV [NL]
Services P\u00E9troliers Schlumberger,
Schlumberger Technology B.V

EP_4712174_PA

Resumen de: EP4712174A1

A regenerative fuel cell has one half-cell which produces gas while charging and consumes the gas during discharge. The electrolyte liquid circulated through that half-cell contains a flexible long chain polymer or a viscoelastic surfactant. The half-cell is configured to compel the flow of electrolyte liquid to make repeated changes in direction and the flow rate is sufficient that elastic turbulence occurs. This dislodges bubbles of produced gas from the electrodes, maintaining more electrode surface available for reaction and enhancing efficiency. The other half-cell may also be in a state of elastic turbulence enhancing mass transport to and from its electrode surface

traducir