Ministerio de Industria, Turismo y Comercio LogoMinisterior
 

Alerta

Resultados 490 resultados
LastUpdate Última actualización 02/01/2026 [06:47:00]
pdfxls
Solicitudes publicadas en los últimos 15 días / Applications published in the last 15 days
Resultados 1 a 25 de 490 nextPage  

Verfahren zur Herstellung einer Bipolarplatte

NºPublicación:  DE102024206037A1 31/12/2025
Solicitante: 
BOSCH GMBH ROBERT [DE]
Robert Bosch Gesellschaft mit beschr\u00E4nkter Haftung
CN_121237920_PA

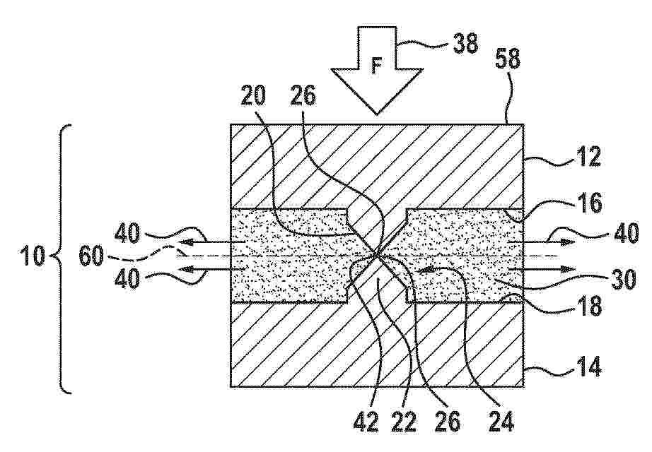
Resumen de: DE102024206037A1

Die Erfindung bezieht sich auf ein Verfahren zur Herstellung einer Bipolarplatte (10) mit einer ersten und einer zweiten Monopolarplatte (12, 14). Gemäß Verfahrensschritt a) erfolgt ein Bereitstellen der ersten und zweiten Monopolarplatten (12, 14), von denen zumindest eine an ihrer Innenseite (16, 18) mindestens eine erhabene Struktur (19) aufweist. Bei Verfahrensschritt b) erfolgt eine Applikation eines verformbaren Dichtungsmaterials (30) in einem Zwischenraum (28) zwischen den miteinander zu fügenden Monopolarplatten (12, 14). Anschließend erfolgt gemäß Verfahrensschritt c) ein Verpressen der Monopolarplatten (12, 14) mittels eines vollflächig oder bereichsweise aufgebrachten Fügedrucks (38). Gemäß Verfahrensschritt d) wird eine stoffschlüssige Verbindung (48) zwischen den Monopolarplatten (12, 14) mittels eines Schweißverfahrens erzeugt, anschließend erfolgt gemäß Verfahrensschritt e) ein Aushärten des verformbaren Dichtungsmaterials (30). Die Erfindung bezieht sich ferner auf eine Bipolarplatte (10) sowie auf eine Verwendung des Verfahrens zur Herstellung von Bipolarplatten (10).

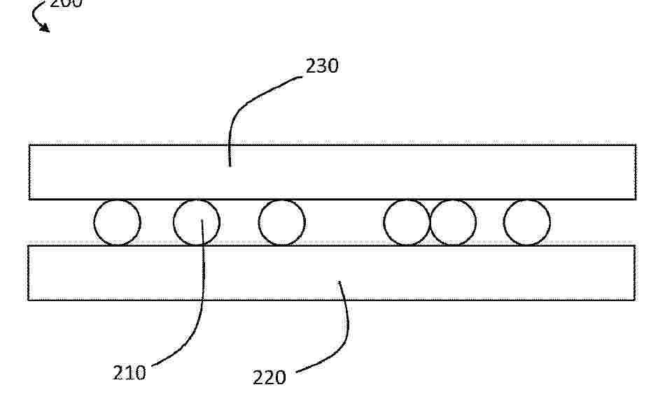
HOLLOW FIBER MEMBRANE MODULE

NºPublicación:  EP4670828A1 31/12/2025
Solicitante: 
NOK CORP [JP]
NOK Corporation
CN_120282830_PA

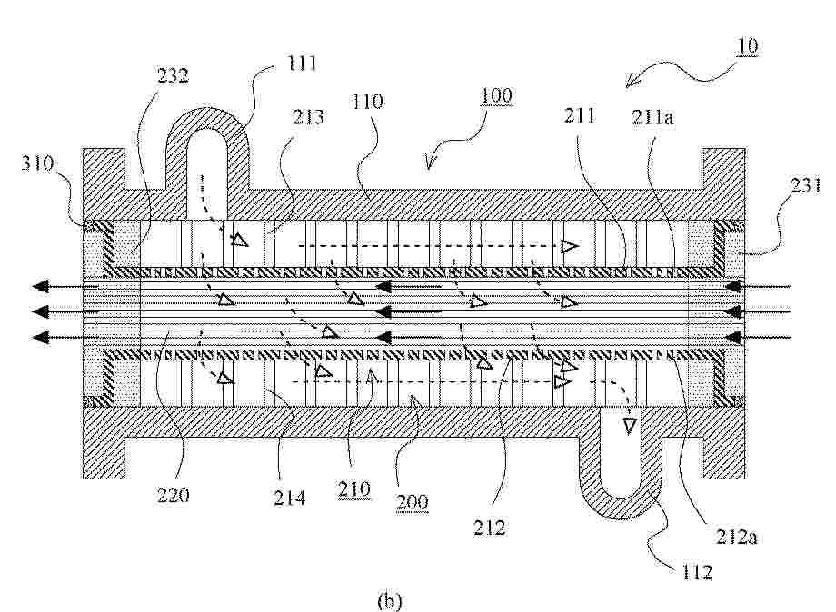
Resumen de: EP4670828A1

A hollow fiber membrane module capable of suppressing a load on a hollow fiber membrane is provided. A hollow fiber membrane module 10 including a plurality of hollow fiber membranes 220, a case 100, in an accommodation interior of which the plurality of hollow fiber membranes 220 are accommodated, the accommodation interior being open at both ends, and a pair of sealing and fixing portions 231 and 232 that seal gaps among the plurality of hollow fiber membranes 220 in a state where each of hollow interiors of the plurality of hollow fiber membranes 220 is open on each of one end side and the other end side of the case 100, wherein the hollow fiber membrane module 10 further including a holding member 210 provided in the case 100 and configured to hold the plurality of hollow fiber membranes 220, and the plurality of hollow fiber membranes 220 are fixed to the holding member 210 by the pair of sealing and fixing portions 231 and 232.

Verfahren zum dauerhaften Verbinden einer Membran eines Befeuchters für ein Brennstoffzellensystem mit zumindest einer Komponente des Befeuchters sowie Befeuchter für ein Brennstoffzellensystem mit zumindest einer Membran

NºPublicación:  DE102024118281A1 31/12/2025
Solicitante: 
MAHLE INT GMBH [DE]
MAHLE International GmbH

Resumen de: DE102024118281A1

Die vorliegende Erfindung betrifft ein Verfahren zum dauerhaften Verbinden einer Membran (2, 3) eines Befeuchters (1) für ein Brennstoffzellensystem mit zumindest einer Komponente (3, 4) des Befeuchters (1). Zusammenfassend ist vorgesehen, dass ein Klebstoff (9) auf eine Membran (2) des Befeuchters (1) aufgetragen wird, der in offene Poren (10) der Membran (2, 3) eindringt und einen Abschnitt (7) einer Oberfläche (8) der Membran (2, 3) benetzt. Durch Aushärtung des Klebstoffs (9) wird an der Membran (2, 3) eine Haftvermittlerschicht (11) mit einer vergleichsweise guten Klebeeignung geschaffen. Die Haftvermittlerschicht (11) kann zur Erzeugung einer dichten und dauerhaften Verbindung der Membran (2, 3) mit zumindest einer Komponente (3, 4) des Befeuchters (1) genutzt werden. Die Erfindung betrifft weiterhin einen Befeuchter (1) für ein Brennstoffzellensystem mit zumindest einer derart verbundenen Membran.

Oxidationsmittelmodul für ein Brennstoffzellensystem

NºPublicación:  DE102024205971A1 31/12/2025
Solicitante: 
BOSCH GMBH ROBERT [DE]
Robert Bosch Gesellschaft mit beschr\u00E4nkter Haftung

Resumen de: DE102024205971A1

Oxidationsmittelmodul (6) für eine Brennstoffzelleneinheit (1) oder ein Brennstoffzellensystem (2), umfassend ein Oxidationsmittelmodul (6) mit wenigstens zwei Oxidationsmittelfunktionskomponenten (9) für die Versorgung der Brennstoffzelleneinheit (1) oder des Brennstoffzellensystems (2) mit Oxidationsmittel, wobei das Oxidationsmittelmodul (6) eine Multifunktionstragvorrichtung (7) für die mechanische Verbindung der Oxidationsmittelfunktionskomponenten (9) miteinander als erste Funktion und wenigstens eine weitere Funktion für wenigstens eine Oxidationsmittelfunktionskomponente (9) umfasst und das Oxidationsmittelmodul (6) als Oxidationsmittelfunktionskomponenten (9) einen Oxidationsmittelwasserabscheider (43), ein Bypassventil (44) zur Leitung von Oxidationsmittel von einer Oxidationsmittelzufuhrleitung (24) in eine Oxidationsmittelabfuhrleitung (25) und ein Rezirkulationsventil (45) zur Leitung von Oxidationsmittel von einer Oxidationsmittelabfuhrleitung (25) in eine Oxidationsmittelzufuhrleitung (24) für die Gasfördereinrichtung (27) umfasst.

Wasserstofftechnologiegerät

NºPublicación:  DE102024205954A1 31/12/2025
Solicitante: 
SIEMENS ENERGY GLOBAL GMBH & CO KG [DE]
Siemens Energy Global GmbH & Co. KG

Resumen de: DE102024205954A1

Die Erfindung betrifft ein Wasserstofftechnologiegerät, das ein Elektrolyseur und/oder eine Brennstoffzelle ist und eine elektrochemische Zelle (2) aufweist, die eine Bipolarplatte (3), eine Anode (5) und eine anodenseitige Gasdiffusionslage (7) aufweist, die die Bipolarplatte (3) elektrisch leitfähig mit der Anode (5) verbindet, wobei die anodenseitige Gasdiffusionslage (7) eine Mehrzahl an anodenseitigen Streckmetallen (11 bis 13) aufweist, wobei die anodenseitigen Streckmetalle (11 bis 13) in unterschiedlichen Abständen von der Bipolarplatte (3) angeordnet sind und ein erstes anodenseitiges Streckmetall (11) aufweisen, das die Bipolarplatte (3) kontaktiert, wobei ein Anpressdruck zwischen der Bipolarplatte (3) und dem ersten anodenseitigen Streckmetall (11) via anodenseitige Plattenkontaktbereiche übertragen wird, an denen das erste anodenseitige Streckmetall (11) die Bipolarplatte (3) kontaktiert.

Verfahren zum Betreiben einer Brennstoffzellenvorrichtung

NºPublicación:  DE102024206066A1 31/12/2025
Solicitante: 
BOSCH GMBH ROBERT [DE]
Robert Bosch Gesellschaft mit beschr\u00E4nkter Haftung

Resumen de: DE102024206066A1

Die Erfindung betrifft ein Verfahren (100) zum Betreiben einer Brennstoffzellenvorrichtung (10) mit zumindest einem Brennstoffzellenstack (12), einem Reformer (26) zur Reformierung eines Brennstoffs (B), wobei der Reformer (26) strömungstechnisch vor dem Brennstoffzellenstack (12) angeordnet ist, sowie einem Rezirkulationskreis (40).Es wird vorgeschlagen, dass an dem Brennstoffzellenstack (12) eine Schutzspannung angelegt wird, welche einer Spannung in einem Normalbetrieb entgegengerichtet ist, wenn die Stacktemperatur zwischen einer ersten Temperatur (T1) und einer zweiten Temperatur (T2) liegt, wobei die erste Temperatur (T1) kleiner ist als die zweite Temperatur (T2).

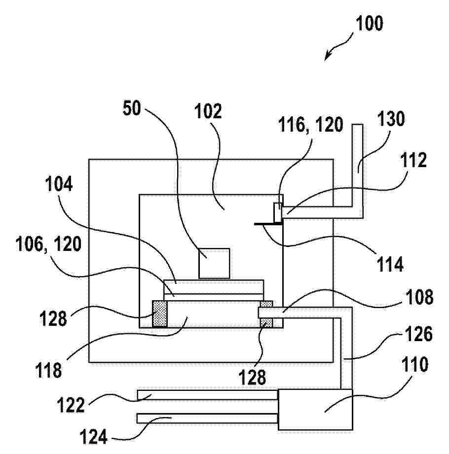
Verfahren und Steuergerät zum Betreiben eines Wasserstoff-Teilsystems eines Brennstoffzellensystems und Brennstoffzellensystem

NºPublicación:  DE102024206104A1 31/12/2025
Solicitante: 
BOSCH GMBH ROBERT [DE]
Robert Bosch Gesellschaft mit beschr\u00E4nkter Haftung

Resumen de: DE102024206104A1

Die Erfindung betrifft ein Verfahren zum Betreiben eines Wasserstoff-Teilsystems (110) eines Protonenaustauschmembran-Brennstoffzellensystems (100). Das Wasserstoff-Teilsystem (110) umfasst einen Wasserstoffvorrat (111), ein erstes Wasserstoffdosierventil (113), eine Strahlpumpe (114) und ein zweites Wasserstoffdosierventil (115). In einem Schritt des Einlesens werden Eingangsdaten (106) eingelesen, die vorgegebene und aktuell erfasste Betriebsparameter des Brennstoffzellensystems (100) umfassen. In einem Schritt des Ermittelns werden ein erstes Steuersignal (125) zum Ansteuern des ersten Wasserstoffdosierventils (113), um in einem gepulsten Betrieb einen ersten Wasserstoff-Volumenstrom mit ersten Druckspitzen über die Strahlpumpe (114) an den Anodeneintritt (A1) bereitzustellen, und ein zweites Steuersignal (126) zum Ansteuern des zweiten Wasserstoffdosierventils (115), um in einem gepulsten Betrieb einen zweiten Wasserstoff-Volumenstrom mit zweiten Druckspitzen an den Anodeneintritt (A1) bereitzustellen, unter Verwendung der Eingangsdaten (105) ermittelt, wobei die ersten Druckspitzen und die zweiten Druckspitzen an dem Anodeneintritt (A1) zeitlich versetzt zueinander sind. In einem Schritt des Ausgebens werden das erste Steuersignal (125) zu dem ersten Wasserstoffdosierventil (113) und das zweite Steuersignal (126) zu dem zweiten Wasserstoffdosierventil (115) ausgegeben, um das Wasserstoff-Teilsystem (110) zu betreiben.

BIPOLARPLATTE FÜR BRENNSTOFFZELLEN AUS KOHLEFASERVERBUNDWERKSTOFF

NºPublicación:  DE102024123705A1 31/12/2025
Solicitante: 
GM GLOBAL TECH OPERATIONS LLC [US]
GM GLOBAL TECHNOLOGY OPERATIONS LLC
CN_121215793_PA

Resumen de: DE102024123705A1

Bipolarplatten für Brennstoffzellen aus Verbundwerkstoffen und Verfahren zur Herstellung von Bipolarplatten werden bereitgestellt. Ein Verfahren zur Herstellung einer Bipolarplatte für Brennstoffzellen aus Verbundwerkstoff umfasst das Bereitstellen eines spreizend gewebten Kohlenstofffasergewebes mit einer oberen Schicht von Fasern und einer unteren Schicht von Fasern, wobei das Gewebe eine Dicke von weniger als 200 Mikrometern (µm) aufweist; das Segmentieren von mindestens einer der Schichten von Fasern an ausgewählten Stellen, um Schlitze zu bilden; Formen des Gewebes und des Harzes in eine Halbplattenform, um eine Mehrzahl von Halbplatten zu bilden, wobei jede Halbplatte eine Reihe von Stegen und Wänden aufweist; und Bilden der Bipolarplatte durch Ausrichten und Verbinden der jeweiligen Stege einer ersten Halbplatte und einer zweiten Halbplatte.

Verfahren und Vorrichtung zum Kontrollieren eines Brennstoffzellensystems, Brennstoffzellensystem, Fahrzeug, Computerprogrammprodukt und Speichermedium

NºPublicación:  DE102024117980A1 31/12/2025
Solicitante: 
BAYERISCHE MOTOREN WERKE AG [DE]
Bayerische Motoren Werke Aktiengesellschaft

Resumen de: DE102024117980A1

Die hier offenbarte Technologie betrifft erfindungsgemäß ein Verfahren zum Kontrollieren eines Brennstoffzellensystems (10), wobei das Brennstoffzellensystem (10) eine Brennstoffzelle (11) mit einer Anode (12) und einer Kathode (13), einen Brennstoffpfad (14), einen Anodeneinlasspfad (15), einen Anodenabgaspfad (16), einen Rezirkulationspfad (17) und einen Mischbereich (29) umfasst, wobei im Mischbereich (29) Brennstoff aus dem Brennstoffpfad (14) mit Anodenabgas aus dem Rezirkulationspfad (17) gemischt und als Mischgas in den Anodeneinlasspfad (15) geleitet wird, aufweisend die Schritte Ermitteln eines Brennstoffmengenstroms im Brennstoffpfad (14), Ermitteln einer Brennstoffkonzentration im Anodeneinlasspfad (15), Ermitteln einer Brennstoffkonzentration im Rezirkulationspfad (17), Ermitteln einer Rezirkulationsrate basierend auf dem ermittelten Brennstoffmengenstrom im Brennstoffpfad (14), basierend auf der ermittelten Brennstoffkonzentration im Anodeneinlasspfad (15) und basierend auf der ermittelten Brennstoffkonzentration im Rezirkulationspfad (17), und Kontrollieren des Brennstoffzellensystems (10) basierend auf der ermittelten Rezirkulationsrate. Die Technologie betrifft ferner eine Vorrichtung (80), ein Brennstoffzellensystem (10), ein Fahrzeug (100) und ein Computerprogrammprodukt (40) zum Durchführen des Verfahrens sowie ein computerlesbares Speichermedium (50), auf welchem das Computerprogrammprodukt (40) gespeichert ist.

Oxidationsmittelmodul für ein Brennstoffzellensystem

NºPublicación:  DE102024205970A1 31/12/2025
Solicitante: 
BOSCH GMBH ROBERT [DE]
Robert Bosch Gesellschaft mit beschr\u00E4nkter Haftung

Resumen de: DE102024205970A1

Oxidationsmittelmodul (6) für eine Brennstoffzelleneinheit (1) oder ein Brennstoffzellensystem (2), umfassend ein Oxidationsmittelmodul (6) mit wenigstens zwei Oxidationsmittelfunktionskomponenten (9) für die Versorgung der Brennstoffzelleneinheit (1) oder des Brennstoffzellensystems (2) mit Oxidationsmittel, wobei das Oxidationsmittelmodul (6) eine Multifunktionstragvorrichtung (7) für die mechanische Verbindung der Oxidationsmittelfunktionskomponenten (9) miteinander als erste Funktion und wenigstens eine weitere Funktion für wenigstens eine Oxidationsmittelfunktionskomponente (9) umfasst und das Oxidationsmittelmodul (6) als Oxidationsmittelfunktionskomponenten (9) ein Bypassventil (44) zur Leitung von Oxidationsmittel von einer Oxidationsmittelzufuhrleitung (24) in eine Oxidationsmittelabfuhrleitung (25), einen Massenstrommesser (48) und/oder einen Volumenstrommesser (49) zur Erfassung des Massenstromes und/oder des Volumenstromes des, insbesondere durch eine Öffnung (35), in den Brennstoffzellenstacks (3) eingeleiteten Oxidationsmittels und ein Schließventil (46) für die Öffnung (35) zum Einleiten von Oxidationsmittel in den Brennstoffzellensack (3) umfasst.

Energiespeicheranordnung

NºPublicación:  DE102024205968A1 31/12/2025
Solicitante: 
BOSCH GMBH ROBERT [DE]
Robert Bosch Gesellschaft mit beschr\u00E4nkter Haftung

Resumen de: DE102024205968A1

Die Erfindung betrifft eine Energiespeicheranordnung (1) mit einem Redox-Energiespeicher (7), welcher mindestens eine Redox-Flusszelle umfasst und über mindestens zwei Kanalsysteme (4) mit mindestens zwei Elektrolytbehältern (3) verbunden ist, in welchen jeweils ein elektrisch leitender Elektrolyt (5) gespeichert ist, und einem MHD-Modul (10), welches mindestens zwei magnetohydrodynamische Pumpmodule (20) und mindestens eine Auswerte- und Steuereinheit (12) umfasst, wobei die mindestens eine Auswerte- und Steuereinheit (12) ausgeführt ist, die mindestens zwei magnetohydrodynamischen Pumpmodule (20) anzusteuern, wobei die mindestens zwei magnetohydrodynamischen Pumpmodule (20) jeweils eine Magnetvorrichtung und eine Elektrodenvorrichtung umfassen, welche ausgeführt ist, einen von der mindestens eine Auswerte- und Steuereinheit (12) bereitgestellten elektrischen Strom an einem Kanalabschnitt eines korrespondierenden Kanalsystems (4) durch den korrespondierenden elektrisch leitenden Elektrolyt (5) zu leiten, so dass durch Zusammenwirken mit einem von der Magnetvorrichtung erzeugten Magnetfeld eine Lorentzkraft entsteht, welche den elektrisch leitenden Elektrolyt (5) in dem korrespondierenden Kanalabschnitt gezielt beschleunigt, so dass ein resultierender Druckaufbau einen gewünschten Volumenstrom des elektrisch leitenden Elektrolyts (5) durch das korrespondierende Kanalsystem (4) und den Redox-Energiespeicher (7) bewirkt.

Energiespeicheranordnung

NºPublicación:  DE102024205967A1 31/12/2025
Solicitante: 
BOSCH GMBH ROBERT [DE]
Robert Bosch Gesellschaft mit beschr\u00E4nkter Haftung

Resumen de: DE102024205967A1

Die Erfindung betrifft eine Energiespeicheranordnung (1) mit einem Redox-Energiespeicher (7), welcher über Kanalsysteme (4) mit zwei Elektrolytbehältern (3) verbunden ist, einem MHD-Modul (10), welches zwei magnetohydrodynamische Pumpmodule (20) und eine Auswerte- und Steuereinheit (12) umfasst, und mindestens zwei Ventilbaugruppen (30), wobei die Auswerte- und Steuereinheit (12) ausgeführt ist, Fluidventile der Ventilbaugruppen (30) so anzusteuern, dass aktive Redox-Flusszellen (8) des Redox-Energiespeichers (7) mit den Kanalsystemen (4) fluidisch verbunden sind und inaktive Redox-Flusszellen (8) des Redox-Energiespeichers (7) von den Kanalsystemen (4) getrennt sind, wobei die Auswerte- und Steuereinheit (12) weiter ausgeführt ist, die zwei magnetohydrodynamischen Pumpmodule (20) anzusteuern, welche jeweils eine Magnetvorrichtung (26) und eine Elektrodenvorrichtung (22) umfassen, welche ausgeführt ist, einen von der Auswerte- und Steuereinheit (12) bereitgestellten elektrischen Strom an einem Kanalabschnitt (28) eines korrespondierenden Kanalsystems (4) durch den Elektrolyt (5) zu leiten, so dass durch Zusammenwirken mit einem von der Magnetvorrichtung (26) erzeugten Magnetfeld eine Lorentzkraft entsteht, welche den Elektrolyt (5) in dem Kanalabschnitt (28) gezielt beschleunigt, so dass ein resultierender Druckaufbau einen Volumenstrom des elektrisch leitenden Elektrolyts (5) durch das Kanalsystem (4) und die aktiven Redox-Flusszellen (8) bewirkt.

Porous material for hydrogen purification and method for producing same, and hydrogen purification apparatus

NºPublicación:  GB2642149A 31/12/2025
Solicitante: 
OSAKA GAS CHEMICALS CO LTD [JP]
Osaka Gas Chemicals Co. Ltd
GB_2642149_A

Resumen de: GB2642149A

The present invention addresses the problem of providing: a porous material which has high performance of adsorbing/desorbing impurities, especially methane and carbon dioxide, and enables highly efficient hydrogen purification when used as an adsorbent in the PSA method; a method for producing the porous material; and a hydrogen purification apparatus. A porous material for hydrogen purification use according to the present invention has an acetone adsorption capacity of 12.5 mass fraction % or more. In the porous material, the pore volume of pores each having a diameter of 0.6 nm to 1.5 nm inclusive per unit volume is 0.140 mL/mL or more.

Brennstoffzellensystem und Fahrzeug

NºPublicación:  DE102024117981A1 31/12/2025
Solicitante: 
BAYERISCHE MOTOREN WERKE AG [DE]
Bayerische Motoren Werke Aktiengesellschaft

Resumen de: DE102024117981A1

Die hier offenbarte Technologie betrifft erfindungsgemäß ein Brennstoffzellensystem (10), aufweisend eine Brennstoffzelle (11) mit einer Anode (12) und einer Kathode (13), einen Brennstoffpfad (14) zum Leiten von Brennstoff zur Brennstoffzelle (11), einen Anodeneinlasspfad (15) zum Leiten von Anodengas in die Brennstoffzelle (11) hinein, einen Anodenabgaspfad (16) zum Leiten von Anodenabgas aus der Brennstoffzelle (11) heraus, einen Wasserabscheider (20) zum Abscheiden von Wasser aus dem Anodenabgaspfad (16) während eines aktiven Betriebs des Brennstoffzellensystems (10), einen Rezirkulationspfad (17) zum Leiten von Anodenabgas aus dem Wasserabscheider in den Anodeneinlasspfad (16), und ein Kondenswasserbecken (30) im Anodenabgaspfad (16) und/oder im Rezirkulationspfad (17) zum Sammeln von Kondenswasser in einem inaktiven Betrieb des Brennstoffzellensystems (10). Die Technologie betrifft ferner ein Fahrzeug (100) mit dem erfindungsgemäßen Brennstoffzellensystem (10).

Oxidationsmittelmodul für ein Brennstoffzellensystem

NºPublicación:  DE102024205972A1 31/12/2025
Solicitante: 
BOSCH GMBH ROBERT [DE]
Robert Bosch Gesellschaft mit beschr\u00E4nkter Haftung

Resumen de: DE102024205972A1

Oxidationsmittelmodul (6) für eine Brennstoffzelleneinheit (1) oder ein Brennstoffzellensystem (2), umfassend ein Oxidationsmittelmodul (6) mit wenigstens zwei Oxidationsmittelfunktionskomponenten (9) für die Versorgung der Brennstoffzelleneinheit (1) oder des Brennstoffzellensystems (2) mit Oxidationsmittel, wobei das Oxidationsmittelmodul (6) eine Multifunktionstragvorrichtung (7) für die mechanische Verbindung der Oxidationsmittelfunktionskomponenten (9) miteinander als erste Funktion und wenigstens eine weitere Funktion für wenigstens eine Oxidationsmittelfunktionskomponente (9) umfasst.

Brennstoffzelle

NºPublicación:  DE102025105026A1 31/12/2025
Solicitante: 
TOYOTA MOTOR CO LTD [JP]
TOYOTA JIDOSHA KABUSHIKI KAISHA
CN_121215798_PA

Resumen de: DE102025105026A1

Eine in der vorliegenden Beschreibung offenbarte Brennstoffzelle umfasst eine Membran-Elektroden-Anordnung, einen an die Membran-Elektroden-Anordnung angrenzenden Separator und einen Gaskanal, durch den Brenngas, Sauerstoffgas oder Luft strömt. Der Gaskanal ist auf einer Fläche des Separators angeordnet, wobei die Fläche der Membran-Elektroden-Anordnung zugewandt ist. Der Gaskanal hat eine Wellenform, die sich in einer seitlichen Richtung erstreckt, während sie sich in einer Auf-Ab-Richtung schlängelt. Der Gaskanal umfasst einen nach oben konvex gekrümmten Abschnitt und einen nach unten konvex gekrümmten Abschnitt, die abwechselnd miteinander verbunden sind. Der nach unten konvex gekrümmte Abschnitt ist kürzer als der nach oben konvex gekrümmte Abschnitt. Dadurch, dass der nach unten konvex gekrümmte Abschnitt kürzer ist als der nach oben konvex gekrümmte Abschnitt, kann das im nach unten konvex gekrümmten Abschnitt verbleibende Wasser durch die Kraft des Gases leicht stromabwärts geblasen werden. Das heißt, die im Gaskanal verbleibende Wassermenge kann reduziert werden.

Verfahren zum Betreiben eines Brennstoffzellensystems, Steuergerät

NºPublicación:  DE102024205974A1 31/12/2025
Solicitante: 
BOSCH GMBH ROBERT [DE]
Robert Bosch Gesellschaft mit beschr\u00E4nkter Haftung

Resumen de: DE102024205974A1

Die Erfindung betrifft ein Verfahren zum Betreiben eines Brennstoffzellensystems mit mindestens einer Brennstoffzelle, bei dem einer Kathode der Brennstoffzelle über einen Zuluftpfad (2) Luft als Sauerstofflieferant zugeführt wird, die zuvor mit Hilfe eines in den Zuluftpfad (2) integrierten Gas-zu-Gas Membranbefeuchters (1) befeuchtet worden ist, und bei dem zum Befeuchten der Luft im Zuluftpfad (2) feuchte Luft bzw. Abluft verwendet wird, die nach dem Austreten aus der Kathode über einen Abluftpfad (3) dem Gas-zu-Gas Membranbefeuchter (1) zugeführt wird. Erfindungsgemäß werden zur Detektion einer Leckage (7) des Gas-zu-Gas-Membranbefeuchters (1) folgende Schritte ausgeführt:a) Ermitteln des Druckverlusts über den Gas-zu-Gas Membranbefeuchters (1) im Zuluftpfad (2),b) Ermitteln eines Luftmassenstrom-Modellwerts (ṁ_MW) durch den Gas-zu-Gas-Membranbefeuchter (1) aus dem in Schritt a) ermittelten Druckverlust mit Hilfe eines Massenstrommodells undc) Vergleichen des in Schritt b) ermittelten Luftmassenstrom-Modellwerts (ṁ_MW) mit einem Luftmassenstrom-Referenzwert (ṁ_RW), wobei im Fall einer Differenz zwischen dem Luftmassenstrom-Modellwert (ṁ_MW) und dem Luftmassenstrom-Referenzwert (ṁ_RW) auf eine Leckage (7) des Gas-zu-Gas Membranbefeuchters (1) geschlossen wird.Die Erfindung betrifft ferner ein Steuergerät für ein Brennstoffzellensystem.

Verfahren zum Betreiben einer Brennstoffzellenvorrichtung

NºPublicación:  DE102024206067A1 31/12/2025
Solicitante: 
BOSCH GMBH ROBERT [DE]
Robert Bosch Gesellschaft mit beschr\u00E4nkter Haftung

Resumen de: DE102024206067A1

Die Erfindung betrifft ein Verfahren (100) zum Betreiben einer Brennstoffzellenvorrichtung (10) mit zumindest einem Brennstoffzellenstack (12) und einer Eindampfungsstelle (46, 46a, 46b), welche dazu ausgebildet ist, dem Brennstoffzellenstack (12) Dampf (D) zuzuführen, einem Reformer (26), zur Reformierung eines Brennstoffs (B), wobei der Reformer (26) strömungstechnisch zwischen der Eindampfungsstelle (46, 46a, 46b) und dem Brennstoffzellenstack (12) angeordnet ist.Es wird vorgeschlagen, dass dass dem Reformer (12) eine Mischung aus Brennstoff (B) und Dampf (D) zugeführt wird, wenn die Stacktemperatur zwischen einer zweiten Temperatur (T2) und einer dritten Temperatur (T3) liegt, wobei die zweite Temperatur (T2) kleiner ist als die dritte Temperatur (T3).

Verfahren und Vorrichtung zum Kontrollieren eines Brennstoffzellensystems, Brennstoffzellensystem, Fahrzeug, Computerprogrammprodukt und Speichermedium

NºPublicación:  DE102024117979A1 31/12/2025
Solicitante: 
BAYERISCHE MOTOREN WERKE AG [DE]
Bayerische Motoren Werke Aktiengesellschaft

Resumen de: DE102024117979A1

Die hier offenbarte Technologie betrifft erfindungsgemäß ein Verfahren zum Kontrollieren eines Brennstoffzellensystems (10), aufweisend die Schritte: Ermitteln eines stöchiometrischen Brennstoffmengenstroms einer in einer Brennstoffzelle (11) stöchiometrisch umgesetzten Brennstoffmenge, Ermitteln eines Rezirkulationsmengenstrom, Ermitteln einer Inertgaskonzentration an einer Anode (12), Ermitteln einer durchschnittlichen Inertgaskonzentration in der Brennstoffzelle (11), Ermitteln eines Inertgas-Crossover-Mengenstroms in der Brennstoffzelle (11) basierend auf dem stöchiometrischen Brennstoffmengenstrom, dem Rezirkulationsmengenstrom, der Inertgaskonzentration an der Anode (12), der durchschnittlichen Inertgaskonzentration in der Brennstoffzelle (11) und Kontrollieren des Brennstoffzellensystems (10) basierend auf dem ermittelten Inertgas-Crossover-Mengenstrom. Die Technologie betrifft ferner eine Vorrichtung (80), ein Brennstoffzellensystem (10), ein Fahrzeug (100) und ein Computerprogrammprodukt (40) zum Durchführen des Verfahrens sowie ein computerlesbares Speichermedium (50), auf welchem das Computerprogrammprodukt (40) gespeichert ist.

Energiespeicheranordnung

NºPublicación:  DE102024205969A1 31/12/2025
Solicitante: 
BOSCH GMBH ROBERT [DE]
Robert Bosch Gesellschaft mit beschr\u00E4nkter Haftung

Resumen de: DE102024205969A1

Die Erfindung betrifft eine Energiespeicheranordnung (1) mit einem Redox-Energiespeicher (7), welcher mehrere Redox-Flusszellen (8) umfasst und über Kanalsysteme (4) mit mindestens zwei Elektrolytbehältern (3) verbunden ist, in welchen jeweils ein elektrisch leitender Elektrolyt (5) gespeichert ist, und einem MHD-Modul (10), welches eine mindestens eine Auswerte- und Steuereinheit (12) und für die einzelnen Redox-Flusszellen (8) jeweils mindestens zwei magnetohydrodynamische Pumpmodule (20) umfasst, wobei die mindestens eine Auswerte- und Steuereinheit (12) ausgeführt ist, die magnetohydrodynamischen Pumpmodule (20) anzusteuern, wobei die magnetohydrodynamischen Pumpmodule (20) jeweils eine Magnetvorrichtung und eine Elektrodenvorrichtung umfassen, welche ausgeführt ist, einen von der mindestens eine Auswerte- und Steuereinheit (12) bereitgestellten elektrischen Strom an einem Kanalabschnitt eines korrespondierenden Kanalsystems (4) durch den korrespondierenden elektrisch leitenden Elektrolyt (5) zu leiten, so dass durch Zusammenwirken mit einem von der Magnetvorrichtung erzeugten Magnetfeld eine Lorentzkraft entsteht, welche den elektrisch leitenden Elektrolyt (5) in dem korrespondierenden Kanalabschnitt gezielt beschleunigt, so dass ein resultierender Druckaufbau einen gewünschten Volumenstrom des elektrisch leitenden Elektrolyts (5) durch das korrespondierende Kanalsystem (4) und die einzelnen Redox-Flusszellen (8) des Redox-Energiespeichers (7) bewirkt.

Schalldämpfer für einen Abgasstrang eines Brennstoffzellensystems

NºPublicación:  DE102024206032A1 31/12/2025
Solicitante: 
CONTITECH TECHNO CHEMIE GMBH [DE]
ContiTech Techno-Chemie GmbH

Resumen de: DE102024206032A1

Die Erfindung betrifft einen Schalldämpfer mit einer durch ein Gehäuse (13) zumindest teilweise begrenzten Kavität (10) und einer innerhalb der Kavität (10) angeordneten Schalldämpfvorrichtung (20) zur Reduzierung eines Geräusches des Abgasstroms (S). Es wird vorgeschlagen innerhalb der Kavität (10) einen Wärmespeicherkörper (50, 50a, 50b, 50c, 50d) enthaltend ein Phasenwechselmaterial anzuordnen, um ein Einfrieren von Kondensat zu verzögern oder zu vermeiden.

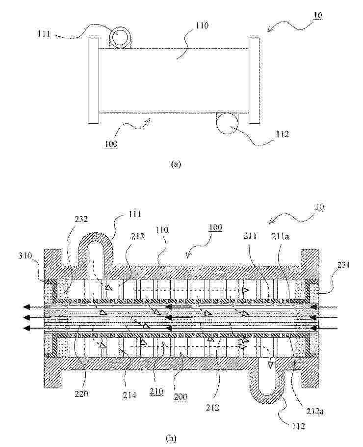
HOLLOW FIBER MEMBRANE MODULE

NºPublicación:  EP4670827A1 31/12/2025
Solicitante: 
NOK CORP [JP]
NOK Corporation
CN_120303051_PA

Resumen de: EP4670827A1

A hollow fiber membrane module capable of suppressing a load on a hollow fiber membrane is provided. The hollow fiber membrane module includes a pair of plate-shaped portions 211 and 212 for forming a passage for a fluid that flows through exteriors of a plurality of hollow fiber membranes 220 between an inner circumferential surface of a case 100 and the plurality of hollow fiber membranes 220, the pair of plate-shaped portions 211 and 212 are provided with a plurality of through holes 211a and 212a that serve as a passage for the fluid that flows through the exteriors, and in a region where the plurality of through holes 211a and 212a are provided in the pair of plate-shaped portions 211 and 212, a proportion of a total area of the plurality of through holes 211a and 212a relative to a total surface area of a side, where the plurality of hollow fiber membranes 220 are disposed, is 30% or more, and a width of each through hole in a direction parallel to the plurality of hollow fiber membranes 220 is 10 mm or less.

HOLLOW FIBER MEMBRANE MODULE

NºPublicación:  EP4670826A1 31/12/2025
Solicitante: 
NOK CORP [JP]
NOK Corporation
CN_120282831_PA

Resumen de: EP4670826A1

A hollow fiber membrane module capable of reducing the manufacturing cost is provided. A case 100 has a first pipe 111 and a second pipe 112. In the case 100, a holding member 210 that holds a plurality of hollow fiber membranes 220 is provided. The holding member 210 includes a first plate-shaped portion 211 and a second plate-shaped portion 212 provided to sandwich the plurality of hollow fiber membranes 220 and a connection portion 215 connecting the plate-shaped portions. A passage passing from the first pipe 111 to the first plate-shaped portion 211 is formed between the first plate-shaped portion 211 and the case 100, and a passage passing from the second pipe 112 to the second plate-shaped portion 212 is formed between the second plate-shaped portion 212 and the case 100.

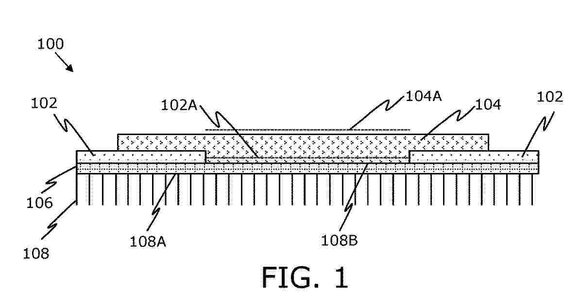
Apparatus and method for monitoring electrolyte of battery

NºPublicación:  GB2642087A 31/12/2025
Solicitante: 
CAMBRIDGE BATTERY RES LIMITED [GB]
Cambridge Battery Research Limited
GB_2642087_PA

Resumen de: GB2642087A

Apparatus comprising a housing 102 with at least one opening and at least one access window 104 transparent to electromagnetic radiation and disposed on a battery via the at least one opening, and contacting an electrolyte whose parameters are monitored by electromagnetic radiation. The apparatus may comprise an insulating polymeric layer 106. The housing may be metallic, optionally aluminium, aluminium alloy, steel alloy or aluminium layer on polymer. The parameters may be conductivity, ionic diffusion coefficients, ionic concentration, molar thermodynamic factor or transference number. The battery may be on a first surface 108A of a polymeric layer, with the housing and access window on an opposite surface 108B such that the layer functions as a dielectric between the window and housing, and the battery. The radiation may be of Terahertz frequency. A method comprising irradiating a prism with a first electromagnetic radiation which propagates through the prism and is scattered at an edge of the window, detecting a second electromagnetic radiation emanating from the prism, and measuring one or more characteristics of the second electromagnetic radiation. Refractive indices of the prism, window and electrolyte may be calibrated. An alert indicating the health and performance of the battery may be generated.

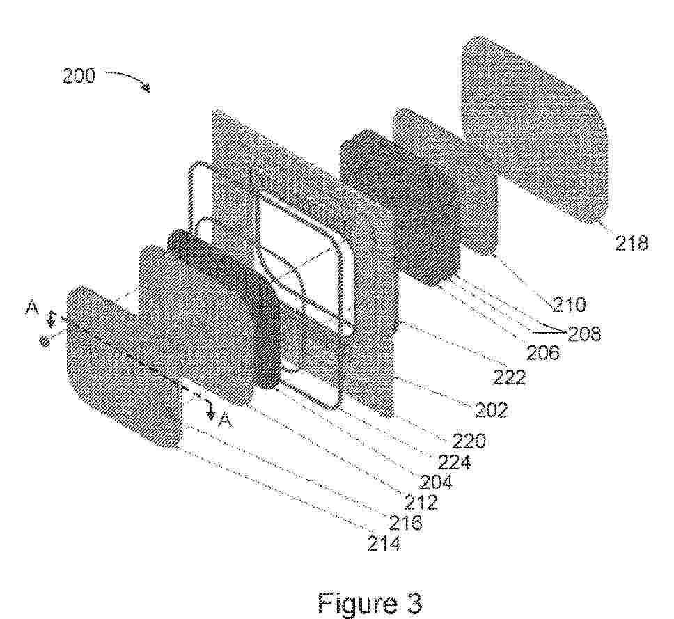
Electrochemical stack

Nº publicación: GB2642040A 31/12/2025

Solicitante:

ENAPTER S R L [IT]
Enapter S.r.l

GB_2642040_PA

Resumen de: GB2642040A

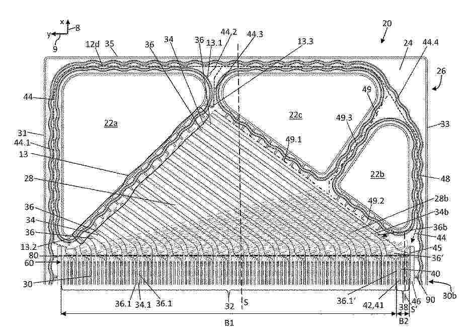
An electrochemical stack (200) is described, the stack comprising: a first electrochemical cell (200a) having a first cell frame (202a) and a second electrochemical cell (200b) having a second cell frame (202b), wherein the first and second electrochemical cells are adjacent in the stack; a bipolar plate (218a) between the first and second cell frames to separate a cathodic half-cell (205a) of the first electrochemical cell and an anodic half-cell (211b) of the second electrochemical cell; and a frame interface seal (224b) arranged to seal an interface (203) between the first and second cell frames beyond an outer edge of the bipolar plate.

traducir