Ministerio de Industria, Turismo y Comercio LogoMinisterior
 

Alerta

Resultados 41 resultados
LastUpdate Última actualización 24/04/2026 [06:46:00]
pdfxls
Patentes publicadas en los últimos 30 días/ Patents published in the last 30 days
previousPage Resultados 25 a 41 de 41  

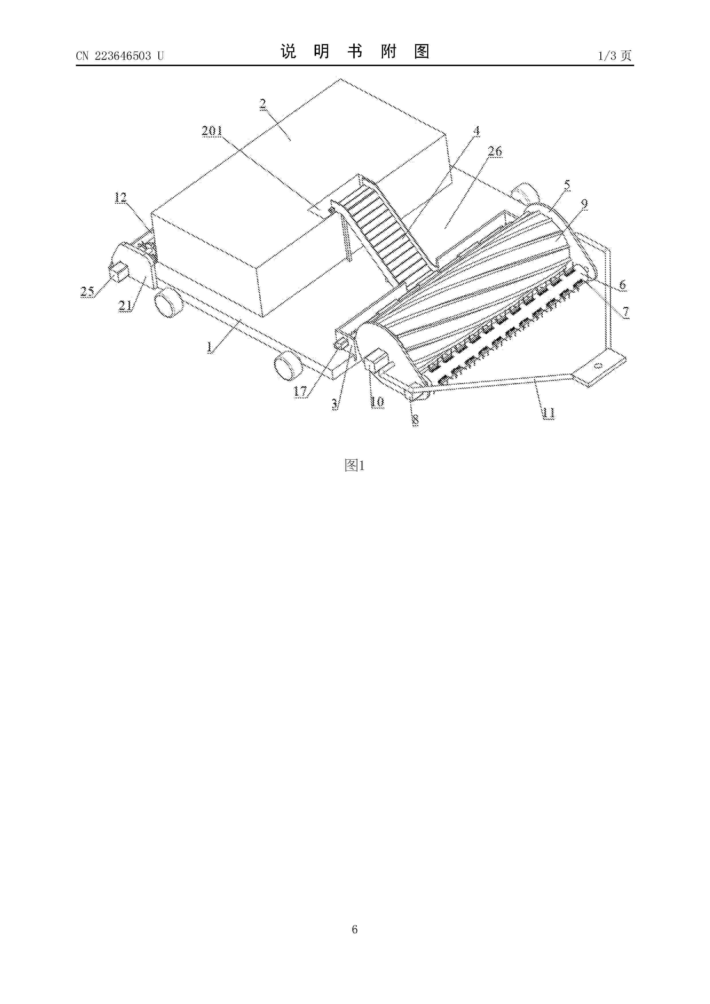
Electric scooter system with USB interface charging and parallel range extending functions

NºPublicación:  CN223618872U 02/12/2025
Solicitante: 
SHENZHEN YIHUAXIN TECH CO LTD
\u6DF1\u5733\u5E02\u58F9\u534E\u6B23\u79D1\u6280\u6709\u9650\u516C\u53F8
CN_223618872_U

Resumen de: CN223618872U

The utility model relates to the technical field of electric scooters, and discloses an electric scooter system with USB (universal serial bus) interface charging and parallel range extending functions, which comprises a USB interface input module, a charging protocol control and charging state display module, a constant-current/constant-voltage DC (direct current) power conversion module, a battery pack module, a brushless motor driving control module and a multifunctional scooter instrument. According to the utility model, the external power supply connected with the USB TYPE-C and the inner battery pack module are connected in parallel to work, so that the function of double-battery parallel operation range extension is achieved, the endurance mileage of the electric scooter can be increased, the capacity of the battery in the scooter can be reduced, the cost is reduced, the problems of outdoor charging and mobile charging of the electric scooter are solved, and the service life of the electric scooter is prolonged. And the battery pack module can be safely and effectively charged under standard voltage and current, the stability of a charging system on battery charging operation is improved, the charging state can be displayed at any time, the charging locking braking function can be achieved, and the safety coefficient is high.

Electric scooter with rotatable and foldable pedal

NºPublicación:  CN223618855U 02/12/2025
Solicitante: 
JIANGSU DIDA INTELLIGENT TECH CO LTD
\u6C5F\u82CF\u6EF4\u54D2\u667A\u80FD\u79D1\u6280\u6709\u9650\u516C\u53F8
CN_223618855_U

Resumen de: CN223618855U

The electric scooter comprises a front wheel assembly, a rear wheel assembly, a pedal assembly and a vertical rod handle assembly, the front wheel assembly comprises a front frame and a front wheel, the rear wheel assembly comprises a rear frame and a rear wheel, a front pedal connecting part and a rear pedal connecting part are fixedly connected with shaft sleeves respectively, and the shaft sleeves are connected with the vertical rod handle assembly. The pedal assembly is arranged between the front wheel assembly and the rear wheel assembly, the two ends of the pedal assembly are connected to the two shaft sleeves in a sleeving mode through bearings, the pedal assembly comprises a pedal, a battery, two side supporting blocks, a middle supporting block and a rotary locking mechanism, and the rotary locking mechanism comprises a locking block and a locking block disengaging device. According to the electric scooter with the pedal capable of being rotatably folded, the width of the pedal is large, comfort and safety are high, storage is convenient, and the size is small after storage.

Telescopic structure and electric scooter

NºPublicación:  CN223618864U 02/12/2025
Solicitante: 
ZHEJIANG YITU ELECTRIC VEHICLE IND CO LTD
\u6D59\u6C5F\u6613\u9014\u7535\u52A8\u8F66\u4E1A\u6709\u9650\u516C\u53F8
CN_223618864_U

Resumen de: CN223618864U

The utility model relates to the technical field of electric scooters, in particular to a telescopic structure and an electric scooter, and the telescopic structure is used for the electric scooter and comprises an adjusting T pipe, a round pipe and a lock catch mechanism. An opening is formed in the top end of the round pipe, a cavity is formed in the round pipe, the bottom end of the adjusting T-shaped pipe extends into the cavity along the opening, and the adjusting T-shaped pipe can slide in the extending direction of the cavity; the top end of the adjusting T-shaped pipe is used for installing a handle, and the top end of the circular pipe is connected with a front fork of the electric scooter; the lock catch mechanism is arranged at the end, connected with the adjusting T-shaped pipe, of the round pipe and used for limiting the length, stretching into the cavity, of the adjusting T-shaped pipe. According to the telescopic mechanism and the electric scooter, the relative height between the handle and the scooter body can be changed, and therefore the telescopic mechanism and the electric scooter can be suitable for being alternately used by users with different heights.

Folding structure and electric scooter

NºPublicación:  CN223618854U 02/12/2025
Solicitante: 
ZHEJIANG YITU ELECTRIC VEHICLE IND CO LTD
\u6D59\u6C5F\u6613\u9014\u7535\u52A8\u8F66\u4E1A\u6709\u9650\u516C\u53F8
CN_223618854_U

Resumen de: CN223618854U

The utility model relates to the technical field of electric scooters, in particular to a folding structure and an electric scooter, the folding structure comprises a square tube, a base, a locking switch, a trigger, a lock catch mechanism and an elastic reset mechanism, when the locking switch installed on the outer wall of the square tube is opened, the lock catch mechanism connected with the locking switch is driven to loosen the trigger, and the elastic reset mechanism is reset. When the positioning pin retreats from the positioning notch, folding can be carried out, after folding is completed, the elastic reset mechanism enables the trigger to have the movement trend of retracting to the square tube, the elastic reset mechanism can also enable the locking switch to have the movement trend of resetting, and under the action of the elastic reset mechanism, the trigger retracts to the square tube, so that the square tube can be locked. When the folding structure and the electric scooter using the folding structure are folded, the positioning pin is driven to enter the positioning notch, meanwhile, the locking switch is reset, the lock catch mechanism limits rotation of the trigger, locking is completed, the trigger cannot be pulled, and the folding structure and the electric scooter using the folding structure guarantee stability and safety after folding.

Folding device on electric scooter

NºPublicación:  CN223590907U 25/11/2025
Solicitante: 
JINHUA YUJU SPORTS EQUIPMENT CO LTD
\u91D1\u534E\u5B87\u9A79\u8FD0\u52A8\u5668\u6750\u6709\u9650\u516C\u53F8
CN_223590907_U

Resumen de: CN223590907U

A folder on an electric scooter belongs to the technical field of machinery. A buckling groove is formed in the top end of the folding reset fixing piece, a through hole is formed in the bottom end of the folding reset fixing piece, a connecting hole is formed in the middle of the folding pressing plate, a lower connecting hole is formed in the lower portion of the folding pressing plate, a through hole is formed in the beef tendon, the beef tendon plug pin is connected with the through hole of the beef tendon, the spring plug pin is connected with the spring, and the two ends of the spring plug pin are connected with the left middle hole and the right middle hole respectively. The two ends of a cowhells bolt are connected with the left upper hole and the right upper hole respectively, the outer circumference of the cowhells is located behind the folding square tube after the cowhells are connected with the cowhells bolt, the two ends of the safety bolt are connected with the left lower hole and the right lower hole respectively after the safety bolt is connected with the through hole, and one end of the safety bolt extends out of the right pattern piece and then is connected with the right pattern piece. And the second safety pin is connected with the connecting hole and the lower right upper hole. The utility model has the advantages of simple and reasonable structure and convenience in operation.

Electric scooter with reinforcing structure

NºPublicación:  CN223574614U 21/11/2025
Solicitante: 
LIGUAN NEW ENERGY TECH DONGGUAN CO LTD
\u529B\u51A0\u65B0\u80FD\u6E90\u79D1\u6280\uFF08\u4E1C\u839E\uFF09\u6709\u9650\u516C\u53F8
CN_223574614_U

Resumen de: CN223574614U

The utility model relates to the technical field of electric scooters, and provides an electric scooter with a reinforcing structure, which comprises a scooter body and a rear wheel, the rear wheel is fixed on one side of the scooter body, a frame is fixed at the top end of one side, far away from the rear wheel, of the scooter body, a reinforcing mechanism is fixed at the bottom end of the scooter body, and a support shaft penetrates through the interior of the frame. A front wheel is fixed to the bottom end of the supporting shaft, a handlebar is fixed to the top end of the supporting shaft, and anti-skid structures are fixed to the two ends of the handlebar. By arranging the protective structure, under the action of the rubber pad, the contact area between the sole and a vehicle body is increased, under the action of the equidistant anti-slip strips, the friction force between the sole and the rubber pad is increased, the slipping phenomenon between the vehicle body and the sole is reduced, and the anti-slip function of the device is achieved; therefore, the applicability of the electric scooter in use is improved.

Electric scooter with seat easy to assemble

NºPublicación:  CN223559778U 18/11/2025
Solicitante: 
SHENZHEN CHENGHENGFENG HARDWARE PLASTIC PRODUCTS CO LTD
\u6DF1\u5733\u5E02\u8BDA\u6052\u4E30\u4E94\u91D1\u5851\u80F6\u5236\u54C1\u6709\u9650\u516C\u53F8
CN_223559778_U

Resumen de: CN223559778U

The utility model relates to the technical field of electric scooter seat assembly, and discloses an electric scooter with a seat easy to assemble, which comprises a pedal part and a seat frame, the seat frame comprises a main frame part, two tensioning parts and a plurality of fixing rods, the main frame part is used for assembling the seat part, and the two tensioning parts are arranged corresponding to the two ends of the main frame part; the tensioning piece comprises a fastening part and a tensioning plate, the fastening part is used for being assembled with the edge of the pedal piece, the tensioning plate and the main frame piece are correspondingly arranged, the fixing rod penetrates through the tensioning plate and is connected with the main frame piece, and the fixing rod is used for promoting the fastening part and the tensioning plate to be in a fastened state. The two ends of the main frame part and the pedal part are relatively fixed through the tensioning part, the assembly stability of the main frame part is improved, the assembly stability of the seat part is enhanced, the main frame part does not occupy the internal space of the pedal part during assembly, the arrangement of the battery part is prevented from being affected, the pedal part plays a role in supporting, positioning and reinforcing the main frame part, the assembly stability of the main frame part is improved, and the assembly stability of the seat part is improved. And the assembly stability of

Double-vertical-rod folding mechanism and electric scooter

NºPublicación:  CN223546404U 14/11/2025
Solicitante: 
ANHUI LEXINGTIANXIA INTELLIGENT TECH CO LTD
\u5B89\u5FBD\u4E50\u884C\u5929\u4E0B\u667A\u80FD\u79D1\u6280\u6709\u9650\u516C\u53F8
CN_223546404_U

Resumen de: CN223546404U

The utility model belongs to the technical field of scooters, and discloses a double-vertical-rod folding mechanism and an electric scooter, and the double-vertical-rod folding mechanism comprises a first vertical rod, a second vertical rod, a sliding sleeve, a locking mechanism, a first connecting piece and a second connecting piece; the second connecting piece is connected with the first vertical rod, the second vertical rod and the first connecting piece are rotatable, the first vertical rod and the second vertical rod are slidably sleeved with the sliding sleeve and detachably connected with the first connecting piece through the sliding sleeve, and the locking mechanism is arranged on the sliding sleeve to control the sliding sleeve to clamp or loosen the vertical rod. Detachable connection between the sliding sleeve and the first connecting piece and rotary folding and connection locking between the vertical rod and the second connecting piece are achieved through the sliding sleeve, a user can easily fold and lock the vertical rod through the sliding sleeve and the locking mechanism, operation is convenient and fast, the locking mechanism ensures stability of the vertical rod in the folded state, safety is improved, and use is convenient. Meanwhile, after being folded, the folding chair occupies a small space and is convenient to store in families and offices and carry on public transport means.

Folding structure of electric scooter

NºPublicación:  CN223546405U 14/11/2025
Solicitante: 
GUANGZHOU FENGRUI LUGGAGE MFG CO LTD
\u5E7F\u5DDE\u98CE\u9510\u7BB1\u5305\u5236\u9020\u6709\u9650\u516C\u53F8
CN_223546405_U

Resumen de: CN223546405U

The utility model discloses a folding structure of an electric scooter, which comprises a skateboard part and a rear wheel part which is arranged behind the skateboard part and is in concave-convex fit with the skateboard part, the folding structure further comprises a folding part arranged between the rear wheel part and the skateboard part, the folding part comprises a rotating part, the rotating part is arranged between the skateboard part and the rear wheel part, and the rotating part comprises a rotating hole penetrating through the skateboard part and the rear wheel part and a rotating shaft rod inserted into the rotating hole to be fixed; the limiting part is arranged between the sliding plate part and the rear wheel part, and the limiting part comprises a first limiting groove formed in the sliding plate part and a second limiting groove formed in the rear wheel part; the second limiting groove is formed in the rear wheel part; the sliding clamping block is accommodated in the first limiting groove and the second limiting groove; according to the folding structure of the electric scooter, the problems that the folding structure of the electric scooter is unstable, complex to operate, large in occupied size, poor in durability and the like in use are solved, so that the convenience, safety, stability and durability of folding operation are improved, and the user experience is enhanced.

Forehead assembly, vehicle and electric scooter

NºPublicación:  CN223533616U 11/11/2025
Solicitante: 
BEIJING XIAOMI MOBILE SOFTWARE CO LTD
\u5317\u4EAC\u5C0F\u7C73\u79FB\u52A8\u8F6F\u4EF6\u6709\u9650\u516C\u53F8
CN_223533616_U

Resumen de: CN223533616U

The utility model provides a forehead assembly, a vehicle and an electric scooter, the forehead assembly comprises a forehead main body, the forehead main body comprises a first cylinder and a second cylinder which communicate with each other and are coaxially arranged, the first cylinder and the second cylinder are arranged in the first direction and extend in the first direction, and the second cylinder is suitable for being connected with a frame vertical pipe of the vehicle; the handlebar transverse pipe penetrates through the first barrel to be arranged in a manner of being crossed with the forehead main body, the handlebar transverse pipe extends in the second direction, and the second direction is perpendicular to the first direction. Through the arrangement, the transverse distance between the handlebar transverse pipe and the second barrel body is greatly reduced, the transverse distance between the handlebar transverse pipe and the frame vertical pipe is correspondingly reduced, the space occupied by the forehead assembly is effectively reduced, and the structure of the forehead assembly is more compact and simpler; meanwhile, the structure of the forehead body is simpler, the appearance of the forehead assembly can be simpler and more attractive, production and manufacturing are convenient, and the production and manufacturing cost can be reduced.

Folding mechanism and electric scooter

NºPublicación:  CN120886952A 04/11/2025
Solicitante: 
JIANGSU XIAONIU ELECTRIC SCOOTER TECH CO LTD
\u6C5F\u82CF\u5C0F\u725B\u7535\u52A8\u79D1\u6280\u6709\u9650\u516C\u53F8
CN_120886952_PA

Resumen de: CN120886952A

The embodiment of the invention relates to a scooter, and discloses a folding mechanism, which comprises a U-shaped connecting plate, the first end of the supporting frame is arranged in the U-shaped connecting plate and is rotationally connected with the U-shaped connecting plate; the first end of the wrench is rotationally connected with the first end of the supporting frame; wherein a limiting groove is formed in the side wall, deviating from an opening of the U-shaped connecting plate, of the supporting frame, the wrench is inserted into the limiting groove, and a locking part is arranged on the inner side wall of the wrench; under the condition that the locking part and the limiting groove are clamped and fixed, the supporting frame and the U-shaped connecting plate are relatively fixed and are in an open state; under the condition that the locking part is separated from the limiting groove, the supporting frame rotates in the direction away from the opening of the U-shaped connecting plate and abuts against the U-shaped connecting plate, and the supporting frame and the U-shaped connecting plate are in a folded state. Relative movement of components is directly restrained through mechanical limiting, a manual triggering mode is adopted, reliable connection during opening and smooth action during folding are guaranteed, the basic function requirements of the folding mechanism are met, and meanwhile the structure is simple, safe and reliable. The invention further provide

Drawing type handle of electric scooter

NºPublicación:  CN223494685U 31/10/2025
Solicitante: 
DONGGUAN DILUN HARDWARE PRODUCT CO LTD
\u4E1C\u839E\u5E02\u8FEA\u4F26\u4E94\u91D1\u5236\u54C1\u6709\u9650\u516C\u53F8
CN_223494685_U

Resumen de: CN223494685U

The utility model relates to the field of electric scooters, and discloses a pull-out handle of an electric scooter, which comprises a scooter body, a fixing frame is arranged on the right side of the scooter body, a hoop is arranged on the outer wall of the top end of the fixing frame, an auxiliary support is slidably connected to the inner wall of the top end of the fixing frame, and handles a are hinged to two sides of the top end of the auxiliary support. And extending mechanisms are arranged on the inner walls of the two sets of handles a and comprise handles b, two sets of connecting rods are hinged to the ends, away from the reset springs, of the shifting blocks, and positioning blocks are hinged to the ends, away from the shifting blocks, of the two sets of connecting rods. According to the utility model, the handle b in the extension mechanism can be pulled in the handle a and is fixed through the insertion of the positioning block and the through hole of the handle a, so that the length of the handle can be accurately adjusted according to the arm unfolding width of different riders, and the riding discomfort caused by the improper length of the handle can be effectively avoided due to the adaptability of the height.

Inclined rod folding mechanism of electric scooter

NºPublicación:  CN120863787A 31/10/2025
Solicitante: 
ZHEJIANG JINGSHEN IND CO LTD
\u6D59\u6C5F\u7CBE\u6DF1\u5B9E\u4E1A\u6709\u9650\u516C\u53F8
CN_120863787_PA

Resumen de: CN120863787A

The invention relates to an inclined rod folding mechanism of an electric scooter. Comprising a pedal frame, an inclined rod and a folding device, the inclined rod comprises an upper inclined rod body and a lower inclined rod body, the upper inclined rod body and the lower inclined rod body are connected through the folding device, and the upper inclined rod body can rotate through a pin shaft; the folding device comprises a handle, a first hinge part, a second hinge part and a tension adjusting part, the first hinge part comprises a push-pull locking block I, a joint middle plug pin and a tension spring, the push-pull locking block I is hinged to the handle and provided with the joint middle plug pin penetrating out of the upper inclined rod to be clamped in the clamping groove, and the second hinge part comprises a push-pull locking block II and a push-pull locking block III; the push-pull locking block II is hinged to the handle and is opposite to the push-pull locking block I, the push-pull locking block III is hinged to the push-pull locking block II, the tension adjusting part comprises an adjusting seat, an adjusting bolt and a fixing seat, the fixing seat is arranged on the upper inclined rod, the adjusting bolt penetrates through the fixing seat and is fixed to the adjusting seat, the adjusting seat is fixed to the push-pull locking block III through a fixing bolt, and the adjusting seat is fixed to the push-pull locking block III through the fixing bolt. And a tensi

Electric scooter

NºPublicación:  CN223479230U 28/10/2025
Solicitante: 
JIANGSU LITTLE DINOSAUR CHILDREN PRODUCTS GROUP CO LTD
\u6C5F\u82CF\u5C0F\u5C0F\u6050\u9F99\u513F\u7AE5\u7528\u54C1\u96C6\u56E2\u6709\u9650\u516C\u53F8
CN_223479230_U

Resumen de: CN223479230U

The utility model discloses an electric scooter, which belongs to the technical field of electric scooters and comprises a movable pedal, a battery compartment is fixedly connected to the upper surface of the movable pedal, two hinge blocks are fixedly connected to the back of the battery compartment, and extension frames are movably hinged to one side surfaces, far away from each other, of the two hinge blocks. The front face of each extension frame makes contact with the back face of the battery bin, an extension sliding groove is formed in the upper surface of each extension frame, and a supporting rod is slidably connected into each extension sliding groove. According to the electric scooter, through cooperation of a battery bin, a hinge block, an extension frame, an extension sliding groove, a supporting rod, a threaded cylinder, a positioning screw rod and a positioning hole, the structure can be conveniently stored, the two sides of the electric scooter are supported through the structure, and then the gravity center of the electric scooter is lowered through cooperation of a supporting bottom plate and universal wheels; the moving stability of the electric scooter is improved, and the effect of improving the use safety of the electric scooter is achieved.

Foldable electric scooter

Nº publicación: CN223479233U 28/10/2025

Solicitante:

NIU TECH GROUP LIMITED
\u5317\u4EAC\u725B\u7535\u79D1\u6280\u6709\u9650\u8D23\u4EFB\u516C\u53F8

CN_223479233_U

Resumen de: CN223479233U

The utility model relates to the technical field of scooters, in particular to a foldable electric scooter which comprises a connecting pipe capable of being fixedly installed on a forehead assembly and a handlebar transverse pipe connected with the connecting pipe. The handlebar transverse pipe is rotatably connected with the connecting pipe so as to adjust the included angle between the handlebar transverse pipe and the connecting pipe; a sliding sleeve is further arranged on the handlebar transverse pipe in a sleeving mode and can move to the connecting position of the handlebar transverse pipe and the connecting pipe so as to limit rotation of the handlebar transverse pipe. According to the electric scooter, the handlebar transverse pipe is rotationally connected with the connecting pipe, and the included angle between the handlebar transverse pipe and the connecting pipe can be adjusted, so that the width size of the electric scooter can be reduced, and storage of the electric scooter is facilitated. The sliding sleeve can be moved to the rotating joint of the handlebar transverse pipe and the connecting pipe, so that the sliding sleeve can limit rotation of the handlebar transverse pipe. When the electric scooter is in use, the sliding sleeve is moved, so that the rotating joint of the handlebar transverse pipe and the connecting pipe is not sleeved by the sliding sleeve any more, the handlebar transverse pipe can rotate relative to the connecting pipe, and the effect o

traducir