Ministerio de Industria, Turismo y Comercio LogoMinisterior
 

Alerta

Resultados 46 resultados
LastUpdate Última actualización 02/01/2026 [06:45:00]
pdfxls
Patentes publicadas en los últimos 30 días/ Patents published in the last 30 days
Resultados 1 a 25 de 46 nextPage  

PRODUCTION PROCESS FOR PRODUCING YEAST CELL WALL EXTRACT HYDROLYSATE USING ORGANIC ACIDS

NºPublicación:  EP4666997A1 24/12/2025
Solicitante: 
BEIJING ACTIVE BLUE CRYSTAL BIOTECHNOLOGY CO LTD [CN]
Beijing Active Blue Crystal Biotechnology Co., Ltd
EP_4666997_PA

Resumen de: EP4666997A1

The present invention discloses a process for producing yeast cell wall extract hydrolysate using organic acid. The process removes color and odor substances and inorganic salts carried by yeast after fermentation and cultivation through preliminary hydrolysis with acetic acid and purifies the yeast cell wall extract at the same time. Then, the yeast cell wall extract from which color and odor substances and inorganic salts have been removed is hydrolyzed with formic acid to make the produced yeast cell wall extract hydrolysate more easily soluble in water. Through the above organic acid hydrolysis process, the present invention provides a production process for a colorless, odorless, salt-free and easily soluble product containing substances in yeast cell walls that are beneficial to skin protection, repair and treatment. The present invention also provides a method for removing and recycling the organic acids added in the process, thereby reducing production costs and reducing pollution.

METHOD AND SYSTEM FOR TREATING BIOMASS

NºPublicación:  EP4665906A1 24/12/2025
Solicitante: 
VALMET OY [SE]
Valmet AB
SE_2330079_A1

Resumen de: SE2330079A1

A method for treating biomass material such as lignocellulose biomass is provided. The method comprises impregnating (201) the biomass material with sulfur dioxide and/or sulfurous acid, and subjecting the biomass material to hydrothermal treatment (202) in a pretreatment reactor. The method further comprises controlling the treatment severity of the hydrothermal treatment by controlling (203) the sulfur dioxide partial pressure in the pretreatment reactor. A system for treating biomass material is also provided.

METHOD AND SYSTEM FOR TREATING BIOMASS MATERIAL

NºPublicación:  EP4665905A1 24/12/2025
Solicitante: 
VALMET OY [SE]
Valmet AB
SE_2330081_A1

Resumen de: SE2330081A1

Method for treating biomass material, comprising impregnating (201) the biomass material with sulfur dioxide and/or sulfurous acid in an impregnation reactor, subjecting the biomass material to hydrothermal treatment (202) in a pretreatment reactor, and determining (204) a flow, or a parameter indicative of a flow, of gases vented off from an upper portion of the pretreatment reactor. The method further comprises controlling (205a, 205b) the impregnating based on the flow of gases, or the parameter indicative of the flow of gases. A corresponding system is also provided.

Verfahren zur Herstellung von Holzbriketts aus Grünabfällen

NºPublicación:  DE102024116534A1 18/12/2025
Solicitante: 
MICHAEL RICHTER GMBH [DE]
Michael Richter GmbH
DE_102024116534_PA

Resumen de: DE102024116534A1

Die Erfindung betrifft ein Verfahren zur Herstellung von Holzbriketts aus Grünabfällen, welches batchweise arbeitet und die folgenden Verfahrensschritte vorsieht, die in der angegebenen Reihenfolge durchlaufen werden:(1) aus unterschiedlichen Bezugsquellen zur Verfügung gestellte Grünabfälle werden an einem Lagerplatz so lange gesammelt, bis eine für eine Batchverarbeitung ausreichende Rohstoffcharge an Grünabfällen bereitsteht;(2) die Grünabfälle werden dem Lager entnommen und mechanisch zerkleinert;(3) die zerkleinerten Grünabfälle werden getrennt, wobei Erdanteile entfernt werden;(4) die Grünabfälle mit reduziertem Erdanteil werden getrocknet;(5) die getrockneten Grünabfälle werden mechanisch weiter zerkleinert;(6) die weiter zerkleinerten Grünabfälle werden getrennt, wobei im Wege der Trennung eine weiterzuverarbeitende Holzkomponente aus den weiter zerkleinerten Grünabfällen gewonnen wird;(7) die weiterzuverarbeitende Holzkomponente wird getrocknet und grob zerkleinert;(8) die grob zerkleinerte Holzkomponente wird mechanisch fein zerkleinert;(9) die fein zerkleinerte Holzkomponente wird gesiebt, wobei im Wege des Siebens eine Feinstholzkomponente aus der Holzkomponente gewonnen wird;(10) die Feinstholzkomponente wird brikettiert.

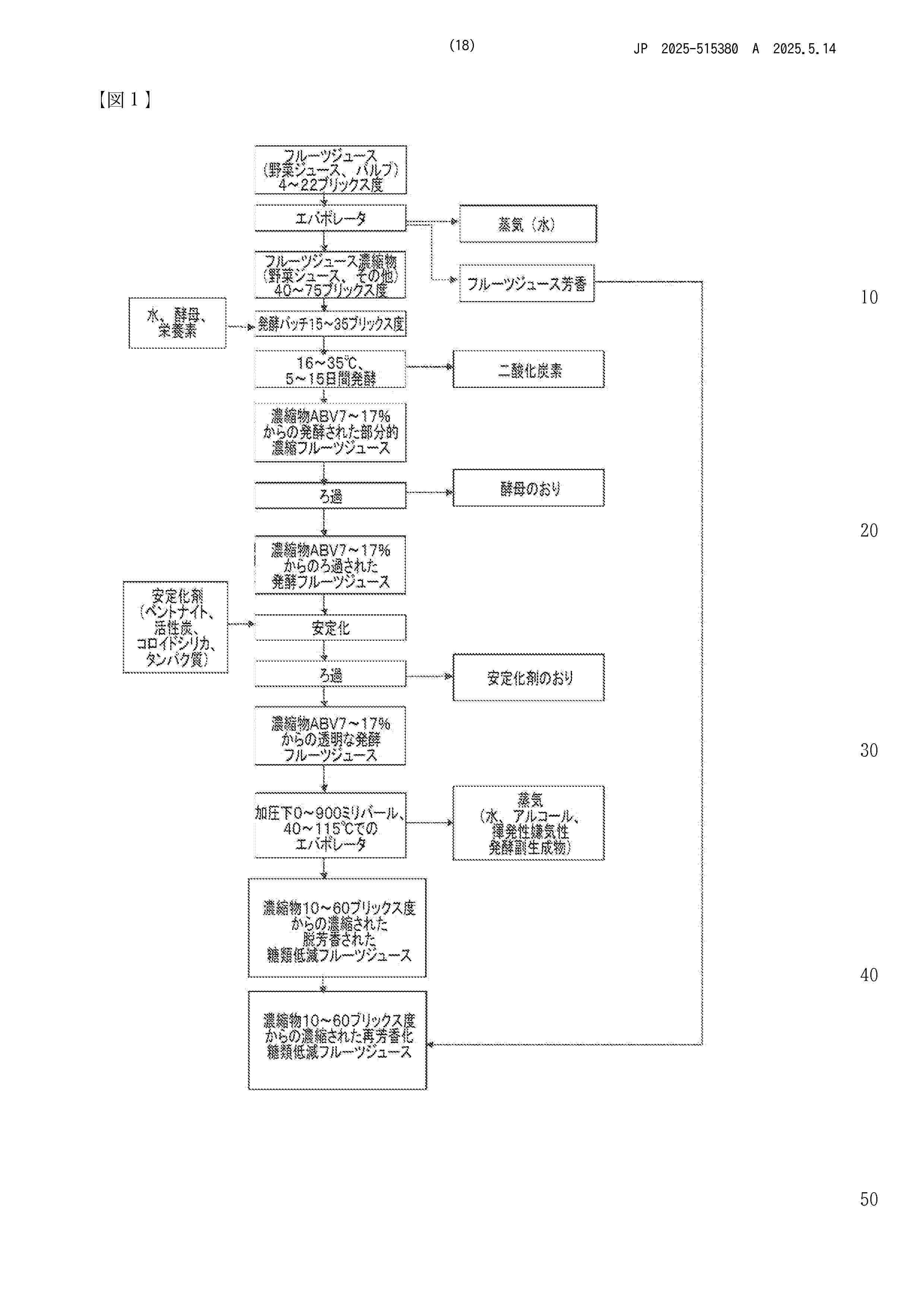
Juice Concentrate Having a Reduced Sugar Content and Production Method

NºPublicación:  US2025380722A1 18/12/2025
Solicitante: 
AUSTRIA JUICE GMBH [AT]
AUSTRIA JUICE GmbH
JP_2025515380_A

Resumen de: US2025380722A1

The invention relates to a method for producing a juice concentrate having a reduced sugar content, in which method the sugar content of a juice is reduced by means of fermentation after the addition of microorganisms, and the ethanol produced by the fermentation is separated using additional fermentation products in an evaporator, as a result of which the juice concentrate having a reduced sugar content is obtained. The invention also relates to: a juice concentrate, preferably a fruit juice concentrate or vegetable juice concentrate, which can be obtained using said method; and a method for producing a juice having a reduced sugar content from said juice concentrate.

SYSTEMS AND METHODS FOR HOLISTIC LOW CARBON INTENSITY FUEL PRODUCTION

NºPublicación:  US2025383637A1 18/12/2025
Solicitante: 
MARATHON PETROLEUM COMPANY LP [US]
Marathon Petroleum Company LP
US_2023408990_PA

Resumen de: US2025383637A1

The present disclosure generally relates to systems and methods utilizing regenerative agriculture for the procurement, production, refinement and/or transformation of low carbon intensity transportation fuels, including low carbon intensity biodiesel and/or renewable diesel, low carbon intensity biogasoline, low carbon intensity aviation, marine and kerosene fuels as well as fuel oil blends, low carbon intensity ethanol, and low carbon intensity hydrogen, that may be beneficially commercialized directly to consumers. In further aspects, the systems and methods of the present disclosure advantageously generate low carbon intensity comestibles, including sustainably-sourced meal and/or feed. The disclosed systems and methods may be utilized and optimized such that the resulting fuels and foodstuffs are characterized by a reduction in greenhouse gas production and a diminution in the fertilizer, pesticide and water required for producing the associated crop feedstocks.

MOBILE BIOMASS THERMOCHEMICAL ENERGY CONVERSION UNIT AND RELATED METHODS

NºPublicación:  US2025382523A1 18/12/2025
Solicitante: 
LOCOAL CHARCOAL COMPANY [US]
Locoal Charcoal Company
US_2025382523_PA

Resumen de: US2025382523A1

A thermochemical energy conversion unit includes a heat expansion assembly including a reactor configured to receive a biomass and convert the biomass into a burnable gas having undesirable materials therein and a biochar. The heat expansion assembly also includes a heat expansion discharge pipe configured to discharge the burnable gas from the heat expansion assembly. The thermochemical energy conversion unit also includes a gas scrubber assembly operatively connected to the heat expansion assembly and configured to receive the burnable gas therefrom and to remove the undesirable materials from the burnable gas. The gas scrubber assembly includes a scrubber discharge pipe configured to discharge the burnable gas from the gas scrubber assembly. The heat expansion assembly and the gas scrubber assembly are configured to be continuously fluidly connected from the heat expansion discharge pipe to the scrubber discharge pipe for generating a continuous flow of the burnable gas therealong.

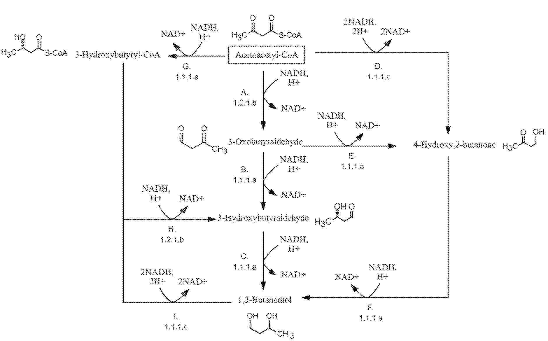
ALDEHYDE DEHYDROGENASE VARIANTS AND METHODS OF USING SAME

NºPublicación:  US2025382590A1 18/12/2025
Solicitante: 
GENOMATICA INC [US]
Genomatica, Inc
US_2025382590_PA

Resumen de: US2025382590A1

The invention provides polypeptides and encoding nucleic acids of aldehyde dehydrogenase variants. The invention also provides cells expressing aldehyde dehydrogenase variants. The invention further provides methods for producing 3-hydroxybutyraldehyde (3-HBal) and/or 1,3-butanediol (1,3-BDO), or an ester or amide thereof, comprising culturing cells expressing an aldehyde dehydrogenase variant or using lysates of such cells. The invention additional provides methods for producing 4-hydroxybutyraldehyde (4-HBal) and/or 1,4-butanediol (1,4-BDO), or an ester or amide thereof, comprising culturing cells expressing an aldehyde dehydrogenase variant or using lysates of such cells.

METHODS AND MICROORGANISMS FOR THE FERMENTATION OF METHANE TO MULTI-CARBON COMPOUNDS

NºPublicación:  US2025382623A1 18/12/2025
Solicitante: 
BIOVERDE TECH LLC [US]
BioVerde Tech LLC
US_2025382623_PA

Resumen de: US2025382623A1

Genetically modified microorganisms that have the ability to convert carbon substrates into chemical products such as isobutanol are disclosed. For example, genetically modified methanotrophs that are capable of generating isobutanol at high titers from a methane source are disclosed. Methods of making these genetically modified microorganisms and methods of using them are also disclosed.

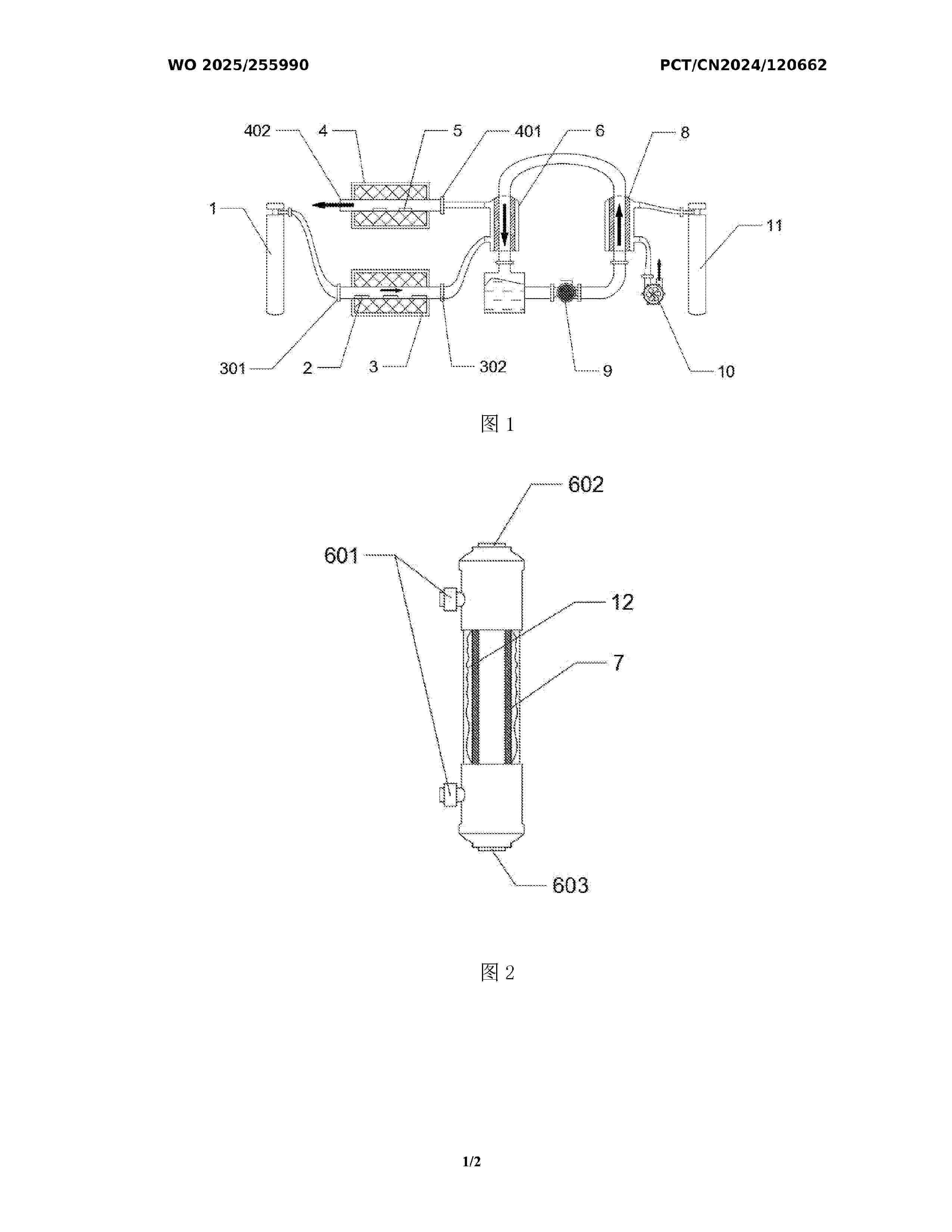
DEVICE AND METHOD FOR PREPARING CARBON MATERIAL BY PYROLYSIS AND GRADED UTILIZATION OF BIOMASS

NºPublicación:  WO2025255990A1 18/12/2025
Solicitante: 
HENAN UNIV OF SCIENCE AND TECHNOLOGY [CN]
\u6CB3\u5357\u79D1\u6280\u5927\u5B66
WO_2025255990_A1

Resumen de: WO2025255990A1

The present invention relates to the technical field of biomass energy recycling. Disclosed are a device and method for preparing a carbon material by pyrolysis and graded utilization of biomass. The device comprises a first tubular furnace; a first gas inlet of the first tubular furnace is in communication with a gas outlet end of a first nitrogen cylinder; a gas outlet of the first tubular furnace is in communication with a gas inlet end of a degassing mechanism; the degassing mechanism can absorb a water-soluble gas in a pyrolysis gas; a second tubular furnace has a second gas inlet and a second gas outlet; the second gas inlet is in communication with a gas outlet end of the degassing mechanism; and the degassing mechanism can deliver a water-insoluble gas in the pyrolysis gas to the second tubular furnace for vapor deposition to form biochar. The pyrolysis gas generated by biomass pyrolysis can be secondarily utilized, the water-insoluble gas in the pyrolysis gas is separated, and the water-insoluble gas is converted into biochar by means of vapor deposition in the second tubular furnace, so that the utilization rate of the pyrolysis gas is improved and the content of harmful gases in the pyrolysis gas is reduced, and thus the treated pyrolysis gas can be directly discharged into the atmosphere and is environmentally friendly and pollution-free.

BIOETHANOL PRODUCTION FROM WASTE USING ENZYMES

NºPublicación:  AU2024267388A1 18/12/2025
Solicitante: 
HALL PHILIP
HALL, Philip
AU_2024267388_A1

Resumen de: AU2024267388A1

The invention relates to a method for treating waste material. The method comprises the steps of: a. converting the waste material into a slurry, e.g., by adding water; b. adding enzymes to the slurry and allowing the enzymes to extract sugars from the slurry by enzyme saccharification; c. separating the liquid content of the slurry from the solid waste content to give a liquid; d. converting the liquid to an ethanol-water mixture; and e. concentrating or separating the ethanol-water mixture to give ethanol. An apparatus for treating waste material according to the method is also provided..

METHOD FOR PRODUCING WOOD BRIQUETTES FROM GREEN WASTE

NºPublicación:  EP4663721A1 17/12/2025
Solicitante: 
MICHAEL RICHTER GMBH [DE]
Michael Richter GmbH
EP_4663721_PA

Resumen de: EP4663721A1

Die Erfindung betrifft ein Verfahren zur Herstellung von Holzbriketts aus Grünabfällen, welches batchweise arbeitet und die folgenden Verfahrensschritte vorsieht, die in der angegebenen Reihenfolge durchlaufen werden:(1) aus unterschiedlichen Bezugsquellen zur Verfügung gestellte Grünabfälle werden an einem Lagerplatz so lange gesammelt, bis eine für eine Batchverarbeitung ausreichende Rohstoffcharge an Grünabfällen bereitsteht;(2) die Grünabfälle werden dem Lager entnommen und mechanisch zerkleinert;(3) die zerkleinerten Grünabfälle werden getrennt, wobei Erdanteile entfernt werden;(4) die Grünabfälle mit reduziertem Erdanteil werden getrocknet;(5) die getrockneten Grünabfälle werden mechanisch weiter zerkleinert;(6) die weiter zerkleinerten Grünabfälle werden getrennt, wobei im Wege der Trennung eine weiterzuverarbeitende Holzkomponente aus den weiter zerkleinerten Grünabfällen gewonnen wird;(7) die weiterzuverarbeitende Holzkomponente wird getrocknet und grob zerkleinert;(8) die grob zerkleinerte Holzkomponente wird mechanisch fein zerkleinert;(9) die fein zerkleinerte Holzkomponente wird gesiebt, wobei im Wege des Siebens eine Feinstholzkomponente aus der Holzkomponente gewonnen wird;(10) die Feinstholzkomponente wird brikettiert.

ENGINEERED OBLIGATE FERMENTING BACTERIA FOR THE FERMENTATIVE PRODUCTION OF D-LACTATE AND ISOBUTANOL

NºPublicación:  EP4662301A1 17/12/2025
Solicitante: 
MAX PLANCK GESELLSCHAFT [DE]
Max-Planck-Gesellschaft zur F\u00F6rderung der Wissenschaften e.V
CN_121057810_PA

Resumen de: WO2024188980A1

The present invention relates to genetically engineered bacteria comprising a deletion of ndh gene; a deletion of one or more nuo genes; a deletion of dld gene, wherein the one or more nuo genes are selected from nuoA, nuoB, nuoC, nuoD, nuoE, nuoF, nuoG, nuoH, nuoI, nuoJ, nuoK, nuoL, nuoM and nuoN; wherein the genetically engineered bacterium is able of oxygen uptake, i.e. the genetically engineered bacterium is able to use oxygen as electron acceptor, and wherein the bacteria is genetically engineered to produce a fermentation product in presence of oxygen. In particular, the present invention provides bacteria genetically engineered to produce lactate from glycerol or from glucose in presence of oxygen. The present invention further provides bacteria genetically engineered to produce isobutanol and/or ethanol from glycerol in presence of oxygen. Further described is a method for producing a fermentation product using the disclosed genetically engineered bacteria.

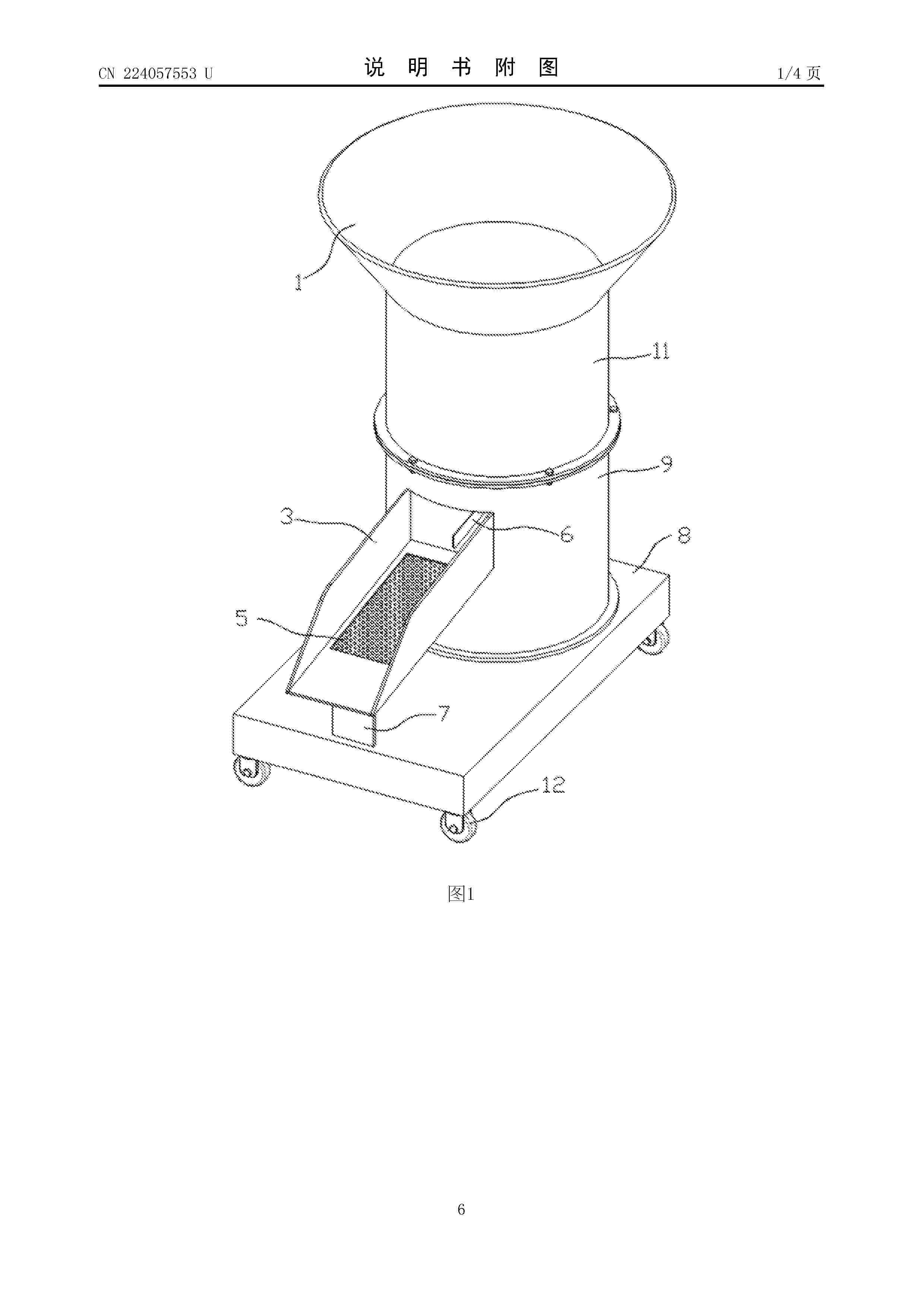
一种环保节能的燃煤炉

NºPublicación:  CN223663317U 12/12/2025
Solicitante: 
青岛阿莱奥生物科技有限公司
CN_223663317_U

Resumen de: CN223663317U

本实用新型提供一种环保节能的燃煤炉,包括炉体,滤网,集渣盒,烟气疏导架,排水管,进水管,排烟管,进料机构,输气管和回流管,所述炉体的内部固定有滤网,其中滤网的上侧设置有烟气疏导架,且滤网的上固定有点火器;所述烟气疏导架与炉体内壁相固定;所述炉体的外侧面分别固定有排水管、进水管和排烟管;所述炉体的外侧面与进料机构的输出端相固定;所述输气管的两端分别与炉体和进料机构的相应位置相固定;所述回流管的两端分别与进料机构和排烟管的相应位置相固定。本实用新型进料机构,输气管和回流管的设置,在进行使用时,能够对农林废弃物和可燃煤进行混合与粉碎,并且,能够利用烟气对农林废弃物和可燃煤进行干燥处理。

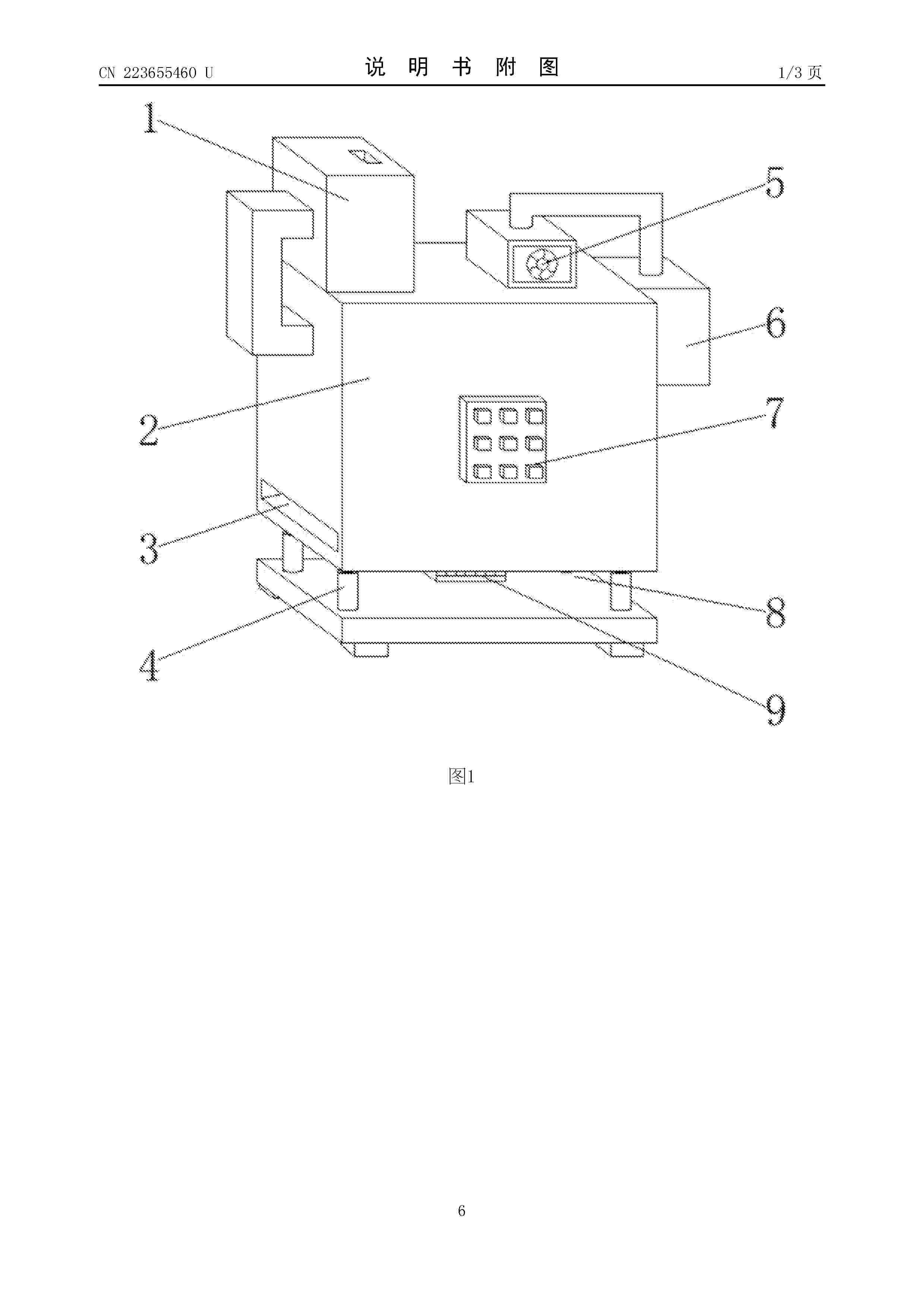
一种生物质燃料颗粒加工用除屑装置

NºPublicación:  CN223655460U 12/12/2025
Solicitante: 
青岛万客来新能源科技有限公司
CN_223655460_U

Resumen de: CN223655460U

本实用新型涉及除屑装置技术领域,且公开了一种生物质燃料颗粒加工用除屑装置,包括箱体,箱体的前端面安装有控制面板,箱体的内部设置有筛分腔,筛分腔的内部顶端安装有吸尘罩,吸尘罩的顶部安装有吸尘泵,且吸尘泵的输入端通过管道与吸尘罩相连通,箱体的右侧固定连接有集尘箱,吸尘泵的输出端通过管道与集尘箱的内部相连通,集尘箱的右侧外壁开设有与其内部相连通的出气口,出气口的内部设置有阻尘网。本实用新型通过吸尘泵、集尘箱、吸尘罩、出尘管、出气口、阻尘网和阀门的设置,可以实现对过滤网上方的灰尘碎屑进行收集以及处理,从而提高生物质燃料颗粒的除屑效果,更加有利于后期生物质燃料颗粒的充分燃烧。

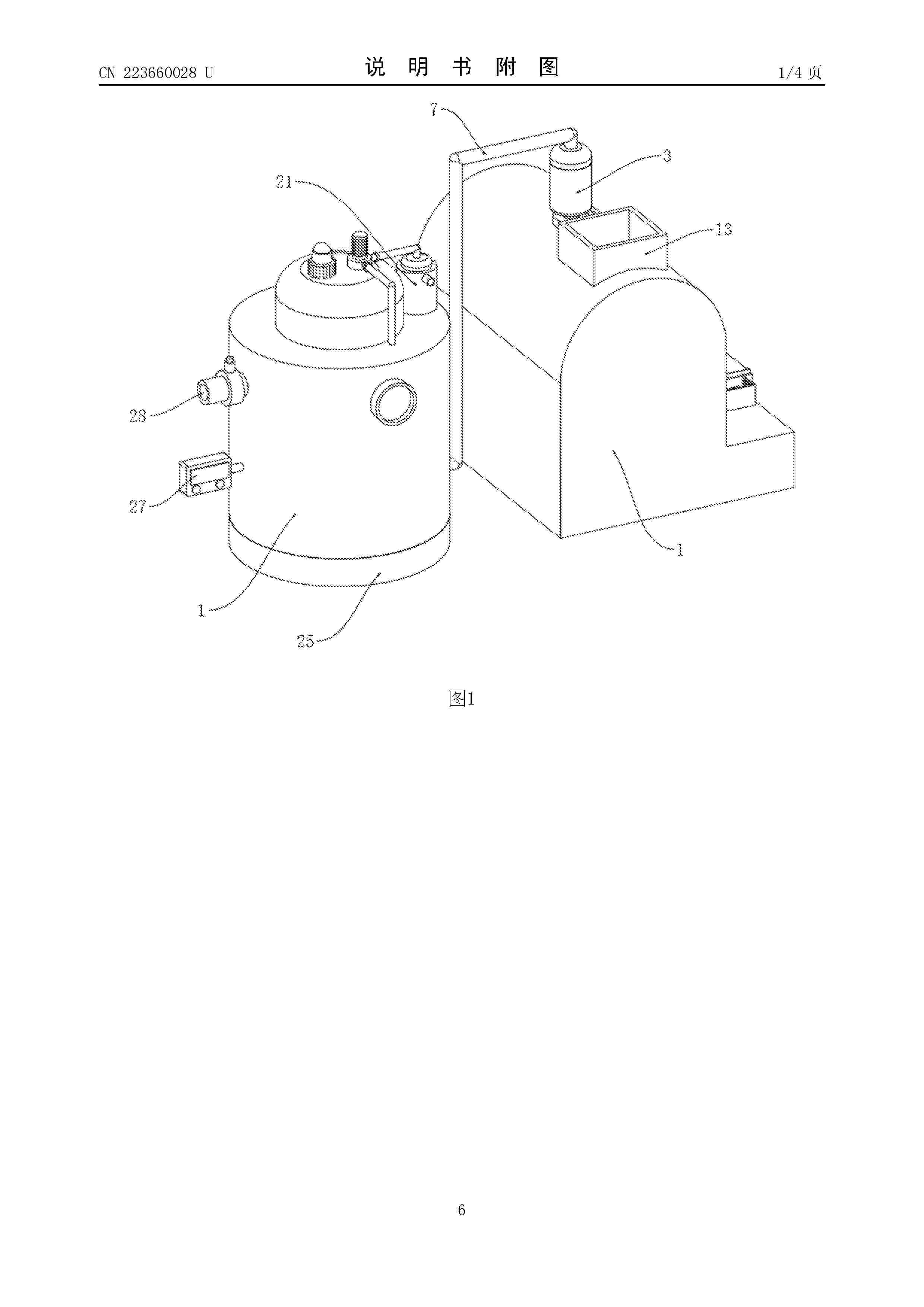
一种直立内热式空腹炭化炉干熄兰炭的装置

NºPublicación:  CN223660028U 12/12/2025
Solicitante: 
新疆国欣绿源清洁能源有限公司
CN_223660028_U

Resumen de: CN223660028U

本实用新型涉及环保设备技术领域,一种直立内热式空腹炭化炉干熄兰炭的装置,包括炉体,还包括:设置于炉体顶部的出气管,所述出气管的顶部设置有筒体,所述筒体的内壁固定连接有安装架,所述安装架的顶部卡接有对燃烧气体中的炉灰进行过滤的第一过滤网,本实用新型通过第一过滤网达到对燃烧气体中的炉灰进行过滤的效果,通过第二过滤网可对燃烧气体进行净化,通过喷淋罩和喷头可对第二过滤网进行清洗,通过刮板可对第二过滤网进行清理,避免第二过滤网堵塞影响燃烧气体净化的问题,通过导热翅片可对炭盒内部热量进行吸附,降低炭盒内部温度,方便对兰炭进行干熄处理。

生物质炭的生产装置

NºPublicación:  CN223660026U 12/12/2025
Solicitante: 
万岱新能源科技(苏州)有限公司
CN_223660026_U

Resumen de: CN223660026U

本实用新型涉及生物炭化技术领域,具体提供了一种生物质炭的生产装置,该装置包括:卧式炭化炉,加热装置;卧式炭化炉用于将输入的生物原料进行高温炭化,并输出生物质炭;加热装置包括加热器,以及设置在卧式炭化炉的外表面的换热设备;加热器与换热设备通过管道连接,管道内设置有换热介质。从而解决相关技术中的卧式生物质炭联产炉,存在产出的生物质炭和生物质燃气的质量低,品质差的问题。

一种生物质颗粒燃料干燥成型装置

NºPublicación:  CN223663650U 12/12/2025
Solicitante: 
高台县昕源生物质能源科技发展有限公司
CN_223663650_U

Resumen de: CN223663650U

本实用新型提供一种生物质颗粒燃料干燥成型装置,涉及干燥成型设备技术领域,包括固定筒和转筒,所述固定筒和转筒转动连接,所述固定筒和转筒的外表面设置有用于烘干生物质燃料的烘干机构,所述转筒远离固定筒的一端设置有用于对生物质燃料过滤的过滤机构,所述过滤机构的下方设置有用于将生物质燃料挤压成型的成型机构。该生物质颗粒燃料干燥成型装置通过设置的烘干机构,能够将热空气不断吹入转筒中,再利用转筒转动能够使挡板将物料抄起又撒下,将生物质颗粒燃料充分烘干,避免生物质颗粒燃料在压缩成型时不易成型或成型松散的情况;通过设置的过滤机构,能够将烘干后的生物质燃料中的杂质过滤出来,提高生物质燃料的燃烧效果。

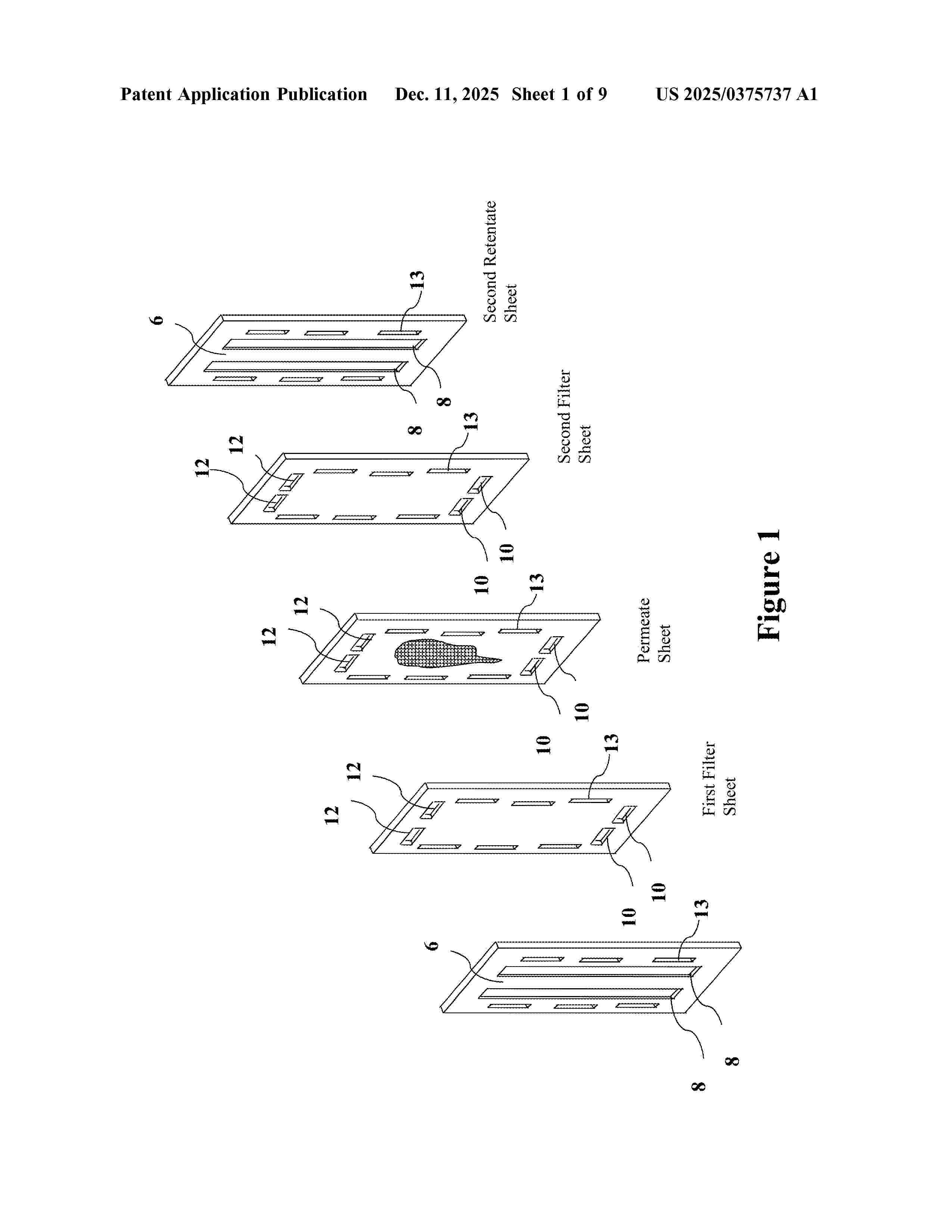
METHOD AND SYSTEMS FOR ISOLATION AND/OR SEPARATION OF PRODUCTS FROM PRODUCTION PROCESSES

NºPublicación:  US2025375737A1 11/12/2025
Solicitante: 
SMARTFLOW TECH INC [US]
SMARTFLOW TECHNOLOGIES, INC
US_2025375737_A1

Resumen de: US2025375737A1

The present invention relates to separation of desired target products from biological, plant, and waste-type material, wherein the desired target products include renewable fuels such as ethanol, biobutanol, and biodiesel, wherein the separation is conducted with a cross-flow filtration system having the ability to separate desired products from both non-viscous and viscous medium.

COMPOSITIONS FOR METABOLIC HEALTH

NºPublicación:  US2025375485A1 11/12/2025
Solicitante: 
INT N&H DENMARK APS [DK]
International N&H Denmark ApS
US_2025375485_PA

Resumen de: US2025375485A1

Provided herein, inter alia, are compositions comprising one or more biologically pure strains of bacteria as well as methods of making and using the same to treat and/or prevent one or more obesity related disorders in a subject in need thereof.

PROCESSES FOR PRODUCING FERMENTATION PRODUCTS USING ENGINEERED YEAST EXPRESSING A BETA-XYLOSIDASE

NºPublicación:  AU2024303961A1 11/12/2025
Solicitante: 
NOVOZYMES AS
NOVOZYMES A/S
AU_2024303961_A1

Resumen de: AU2024303961A1

The present invention relates to processes of producing fermentation products, such as ethanol from starch-containing material using fermenting organisms that express a GH120 or GH3 beta-xylosidase.

A RENEWABLE HYDROCARBON COMPOSITION

NºPublicación:  AU2024314842A1 11/12/2025
Solicitante: 
NESTE OYJ
NESTE OYJ
AU_2024314842_PA

Resumen de: AU2024314842A1

Herein is provided a renewable hydrocarbon composition comprising n-paraffins and i- paraffins, wherein the sum amount of any C8-C16 i-paraffins is from 50 to 94 wt-% of the total hydrocarbon composition weight, the kinematic viscosity at -20 °C of the hydrocarbon composition is from 3.7 to 8 mm2/s, and the weighted average carbon number of the hydrocarbons in the hydrocarbon composition is from 12.1 to 14.2.

BUTANOL PRODUCTION METHOD

NºPublicación:  US2025376704A1 11/12/2025
Solicitante: 
NIPPON CATALYTIC CHEM IND [JP]
NIPPON SHOKUBAI CO., LTD
US_2025376704_A1

Resumen de: US2025376704A1

Provided is a novel butanol production method. The butanol production method includes a fermentation step of subjecting a fermentation raw material to a fermentation treatment to prepare a fermented liquid containing butanol, and a separation step of subjecting the fermented liquid to PV membrane separation to prepare a separated liquid containing butanol. In the fermentation step, a microorganism of the species Clostridium saccharoperbutylacetonicum deficient in the function of at least an acetone-producing enzyme gene is used and/or a fermented liquid having an acetone concentration of 0.05 mass % or less is prepared.

ENZYME-EXPRESSING YEAST FOR ETHANOL PRODUCTION

NºPublicación:  US2025376702A1 11/12/2025
Solicitante: 
NOVOZYMES AS [DK]
Novozymes A/S
US_2025376702_PA

Resumen de: US2025376702A1

Described herein are recombinant fermenting organisms having a heterologous polynucleotide encoding an alpha-amylase and/or a heterologous polynucleotide encoding a trehalase. Also described are processes for producing a fermentation product, such as ethanol, from starch or cellulosic-containing material with the recombinant fermenting organisms.

METHOD FOR IMPROVING RATE OF XYLOSE AND ARABINOSE UTILIZATION IN SACCHAROMYCES CEREVISIAE

Nº publicación: EP4658791A1 10/12/2025

Solicitante:

SHANGHAI RES AND DEVELOPMENT CENTER OF INDUSTRIAL BIOTECHNOLOGY [CN]
CAS CENTER FOR EXCELLENCE IN MOLECULAR PLANT SCIENCES CHINESE ACAD OF SCIENCES [CN]
Shanghai Research and Development Center of Industrial Biotechnology,
CAS Center for Excellence In Molecular Plant Sciences, Chinese Academy of Sciences

CN_120712358_A

Resumen de: MX2025008763A

The provided is a method for improving the rate of glucose, xylose and arabinose utilization in Saccharomyces cerevisiae, comprising the following steps: using Saccharomyces cerevisiae with the ability to convert xylose and/or arabinose into ethanol, lactic acid, butanedioic acid, farnesene or isobutanol as a chassis cell to make the following mode of modifications in its genome: A. a mutation in the TRK1 gene for the potassium ion intracellular transporter protein, resulting in an increase in intracellular potassium ion/sodium ion ratio in Saccharomyces cerevisiae, and/or B. a mutation in the PUF2 gene for mRNA-binding protein or PUF2 gene knockout, resulting in PUF2 inactivation, deletion, reduced function, or down-regulated mRNA translation strength. The recombinant Saccharomyces cerevisiae constructed can utilize the cellulase hydrolysate comprising glucose, xylose and/or arabinose to produce ethanol, lactic acid, butanedioic acid, farnesene or isobutanol by fermentation, and has broad application prospects.

traducir