Ministerio de Industria, Turismo y Comercio LogoMinisterior
 

Alerta

Resultados 195 resultados
LastUpdate Última actualización 24/04/2026 [07:35:00]
pdfxls
Solicitudes publicadas en los últimos 30 días / Applications published in the last 30 days
Resultados 1 a 25 de 195 nextPage  

具备球向全向性的柔性叶片海流能转化装置

NºPublicación:  CN121875881A 17/04/2026
Solicitante: 
陕西卫澜深海信息科技有限公司
CN_121875881_PA

Resumen de: CN121875881A

本发明涉及水流动能高效转化技术领域,公开了一种具备球向全向性的柔性叶片海流能转化装置,包括柔性叶片海流轮机和电发生装置,柔性叶片海流轮机包括轮机定子机构和轮机转子机构,轮机转子机构和轮机定子机构之间产生磁悬浮力,轮机转子机构包括柔性叶片,柔性叶片在海流的作用下发生流致变形以使轮机转子机构在海流的作用下相对轮机定子机构和电发生装置转动,轮机转子机构和电发生装置之间产生电磁感应使电发生装置产生电能。具备了在深海环境中高效、稳定、易启动的性能,可以在深海长时间工作。

一种水下沉箱式数据中心结构

NºPublicación:  CN121875296A 17/04/2026
Solicitante: 
华南理工大学
CN_121875296_PA

Resumen de: CN121875296A

本发明涉及海洋工程中数据中心建设技术领域,公开一种水下沉箱式数据中心结构,包括一体化重力式复合结构沉箱、数据中心模块、散热系统、数据传输系统和风电系统;一体化重力式复合结构沉箱包括由上至下依次固接的竖井段、锥台段和圆柱段,竖井段的顶部伸出水面,圆柱段内腔底部设有配重结构;锥台段和圆柱段的内腔中均安装有环形加强肋;数据中心模块安装在锥台段和圆柱段的内腔中,并且数据中心模块呈矩阵式排布;散热系统安装在数据中心模块表面,散热系统与海水连通;数据传输系统安装在竖井段内腔,数据中心模块通过数据传输系统接入陆地骨干网。本发明可减少数据中心的占地和能耗,提升整体结构强度,提高运行稳定性。

一种水库枢纽工程的除险加固系统

NºPublicación:  CN224133642U 17/04/2026
Solicitante: 
中水君信工程勘察设计有限公司

Resumen de: CN224133642U

本实用新型属于水库枢纽工程技术领域,尤其涉及一种水库枢纽工程的除险加固系统,针对现有的无法随潮水高度动态调节,应用场景受限的问题,现提出如下方案,包括墙本体,墙本体的顶端套设有套设块,且套设块的内部穿出有锚杆。本系统通过电磁线圈的交变电流产生的感应热,作用于SMA记忆弹簧,使其快速触发预设回复形变,产生可控驱动力推动穿出杆沿限位筒实现滑动,实现防浪墙高度的动态调节,可灵活适配不同浪高、潮汐等复杂水文场景,彻底解决传统固定高度防浪墙防护盲区问题,同步气囊通过缓冲吸能原理,将浪涌冲击力衰减,显著提升结构抗冲击与抗疲劳性能;既降低了人工调节成本与运维难度,又提升了极端环境下的防护可靠性。

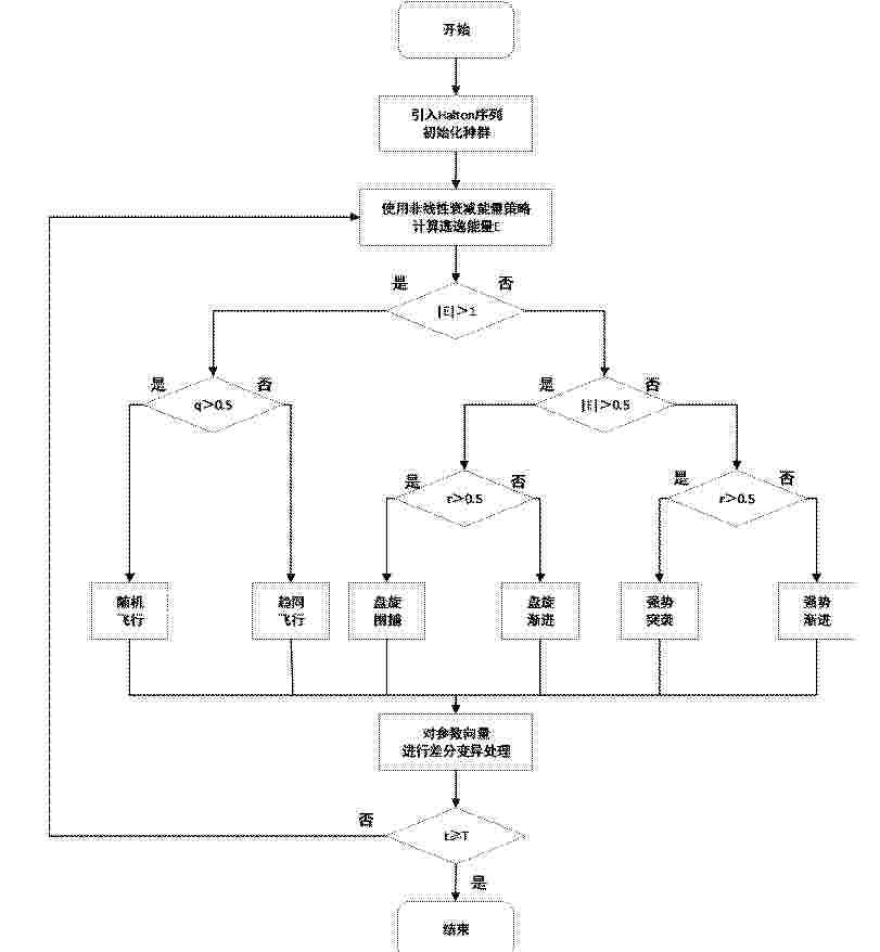
一种阶跃式磁力丝杠发电装置及其参数的优化选取方法

NºPublicación:  CN121875882A 17/04/2026
Solicitante: 
南京工程学院
CN_121875882_PA

Resumen de: CN121875882A

本发明公开了一种阶跃式磁力丝杠发电装置及其参数的优化选取方法,所述装置包括由内至外依次同轴设置的V型内嵌阶跃动子、螺旋动子阻尼调制环和阶跃定子,能够将波浪低速往复运动高效转换为电能。参数优化方法包括:设置待优化参数并利用Halton序列生成初始种群;通过有限元仿真提取性能指标并计算适应度;基于非线性逃逸能量模型选择哈里斯鹰算法的探索或开发模式更新参数;引入差分变异增强搜索能力,迭代优化直至获得最优参数组合。本发明实现了多参数协同自动优化,显著提升了发电装置的气隙磁密、推力平稳性与输出效率,克服了传统试错法设计周期长、易陷入局部最优的缺陷。

潮汐能双向驱动的海水提铀装置

NºPublicación:  CN121872484A 17/04/2026
Solicitante: 
核工业北京化工冶金研究院
CN_121872484_PA

Resumen de: CN121872484A

本申请公开了一种潮汐能双向驱动的海水提铀装置,属于海水提铀技术领域,主要目的是利用潮汐涨落的自然势能实现海水的流动驱动,降低装置运行过程中的能源消耗和运营成本。本申请的主要技术方案为:该装置包括装置主体、吸附主管和多个吸附支管;装置主体设置于目标海域,装置主体的内部形成有暂存池,暂存池用于暂存涨潮过程中引入的海水或落潮过程中引入的海水;吸附主管与开设于装置主体上的过水口连通,过水口处设有用于控制过水口通断的闸门,过水口用于使吸附主管与外部海水实现双向导通;各吸附支管的两端分别与吸附主管和暂存池连通,且每个吸附支管内均设有吸附模块,吸附模块包括用于吸附海水中铀元素的吸附材料。

一种基于波浪能的自供能无人船

NºPublicación:  CN121875883A 17/04/2026
Solicitante: 
中国船舶集团有限公司第七二三研究所
CN_121875883_PA

Resumen de: CN121875883A

本发明提出了一种基于波浪能的自供能无人船,包括:船体,设置于船体内部的十字水道,设置于十字水道的四个末端处的蓄水仓,设置于蓄水仓外侧的抽水装置,设置于十字水道交叉处的发电装置,以及设置于船体的储能装置,所述储能装置用于存储发电装置产生的电能。本发明提供一种布置有十字水道的波浪能发电系统,能够使水道在船体纵摇、横摇或者以任意角度摇摆的情况下至少有两端的蓄水仓产生水位差,最大化利用波浪能,实现复杂海况环境下的发电。

一种海洋潮汐能高效利用的泵水装备

NºPublicación:  CN121875927A 17/04/2026
Solicitante: 
厦门城市职业学院(厦门开放大学)
CN_121875927_PA

Resumen de: CN121875927A

本发明公开了一种海洋潮汐能高效利用的泵水装备,属于海洋工程技术领域。该装备包括固定于海底地基的导柱、滑动套设于导柱上的中浮筒、以及分别连接于中浮筒顶部和底部的上伸缩缸与下伸缩缸。中浮筒底部设有带阀门的进排水孔,顶部设有排气孔;上、下伸缩缸均设有带单向阀的进水孔和上水管。本装备里中浮筒可随潮汐涨落沿导柱滑动,中浮筒的上、下运动分别驱动上、下伸缩缸交替泵水;通过此结构,使得涨潮与退潮两个行程均能驱动伸缩缸进而完成泵水作业,实现了对潮汐能的双向利用,显著提高了泵水效率和潮汐能利用率。

GYROSTABILISER WITH ACTIVE PRECESSION CONTROL AND ENERGY RECUPERATION SYSTEM

NºPublicación:  US20260103268A1 16/04/2026
Solicitante: 
VEEM LTD [AU]
US_20260103268_A1

Resumen de: US20260103268A1

The disclosure relates to a system for precession control and/or energy recuperation in a gyrostabiliser, the system comprising: a gyrostabiliser having a flywheel mounted for rotation about a spin axis in a gimbal frame that is configured to be mounted in a vessel to be stabilised, wherein the gimble frame includes a precession shaft on which the gyrostabiliser rotates about an axis as the gyrostabiliser operates to stabilise the vessel; and an energy conversion arrangement operatively coupled to the precession shaft for converting the rotational movement of the precession shaft to electrical energy. The energy conversion arrangement is configured or adapted for operation in an energy generation mode when a precession rate of the gyrostabiliser is relatively high; e.g., in large wave conditions. The energy conversion arrangement is preferably configured for operation in one of two modes, including: (i) an energy generation mode for generating electrical energy from rotational movement of the precession shaft, and (ii) a braking mode for applying a braking force to the rotational movement of the precession shaft.

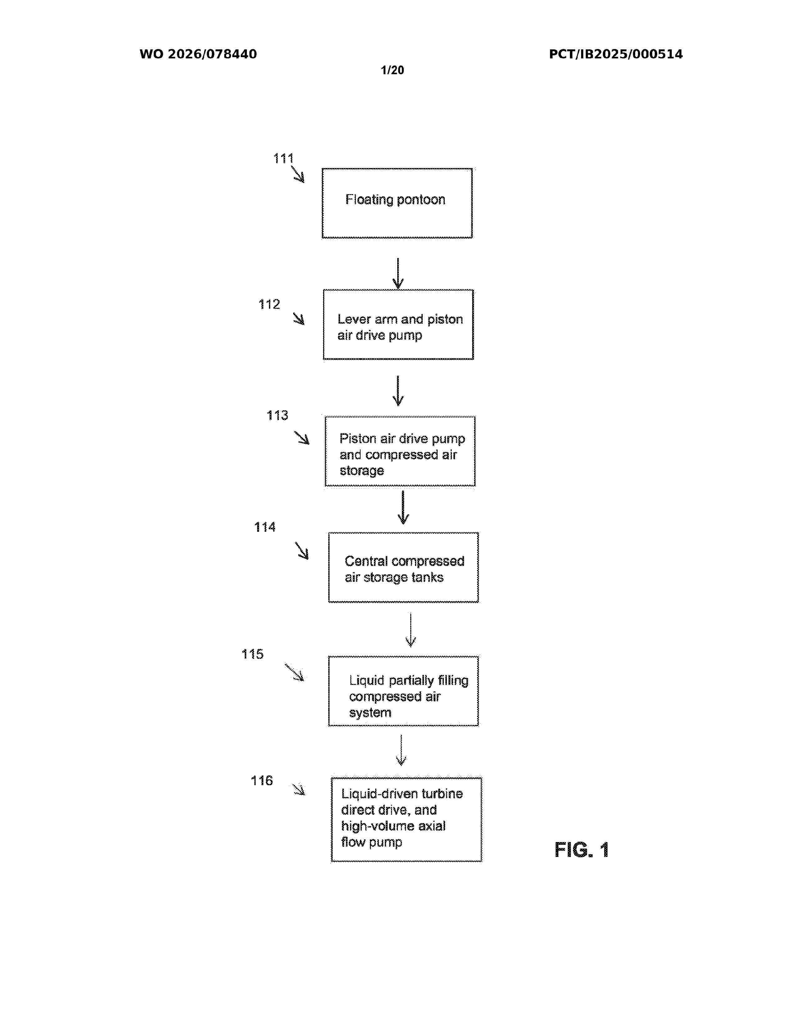
SYSTEM AND METHODS FOR OCEANIC AND ATMOSPHERIC CARBON DIOXIDE AND CLIMATE MANAGEMENT, ALGAL FOSTERING, AND INITIATION AND MAINTENANCE OF FISHERIES BY DEEPER NUTRIENT RICH WATER PUMPING

NºPublicación:  WO2026078440A2 16/04/2026
Solicitante: 
ORRIDGE ST JEAN [GB]
WO_2026078440_A2

Resumen de: WO2026078440A2

Provided herein are systems and methods for energy capture, energy storage, and stored energy translation to mechanical work, having: piston drive pump cylinder tube for housing a first volume of liquid, and a piston drive pump; wherein the piston drive pump is configured for motion; an energy storage tank for storage of a first volume of air and a second volume of liquid wherein the first volume of air is compressed air; a recovery tank for housing a second volume of air and a third volume of liquid; a liquid driven turbine connected to the energy storage tank and in communication with the second volume of liquid of the energy storage tank; a plurality of unidirectional liquid tubes and air tubes for connecting the piston drive cylinder tube, the energy storage tank, and the recovery tank; an impeller associated with the turbine; and a subsystem for energy generation.

WAVE ENERGY CONVERSION APPARATUS AND METHODS OF USE THEREOF

NºPublicación:  AU2024342075A1 16/04/2026
Solicitante: 
D SPAR TECH PTY LTD
AU_2024342075_PA

Resumen de: AU2024342075A1

Embodiment of a wave energy conversion (WEC) apparatus are disclosed. In one embodiment, a WEC apparatus (10) comprises an outer member (14) and an inner member (16). At least one of the outer member (14) and inner member (16) is configured to move in response to an incident wave regime. In use, relative motion between the outer member (14) and the inner member (16) is used to generate electrical power.

A SYSTEM FOR GENERATING ELECTRICAL POWER BY MAXIMIZING THE POTENTIAL OF TIDAL MOVEMENT THROUGH A COASTAL DAM AND A VARIABLE HEIGHT TURBINE

NºPublicación:  WO2026079995A1 16/04/2026
Solicitante: 
ALABDULLAH MOHAMMED [SA]
WO_2026079995_A1

Resumen de: WO2026079995A1

This invention relates to a system for generating clean electrical energy by maximizing the utilization of seawater flow during tidal movements. The system comprises a C-shaped coastal marine dam open towards the shoreline, consisting of four walls (1, 2, 3, and 4). A fixed base (5) is installed between the two walls (2 and 3) farthest from the shore and includes two lateral sides, forming a narrow water passage (gate) (6) between them. The dam encloses a large area adjacent to the shore, preventing seawater from entering during high tide except through the narrow passage, thereby creating a highly concentrated water flow that can be harnessed for electricity generation. The system also includes two movable bases (13) mounted on the lateral sides of the fixed base, capable of moving vertically in response to the changing water levels during tides In order to move the giant turbine(14) in a vertical motion.. Each movable base(13) is connected to air tanks (13-2) positioned beneath the fixed base. A large circular turbine (14) is mounted on a shaft (15) supported by the two movable bases. Two large pulleys (17) are attached to both ends of the turbine shaft, transmitting rotational motion to gearboxes (19), which in turn drive electrical generators (21). During tidal movement, seawater flows exclusively through the gate (6), striking the turbine blades and causing the turbine (14) to rotate with high torque. This rotational energy is transmitted via the pulleys and gearboxes to

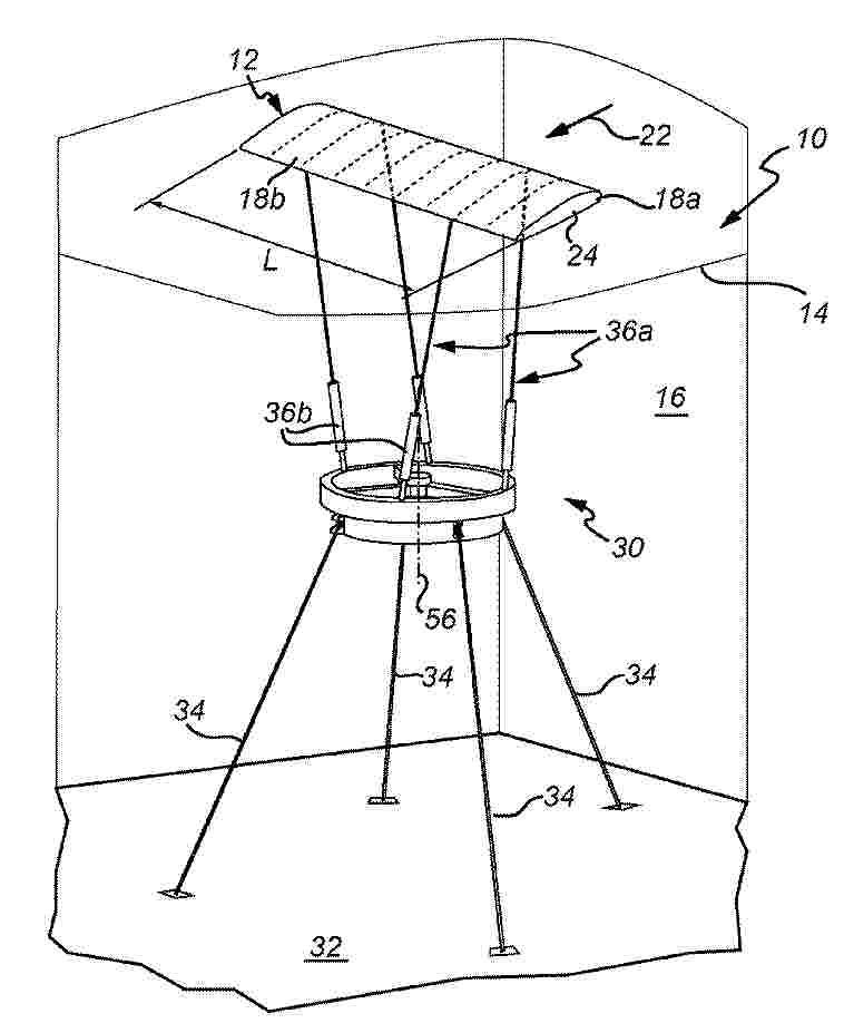
WAVE ENERGY CONVERTER

NºPublicación:  EP4724698A1 15/04/2026
Solicitante: 
OE SYSTEMS AB [SE]
CN_121311674_PA

Resumen de: CN121311674A

The invention relates to a wave energy converter (10) comprising: a buoyancy wave collector (12) adapted to float in a water surface (14) of water (16) wherein the wave collector (12) has a leading edge (18a) and a trailing edge (18b); a platform (30) adapted to be submerged and positioned below the wave collector wherein the wave collector is adapted to move relative to the platform; an extendable and retractable front attachment (36a), the extendable and retractable front attachment connecting a leading portion of the wave collector to the platform; and an extendable and retractable rear attachment (36b) connecting a trailing portion of the wave collector to the platform wherein, in at least one configuration, the extendable and retractable front attachment and the extendable and retractable rear attachment are configured to control the wave collector, and wherein, in at least one configuration, the extendable and retractable front attachment and the extendable and retractable rear attachment are configured to control the wave collector. The wave collector (12) is arranged such that when the wave collector encounters an incoming wave, the angle of attack (alpha) of the wave collector towards the incoming wave (20) increases such that the wave collector (12) moves with the wave (20) in order to absorb the horizontal and vertical energy of the wave (20).

一种波浪能发电装置及波浪能发电方法

NºPublicación:  CN121854300A 14/04/2026
Solicitante: 
中国船舶集团有限公司第七○八研究所
CN_121854300_PA

Resumen de: CN121854300A

本发明属于波浪能发电技术领域,公开了一种波浪能发电装置及波浪能发电方法。该波浪能发电装置包括浮子、发电机构和浮潜机构,浮子内部具有同轴设置且相互独立的发电舱和压载舱,浮子用于在波浪的作用下做振荡运动和/或摇摆运动;发电机构包括缆绳、传动组件、发电组件和储电组件,传动组件、发电组件和储电组件均设置于浮子的发电舱,传动组件和发电组件的输入端传动连接,发电组件的输出端用于将电能传输至储电组件,缆绳的一端用于固定连接于海底的锚固结构上,缆绳的另一端传动连接于传动组件;浮潜机构设置于浮子的压载舱中,浮潜机构用于调节浮子的浮潜深度。该波浪能发电装置及波浪能发电方法捕能效率高的同时,能够实现隐秘供电。

一种遥控布放的可机动定位观测浮标

NºPublicación:  CN121849297A 14/04/2026
Solicitante: 
中山大学中交水运规划设计院有限公司南方海洋科学与工程广东省实验室(珠海)
CN_121849297_PA

Resumen de: CN121849297A

本发明公开了一种遥控布放的可机动定位观测浮标,包括浮标主体、推进及辅助动力定位发电系统和锚泊及波浪能发电系统,所述浮标主体包括舱体、观测平台、通信模块、太阳能发电装置、惯性测量单元以及主控计算单元,所述推进及辅助动力定位发电系统,包括中空支脚、支架、螺旋桨、电机、传动轴、导流罩和电缆,所述锚泊及波浪能发电系统,包括锚机系统和锚泊装置;所述舱体内部设有多层安装空间,下部具有抛锚口,所述抛锚口具有开合装置,所述观测平台的顶部设有通信天线、观测平台载荷和GNSS定位系统,所述太阳能发电装置包括光伏板和蓄电池。本发明显著提升了浮标的自主性、观测效率与人员作业安全性。

一种自适应潮汐能发电装置

NºPublicación:  CN121854303A 14/04/2026
Solicitante: 
湖北潮汐能科技服务有限公司
CN_121854303_PA

Resumen de: CN121854303A

本发明属于发动机技术领域,具体的说是一种自适应潮汐能发电装置,包括机体、发电机和传动结构,发电机安装在机体上,机体上转动安装有支臂,支臂上转动安装有漂浮板,传动结构包括:一号转轴、二号转轴和三号转轴,一号转轴和支臂固定连接;安装在发电机上的四号转轴;一号单向轴承和二号单向轴承;安装在一号转轴上的第一齿轮;第二齿轮,第一齿轮和第二齿轮之间安装有第一齿带;第三齿轮和第四齿轮,第三齿轮与第一齿带啮合第五齿轮和第六齿轮,五齿轮与第四齿轮啮合;第七齿轮,第七齿轮和第六齿轮之间设置有第二齿带;通过传动结构的设置,使该装置在潮涨潮退的过程中均驱动蓄能发电机进行运转发电,提高发电效果,降低潮汐能源的浪费。

一种可利用波浪能增电的智能浮漂

NºPublicación:  CN121849293A 14/04/2026
Solicitante: 
山东众志军创电子科技有限公司
CN_121849293_PA

Resumen de: CN121849293A

本发明公开一种可利用波浪能增电的智能浮漂,属于海洋监测设备技术领域,包括浮体、第一盖板和浮力件,浮体和第一盖板通过螺栓固定连接,且两者为圆柱体结构,浮力件固定在浮体的外壁,浮体内设置有四个凸棱,四个凸棱将浮体的内腔分割为四个安装腔,凸棱内设置有贯穿浮体底部和侧面的通槽,所述通槽内设置有摆动杆,摆动杆的中部转动设置有转轴,本发明利用波浪的起伏带动浮球上下运动,使得摆动杆绕转轴往返摆动一定的角度,以使传动轴在驱动杆和传动组件的作用下带动线圈正反转动而切割磁感线,从而产生感应电流,并经过整流电路整流之后对蓄电池进行充电,如此达到增电功能以延长浮漂的续航时间。

一种用于浮式OWC波能装置的对转冲击式透平及其发电方法

NºPublicación:  CN121854302A 14/04/2026
Solicitante: 
浙江大学
CN_121854302_PA

Resumen de: CN121854302A

本发明公开一种用于浮式OWC波能装置的对转冲击式透平及其发电方法,包括气体过流管道、一体化的对转冲击式透平和发电设备和浮标主体;对转冲击式透平和发电设备包括从上到下安装在中心轴上的第一静子、第一转子、静止过渡段、第二转子和第二静子;第一转子和第二转子分别与中心轴转动连接并在往复气流作用下保持旋转方向不变且相互反向旋转;第一转子和第二转子分别配置永磁体并与对应定子绕组形成发电单元,实现双转子独立发电。透平与浮标主体连通,波浪引起浮标主体的气室内空气形成进气与排气的往复气流,驱动对转冲击式透平运行。本发明无需传动部件和其他冗余系统,结构紧凑,且能实现对往复气流的连续、高效能量捕获。

一种波浪发电装置

NºPublicación:  CN121854301A 14/04/2026
Solicitante: 
苏州宝嘉新能源科技有限公司
CN_121854301_PA

Resumen de: CN121854301A

本发明提供了一种波浪发电装置,涉及能源技术领域。该波浪发电装置,包括:箱体、底座、传动组件、弹性件和驱动组件。箱体与设置在水面上的浮体连接。底座设置在箱体内。传动组件安装在箱体内,其安装后位于底座的相对两侧,传动组件的从动轴与发电机连接。弹性件的一端与箱体连接,另一端与传动组件的驱动轴连接。驱动组件转动安装在底座上,当驱动组件安装后与传动组件相接触,驱动组件在波浪的作用下带动传动组件运动。当驱动组件带动其中一传动组件转动时,另一传动组件失去平衡载荷,并在弹性件的作用下带动另一传动组件与该传动组件同向转动。本发明利用波浪的涌动,且能将其从各个方向上收集动能,并将动能转化为电能,提高发电效率。

Drijfbaar lichaam en werkwijze voor het opwekken van elektrische energie

NºPublicación:  BE1032928A1 14/04/2026
Solicitante: 
R B ENERGY INNOVATIONS BV [BE]
BE_1032928_A1

Resumen de: BE1032928A1

In een eerste aspect betreft de uitvinding een systeem voor het genereren van elektrische energie via een drijfbaar lichaam met een boven- en onderkant, waartussen kanalen zich bevinden die uitmonden in openingen aan de onderkant. Deze kanalen zijn via een hydraulische motor en/of pneumatische operationeel verbonden met een generator. In een tweede aspect betreft de uitvinding een werkwijze omvattend de stappen van het in het water laten van een drijfbaar lichaam met een onderkant en een bovenkant; het laten vloeien van water in een kanaal dat zich binnenin het drijfbare lichaam bevindt en uitmondt in een opening in de onderkant; het laten werken van een hydraulische motor met het water dat in het kanaal vloeit, en de mechanische energie van de hydraulische motor omzetten in elektrische energie met behulp van een generator.

一种基于风潮复合能的景观汀步自供能模块结构

NºPublicación:  CN121854326A 14/04/2026
Solicitante: 
广东海洋大学
CN_121854326_PA

Resumen de: CN121854326A

本申请涉及景观生态能源装置技术领域,具体为一种基于风潮复合能的景观汀步自供能模块结构,包括浮力底座、数量为两个的传动主轴、安装于两个传动主轴上的汀步面板、风轮以及潮汐涡轮所组成的供能模块机构,所述浮力底座内设置有隔板,且隔板将浮力底座内部分隔成上腔室和下腔室,其中,上腔室及浮力底座上设置有水质改善模块,风轮和潮汐涡轮分别驱动独立发电机且电气并联,使得风能和潮汐能发电模块相互独立,当其中一个能源供应出现问题,如风力不足或潮汐变化导致潮汐涡轮转速不稳定时,另一个模块仍能正常工作,保证了整体发电系统的稳定性和可靠性,提高了能源供应的持续性,同时利用富余的机械动能对水体生态环境产生主动改善和检测。

一种浮子式介电弹性体波浪能发电装置

NºPublicación:  CN121828070A 10/04/2026
Solicitante: 
西安交通大学
CN_121828070_PA

Resumen de: CN121828070A

本发明属于可再生能源技术领域,涉及一种浮子式介电弹性体波浪能发电装置,包括一端固定的固定桩,外壳体套装在固定桩的另一端;浮动体与外壳体固定连接,浮动体套装在固定桩上;多组能量转化装置,均布设置在所述固定桩端部和外壳体之间,每组能量转化装置包括位移放大机构和介电弹性体发电机,位移放大机构用于将所述浮动体的垂荡位移进行放大,介电弹性体发电机用于将所述位移放大机构输出的机械能转化为电能。本发明能够高效地将波浪的上下起伏运动转换为介电弹性体发电机本体的周期性大变形,实现机械能到电能的转化,结构简单新颖、功率大、稳定性强,能实现波浪能的高效、稳定转换。

一种可调节式船尾伴流能量回收发电装置

NºPublicación:  CN121828072A 10/04/2026
Solicitante: 
威海芜船船舶制造有限公司
CN_121828072_PA

Resumen de: EP4191759A1

A secondary battery (100; 101; 102; 103) includes: a power generation element (10; 310); and an exterior part (20; 320) that houses the power generation element (10; 310) in the exterior part. The exterior part (20; 320) includes a cylindrical section (21; 121; 221; 321) that includes opening portions (21a; 3221; 325a) on two opposing sides, cover terminals (22; 222; 322) that are disposed in the respective opening portions (21a; 3221; 325a), and resins (23; 323) respectively disposed between the cylindrical section (21; 121; 221; 321) and the cover terminals (22; 222; 322). The cylindrical section (21; 121; 221; 321) and the cover terminals (22; 222; 322) are respectively integrated with the resins (23; 323). Power collectors (11; 311) of the power generation element (10; 310) are electrically connected with the cover terminals (22; 222; 322), respectively.

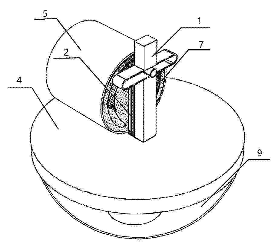
基于双层柔性叶片水轮机的自平衡水下供能平台

NºPublicación:  CN121828068A 10/04/2026
Solicitante: 
陕西卫澜深海信息科技有限公司
CN_121828068_PA

Resumen de: EP4191759A1

A secondary battery (100; 101; 102; 103) includes: a power generation element (10; 310); and an exterior part (20; 320) that houses the power generation element (10; 310) in the exterior part. The exterior part (20; 320) includes a cylindrical section (21; 121; 221; 321) that includes opening portions (21a; 3221; 325a) on two opposing sides, cover terminals (22; 222; 322) that are disposed in the respective opening portions (21a; 3221; 325a), and resins (23; 323) respectively disposed between the cylindrical section (21; 121; 221; 321) and the cover terminals (22; 222; 322). The cylindrical section (21; 121; 221; 321) and the cover terminals (22; 222; 322) are respectively integrated with the resins (23; 323). Power collectors (11; 311) of the power generation element (10; 310) are electrically connected with the cover terminals (22; 222; 322), respectively.

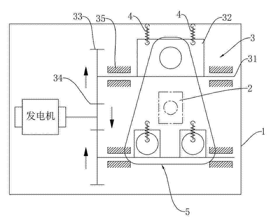
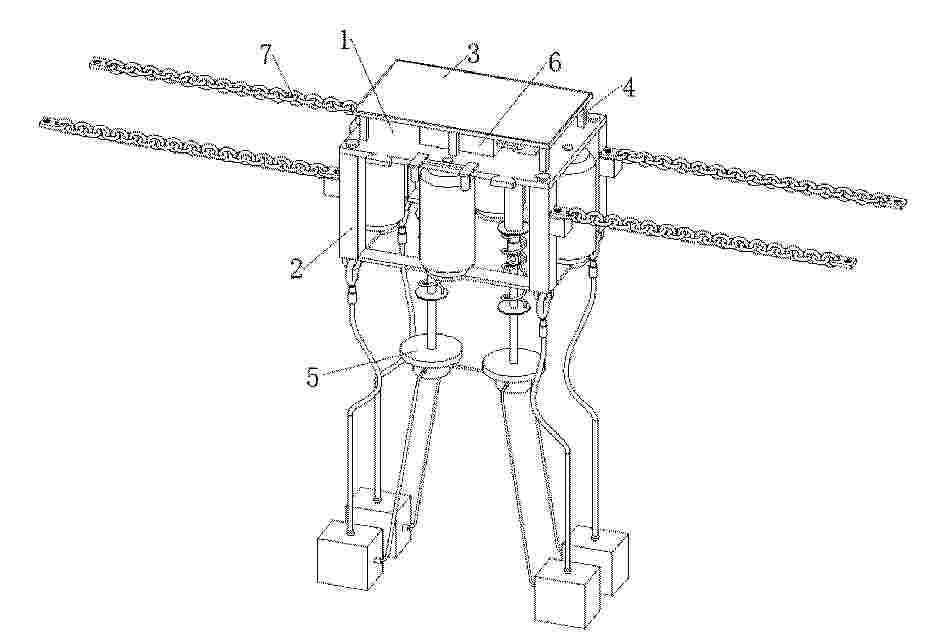
一种用于海洋工程装备的发电装置

NºPublicación:  CN121828071A 10/04/2026
Solicitante: 
唐山海运职业学院有限公司
CN_121828071_PA

Resumen de: CN121828071A

本发明提供一种用于海洋工程装备的发电装置,包括下固定基座,且下固定基座埋入海底的海床中,下固定基座上固定有钢筋混凝土立柱,钢筋混凝土立柱的两端均一体连接有水平支撑横杆,水平支撑横杆的另一端均一体连接有安装连接板,安装连接板上均固定安装有连接支撑架,且连接支撑架上固定安装有潜水式发电组件,钢筋混凝土立柱的顶部安装有环形冲击发电组件,环形冲击发电组件的顶部安装有储能机构,储能机构的顶部安装有稳流组合式风力发电机构。本发明具有如下的有益效果,本发明能够利用海水流动以及冲击产生的能量,将其转换为电能,且在风浪较大时能够有效的降低海水对其产生的冲击,组合式的风力发电能够提高风能利用率,且大风天气下具有稳流的效果。

一种波浪能发电的无人潜航器水下充电站

Nº publicación: CN121822748A 10/04/2026

Solicitante:

三峡大学

CN_121822748_PA

Resumen de: CN121822748A

本发明提供了一种波浪能发电的无人潜航器水下充电站,水下充电站通过采用布置在远海的漂浮式平台作为整个装置的基础,通过浮子的垂直运动俘获波浪能量并传递到固定在浮子底部的齿条上,进而通过机械式发电系统;通过齿轮齿条传动机构以及变速换向机构,将浮子的垂直运动机械能转换为高速旋转机械能,再通过永磁同步发电机将高速旋转机械能转换为电能并通过电能变换装置储存到蓄电池中,再传输到安装在漂浮式平台的正下方的充电坞站,充电坞站内部通过液压升降系统的作用,实现了发射端垂直距离的收放,并通过固定装置捕获无人潜航器,对其实现定位和夹紧,最后通过水下无线充电系统将蓄电池中储存的电能传输给需要进行补充电能的无人潜航器。

traducir