Ministerio de Industria, Turismo y Comercio LogoMinisterior
 

Alerta

Resultados 463 resultados
LastUpdate Última actualización 25/04/2026 [07:54:00]
pdfxls
Solicitudes publicadas en los últimos 15 días / Applications published in the last 15 days
previousPage Resultados 375 a 400 de 463 nextPage  

一种用于海洋工程装备的发电装置

NºPublicación:  CN121828071A 10/04/2026
Solicitante: 
唐山海运职业学院有限公司
CN_121828071_PA

Resumen de: EP1000000A1

The invention relates to an apparatus (1) for manufacturing green bricks from clay for the brick manufacturing industry, comprising a circulating conveyor (3) carrying mould containers combined to mould container parts (4), a reservoir (5) for clay arranged above the mould containers, means for carrying clay out of the reservoir (5) into the mould containers, means (9) for pressing and trimming clay in the mould containers, means (11) for supplying and placing take-off plates for the green bricks (13) and means for discharging green bricks released from the mould containers, characterized in that the apparatus further comprises means (22) for moving the mould container parts (4) filled with green bricks such that a protruding edge is formed on at least one side of the green bricks.

一种轻量化高强度风力发电法兰及其制造方法

NºPublicación:  CN121828118A 10/04/2026
Solicitante: 
马鞍山市广源法兰环件有限公司
CN_121828118_PA

Resumen de: EP1000000A1

The invention relates to an apparatus (1) for manufacturing green bricks from clay for the brick manufacturing industry, comprising a circulating conveyor (3) carrying mould containers combined to mould container parts (4), a reservoir (5) for clay arranged above the mould containers, means for carrying clay out of the reservoir (5) into the mould containers, means (9) for pressing and trimming clay in the mould containers, means (11) for supplying and placing take-off plates for the green bricks (13) and means for discharging green bricks released from the mould containers, characterized in that the apparatus further comprises means (22) for moving the mould container parts (4) filled with green bricks such that a protruding edge is formed on at least one side of the green bricks.

一种双向自动换向流体发电装置

NºPublicación:  CN121828079A 10/04/2026
Solicitante: 
尹子淇
CN_121828079_PA

Resumen de: EP1000000A1

The invention relates to an apparatus (1) for manufacturing green bricks from clay for the brick manufacturing industry, comprising a circulating conveyor (3) carrying mould containers combined to mould container parts (4), a reservoir (5) for clay arranged above the mould containers, means for carrying clay out of the reservoir (5) into the mould containers, means (9) for pressing and trimming clay in the mould containers, means (11) for supplying and placing take-off plates for the green bricks (13) and means for discharging green bricks released from the mould containers, characterized in that the apparatus further comprises means (22) for moving the mould container parts (4) filled with green bricks such that a protruding edge is formed on at least one side of the green bricks.

电能制氢及氢能发电的联合装置

NºPublicación:  CN121839949A 10/04/2026
Solicitante: 
内蒙古润泰汇能新能源科技有限责任公司
CN_121839949_PA

Resumen de: EP1000000A1

The invention relates to an apparatus (1) for manufacturing green bricks from clay for the brick manufacturing industry, comprising a circulating conveyor (3) carrying mould containers combined to mould container parts (4), a reservoir (5) for clay arranged above the mould containers, means for carrying clay out of the reservoir (5) into the mould containers, means (9) for pressing and trimming clay in the mould containers, means (11) for supplying and placing take-off plates for the green bricks (13) and means for discharging green bricks released from the mould containers, characterized in that the apparatus further comprises means (22) for moving the mould container parts (4) filled with green bricks such that a protruding edge is formed on at least one side of the green bricks.

基于环境参数的自适应发电机组动态冷却控制方法、装置、设备及存储介质

NºPublicación:  CN121828122A 10/04/2026
Solicitante: 
华能新能源股份有限公司蒙西分公司
CN_121828122_PA

Resumen de: EP1000000A1

The invention relates to an apparatus (1) for manufacturing green bricks from clay for the brick manufacturing industry, comprising a circulating conveyor (3) carrying mould containers combined to mould container parts (4), a reservoir (5) for clay arranged above the mould containers, means for carrying clay out of the reservoir (5) into the mould containers, means (9) for pressing and trimming clay in the mould containers, means (11) for supplying and placing take-off plates for the green bricks (13) and means for discharging green bricks released from the mould containers, characterized in that the apparatus further comprises means (22) for moving the mould container parts (4) filled with green bricks such that a protruding edge is formed on at least one side of the green bricks.

一种钢管桁架的装配结构及装配式连接方法

NºPublicación:  CN121827616A 10/04/2026
Solicitante: 
长江精工(上海)建筑科技有限公司长江精工(河北)建筑科技有限公司长江精工(北京)建筑科技有限公司
CN_121827616_PA

Resumen de: EP1000000A1

The invention relates to an apparatus (1) for manufacturing green bricks from clay for the brick manufacturing industry, comprising a circulating conveyor (3) carrying mould containers combined to mould container parts (4), a reservoir (5) for clay arranged above the mould containers, means for carrying clay out of the reservoir (5) into the mould containers, means (9) for pressing and trimming clay in the mould containers, means (11) for supplying and placing take-off plates for the green bricks (13) and means for discharging green bricks released from the mould containers, characterized in that the apparatus further comprises means (22) for moving the mould container parts (4) filled with green bricks such that a protruding edge is formed on at least one side of the green bricks.

一种浮动多机组合风力发电机

NºPublicación:  CN121828093A 10/04/2026
Solicitante: 
上海久能能源科技发展有限公司
CN_121828093_PA

Resumen de: EP1000000A1

The invention relates to an apparatus (1) for manufacturing green bricks from clay for the brick manufacturing industry, comprising a circulating conveyor (3) carrying mould containers combined to mould container parts (4), a reservoir (5) for clay arranged above the mould containers, means for carrying clay out of the reservoir (5) into the mould containers, means (9) for pressing and trimming clay in the mould containers, means (11) for supplying and placing take-off plates for the green bricks (13) and means for discharging green bricks released from the mould containers, characterized in that the apparatus further comprises means (22) for moving the mould container parts (4) filled with green bricks such that a protruding edge is formed on at least one side of the green bricks.

海上风电机组受力不平衡监测方法、装置及电子设备

NºPublicación:  CN121828111A 10/04/2026
Solicitante: 
中国长江三峡集团有限公司
CN_121828111_PA

Resumen de: EP1000000A1

The invention relates to an apparatus (1) for manufacturing green bricks from clay for the brick manufacturing industry, comprising a circulating conveyor (3) carrying mould containers combined to mould container parts (4), a reservoir (5) for clay arranged above the mould containers, means for carrying clay out of the reservoir (5) into the mould containers, means (9) for pressing and trimming clay in the mould containers, means (11) for supplying and placing take-off plates for the green bricks (13) and means for discharging green bricks released from the mould containers, characterized in that the apparatus further comprises means (22) for moving the mould container parts (4) filled with green bricks such that a protruding edge is formed on at least one side of the green bricks.

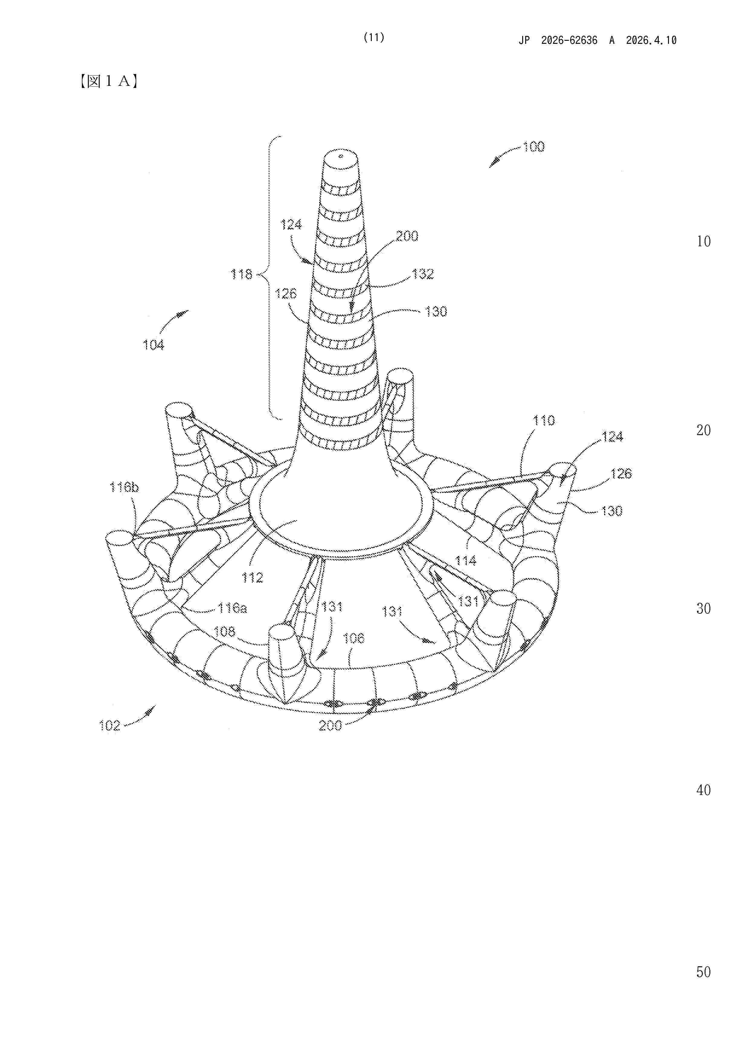
新セメント系複合材製の浮きプラットホーム及び製造方法

NºPublicación:  JP2026062636A 10/04/2026
Solicitante: 
テキサスウィンドタワーカンパニー
JP_2026062636_A

Resumen de: US11807346B2

Semi-submersible wind turbine platforms capable of floating on a body of water and supporting wind turbines, and a method of manufacturing the semi-submersible wind turbine platforms from advanced cementitious composite material are provided. The method includes determining at a first iteration topological outputs of the wind turbine platform including a plurality of modular sections consisting of an advanced cementitious composite (ACC) material, obtaining a second iteration from the topological outputs, the second iteration including a second model platform and a second model tower of the wind turbine platform, and obtaining addition iterations via simulation to attain a final model platform and a final model tower, the final model platform and the final model tower including a layout of the plurality of modular sections and connections for a platform and a tower of the wind turbine platform.

新型可変遊星キャリアシステム及びそれを備えた遊星式伝動装置

NºPublicación:  JP2026511263A 10/04/2026
Solicitante: 
愛磁精密(深▲セン▼)有限公司
JP_2026511263_A

Resumen de: CN116292857A

The invention discloses a novel displacement planet carrier system and a planet transmission device thereof. The novel displacement planet carrier system is composed of an elastic planet carrier, a wedge-in sliding block and a wedge-in amount adjusting mechanism. The section of the wedging sliding block is gradually reduced in the wedging direction, the side face of the wedging sliding block makes contact with the elastic planet carrier, and one end face of the wedging sliding block makes contact with a wedging amount adjusting mechanism. The elastic planet carrier is provided with a plurality of staggered notches, each staggered notch is provided with a wedge slot for embedding the wedging slide block, and the wedging amount adjusting mechanism is an adjusting bolt/nut or an elastic element which is arranged on the elastic planet carrier or the wedging slide block and is used for applying wedging force to the wedging slide block. According to the planetary transmission device, the circumference of the planet carrier is expanded by wedging the sliding block for wedging, the revolution radius of the planetary gear is increased, the planetary gear is made to be close to the inner gear ring, the backlash between the planetary gear and the inner gear ring is compressed, and the backlash of planetary transmission is reduced.

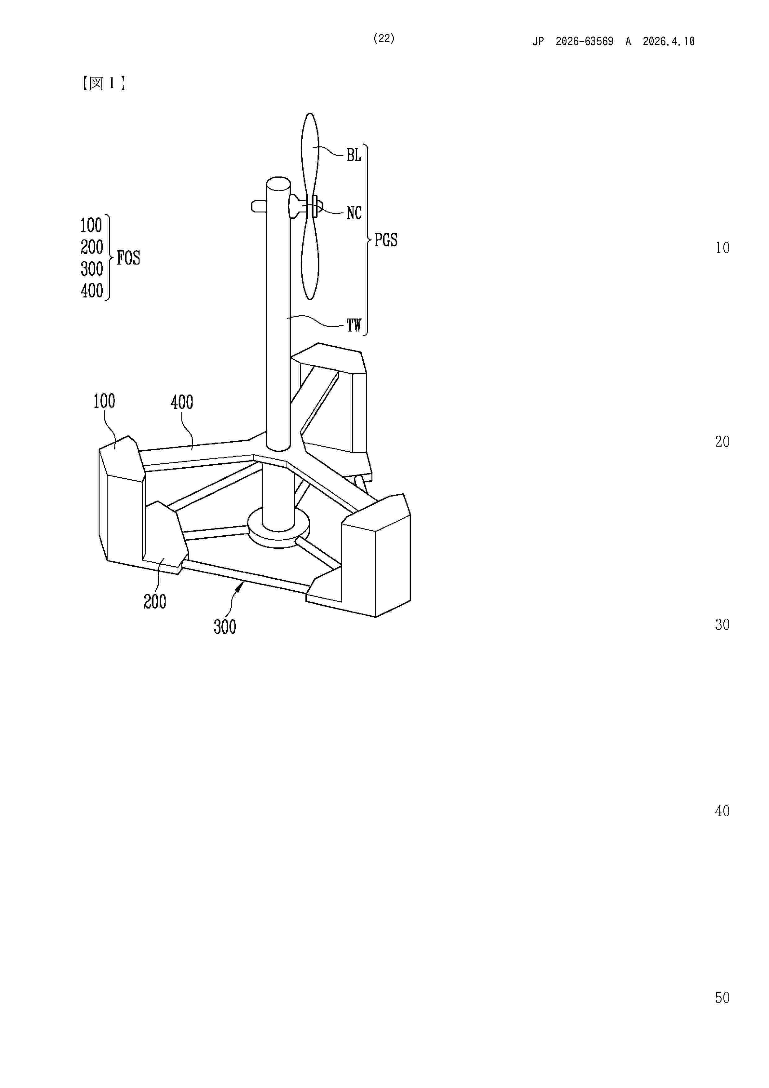
浮遊式海洋構造物及びそれを備える浮遊式海洋発電装置

NºPublicación:  JP2026063569A 10/04/2026
Solicitante: 
エイチディーヒュンダイヘビーインダストリーズカンパニーリミテッド
JP_2026063569_A

Resumen de: WO2022092820A1

A floating offshore structure of the present invention comprises: a plurality of columns; and a plurality of pontoons provided at the lower end of each of the columns, wherein a polygonal shape is formed by means of an imaginary line connecting the columns, the pontoons are provided within the polygonal shape, a cross sectional area of the pontoons in the direction parallel to the sea surface is greater than or equal to a cross sectional area of the columns in the direction parallel to the sea surface, and the pontoons can have a shape that protrudes toward the outer sides of the lower ends of the columns.

一种煤矿用安全通风系统和通风方法

NºPublicación:  CN121827880A 10/04/2026
Solicitante: 
夏万里
CN_121827880_PA

Resumen de: EP1000000A1

The invention relates to an apparatus (1) for manufacturing green bricks from clay for the brick manufacturing industry, comprising a circulating conveyor (3) carrying mould containers combined to mould container parts (4), a reservoir (5) for clay arranged above the mould containers, means for carrying clay out of the reservoir (5) into the mould containers, means (9) for pressing and trimming clay in the mould containers, means (11) for supplying and placing take-off plates for the green bricks (13) and means for discharging green bricks released from the mould containers, characterized in that the apparatus further comprises means (22) for moving the mould container parts (4) filled with green bricks such that a protruding edge is formed on at least one side of the green bricks.

一种垂直轴风力机最小倾覆力控制方法

NºPublicación:  CN121828090A 10/04/2026
Solicitante: 
中国人民解放军海军工程大学
CN_121828090_PA

Resumen de: EP1000000A1

The invention relates to an apparatus (1) for manufacturing green bricks from clay for the brick manufacturing industry, comprising a circulating conveyor (3) carrying mould containers combined to mould container parts (4), a reservoir (5) for clay arranged above the mould containers, means for carrying clay out of the reservoir (5) into the mould containers, means (9) for pressing and trimming clay in the mould containers, means (11) for supplying and placing take-off plates for the green bricks (13) and means for discharging green bricks released from the mould containers, characterized in that the apparatus further comprises means (22) for moving the mould container parts (4) filled with green bricks such that a protruding edge is formed on at least one side of the green bricks.

一种风力发电机组偏航自检系统与自检方法

NºPublicación:  CN121828107A 10/04/2026
Solicitante: 
东方电气风电股份有限公司
CN_121828107_PA

Resumen de: EP1000000A1

The invention relates to an apparatus (1) for manufacturing green bricks from clay for the brick manufacturing industry, comprising a circulating conveyor (3) carrying mould containers combined to mould container parts (4), a reservoir (5) for clay arranged above the mould containers, means for carrying clay out of the reservoir (5) into the mould containers, means (9) for pressing and trimming clay in the mould containers, means (11) for supplying and placing take-off plates for the green bricks (13) and means for discharging green bricks released from the mould containers, characterized in that the apparatus further comprises means (22) for moving the mould container parts (4) filled with green bricks such that a protruding edge is formed on at least one side of the green bricks.

一种空间全方向调节的做功伞和飞行风能机组装备

NºPublicación:  CN121828082A 10/04/2026
Solicitante: 
清云梯(上海)能源技术有限公司
CN_121828082_PA

Resumen de: EP1000000A1

The invention relates to an apparatus (1) for manufacturing green bricks from clay for the brick manufacturing industry, comprising a circulating conveyor (3) carrying mould containers combined to mould container parts (4), a reservoir (5) for clay arranged above the mould containers, means for carrying clay out of the reservoir (5) into the mould containers, means (9) for pressing and trimming clay in the mould containers, means (11) for supplying and placing take-off plates for the green bricks (13) and means for discharging green bricks released from the mould containers, characterized in that the apparatus further comprises means (22) for moving the mould container parts (4) filled with green bricks such that a protruding edge is formed on at least one side of the green bricks.

一种基于LMSRCT的风电齿轮箱变转速故障诊断方法及介质

NºPublicación:  CN121828112A 10/04/2026
Solicitante: 
华能河南清洁能源有限公司
CN_121828112_PA

Resumen de: EP1000000A1

The invention relates to an apparatus (1) for manufacturing green bricks from clay for the brick manufacturing industry, comprising a circulating conveyor (3) carrying mould containers combined to mould container parts (4), a reservoir (5) for clay arranged above the mould containers, means for carrying clay out of the reservoir (5) into the mould containers, means (9) for pressing and trimming clay in the mould containers, means (11) for supplying and placing take-off plates for the green bricks (13) and means for discharging green bricks released from the mould containers, characterized in that the apparatus further comprises means (22) for moving the mould container parts (4) filled with green bricks such that a protruding edge is formed on at least one side of the green bricks.

一种轻量化高强度结构的大型风力发电机机壳

NºPublicación:  CN121828119A 10/04/2026
Solicitante: 
青岛瑞莱斯机械有限公司
CN_121828119_PA

Resumen de: EP1000000A1

The invention relates to an apparatus (1) for manufacturing green bricks from clay for the brick manufacturing industry, comprising a circulating conveyor (3) carrying mould containers combined to mould container parts (4), a reservoir (5) for clay arranged above the mould containers, means for carrying clay out of the reservoir (5) into the mould containers, means (9) for pressing and trimming clay in the mould containers, means (11) for supplying and placing take-off plates for the green bricks (13) and means for discharging green bricks released from the mould containers, characterized in that the apparatus further comprises means (22) for moving the mould container parts (4) filled with green bricks such that a protruding edge is formed on at least one side of the green bricks.

一种风机轴向保持架及风机轴承

NºPublicación:  CN121828124A 10/04/2026
Solicitante: 
山东金帝精密机械科技股份有限公司
CN_121828124_PA

Resumen de: EP1000000A1

The invention relates to an apparatus (1) for manufacturing green bricks from clay for the brick manufacturing industry, comprising a circulating conveyor (3) carrying mould containers combined to mould container parts (4), a reservoir (5) for clay arranged above the mould containers, means for carrying clay out of the reservoir (5) into the mould containers, means (9) for pressing and trimming clay in the mould containers, means (11) for supplying and placing take-off plates for the green bricks (13) and means for discharging green bricks released from the mould containers, characterized in that the apparatus further comprises means (22) for moving the mould container parts (4) filled with green bricks such that a protruding edge is formed on at least one side of the green bricks.

一种半潜梯形式模块化混凝土-钢壳复合浮式风机基础

NºPublicación:  CN121822749A 10/04/2026
Solicitante: 
清华大学深圳国际研究生院
CN_121822749_PA

Resumen de: EP1000000A1

The invention relates to an apparatus (1) for manufacturing green bricks from clay for the brick manufacturing industry, comprising a circulating conveyor (3) carrying mould containers combined to mould container parts (4), a reservoir (5) for clay arranged above the mould containers, means for carrying clay out of the reservoir (5) into the mould containers, means (9) for pressing and trimming clay in the mould containers, means (11) for supplying and placing take-off plates for the green bricks (13) and means for discharging green bricks released from the mould containers, characterized in that the apparatus further comprises means (22) for moving the mould container parts (4) filled with green bricks such that a protruding edge is formed on at least one side of the green bricks.

用于借助振动分析来监控风能设备的状态的方法和装置

NºPublicación:  CN121844138A 10/04/2026
Solicitante: 
魏德米勒监控系统有限公司
CN_121844138_PA

Resumen de: EP1000000A1

The invention relates to an apparatus (1) for manufacturing green bricks from clay for the brick manufacturing industry, comprising a circulating conveyor (3) carrying mould containers combined to mould container parts (4), a reservoir (5) for clay arranged above the mould containers, means for carrying clay out of the reservoir (5) into the mould containers, means (9) for pressing and trimming clay in the mould containers, means (11) for supplying and placing take-off plates for the green bricks (13) and means for discharging green bricks released from the mould containers, characterized in that the apparatus further comprises means (22) for moving the mould container parts (4) filled with green bricks such that a protruding edge is formed on at least one side of the green bricks.

一种适用于风电混凝土塔筒安装的摊铺机器人

NºPublicación:  CN121828103A 10/04/2026
Solicitante: 
北京梵米科技有限公司
CN_121828103_PA

Resumen de: EP1000000A1

The invention relates to an apparatus (1) for manufacturing green bricks from clay for the brick manufacturing industry, comprising a circulating conveyor (3) carrying mould containers combined to mould container parts (4), a reservoir (5) for clay arranged above the mould containers, means for carrying clay out of the reservoir (5) into the mould containers, means (9) for pressing and trimming clay in the mould containers, means (11) for supplying and placing take-off plates for the green bricks (13) and means for discharging green bricks released from the mould containers, characterized in that the apparatus further comprises means (22) for moving the mould container parts (4) filled with green bricks such that a protruding edge is formed on at least one side of the green bricks.

车辆载物组件、车辆温度管理系统及车辆

NºPublicación:  CN121822303A 10/04/2026
Solicitante: 
比亚迪股份有限公司
CN_121822303_PA

Resumen de: EP1000000A1

The invention relates to an apparatus (1) for manufacturing green bricks from clay for the brick manufacturing industry, comprising a circulating conveyor (3) carrying mould containers combined to mould container parts (4), a reservoir (5) for clay arranged above the mould containers, means for carrying clay out of the reservoir (5) into the mould containers, means (9) for pressing and trimming clay in the mould containers, means (11) for supplying and placing take-off plates for the green bricks (13) and means for discharging green bricks released from the mould containers, characterized in that the apparatus further comprises means (22) for moving the mould container parts (4) filled with green bricks such that a protruding edge is formed on at least one side of the green bricks.

一种火箭发动机三视尭PD-3S载人火箭前置螺旋桨及其制造工艺

NºPublicación:  CN121829231A 10/04/2026
Solicitante: 
马达西奇飞机发动机厂(湖北)有限公司
CN_121829231_PA

Resumen de: EP1000000A1

The invention relates to an apparatus (1) for manufacturing green bricks from clay for the brick manufacturing industry, comprising a circulating conveyor (3) carrying mould containers combined to mould container parts (4), a reservoir (5) for clay arranged above the mould containers, means for carrying clay out of the reservoir (5) into the mould containers, means (9) for pressing and trimming clay in the mould containers, means (11) for supplying and placing take-off plates for the green bricks (13) and means for discharging green bricks released from the mould containers, characterized in that the apparatus further comprises means (22) for moving the mould container parts (4) filled with green bricks such that a protruding edge is formed on at least one side of the green bricks.

风力发电机组的故障保护方法、装置和设备

NºPublicación:  CN121828085A 10/04/2026
Solicitante: 
中车启航新能源技术有限公司
CN_121828085_A

Resumen de: EP1000000A1

The invention relates to an apparatus (1) for manufacturing green bricks from clay for the brick manufacturing industry, comprising a circulating conveyor (3) carrying mould containers combined to mould container parts (4), a reservoir (5) for clay arranged above the mould containers, means for carrying clay out of the reservoir (5) into the mould containers, means (9) for pressing and trimming clay in the mould containers, means (11) for supplying and placing take-off plates for the green bricks (13) and means for discharging green bricks released from the mould containers, characterized in that the apparatus further comprises means (22) for moving the mould container parts (4) filled with green bricks such that a protruding edge is formed on at least one side of the green bricks.

一种风电机组振动数据收集装置

Nº publicación: CN121828116A 10/04/2026

Solicitante:

尚义新天风能有限公司

CN_121828116_PA

Resumen de: EP1000000A1

The invention relates to an apparatus (1) for manufacturing green bricks from clay for the brick manufacturing industry, comprising a circulating conveyor (3) carrying mould containers combined to mould container parts (4), a reservoir (5) for clay arranged above the mould containers, means for carrying clay out of the reservoir (5) into the mould containers, means (9) for pressing and trimming clay in the mould containers, means (11) for supplying and placing take-off plates for the green bricks (13) and means for discharging green bricks released from the mould containers, characterized in that the apparatus further comprises means (22) for moving the mould container parts (4) filled with green bricks such that a protruding edge is formed on at least one side of the green bricks.

traducir