Ministerio de Industria, Turismo y Comercio LogoMinisterior
 

Alerta

Resultados 78 resultados
LastUpdate Última actualización 12/10/2025 [06:47:00]
pdfxls
Solicitudes publicadas en los últimos 30 días / Applications published in the last 30 days
previousPage Resultados 50 a 75 de 78 nextPage  

MULTICOMPONENT FUNGICIDES

NºPublicación:  US2025302037A1 02/10/2025
Solicitante: 
ADAMA MAKHTESHIM LTD [IL]
ADAMA MAKHTESHIM LTD
US_2025302037_A1

Resumen de: US2025302037A1

The present invention relates to multi-component combinations comprising at least two components, (1) polyphenol-based component, and as component (2) at least one fungicide selected from the group of Qil fungicide, strobilurin fungicide, SDHI fungicide, an azole fungicide and morpholine fungicide. The combinations optionally comprise one or more compounds as component (3) selected from the group of Protectant fungicides and copper-based compounds. The present invention thus also relates to methods of using the combinations in forming compositions and as beneficial agricultural material, as well as methods of using polyphenol-based compounds to reduce the amount of fungicides required for fungicidal efficacy, and/or to reduce the amount or necessity of combining Protectant fungicides and/or copper-based compounds when using systemic fungicides.

ウイルス不活化剤

NºPublicación:  JP2025144352A 02/10/2025
Solicitante: 
株式会社マンダム
JP_2025144352_A

Resumen de: JP2025144352A

【課題】エンベロープウイルスに対するウイルス不活化効果のみでなく、ノンエンベロープウイルスに対する優れたウイルス不活化効果を備える、ウイルス不活化剤を提供する。【解決手段】フィチン酸と、下記の成分(A)及び/又は成分(B)とを含有するウイルス不活化剤。成分(A):1,2-ペンタンジオール、1,2-ヘキサンジオール、1,2-ヘプタンジオール、1,2-オクタンジオール、及び1,2-デカンジオールからなる群より選択される少なくとも1つのアルカンジオール成分(B):ラベンダー油、クスノキ葉油、ローズマリー油、ペパーミント油、コパイバオイル、スクワラン、及び流動パラフィンからなる群より選択される少なくとも1つの油性成分【選択図】なし

TRICHODERMA PSEUDOKONINGII STRAIN THAT RESPONDS TO STRIGOLACTONE MIMICS

NºPublicación:  WO2025206967A1 02/10/2025
Solicitante: 
NATIONAL INSTITUTE FOR RES & DEVELOPMENT IN CHEMISTRY AND PETROCHEMISTRY ICECHIM [RO]
NATIONAL INSTITUTE FOR RESEARCH & DEVELOPMENT IN CHEMISTRY AND PETROCHEMISTRY - ICECHIM

Resumen de: WO2025206967A1

The present invention relates to a strain of Trichoderma pseudokoningii Tpk20, deposited under DSM number 34838 at Leibniz-lnstitut DSMZ - German Collection of Microorganisms and Cell Cultures, which has a biostimulant action on plants, due to the specific production of compounds that increase plant nutrients availability and/or activate plant metabolic defense pathways, and which responds to strigolactone mimics by amplifying the production of compounds involved in the plant biostimulant effects.

NOVEL MICROORGANISM AND USE THEREOF

NºPublicación:  WO2025206272A1 02/10/2025
Solicitante: 
NISSAN CHEMICAL CORP [JP]
NIHON HIRYO CO LTD [JP]
\u65E5\u7523\u5316\u5B66\u682A\u5F0F\u4F1A\u793E,
\u65E5\u672C\u80A5\u7CE7\u682A\u5F0F\u4F1A\u793E

Resumen de: WO2025206272A1

A microorganism according to the present disclosure is a microorganism (accession number: NITE BP-03832) belonging to Bacillus velezensis, a microorganism (accession number: NITE BP-04073) belonging to Bacillus velezensis, a microorganism (accession number: NITE BP-04126) belonging to Bacillus velezensis, or a variant of these having a plant disease prevention effect.

SELF-EMBEDDING SILVER NANOPARTICLE BIOMASS WASTE COMPOSITIONS

NºPublicación:  WO2025207342A1 02/10/2025
Solicitante: 
THE US SECRETARY OF AGRICULTURE [US]
THE UNITED STATES OF AMERICA, AS REPRESENTED BY THE SECRETARY OF AGRICULTURE
US_2025302769_A1

Resumen de: WO2025207342A1

Compositions and methods of making and using silver nanoparticles embedded in biomass waste matrixes of various types is described. Exemplified compositions include a silver nanoparticle embedded in a cotton gin waste nanofiber composite. Compositions and methods of making and using aerogels comprising silver nanoparticles in cotton gin waste nanofiber are described. Exemplified uses of compositions include use as antimicrobial agents.

INSECTICIDAL PROTEINS AND METHODS FOR THEIR USE

NºPublicación:  WO2025207786A1 02/10/2025
Solicitante: 
PIONEER HI BRED INT INC [US]
PIONEER HI-BRED INTERNATIONAL, INC

Resumen de: WO2025207786A1

This disclosure relates to the field of molecular biology. Provided are novel genes that encode pesticidal proteins. These pesticidal proteins and the nucleic acid sequences that encode them are useful in preparing pesticidal formulations and in the production of transgenic pest-resistant plants. Methods to create or alter pesticidal proteins are provided for altered or enhanced pesticidal activity.

LIVING MYCELIUM COMPOSITE MATERIAL FOR LIQUID DEPOSITION MODELING (LDM) AND PASTE-EXTRUSION BASED ADDITIVE MANUFACTURING (PEBAM) WITH EXTRUSION-BASED 3D PRINTING AND ROBOTIC ADDITIVE MANUFACTURING PROCESS

NºPublicación:  WO2025207789A1 02/10/2025
Solicitante: 
BIOMATTERS LLC [US]
BIOMATTERS, LLC

Resumen de: WO2025207789A1

Provided is a composition of living mycelium composite material for liquid deposition modeling (LDM) and paste-extrusion based additive manufacturing (PEBAM) with extrusion- based 3D printing and robotic additive manufacturing. Further provided is a composition that includes inoculation with living mycelium that grows following the LDM/PEBAM extrusion- based 3D printing or robotic additive manufacturing process. Also provided is a bio-fabrication method that includes growing mycelium as a dense network of hyphae filaments that bind a paste substrate material together.

APPARATUS, SYSTEMS AND METHODS FOR INCREASING PLANT PRODUCTIVITY USING A FUNGAL MICROBIOME

NºPublicación:  WO2025207995A1 02/10/2025
Solicitante: 
FUNGA PBC [US]
FUNGA PBC

Resumen de: WO2025207995A1

This invention relates to apparatus and methods for selecting a soil microbiome having increasing plant productivity. The apparatus and methods relate to combining an output from a machine learning model, a generalized linear model, and a distance-based multivariate model to execute a donor forest selection tool that is configured to select from a plurality of geographically distinct plant communities a soil microbiome having increasing plant productivity.

COMPOSITIONS AND METHODS FOR TREATING CITRUS GREENING

NºPublicación:  WO2025207956A1 02/10/2025
Solicitante: 
THE REGENTS OF THE UNIV OF CALIFORNIA [US]
POINT LOMA NAZARENE UNIV
THE REGENTS OF THE UNIVERSITY OF CALIFORNIA,
POINT LOMA NAZARENE UNIVERSITY

Resumen de: WO2025207956A1

Certain embodiments of the invention provide a method of biological control of citrus disease using microbial strains or microbially derived products as described herein.

PESTICIDAL PROTEINS AND USES THEREOF

NºPublicación:  WO2025207386A1 02/10/2025
Solicitante: 
UNIV OF FLORIDA RESEARCH FOUNDATION INCORPORATED [US]
THE BOARD OF TRUSTEES OF THE UNIV OF ILLINOIS [US]
UNIVERSITY OF FLORIDA RESEARCH FOUNDATION, INCORPORATED,
THE BOARD OF TRUSTEES OF THE UNIVERSITY OF ILLINOIS

Resumen de: WO2025207386A1

Provided herein are methods of reducing a small hive beetle pest population comprising contacting the small hive beetle with a bacterial pesticidal protein.

METHODS AND MATERIALS FOR TREATING DISORDERS RELATED TO BACTERIAL INFECTIONS

NºPublicación:  WO2025208072A1 02/10/2025
Solicitante: 
THE GENERAL HOSPITAL CORP [US]
THE GENERAL HOSPITAL CORPORATION

Resumen de: WO2025208072A1

Described herein are chimeric bacteriophage particles including recombinant phagemids and methods of treating a bacterial infection (e.g., a Shigella infection) using the same. Recombinant phagemids can include CRISPR-Cas systems that target virulence factors.

COMPOSITIONS COMPRISING BEAUVERIA BASSIANA AND METHODS OF USE THEREOF

NºPublicación:  AU2024239259A1 02/10/2025
Solicitante: 
LOAM BIO PTY LTD
LOAM BIO PTY LTD
AU_2024239259_PA

Resumen de: AU2024239259A1

The disclosure provides a method of increasing soil organic carbon (SOC), comprising: heterologously disposing one or more fungal strains to treat a plant element, wherein the one or more fungal strains comprises a nuclear ribosomal internal transcribed spacer (ITS) sequence that is at least 97% identical to the nucleotide sequence of any one of SEQ ID NOs: 1-8; and the one or more fungal strains are heterologously disposed in an effective amount to increase organic carbon in soil supporting a plant derived from the treated plant element relative to soil supporting a reference plant derived from a reference plant element.

NOVEL MUTATED LACTONASE ENZYMES, COMPOSITIONS CONTAINING THEM AND USES THEREOF

NºPublicación:  US2025304931A1 02/10/2025
Solicitante: 
GENE AND GREEN TK [FR]
FOND MEDITERRANEE INFECTION [FR]
AIX MARSEILLE UNIV [FR]
REGENTS OF THE UNIV OF MINNESOTA [US]
GENE AND GREEN TK,
FONDATION MEDITERRANEE INFECTION,
AIX-MARSEILLE UNIVERSITE,
REGENTS OF THE UNIVERSITY OF MINNESOTA
US_2025304931_A1

Resumen de: US2025304931A1

The present invention relates to new mutated lactonases, to their uses as well as to compositions containing them.

METHOD FOR REDUCING PLANT STRESS, FUNGI, AND MYCOTOXINS

NºPublicación:  MX2025004588A 01/10/2025
Solicitante: 
UNIV POLITECNICA DE MADRID [ES]
PLANT RESPONSE INC [US]
UNIVERSIDAD POLIT\u00C9CNICA DE MADRID,
PLANT RESPONSE, INC
AU_2023363989_A1

Resumen de: MX2025004588A

Methods of treating a plant or part thereof, or a growth medium for growing a plant, with a composition comprising an effective amount or rate of <i>Colletotrichum tofieldiae</i> to increase abiotic and/or biotic stress tolerance/resistance of the plant or part thereof. For example, a method for reducing fungal genera related to mycotoxin production, can include contacting said plant with a composition comprising the microorganism <i>Colletotrichum tofieldiae </i>and/or extracts from said microorganism and/or filtrates from said microorganism. A plant is contacted with a composition comprising the microorganism <i>C. tofieldiae</i>, the culture medium or the filtrate. The composition can be applied to the entire plant or to any of the parts thereof, such as to the leaves, sprouts, flowers, fruits, cobs, seeds, bulbs, tubers, roots and to the seedlings. Application of the composition to the plant can be carried out at any stage in the planting, growing, and/or harvesting season.

AUTODEGRADABLE PLASTICS

NºPublicación:  MX2025007344A 01/10/2025
Solicitante: 
E V A BIOSYSTEMS LTD [GB]
E.V.A BIOSYSTEMS LIMITED
CN_120418425_PA

Resumen de: MX2025007344A

Disclosed is an autodegradable plastic material impregnated with a genetically engineered bacteria, in which the bacteria are engineered to include a genetic switch that is activated by an environmental factor. Activation of the switch causes expression of an enzyme that degrades the plastic.

ENHANCED DIAZOTROPHIC MICROORGANISMS FOR USE IN AGRICULTURE

NºPublicación:  MX2025010573A 01/10/2025
Solicitante: 
BIOCONSORTIA INC [US]
BIOCONSORTIA, INC
AU_2024237354_A1

Resumen de: MX2025010573A

The disclosure relates to genetically modified microorganisms, for the improvement of phenotypes of plants, for example nitrogen availability for leguminous plants. Included are novel strains of the microorganisms, microbial consortia, and agricultural compositions comprising the same. Furthermore, the disclosure teaches methods of utilizing the described microorganisms, microbial consortia, and agricultural compositions comprising the same, in methods for imparting beneficial properties to target plant species. In particular aspects, the disclosure provides methods of increasing desirable plant traits in agronomically important species, for example nitrogen fixation, utilization, regulation, uptake, acquisition, tolerance, and/or processing in plants.

NOVEL CARRIER FLUIDS FOR LIQUID FUNGAL SPORE FORMULATIONS

NºPublicación:  MX2025010364A 01/10/2025
Solicitante: 
BAYER AG [DE]
BAYER CROPSCIENCE AG [DE]
BAYER AKTIENGESELLSCHAFT,
BAYER CROPSCIENCE AKTIENGESELLSCHAFT
MX_2025007799_A

Resumen de: MX2025010364A

The present invention relates to a liquid preparation comprising at least one ethoxylated and/or propoxylated organic liquid as defined and fungal spores and a method for controlling phytopathogenic fungi, insects and/or nematodes in or on a plant, for enhancing growth of a plant or for increasing plant yield or root health comprising applying an effective amount of the liquid preparation or the liquid composition according to the invention to said plant or to a locus where plants are growing or intended to be grown.

NOVEL CARRIER FLUIDS FOR LIQUID FUNGAL SPORE FORMULATIONS

NºPublicación:  MX2025010363A 01/10/2025
Solicitante: 
BAYER AG [DE]
BAYER CROPSCIENCE AG [DE]
BAYER AKTIENGESELLSCHAFT,
BAYER CROPSCIENCE AKTIENGESELLSCHAFT
MX_2025007799_A

Resumen de: MX2025010363A

The present invention relates to a liquid preparation comprising at least one ethoxylated and/or propoxylated organic liquid as defined and fungal spores and a method for controlling phytopathogenic fungi, insects and/or nematodes in or on a plant, for enhancing growth of a plant or for increasing plant yield or root health comprising applying an effective amount of the liquid preparation or the liquid composition according to the invention to said plant or to a locus where plants are growing or intended to be grown.

NOVEL CARRIER FLUIDS FOR LIQUID FUNGAL SPORE FORMULATIONS

NºPublicación:  MX2025010365A 01/10/2025
Solicitante: 
BAYER AG [DE]
BAYER CROPSCIENCE AG [DE]
BAYER AKTIENGESELLSCHAFT,
BAYER CROPSCIENCE AKTIENGESELLSCHAFT
MX_2025007799_A

Resumen de: MX2025010365A

The present invention relates to a liquid preparation comprising at least one ethoxylated and/or propoxylated organic liquid as defined and fungal spores and a method for controlling phytopathogenic fungi, insects and/or nematodes in or on a plant, for enhancing growth of a plant or for increasing plant yield or root health comprising applying an effective amount of the liquid preparation or the liquid composition according to the invention to said plant or to a locus where plants are growing or intended to be grown.

SELECTION AND GENETIC MODIFICATION OF PLANT ASSOCIATED METHYLOBACTERIUM

NºPublicación:  MX2025010737A 01/10/2025
Solicitante: 
NEW LEAF SYMBIOTICS INC [US]
NEW LEAF SYMBIOTICS, INC
US_2025257363_PA

Resumen de: MX2025010737A

Methods for generating transformed <i>Methylobacterium</i> isolates are provided. Such methods can be used to develop novel <i>Methylobacterium</i> isolates having improved properties for use in a variety of industrial applications.

METHODS FOR IMPROVING PLANT CHARACTERISTICS

NºPublicación:  EP4622460A1 01/10/2025
Solicitante: 
SYNGENTA CROP PROTECTION AG [CH]
Syngenta Crop Protection AG
KR_20250111167_PA

Resumen de: AU2023386608A1

A method of enhancing a plant characteristic of a plant growing in a medium in the presence of a vesicular-arbuscular mycorrhizae fungal culture, comprising applying an effective amount of a composition comprising cyclobutrifluram to the plant, the locus or the medium, or plant propagation material.

SELECTION AND GENETIC MODIFICATION OF PLANT ASSOCIATED METHYLOBACTERIUM

NºPublicación:  MX2025010738A 01/10/2025
Solicitante: 
NEW LEAF SYMBIOTICS INC [US]
NEW LEAF SYMBIOTICS, INC
US_2025257363_PA

Resumen de: MX2025010738A

Methods for generating transformed <i>Methylobacterium</i> isolates are provided. Such methods can be used to develop novel <i>Methylobacterium</i> isolates having improved properties for use in a variety of industrial applications.

EDIBLE COATING FOR USE AS A PLANT BIOSTIMULANT

NºPublicación:  EP4622461A1 01/10/2025
Solicitante: 
AGROSUSTAIN SA [CH]
AgroSustain SA
CR_20250211_A

Resumen de: MX2025005932A

The invention relates to the field of natural biofilms for use as a plant biostimulant. In particular, Applicants surprisingly provided an edible coating composition in the form of an oil in water (O/W) emulsion and its use as a biostimulant for pre-harvest agricultural crops or cultivation plants selected from the list comprising cereals, fruits, vegetables, flowers, trees, grass and seeds.

BACTERIOPHAGES AGAINST ERWINIA AMYLOVORA FIRE BLIGHT

NºPublicación:  EP4623692A1 01/10/2025
Solicitante: 
ENVIROINVEST KOERNYEZETVEDELMI ES BIOTECHNOLOGIAI ZARTKOERUEEN MUEKOEDOE RESZVENYTARASASAG [HU]
ASOC PARA LA PROMOCION DE LA PERA DE RINCON DE SOTO [ES]
KIMITEC BIOGROUP S L [ES]
Enviroinvest K\u00F6rnyezetv\u00E9delmi \u00E9s Biotechnol\u00F3giai Z\u00E1rtk\u00F6r\u00FCen M\u00FCk\u00F6d\u00F6 R\u00E9szv\u00E9nyt\u00E1rasas\u00E1g,
Asociacion para la Promocion de la Pera de Rincon de Soto,
Kimitec Biogroup S.L
EP_4623692_PA

Resumen de: EP4623692A1

The invention relates to isolated bacteriophages and a mixtures thereof, capable of infecting and lysing Erwinia amylovora. The invention also relates to compositions comprising the bacteriophages and their mixtures (cocktails), process for the production of the bacteriophage and uses of the compositions. Furthermore, the invention relates to a method for the prevention or treatment of infection of plants by the bacterium Erwinia amylovora.

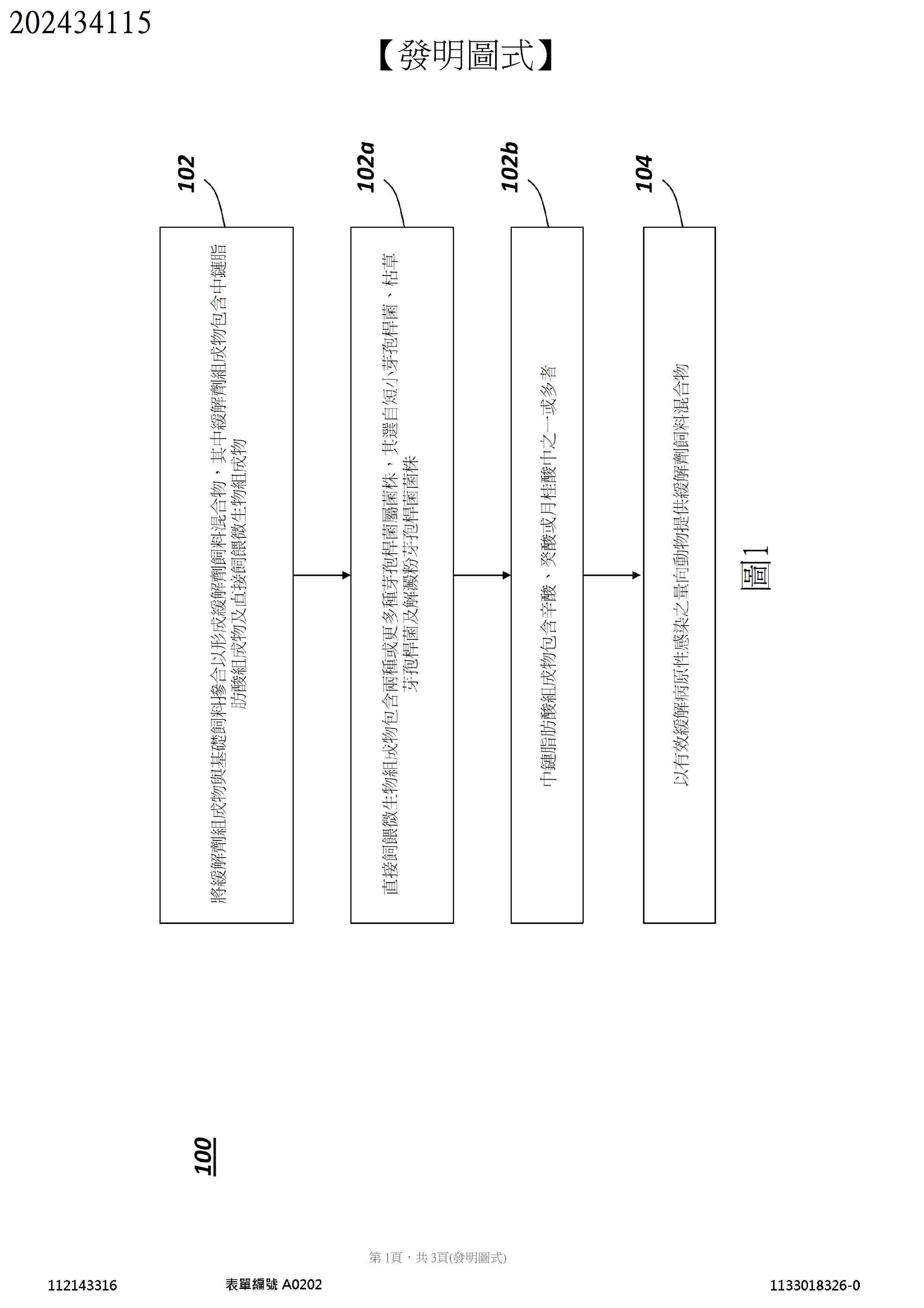
MITIGATION OF PATHOGENS IN PORCINE SPECIES

Nº publicación: EP4622462A1 01/10/2025

Solicitante:

PURINA ANIMAL NUTRITION LLC [US]
Purina Animal Nutrition LLC

TW_202434115_A

Resumen de: TW202434115A

The present disclosure describes products formulated to mitigate viral and bacterial infections in swine, along with associated methods of providing such products to the animals. Feeding methods involve providing animals with a feed product that includes a medium chain fatty acid composition, a direct-fed microbial composition, along with one or more flavonoids and/or organic acids. The medium chain fatty acid composition includes one or more of caproic acid, caprylic acid, capric acid and lauric acid. The direct-fed microbial composition includes one or more strains of Bacillus. The animals can include swine at risk of developing, or already afflicted with, a respiratory condition such as porcine reproductive respiratory syndrome or pneumonia.

traducir