Ministerio de Industria, Turismo y Comercio LogoMinisterior
 

Seguridad vial

Resultados 69 resultados
LastUpdate Última actualización 16/10/2025 [07:07:00]
pdfxls
Solicitudes publicadas en los últimos 30 días / Applications published in the last 30 days
Resultados 1 a 25 de 69 nextPage  

OPTIMIZATION OF MESSAGE GENERATION FREQUENCY AND COMPRESSION

NºPublicación:  EP4631259A1 15/10/2025
Solicitante: 
ECOLE NAT DE LAVIATION CIVILE [FR]
Ecole Nationale de l'Aviation Civile
CN_120500868_PA

Resumen de: WO2024121338A1

A transmission method performed by a first equipment for transmitting an information message to at least a second equipment in a traffic environment, the first equipment and the second equipment having access to data related to an initial distribution derived from an initial time-based signal associated to at least the traffic environment, the transmission method comprising steps of: obtaining an updated distribution of an updated time-based signal, said updated distribution being related to updated acquisitions of the updated time-based signal collected by the first equipment in the traffic environment, determining a deviation gap related to a gap between data derived from the initial distribution and data derived from the updated distribution, if the deviation gap exceeds a predefined deviation threshold, transmitting data related to said deviation gap to the second equipment.

TRAFFIC LIGHT SIGNALING FOR EARLY WARNING OF DRIVERS OF APPROACH TO A FREE AND OCCUPIED RAILWAY CROSSING

NºPublicación:  WO2025211976A1 09/10/2025
Solicitante: 
PAVLOVIC ALEKSANDAR [RS]
PAVLOVIC, Aleksandar
RS_20240389_PA

Resumen de: WO2025211976A1

The subject invention relates to improving traffic safety at railway crossings by using traffic light signals to inform and warn road users of approaching a free and/or occupied railway crossing in advance. The new information method is based on increasing the information content for road vehicle drivers by providing and repeating light information earlier, which is achieved by introducing new traffic light signs in the railway crossing zone at standardized distances. The position of the signs represents the position of the standard vertical traffic signal used to secure the railway crossing. The production of traffic light signs is based on the use of standard materials, dimensions and other standard solutions.

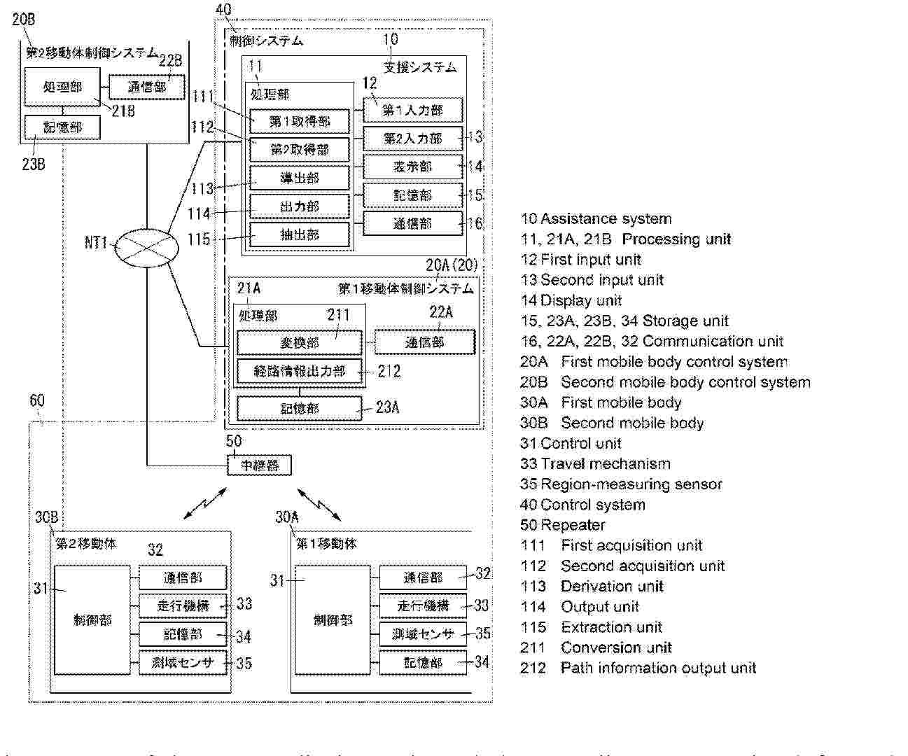
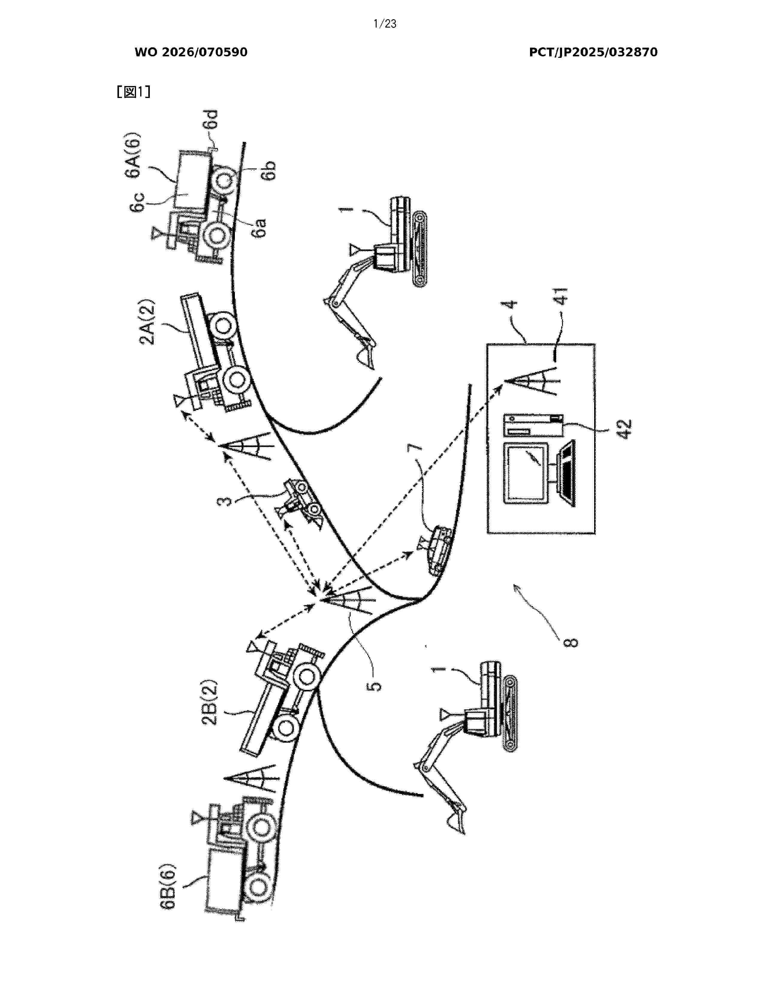
CONTROL DEVICE, MOBILE BODY, CONTROL SYSTEM, AND CONTROL METHOD

NºPublicación:  WO2025211096A1 09/10/2025
Solicitante: 
HITACHI LTD [JP]
\u682A\u5F0F\u4F1A\u793E\u65E5\u7ACB\u88FD\u4F5C\u6240

Resumen de: WO2025211096A1

A calculation condition setting unit sets a first constraint condition on a mobile body on the basis of the operation characteristics of the mobile body (FC102), when another mobile body is present outside a prescribed range from the mobile body. When the other mobile body is present in the prescribed range from the mobile body and a planned trajectory of said other mobile body has been received (FC103: YES), the calculation condition setting unit sets a second constraint condition, wherein the distance between the position of the mobile body and the position of said other mobile body on the planned trajectory should be greater than a threshold value, on the mobile body (FC104). When the other mobile body is present in the prescribed range from the mobile body, the planned trajectory of said other mobile body is not received, and the speed at which said other mobile body moves has been acquired (FC105: YES), the calculation condition setting unit sets a third constraint condition, wherein the distance between the position of the mobile body and the position of said other mobile body based on the speed at which the other mobile body moves should be greater than a threshold value, on the mobile body (FC106). A prediction control calculation unit controls the mobile body so as to satisfy the set constraint conditions.

TRAINING DEVICE, TRAINING METHOD, AND PROGRAM

NºPublicación:  WO2025210865A1 09/10/2025
Solicitante: 
HONDA MOTOR CO LTD [JP]
\u672C\u7530\u6280\u7814\u5DE5\u696D\u682A\u5F0F\u4F1A\u793E

Resumen de: WO2025210865A1

This training device that carries out machine learning comprises: an acquisition unit that acquires training data including input data and ground truth data, the input data including an input image containing a reference object and input text specifying a target position relative to a reference object, the ground truth data including a ground truth target position; an estimation unit that determines an estimated target position by inputting the input data into a model; and an update unit that updates parameters of the model so as to reduce a loss obtained as a result of inputting the estimated target position and the ground truth target position into a loss function. The loss function is based on the angle between an estimated vector extending from a starting point in the input image to the estimated target position and a ground truth vector extending from the starting point to the ground truth target position.

A REAL TIME DRIVER WARNING SYSTEM

NºPublicación:  WO2025209941A1 09/10/2025
Solicitante: 
LAGAN CRAWL LTD [IE]
LAGAN CRAWL LIMITED

Resumen de: WO2025209941A1

A driver warning system has roadside controllers (150) arranged to be mounted near a road, and short interval warning devices (1) each with a saddle shape to be mounted to a central reservation barrier with a wing on each lateral side and a controller housing on top, and each wing has at least one LED array. Control processors (152, 11) and interfaces allow the roadside controllers and the devices to communicate with each other, and the roadside controller transmits commands to devices to cause coordinated activation of the LED arrays to issue warning information to drivers. Devices (1) can relay control messages to a next successive device in a message hopping scheme and roadside controllers can identify a break in a message relay chain and generate an alert identifying that a device is faulty accordingly. Each device (1) is modular so that in the unlikely event of an impact only a small portion may break off and this is very likely due to the low-profile construction and use of captive screw fixings.

MONITORING SERVER, MONITORING DEVICE, AND MONITORING SYSTEM

NºPublicación:  WO2025211082A1 09/10/2025
Solicitante: 
SONY SEMICONDUCTOR SOLUTIONS CORP [JP]
\u30BD\u30CB\u30FC\u30BB\u30DF\u30B3\u30F3\u30C0\u30AF\u30BF\u30BD\u30EA\u30E5\u30FC\u30B7\u30E7\u30F3\u30BA\u682A\u5F0F\u4F1A\u793E

Resumen de: WO2025211082A1

Problem To provide a monitoring server, a monitoring device, and a monitoring system that enable information sharing between vehicles. Solution To solve the above problem, according to the present disclosure, there is provided a monitoring server comprising: a communication unit that acquires detection information that is detected by a plurality of monitoring devices mounted on each of a plurality of vehicles, and that includes at least position information of a moving body within a predetermined distance range from each of the monitoring devices; an addition processing unit that, in response to the acquisition of the position information, generates a value related to the detection frequency for each section of a map corresponding to the position included in the position information; and a warning degree map generation unit that generates a warning degree map in which a warning degree corresponding to the detection frequency for each section is set for each section.

SENSING COMMUNICATION METHOD, COMMUNICATION DEVICES AND STORAGE MEDIUM

NºPublicación:  WO2025208290A1 09/10/2025
Solicitante: 
BEIJING XIAOMI MOBILE SOFTWARE CO LTD [CN]
\u5317\u4EAC\u5C0F\u7C73\u79FB\u52A8\u8F6F\u4EF6\u6709\u9650\u516C\u53F8

Resumen de: WO2025208290A1

The present disclosure relates to a sensing communication method, communication devices, and a storage medium. The method comprises: obtaining a sensing result on the basis of sensing information and an artificial intelligence (AI) model, wherein an input of the AI model is the sensing information. According to the embodiments of the present disclosure, the sensing information is used as the input of the AI model, and the sensing result is obtained on the basis of the sensing information and the AI model, such that errors caused by channel estimation in the sensing process can be reduced, thereby improving the accuracy of sensing communication.

LANE DETERMINATION DEVICE, LANE DETERMINATION METHOD, AND PROGRAM

NºPublicación:  WO2025211026A1 09/10/2025
Solicitante: 
PANASONIC INTELLECTUAL PROPERTY MAN CO LTD [JP]
\u30D1\u30CA\u30BD\u30CB\u30C3\u30AF\uFF29\uFF30\u30DE\u30CD\u30B8\u30E1\u30F3\u30C8\u682A\u5F0F\u4F1A\u793E

Resumen de: WO2025211026A1

This lane determination device comprises a processor and a memory for storing a camera image captured by a camera which is disposed so as to be able to image a plurality of vehicles that travel in a plurality of respective adjacent lanes. The processor, in collaboration with the memory, acquires mask area information for identifying, from among portions which constitute vehicles that are included in the camera image, a portion to be excluded from the target of prescribed processing, sets a specific detection frame for the vehicles that are shown in the camera image, and outputs, as the target of the prescribed processing, a portion of the vehicle that is not included in the mask area and that has an inside/outside determination point of the specific detection frame.

SISTEMA DE CONTENCION DE VEHICULOS

NºPublicación:  ES1323150U 08/10/2025
Solicitante: 
TECNOLOGIA DE SEGURIDAD VIAL Y ACUSTICA S L [ES]
TECNOLOGIA DE SEGURIDAD VIAL Y ACUSTICA S.L

ANOMALY DETECTION METHOD AND APPARATUS, AND VEHICLE

NºPublicación:  EP4629212A1 08/10/2025
Solicitante: 
SHENZHEN YINWANG INTELLIGENT TECHNOLOGY CO LTD [CN]
Shenzhen Yinwang Intelligent Technologies Co., Ltd
EP_4629212_PA

Resumen de: EP4629212A1

An exception detection method and apparatus, and a vehicle are provided. The method includes: obtaining first motion status information of the vehicle, where the first motion status information is determined based on a signal of a first sensor of the vehicle and/or reference information obtained via an external communication network (S801); determining a first parameter and a second parameter based on the first motion status information, where the first parameter is associated with a status parameter indicated by the first motion status information, and the second parameter is associated with a dynamic status of the vehicle (S802); and determining, based on the first parameter and the second parameter, a location at which an exception occurs (S803). The method may be applied to an internet of things device like an intelligent vehicle or a new energy vehicle. In the method, an exception can be detected, and further, the exception can be positioned, so that the internet of things device takes a corresponding measure. This helps improve security of the internet of things device.

TRAFFIC MANAGEMENT DEVICE, TRAFFIC MANAGEMENT METHOD, AND PROGRAM

NºPublicación:  WO2025203421A1 02/10/2025
Solicitante: 
NEC CORP [JP]
\u65E5\u672C\u96FB\u6C17\u682A\u5F0F\u4F1A\u793E

Resumen de: WO2025203421A1

This traffic management device comprises: a group generation unit that generates a group of vehicles; a determination unit that determines whether or not a manual driving vehicle is included in the group; and a traffic control unit that changes a traffic control method for the group in accordance with the determination result.

TRAFFIC CONTROL DEVICE, TRAFFIC CONTROL METHOD, AND PROGRAM

NºPublicación:  WO2025203419A1 02/10/2025
Solicitante: 
NEC CORP [JP]
\u65E5\u672C\u96FB\u6C17\u682A\u5F0F\u4F1A\u793E

Resumen de: WO2025203419A1

This traffic control device is provided with: an assessment unit which assesses the driving performance of each of a target vehicle, a first vehicle, and a second vehicle traveling behind the first vehicle; and a determination unit which, when the driving performance of the target vehicle is lower than the driving performance of the first vehicle and higher than the driving performance of the second vehicle, determines that the target vehicle is to travel between the first vehicle and the second vehicle.

TRAFFIC VOLUME CONTROL DEVICE, TRAFFIC VOLUME CONTROL METHOD, PROGRAM, AND SYSTEM

NºPublicación:  WO2025203622A1 02/10/2025
Solicitante: 
NEC CORP [JP]
\u65E5\u672C\u96FB\u6C17\u682A\u5F0F\u4F1A\u793E

Resumen de: WO2025203622A1

The present invention enables lane control to be performed in response to a sudden event. This traffic volume control device comprises: a traffic volume measuring unit that calculates an upbound/downbound lane traffic volume difference indicating a difference between the traffic volumes on upbound lanes and downbound lanes of a two-way traffic road, on the basis of the traffic volumes for each of the upbound lanes and the downbound lanes; and a lane change unit that, in response to the upbound/downbound lane traffic volume difference becoming equal to or greater than a preset threshold value, outputs a lane change notification for giving notification that the number of lanes set as upbound lanes and the number of lanes set as downbound lanes are to be changed such that the upbound/downbound lane traffic volume difference decreases.

IMPACT PROTECTION BARRIER SYSTEMS AND DEPLOYMENT MECHANISMS

NºPublicación:  WO2025206960A1 02/10/2025
Solicitante: 
HOLMES SOLUTIONS PARTNERSHIP LTD [NZ]
HOLMES SOLUTIONS PARTNERSHIP LIMITED

Resumen de: WO2025206960A1

An impact barrier system (1) for deployment to a support structure for protection from an impact event, including a barrier (9) with an impact side and a shielded side. The barrier (9) is formed from at least one barrier portion (10), formed between the impact side and the shielded side of the barrier. The barrier portion (10) including a plurality of barrier layers (36), each being substantially aligned with a barrier system plane XY, and having two opposed faces, respectively facing the impact side and shielded side. The faces have a transverse axis Z, orientated substantially orthogonally to the barrier system plane Z having an outer perimeter forming an edge or edges. At least two of the plurality of barrier layers (36) are; a) at least partially overlapped about said transverse axis Z, and b) flexible.

SERVER DEVICE, DISTRIBUTION METHOD, AND PROGRAM

NºPublicación:  WO2025205860A1 02/10/2025
Solicitante: 
DENSO CORP [JP]
\u682A\u5F0F\u4F1A\u793E\u30C7\u30F3\u30BD\u30FC

Resumen de: WO2025205860A1

A server device according to one aspect of the present disclosure comprises a communication unit, a data collection unit, a database, a condition acquisition unit, a first selection unit, a second selection unit, a distribution unit, and an operation result collection unit. The first selection unit selects, by using feature information of a vehicle, target vehicle groups that satisfy vehicle conditions. The second selection unit selects a first vehicle group and a second vehicle group from the target vehicle groups on the basis of (i) configuration information of software of a control device included in each of the target vehicle groups and (ii) the state of a resource. The distribution unit distributes verification software to each vehicle of the first vehicle group in a first manner, and distributes the verification software to each vehicle of the second vehicle group in a second manner.

TEXTILE SUPPORT AND/OR PROTECTION DEVICE

NºPublicación:  WO2025202257A1 02/10/2025
Solicitante: 
JULIUS KOCH GMBH [DE]
JULIUS KOCH GMBH
EP_4624667_PA

Resumen de: WO2025202257A1

A textile support and/or protection device (100) is described to provide a support and/or protection structures for indoor and/or outdoor applications, which can be installed in an easy and cost effective manner, for supporting and/or protecting an object and/or an area, in particular in agriculture, environmental engineering, sports, leisure, building industry, construction, dust protection, industry application environmental protection, military, waste management application and/or road work, comprising an area-measured support and/or protection section (10), wherein at least one fastening element (12a, 12b, 12c, 13a, 13b, 13c), in particular fastening loop, is arranged at an edge (11a, lib) of the support and/or protection device (100) or offset from the edge (11a, lib) toward a center of the support and/or protection section (10).

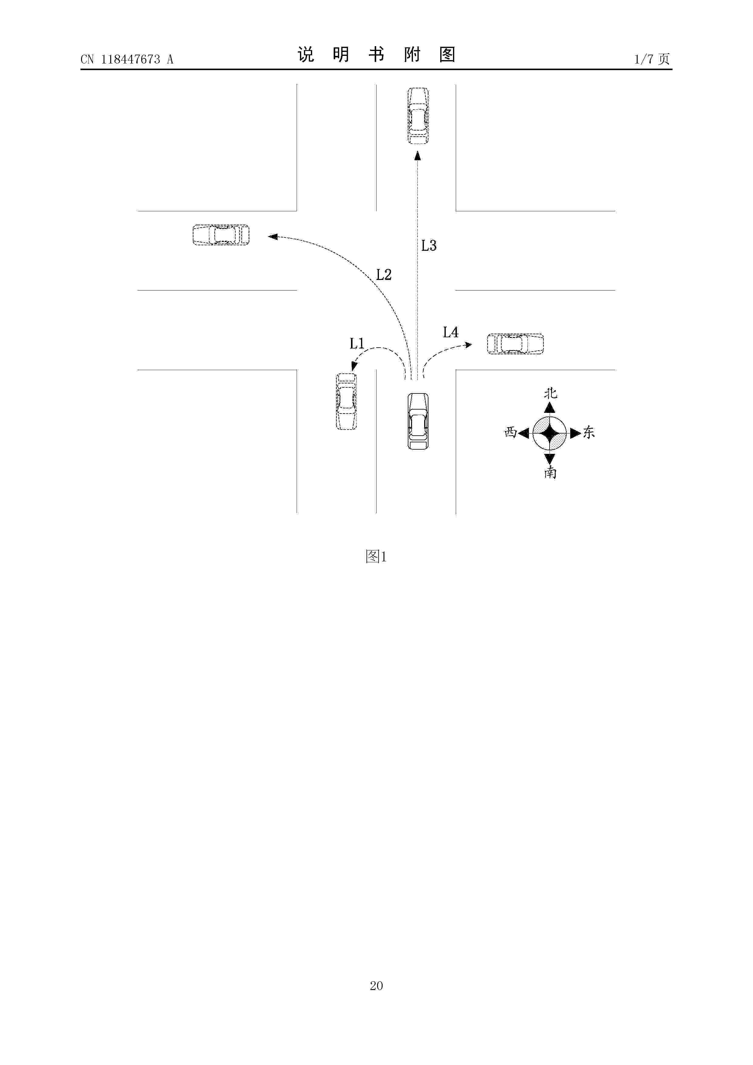
TRAFFIC LIGHT CONTROL INFORMATION ACQUISITION METHOD AND APPARATUS, COMPUTING DEVICE CLUSTER, AND STORAGE MEDIUM

NºPublicación:  WO2025200516A1 02/10/2025
Solicitante: 
BEIJING AUTONAVI YUNMAP TECH CO LTD [CN]
\u5317\u4EAC\u9AD8\u5FB7\u4E91\u56FE\u79D1\u6280\u6709\u9650\u516C\u53F8
CN_118447673_A

Resumen de: WO2025200516A1

A traffic light control information acquisition method and apparatus, a computing device cluster, and a storage medium. The traffic light control information acquisition method comprises: acquiring driving trajectories of a plurality of sample vehicles passing through a target intersection within a target time period so as to obtain a driving trajectory set (S11); determining, from the driving trajectory set, the numbers of first-type trajectories respectively corresponding to permitted directions at the target intersection, and the total numbers of driving trajectories respectively corresponding to the permitted directions, wherein each first-type trajectory is a driving trajectory in which a stopping behavior occurs (S12); for each permitted direction, calculating a first ratio of the number of the first-type trajectories corresponding to the permitted direction to the total number of the driving trajectories corresponding to the permitted direction (S13); and when the first ratio is greater than a first preset ratio, determining that traffic light control information is present for the permitted direction (S14). According to the traffic light control information acquisition method, traffic light control information can be acquired accurately and efficiently in a timely manner.

PROMPT INFORMATION GENERATION METHOD AND APPARATUS, TERMINAL DEVICE, AND STORAGE MEDIUM

NºPublicación:  WO2025199694A1 02/10/2025
Solicitante: 
STREAMAX TECH CO LTD [CN]
\u6DF1\u5733\u5E02\u9510\u660E\u6280\u672F\u80A1\u4EFD\u6709\u9650\u516C\u53F8
CN_118475968_PA

Resumen de: WO2025199694A1

The present application is applicable to the technical field of automobiles, and provides a prompt information generation method and apparatus, a terminal device, and a storage medium. The method comprises: acquiring vehicle information of a target fleet, fleet operation information, behavior information of drivers, and a prompt keyword for the target fleet; and inputting the vehicle information, the fleet operation information, the behavior information and the prompt keyword into a trained prompt information generation model for processing, to obtain prompt information corresponding to the prompt keyword. Compared with existing technologies that merely generate corresponding prompt information on the basis of vehicle information, such as wheel statuses and fuel level statuses, this method can generate more comprehensive prompt information by integrating vehicle information, fleet operation information, and behavior information of drivers, and additionally, by further integrating a prompt keyword and a prompt information generation model, this method can generate, in a targeted manner, prompt information that better meets actual needs and is more accurate, thereby improving the generation accuracy of prompt information, and also enhancing the practicability of the generated prompt information.

WIRELESS NETWORK CONFIGURATION DEVICE, COMMUNICATION SYSTEM, WIRELESS NETWORK CONFIGURATION METHOD, AND RECORDING MEDIUM

NºPublicación:  WO2025203304A1 02/10/2025
Solicitante: 
NEC CORP [JP]
NEC COMMUNICATON SYSTEMS LTD [JP]
\u65E5\u672C\u96FB\u6C17\u682A\u5F0F\u4F1A\u793E,
\u65E5\u672C\u96FB\u6C17\u901A\u4FE1\u30B7\u30B9\u30C6\u30E0\u682A\u5F0F\u4F1A\u793E

Resumen de: WO2025203304A1

Provided are a wireless network configuration device, a communication system, a wireless network configuration method, and a recording medium with which it is possible to construct, with a simple procedure, a time-synchronized wireless network. This wireless network configuration device is provided with: a selection means that selects a moving body to be allowed to join a wireless network from among moving bodies that have entered a prescribed area; a distribution means that distributes setting information for joining the wireless network to the moving body that is to be allowed to join the wireless network; and a time adjustment means that transmits delay information based on the location of the moving body and time information to the moving body to cause time synchronization to be performed.

METHOD FOR DETERMINING TRAFFIC CONDITION INFORMATION, ELECTRONIC DEVICE AND COMPUTER READABLE STORAGE MEDIUM

NºPublicación:  WO2025200719A1 02/10/2025
Solicitante: 
HUAWEI TECH CO LTD [CN]
\u534E\u4E3A\u6280\u672F\u6709\u9650\u516C\u53F8
CN_120726794_PA

Resumen de: WO2025200719A1

The present application provides a method for determining traffic condition information, an electronic device and a computer readable storage medium. A plurality of vehicle trajectories and a road network topology of a target intersection are used for determining traffic condition information of lanes in each travel direction of an intersection approach road, so that the solution in the present application is simple and easy to implement. In addition, the vehicle trajectories of the present application can be standard precision trajectory data or high-precision trajectory data, and the road network topology can be a road network topology in a standard precision map or a road network topology in a high-precision map, so that the application range is wide, thereby reducing the cost of the solution.

CONTROL DEVICE FOR MOBILE BODY, CONTROL METHOD FOR MOBILE BODY, AND PROGRAM

NºPublicación:  WO2025203269A1 02/10/2025
Solicitante: 
HONDA MOTOR CO LTD [JP]
\u672C\u7530\u6280\u7814\u5DE5\u696D\u682A\u5F0F\u4F1A\u793E

Resumen de: WO2025203269A1

A control device for a mobile body according to an embodiment comprises: a recognition unit that recognizes a situation surrounding the mobile body and recognizes a group composed of at least one following target, on the basis of an image in which the situation surrounding the mobile body is imaged; and a control unit that executes following control in which at least the mobile body moves while following the group on the basis of the surrounding situation. The control unit sets a virtual obstacle surrounding the group, and executes the following control so as not to come into contact with the set virtual obstacle.

INFORMATION PRESENTATION SYSTEM, INFORMATION PRESENTATION DEVICE, AND VEHICLE

NºPublicación:  WO2025203545A1 02/10/2025
Solicitante: 
SUBARU CORP [JP]
\u682A\u5F0F\u4F1A\u793E\uFF33\uFF35\uFF22\uFF21\uFF32\uFF35

Resumen de: WO2025203545A1

An information presentation system according to an embodiment of the present disclosure comprises: a storage device that is capable of storing a database in which a plurality of evaluation results of driving skills related to driving operations of one or more drivers are registered; a processing circuit that is capable of determining whether a planned travel route of a first vehicle includes a first evaluation target section in which the driving skill is to be evaluated; and a user interface that is capable of presenting, to a first driver of the first vehicle, evaluation result information based on one or more evaluation results among the plurality of evaluation results, before the first vehicle reaches the first evaluation target section in the planned travel route.

AUTOMATIC OPERATION SYSTEM, AUTOMATIC OPERATION METHOD, AND OPERATION CONTROL DEVICE

NºPublicación:  WO2025203317A1 02/10/2025
Solicitante: 
NEC CORP [JP]
\u65E5\u672C\u96FB\u6C17\u682A\u5F0F\u4F1A\u793E

Resumen de: WO2025203317A1

The purpose of the present disclosure is to provide an automatic operation system, an automatic operation method, and an operation control device that can be easily applied to a mobile body. An automatic operation system according to the present invention includes a mobile body monitoring device, a processing device, and an operation control device. The mobile body monitoring device monitors the travel state of the mobile body and the surrounding environment of the mobile body and outputs monitoring information that indicates the monitoring results. The processing device outputs operation commands for automatic operation of the mobile body on the basis of the monitoring information. The operation control device is provided to the mobile body and controls automatic operation of the mobile body in accordance with the operation commands.

DRIVING SKILL EVALUATION SYSTEM AND VEHICLE

NºPublicación:  WO2025203544A1 02/10/2025
Solicitante: 
SUBARU CORP [JP]
\u682A\u5F0F\u4F1A\u793E\uFF33\uFF35\uFF22\uFF21\uFF32\uFF35

Resumen de: WO2025203544A1

A driving skill evaluation system according to an embodiment of the present disclosure comprises: a processing circuit that is capable of performing a process for presenting, to a driver of a vehicle, one or more evaluation candidate sections which are candidate sections for evaluation of the driving skill of the driver and which have been set in a planned travel route of the vehicle, and a process for receiving a first selection operation by the driver, that is capable of setting some or all of the one or more evaluation candidate sections as one or more evaluation target sections on the basis of the first selection operation by the driver, and that is capable of evaluating the driving skill of the driver on the basis of travel data of the vehicle in each of the one or more evaluation target sections which have been set; and a user interface that is capable of presenting the one or more evaluation candidate sections and that is capable of receiving the first selection operation.

DEMAND PREDICTION METHOD, DEMAND PREDICTION DEVICE, AND PROGRAM

Nº publicación: WO2025203313A1 02/10/2025

Solicitante:

NEC CORP [JP]
\u65E5\u672C\u96FB\u6C17\u682A\u5F0F\u4F1A\u793E

Resumen de: WO2025203313A1

The present invention makes it possible to accurately predict, when a customer arrives at a certain point using a first transportation facility, the demand for a second transportation facility available to the customer from that point. This demand prediction device comprises: a people arrival count acquisition unit that acquires a people arrival count, which is the number of people who arrive at a prescribed point using a first transportation means, from reservation information of the first transportation means; an attribute information acquisition unit that acquires attribute information of the people who arrive at the prescribed point; and a prediction unit that predicts, at the prescribed point, the demand for one or more second transportation means available to the people who arrive at the prescribed point, on the basis of the people arrival count and the attribute information.

traducir