Ministerio de Industria, Turismo y Comercio LogoMinisterior
 

Tintas y pinturas con propiedades eléctricas

Resultados 25 resultados
LastUpdate Última actualización 05/04/2026 [07:56:00]
pdfxls
Solicitudes publicadas en los últimos 30 días / Applications published in the last 30 days (Publicaciones Chinas excluidas /Chinese publications excluded).
Resultados 1 a 25  

SYSTEMS AND METHODS FOR PRESERVATION OF ANAEROBIC MICROORGANISMS

NºPublicación:  AU2024341114A1 02/04/2026
Solicitante: 
BOOBYBIOME LTD
BOOBYBIOME LIMITED
AU_2024341114_PA

Resumen de: AU2024341114A1

The invention relates to methods for preserving the viability of anaerobic microorganisms in foodstuffs such as milk comprising storing the foodstuffs in a sealable storage container comprising an oxygen scavenging system. The invention also relates to an oxygen scavenging system comprising a body (522) comprising a first end, a second end (526) and a first interior compartment, a lid adapted to close the first end of the body, a gas permeable, liquid impermeable membrane (527), said membrane being suitable for closing the second end of the body, and an oxygen scavenging material (OSM), said OSM being suitable for placement in the first interior compartment.

CONTAINER AND METHOD FOR STORING AND STABILIZING MOISTURE SENSITIVE PRODUCTS

NºPublicación:  US20260084874A1 26/03/2026
Solicitante: 
CSP TECH INC [US]
CSP Technologies, Inc
US_20260084874_A1

Resumen de: US20260084874A1

A container (20) for storing moisture-sensitive products includes a body (100) having a base (102), a sidewall (104) extending upwardly from the base and leading to an opening that provides access to an interior of the body; an oil (2) disposed within a product compartment (110) in the interior of the body, the product compartment being that portion of the interior of the body in which the oil is disposed while the body is standing upright on the base in a resting position; a cap (200′) that covers the opening to form an enclosure that includes the product compartment, the enclosure further including a desiccant compartment positioned above and in fluid communication with the product compartment; and a desiccant material (2000) disposed within the desiccant compartment configured to scavenge moisture from the enclosure so as to stabilize moisture sensitive products suspended in the oil without directly contacting the oil when the body is in the resting position.

Phenylephrine Hydrochloride Compositions and Containers

NºPublicación:  US20260060942A1 05/03/2026
Solicitante: 
PH HEALTH LTD [IE]
PH HEALTH LIMITED
US_20260060942_PA

Resumen de: US20260060942A1

A ready-to-administer antioxidant free phenylephrine compositions has improved stability and is optionally free of metal chelating agents. Contemplated compositions are preferably packaged into a flexible polymer bag and maintain degradation of the phenylephrine at remarkably low levels, even over extended storage periods.

METHOD OF ASSEMBLING AN ELECTRONIC SMOKING ARTICLE

NºPublicación:  EP4696178A2 18/02/2026
Solicitante: 
RAI STRATEGIC HOLDINGS INC [US]
RAI Strategic Holdings, Inc
EP_4696178_A2

Resumen de: EP4696178A2

The present disclosure relates to an electronic smoking article comprising: a housing having an air inlet adapted for entry of air into the housing and an air outlet adapted for exit of a formed aerosol, the inlet and the outlet having an air passage therebetween; a reservoir within the housing that is configured to hold an aerosol precursor fluid; a heater in fluid communication with the reservoir; and one or both of a first check valve positioned at the air inlet and a second check valve positioned at the air outlet.

SYSTEMS AND METHODS FOR DE-OXYGENATION OF A CLOSED CONTAINER

NºPublicación:  EP4695171A1 18/02/2026
Solicitante: 
LUTZ THOMAS [US]
Lutz, Thomas
WO_2024216278_A1

Resumen de: WO2024216278A1

Systems and methods for preserving oxidizable substances such as liquids or foodstuffs are disclosed. These systems incorporate a sealing device and an oxygen scavenging chemical or agent coupleable to or contained within the system. The oxygen scavenging agent can remove the oxygen from the headspace of a container such as a bottle of wine without reducing the pressure in the headspace to the extent that the flavor of the wine is adversely affected. These systems further incorporate a sensing device that communicates to users when the oxygen scavenging agent has been exhausted.

OXYGEN SCAVENGING COMPOSITIONS REQUIRING NO INDUCTION PERIOD

NºPublicación:  US20260042913A1 12/02/2026
Solicitante: 
GRAHAM PACKAGING COMPANY L P [US]
Graham Packaging Company, L.P
US_20260042913_A1

Resumen de: US20260042913A1

A method of forming a rigid plastic tray suitable for oxygen-sensitive products, the method comprising the steps of mixing PET with an oxygen scavenging polymeric composition in an extruder device comprising at least one extruder screw and a melt-processing zone, wherein the PET has an antimony content of less than 46 ppm; commuting the PET and the oxygen scavenging composition through the melt-processing zone of the extruder at a temperature of from about 250 to 300° C., at a total cycle time of less than about 6 minutes and a pressure of from 0 to 900 psig, to form a melted plastic mixture; extruding the melted plastic mixture into a sheet material; thermoforming the sheet material into a rigid plastic tray.

MANGANESE POLYMERS AND CATALYSTS FOR PLASTIC ARTICLES

NºPublicación:  EP4688435A2 11/02/2026
Solicitante: 
PLASTIPAK PACKAGING INC [US]
Plastipak Packaging, Inc
WO_2024211732_PA

Resumen de: WO2024211732A2

A barrier for polymer or plastic molding, such as injection molding, includes a manganese (Mn) catalyst and an oxygen barrier. In embodiments, the Mn catalyst may comprise from 50 ppm Mn to 350 ppm Mn. In embodiments the oxygen barrier may include MXD6. Such barriers may be included with a polymer to form a composition used in a molding (e.g., injection) process. In embodiments, a barrier includes a transition metal catalyst, an organic compound, and a radical initiator. Plastic preforms and containers that are molded with such barriers/compositions are also disclosed.

CANISTER FOR STORING OXYGEN ABSORBER AND PROCESS OF PRODUCING THE SAME

NºPublicación:  WO2026028228A1 05/02/2026
Solicitante: 
JAIN MANISH [IN]
JAIN, Manish
WO_2026028228_PA

Resumen de: WO2026028228A1

The present invention discloses a canister for storing oxygen absorber and a process for preparing the same The canister includes 40 to 60 % by weight of polypropylene (PP), 4 to 26 % by weight of low-density polyethylene (LDPE), 2 to 7 % by weight of high-density polyethylene (HDPE), 1 to 5 % by weight of copolymer and 1 to 2 % by weight of inert filler. The composition for preparing canisters includes a high OTR value and a low MVTR value. The canister of the present invention includes an iron-based or iron free oxygen absorber for oxygen absorption. The canister is leakproof, its interlock design prevents easy opening of lids, is self-activated, moisture independent and compact active packaging allows absorption of residual oxygen and functions efficiently even in presence of moisture and desiccants.

PLASTIC CONTAINER WITH OXYGEN SCAVENGER

NºPublicación:  WO2026030504A1 05/02/2026
Solicitante: 
NIAGARA BOTTLING LLC [US]
NIAGARA BOTTLING, LLC
WO_2026030504_PA

Resumen de: WO2026030504A1

A method of manufacturing a preform may include pre-compounding an oxygen scavenging additive with a catalyst at a ratio greater than or equal to 0.8 and less than or equal to 2.0 to form a pre-compounded additive. The method may also include combining the pre-compounded additive with polyethylene terephthalate (PET) pellets in an injection molding machine. The method may further include injection molding the preform from the PET pellets and the pre-compounded additive.

RECEPTACLE FOR AN ACTIVE SUBSTANCE

NºPublicación:  WO2026028175A1 05/02/2026
Solicitante: 
AIRNOV INC [US]
AIRNOV, INC
WO_2026028175_PA

Resumen de: WO2026028175A1

This receptacle (1) comprises at least one gas-permeable element (2, 4) defining a part of a chamber (3) for an active substance (6). Each gas-permeable element (2, 4) has a base wall (20, 40) and a side wall (22, 42), the base wall (20, 40) comprising perforations (26, 46). The receptacle (1) further comprises a breathable member (5, 7) secured at its periphery in a receiving portion (25, 47) of the at least one gas-permeable element (2, 4) so as to cover the perforations. The breathable member (5, 7) is selected so that a ratio of a bending resistance of the breathable member (5, 7) to a length of insertion (l25, l47) of the breathable member in the receiving portion (25, 47) is between 10 N.m-1 and 100 N.m-1. In addition, an outer diameter of the breathable member (5, 7) is strictly higher than an inner diameter of the receiving portion (25, 47) so that, upon insertion of the breathable member (5, 7) into the receiving portion (25, 47), friction is established between a peripheral edge of the breathable member (5, 7) and an internal surface of the receiving portion (25, 47).

PLASTIC CONTAINER WITH OXYGEN SCAVENGER COATING ON CLOSURE

NºPublicación:  WO2026030461A1 05/02/2026
Solicitante: 
NIAGARA BOTTLING LLC [US]
NIAGARA BOTTLING, LLC
WO_2026030461_PA

Resumen de: WO2026030461A1

A container may include a bottle. A container may include a closure configured to couple to a finish of the bottle to close the bottle, the closure including a body defining a surface, an oxygen scavenger coating on at least a portion of the surface of the body, and an oxygen barrier coating on at least a portion of the oxygen scavenger coating.

COMPUESTOS PARA DEJAR DE FUMAR QUE TIENEN NITROSAMINAS REDUCIDAS Y MÉTODOS ASOCIADOS

NºPublicación:  AR134649A1 04/02/2026
Solicitante: 
ACHIEVE LIFE SCIENCES INC [US]
ACHIEVE LIFE SCIENCES, INC
TW_202529744_A

Resumen de: TW202529744A

Provided herein is a pharmaceutical composition comprising cytisine and a nitrite scavenger, wherein, upon storage of the composition at about 60 DEG C, the amount of N-nitrosocytisine relative to a total weight of cytisine is 4.2 ng/mg or less after about 30 days. A method of manufacturing a cytisine tablet is also provided.

SEALING CAP AND CLOSURE COMPRISING THE SAME

NºPublicación:  US20260021944A1 22/01/2026
Solicitante: 
AIRNOV INC [US]
AIRNOV, INC
US_20260021944_PA

Resumen de: US20260021944A1

A sealing cap, which engages a neck of a bottle, including a top wall from which extend a sidewall and a sealing skirt. The sidewall includes a cap thread to be screwed onto a neck thread of the neck of the bottle around a screwing axis. The sealing skirt includes an inclined sealing surface to be pressed against a corresponding surface of the neck on an opposite side from the surface including the neck thread, upon screwing the cap thread onto the neck thread. The inclined sealing surface is formed by a wall of the sealing skirt surrounding a cavity. An inclination angle between the inclined sealing surface and the screwing axis is between 7° and 25°. An axial length of the cap thread, taken parallel to the screwing axis, is higher than or equal to 1.5 times a pitch of the cap thread.

SUPERABSORBENT POLYMER, METHOD OF MAKING THE SAME, AND FOODSTUFF PACKAGING MATERIAL INCLUDING THE SAME

NºPublicación:  US20260014547A1 15/01/2026
Solicitante: 
FORMOSA PLASTICS CORP [TW]
FORMOSA PLASTICS CORPORATION
US_20260014547_A1

Resumen de: US20260014547A1

The present invention is related to superabsorbent polymer, a method of making the same, and a foodstuff packaging material including the same. The superabsorbent polymer includes a saturated organic acid and maintains excellent absorptive capacity and retention capability. Since the superabsorbent polymer has a high level of polymerization and stability after a polymerization of the aforementioned making method, the superabsorbent polymer has an antibacterial property and a low amount of extractives with low molecular weights. Hence, the superabsorbent polymer can be used as foodstuff packaging material.

SUPERABSORBENT POLYMER, METHOD OF MAKING THE SAME, AND FOODSTUFF PACKAGING MATERIAL INCLUDING THE SAME

NºPublicación:  EP4678683A1 14/01/2026
Solicitante: 
FORMOSA PLASTICS CORP [TW]
Formosa Plastics Corporation
EP_4678683_A1

Resumen de: EP4678683A1

The present invention is related to superabsorbent polymer, a method of making the same, and a foodstuff packaging material including the same. The superabsorbent polymer includes a saturated organic acid and maintains excellent absorptive capacity and retention capability. Since the superabsorbent polymer has a high level of polymerization and stability after a polymerization of the aforementioned making method, the superabsorbent polymer has an antibacterial property and a low amount of extractives with low molecular weights. Hence, the superabsorbent polymer can be used as foodstuff packaging material.

PACKAGE OF MEDICAL RUBBER PRODUCT AND STERILIZATION TREATMENT METHOD THEREOF

NºPublicación:  EP4667383A2 24/12/2025
Solicitante: 
SUMITOMO RUBBER IND [JP]
Sumitomo Rubber Industries, Ltd
EP_4667383_A2

Resumen de: EP4667383A2

Problem to be solved An object of the present invention is to provide a novel package having a medical rubber product stored therein and capable of keeping the oxygen therein at a predetermined concentration or lower. Another object of the present invention is to make it possible to visually confirm the oxygen concentration in the package, thereby facilitating quality assurance by sterilization treatment.Solution to solve problem The present invention is a package having a medical rubber product sealed therein, wherein the package is formed of an oxygen impermeable packaging material and has a first space section and a second space section, the first space section has the medical rubber product stored therein, the second space section has an oxygen detecting agent stored therein, the oxygen detecting agent changes a color tone depending upon an oxygen concentration, and the first space section and the second space section are divided by an oxygen permeable divider.

PACKAGED BODY OF RUBBER PRODUCT FOR MEDICAL USE, AND METHOD FOR STERILIZING SAME

NºPublicación:  EP4663575A1 17/12/2025
Solicitante: 
SUMITOMO RUBBER IND [JP]
SUMITOMO RUBBER INDUSTRIES, LTD
EP_4663575_A1

Resumen de: EP4663575A1

Problem to be solved An object of the present invention is to provide a novel package having a medical rubber product stored therein and capable of keeping the oxygen therein at a predetermined concentration or lower. Another object of the present invention is to make it possible to visually confirm the oxygen concentration in the package, thereby facilitating quality assurance by sterilization treatment.Solution to solve problem The present invention is a package having a medical rubber product sealed therein, wherein the package is formed of an oxygen impermeable packaging material and has a first space section and a second space section, the first space section has the medical rubber product stored therein, the second space section has an oxygen detecting agent stored therein, the oxygen detecting agent changes a color tone depending upon an oxygen concentration, and the first space section and the second space section are divided by an oxygen permeable divider.

VACUUM FOOD STORAGE BARREL

NºPublicación:  US2025368421A1 04/12/2025
Solicitante: 
SHENZHEN UAH TECH CO LTD [CN]
SHENZHEN UAH TECHNOLOGY CO., LTD
US_2025368421_PA

Resumen de: US2025368421A1

A vacuum food storage barrel includes a vacuum pump assembly, an induction assembly, a barrel lid, and a barrel body provided with a storage space. The barrel lid is rotatably installed on the barrel body and used for covering the storage space; the vacuum pump assembly and the introduction assembly are both installed on the barrel lid, and the vacuum pump assembly and the introduction assembly are electrically connected; and the induction assembly is used for pumping the storage space into a vacuum state through the vacuum pump assembly when the barrel lid is lifted on the barrel body. According to the present application, the vacuum pump assembly can be automatically triggered in the process of closing the barrel lid, eliminating the need to manually press buttons. The vacuum food storage barrel offers enhanced convenience and user experience.

SEALING CAP AND CLOSURE COMPRISING THE SAME

NºPublicación:  EP4655219A1 03/12/2025
Solicitante: 
AIRNOV INC [US]
Airnov, Inc
CN_120584079_PA

Resumen de: CN120584079A

A sealing cap (4) configured to engage with a threaded neck of a bottle includes a top wall (43) from which a side wall (41) and a sealing skirt (46) extend. The side wall (41) comprises a cap thread (44) configured to be screwed onto the neck thread about a screwing axis (X1). The sealing skirt (46) includes an inclined sealing surface (47) configured to press against a corresponding surface of the neck on a side opposite the surface including the neck thread when the cap thread (44) is screwed onto the neck thread, the inclined sealing surface (47) being formed by a wall of the sealing skirt (46) surrounding the cavity. The inclination angle (alpha) between the inclined sealing surface (47) and the screwing axis (X1) is selected to be between 7 DEG and 25 DEG, and the axial length (hT) of the cap thread (44) taken parallel to the screwing axis (X1) is higher than or equal to 1.5 times the pitch (p) of the cap thread.

TAMPER-EVIDENT CLOSURE

NºPublicación:  US2025361064A1 27/11/2025
Solicitante: 
AIRNOV INC [US]
AIRNOV, INC
US_2025361064_PA

Resumen de: US2025361064A1

A tamper-evident closure including an outer cap with a sidewall and a top wall; an inner cap with a sidewall and a top wall, coaxially nested in the outer cap; a safety strip arranged between the outer cap and the inner cap to block at least one degree of freedom of relative movement of the outer and inner caps, wherein the safety strip is integrally made with one cap and connected thereto by a frangible structure; a first engagement mechanism between the safety strip and the other cap, to drive the caps in unison in a screwing direction to mount the closure on the container; a second engagement mechanism between the caps, to drive the caps in unison in an unscrewing direction (R2) to remove the closure from the container, wherein the second engagement mechanism is activatable when the safety strip has been removed.

HEAT STABLE LIQUID ANALYTICAL REAGENTS

NºPublicación:  EP4651995A1 26/11/2025
Solicitante: 
TAYLOR WATER TECH LLC [US]
Taylor Water Technologies LLC
US_2024246081_PA

Resumen de: US2024246081A1

An apparatus for prolonging the stability of a liquid analytical reagent, even under high temperature storage is provided. The apparatus includes a first barrier forming all or a portion of an exterior of the apparatus, and a second barrier forming all or part of a second section within the apparatus. The first barrier includes a material having a permeability to oxygen of less than 50 cc/m2/24 hours, and the second barrier includes a material having a permeability to oxygen of 50 cc/m2/24 hours or more. A liquid analytical reagent is contained within the second section and an oxygen scavenger is separated from the liquid analytic reagent by the second barrier.

POROUS COATINGS COMPRISING MINERALS AND AN OXYGEN SCAVENGER FOR IMPROVING FOOD SHELF LIFE

NºPublicación:  US2025353658A1 20/11/2025
Solicitante: 
OMYA INT AG [CH]
Omya International AG
JP_2025523717_PA

Resumen de: US2025353658A1

The present invention relates to a kit for improving food shelf life comprising a sheet-like element component and an alkaline component. The sheet-like element component comprises a particulate filler comprising a mineral a binder and an oxygen scavenger. The oxygen scavenger is a compound comprising at least two phenolic hydroxyl groups, which can be deprotonated by the alkaline component, thus activating the oxygen scavenger. Further aspects of the present invention relate to an activated sheet-like element formed from the inventive kit, a process for the manufacture of a kit for improving shelf life, a process for the manufacture of a sheet-like element component, a process for activating the sheet-like element component, a supply device comprising the activated sheet-like element, a food packaging comprising the activated sheet-like element and the use of the kit or the activated sheet-like element in a food packaging and for prolonging food shelf life.

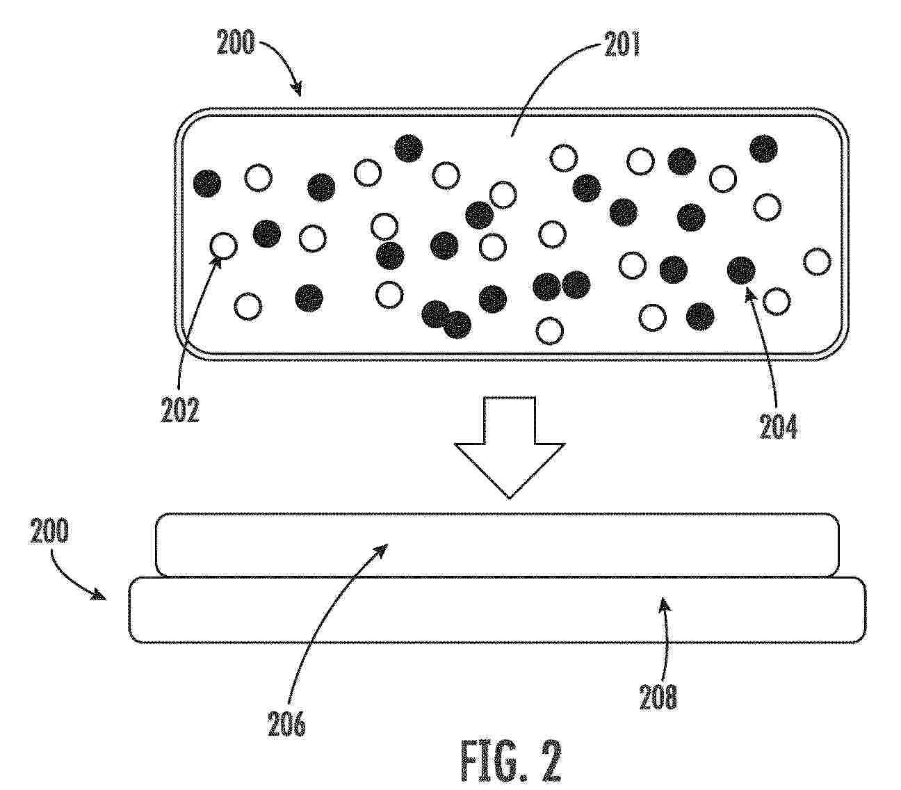
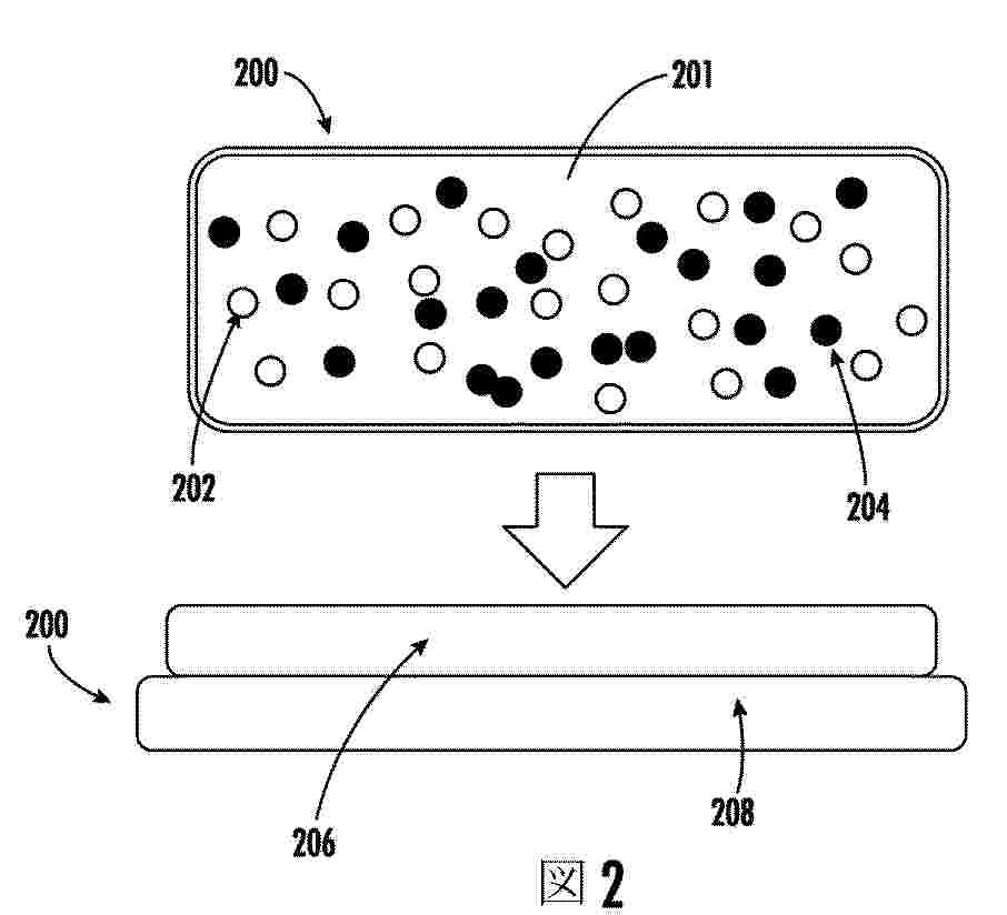
ANISOTROPIC CONDUCTIVE ELASTIC MATERIAL INCLUDING LIQUID METAL PARTICLES AND ITS MANUFACTURING METHOD

NºPublicación:  US2025357018A1 20/11/2025
Solicitante: 
MIDAS H & T INC [KR]
POSTECH ACADEMY IND FOUNDATION [KR]
MIDAS H & T INC,
POSTECH ACADEMY-INDUSTRY FOUNDATION
JP_2025518499_PA

Resumen de: US2025357018A1

The present invention relates to a stretchable anisotropic conductive film containing liquid metal particles and a manufacturing method therefor. The stretchable anisotropic conductive film according to the present invention includes: a stretchable base material; and a liquid metal portion formed and arranged within the stretchable base material.

ARTICLE AND METHOD OF MAKING

NºPublicación:  WO2025231124A1 06/11/2025
Solicitante: 
SAINT GOBAIN PERFORMANCE PLASTICS CORP [US]
SAINT-GOBAIN PERFORMANCE PLASTICS CORPORATION
WO_2025231124_PA

Resumen de: WO2025231124A1

The subject application relates to an article and method of making. An article includes a polymer composition, the polymer composition including a silicone elastomer and a hydrogen peroxide degradation catalyst.

BEVERAGE SEALING CAP

Nº publicación: US2025333221A1 30/10/2025

Solicitante:

STASIS PRESERVATION LLC [US]
STASIS PRESERVATION LLC

US_2025333221_PA

Resumen de: US2025333221A1

A beverage sealing cap that absorbs oxygen keeps a bottled beverage, such as a bottle of wine, fresh after opening and re-sealing. The beverage sealing cap is made with a thermoplastic elastomer stopper containing an oxygen absorber. When inserted into an opened beverage bottle, the stopper seals the bottle to prevent ingress of air, while the oxygen absorber removes the oxygen present in the air inside the bottle. As a result, the contents of the bottle are preserved in a fresh state, avoiding degradation of flavor and waste due to spoilage.

traducir