Ministerio de Industria, Turismo y Comercio LogoMinisterior
 

Redes Neuronales

Resultados 56 resultados
LastUpdate Última actualización 30/04/2026 [07:41:00]
pdfxls
Solicitudes publicadas en los últimos 30 días / Applications published in the last 30 days
Resultados 1 a 25 de 56 nextPage  

DATA PROCESSING METHOD AND APPARATUS BASED ON MULTI-MODAL FUSION

NºPublicación:  WO2026081365A1 23/04/2026
Solicitante: 
NANCHANG VIRTUAL REALITY RES INSTITUTE CO LTD [CN]
\u5357\u660C\u865A\u62DF\u73B0\u5B9E\u7814\u7A76\u9662\u80A1\u4EFD\u6709\u9650\u516C\u53F8
WO_2026081365_A1

Resumen de: WO2026081365A1

The present application belongs to the technical field of data processing. Provided are a data processing method and apparatus based on multi-modal fusion. The method comprises: acquiring one-dimensional data and image data; on the basis of the size of the image data, converting the one-dimensional data into two-dimensional data; performing zero padding processing on vacant positions in the two-dimensional data; performing stacking processing on the two-dimensional data which has been subjected to the zero padding processing, and the image data, so as to obtain a multi-layer stacked input feature map; by means of a neural network, performing fusion processing on the multi-layer stacked input feature map, so as to obtain a fused feature map; and on the basis of the fused feature map, performing data processing. In the present invention, one-dimensional data is converted into two-dimensional data which is of the same size as image data, and the two-dimensional data is stacked with the image data, such that data formats of different modalities can be unified, and the data can be processed within the same feature space, thereby greatly simplifying an alignment process between heterogeneous data.

DEEP NEURAL NETWORK BASED IMAGE COMPRESSION USING A LATENT SHIFT BASED ON GRADIENT OF LATENTS ENTROPY

NºPublicación:  US20260112068A1 23/04/2026
Solicitante: 
INTERDIGITAL CE PATENT HOLDINGS SAS [FR]
US_20260112068_A1

Resumen de: US20260112068A1

A deep neural network based video compression system in which gradients of entropies with respect to side and main latents are used on decoding side to improve compression efficiency.

ACCELERATED MOTION ROBUST LOW-FIELD NEONATAL MAGNETIC RESONANCE IMAGING SYSTEM AND METHOD

NºPublicación:  WO2026085482A1 23/04/2026
Solicitante: 
BOARD OF REGENTS THE UNIV OF TEXAS SYSTEM [US]
WO_2026085482_A1

Resumen de: WO2026085482A1

An exemplary AI system and method are disclosed for reconstructing high-fidelity motion-corrected MRI scans from low-field, motion-corrupted MRI scans (e.g., neonatal MRI data) using a neural network (NN) model in combination with a physics-based motion model. The exemplary AI system and method can enhance image quality and remove motion artifacts which can allow for scans to be performed with significantly reduced scan time, a particular benefit for neonatal subjects as well as all patients when employing low-field MRI.

METHOD AND ELECTRONIC DEVICE FOR PROVIDING SHOPPING INFORMATION USING PRODUCT RECOGNITION

NºPublicación:  US20260111947A1 23/04/2026
Solicitante: 
DEEPX CO LTD [KR]
US_20260111947_A1

Resumen de: US20260111947A1

0000 A method for providing shopping information using an electronic device is disclosed. The method includes inputting a product image acquired via a camera module into an AI recognition model including an artificial neural network to obtain recognition results, and determining whether product information is recognized from the product image. When the AI recognition model fails to recognize the product information, a user input interface is displayed together with recognition failure information on a display module. User input data is received through the user input interface, and the product information is determined based on the received user input data. A query based on the product information is transmitted to a server via a communication module, and shopping information corresponding to the transmitted query is received from the server and displayed on the display module.

A multi-disaster fusion natural fission early warning method and system in coal mine

NºPublicación:  US20260111703A1 23/04/2026
Solicitante: 
CCTEG CHONGQING RES INSTITUTE [CN]
US_20260111703_A1

Resumen de: US20260111703A1

The present invention discloses a coal mine multi-disaster fusion early warning method and system, applicable in coal mine safety disaster analysis. First, it builds a model and relationship network among multi-disaster early warning entities, updating the network by specific rules. A trend prediction model using an LSTM artificial neural network is then developed for monitoring object trends, along with natural fission analysis rules. Next, a method for identifying anomalies in single disaster events is established through a disaster index prediction and early warning system. Upon detecting an anomaly in an early warning index, other disaster indexes are assessed using a depth-first traversal algorithm and natural fission rules, facilitating targeted forecasting. This invention builds a predictive relationship chain among early warning indexes through correlation analysis, providing advantages in multi-dimensional analysis and advanced trend prediction.

Subtask Adaptable Neural Network

NºPublicación:  US20260111736A1 23/04/2026
Solicitante: 
GOOGLE LLC [US]
US_20260111736_A1

Resumen de: US20260111736A1

0000 At training time, a base neural network can be trained to perform each of a plurality of basis subtasks included in a total set of basis subtasks (e.g., individually or some combination thereof). Next, a description of a desired combined subtask can be obtained. Based on the description of the combined subtask, a mask generator can produce a pruning mask which is used to prune the base neural network into a smaller combined-subtask-specific network that performs only the two or more basis subtasks included in the combined subtask.

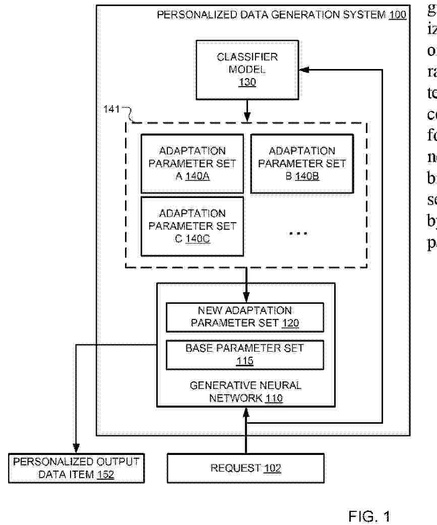
FINE-TUNING GENERATIVE NEURAL NETWORKS FOR GENERATING DATA ITEMS WITH A TARGET PROPERTY

NºPublicación:  US20260111744A1 23/04/2026
Solicitante: 
DEEPMIND TECH LIMITED [GB]
US_20260111744_A1

Resumen de: US20260111744A1

0000 Methods, systems, and apparatus, including computer programs encoded on computer storage media, for fine-tuning a generative neural network. For example, the system can fine-tune the generative neural network to more effectively generate data items that have a target property.

SIGNALING OF FEATURE MAP DATA

NºPublicación:  US20260113472A1 23/04/2026
Solicitante: 
HUAWEI TECH CO LTD [CN]
US_20260113472_A1

Resumen de: US20260113472A1

The present disclosure relates to an efficient signaling of feature map information for a system employing a neural network. In particular, at the decoder side, a presence indicator is obtained based on information parsed from a bitstream. Based on the value of the obtained presence indicator, further data related to a feature map region are parsed or the parsing is bypassed. The presence indicator may be, for instance a region presence indicator indicating whether feature map data is included in the bitstream, or may be a side information presence indicator indicating whether a side information related to the feature map data is included in the bitstream. Similarly, an encoding method, as well as encoding and decoding devices are provided. Accordingly, the feature map data may be processed more efficiently, including reduction of decoding complexity as well as reduction of the amount of transmitted data by applying the bypassing.

SYSTEMS AND METHODS FOR SEQUENCING IMAGE ANALYSIS

NºPublicación:  US20260112454A1 23/04/2026
Solicitante: 
ILLUMINA INC [US]
US_20260112454_A1

Resumen de: US20260112454A1

A system, a method and a non-transitory computer readable storage medium for base calling are described. The base calling method includes processing through a neural network first image data comprising images of clusters and their surrounding background captured by a sequencing system for one or more sequencing cycles of a sequencing run. The base calling method further includes producing a base call for one or more of the clusters of the one or more sequencing cycles of the sequencing run.

TRAINING A COMPUTER VISION MODEL TO CLASSIFY HEALTH TEST KIT RESULTS

NºPublicación:  US20260105727A1 16/04/2026
Solicitante: 
SAFE HEALTH SYSTEMS INC [US]
US_20260105727_A1

Resumen de: US20260105727A1

To train a computer vision model to classify health test kit results, a computing system obtains a plurality of training images. Each training image depicts a plurality of health test results in respective segments of a test membrane of a health test kit. The computing system obtains, for each training image, labeling indicating the health test results depicted by the training image. The computing system trains a plurality of local Convolutional Neural Networks (CNNs) of the computer vision model in parallel. Each of the local CNNs is trained to predict the health test result depicted in a respective one of the segments based on local features extracted by the local CNN from the respective one of the segments of each training image and global features extracted by a global CNN of the computer vision model from the test membrane of each training image.

CONVOLUTIONAL NEURAL NETWORK SYSTEMS AND METHODS FOR DATA CLASSIFICATION

NºPublicación:  US20260105989A1 16/04/2026
Solicitante: 
GRAIL INC [US]
US_20260105989_A1

Resumen de: US20260105989A1

Classification of cancer condition, in a plurality of different cancer conditions, for a species, is provided in which, for each training subject in a plurality of training subjects, there is obtained a cancer condition and a genotypic data construct including genotypic information for the respective training subject. Genotypic constructs are formatted into corresponding vector sets comprising one or more vectors. Vector sets are provided to a network architecture including a convolutional neural network path comprising at least a first convolutional layer associated with a first filter that comprise a first set of filter weights and a scorer. Scores, corresponding to the input of vector sets into the network architecture, are obtained from the scorer. Comparison of respective scores to the corresponding cancer condition of the corresponding training subjects is used to adjust the filter weights thereby training the network architecture to classify cancer condition.

CONTINUOUS CONTROL WITH DEEP REINFORCEMENT LEARNING

NºPublicación:  US20260105316A1 16/04/2026
Solicitante: 
GDM HOLDING LLC [US]
US_20260105316_A1

Resumen de: US20260105316A1

Methods, systems, and apparatus, including computer programs encoded on computer storage media, for training an actor neural network used to select actions to be performed by an agent interacting with an environment. One of the methods includes obtaining a minibatch of experience tuples; and updating current values of the parameters of the actor neural network, comprising: for each experience tuple in the minibatch: processing the training observation and the training action in the experience tuple using a critic neural network to determine a neural network output for the experience tuple, and determining a target neural network output for the experience tuple; updating current values of the parameters of the critic neural network using errors between the target neural network outputs and the neural network outputs; and updating the current values of the parameters of the actor neural network using the critic neural network.

Systems and Methods for Training a Neural Network for 3D Object Reconstruction

NºPublicación:  US20260104249A1 16/04/2026
Solicitante: 
ARTEC EUROPE S A R L [LU]
US_20260104249_A1

Resumen de: US20260104249A1

In accordance with some embodiments, systems and methods are provided for training a neural network using simulated data so that the neural network can determine correspondence between a projection pattern and an image of the projection pattern shone onto the surface of an object. The trained neural network can be used to output a correspondence between respective pixels in an image of a real object with the projection pattern projected thereon and coordinates of the projection pattern. The method can further include, using the correspondence between respective pixels in the image and coordinates of the projection pattern, reconstructing a shape of the surface of the real object.

AI INFERENCE COMPILER AND RUNTIME TOOL CHAIN

NºPublicación:  US20260104893A1 16/04/2026
Solicitante: 
TESLA INC [US]
US_20260104893_A1

Resumen de: US20260104893A1

Embodiments include systems and methods for processing sensor data and generating operational instructions of hardware of egos (e.g., autonomous vehicles, robots). The ego includes any number of machine-learning architectures, often neural network architectures, for processing sensor data and recognizing the environment around the ego and making decisions on the ego's behavior. The neural network architectures of the ego ingest sensor data and execute any number of operations related to a particular domain or task, such as object recognition or path planning, using the sensor data. A graph partitioner is trained to assign functions in the software of the neural networks and the sensor data to certain hardware processing units. Several compilers are used to generate the instructions based upon the assigned type of processing unit.

DISASTER SMOKE DETECTION METHOD BASED ON DEEP CONVOLUTIONAL NEURAL NETWORK

NºPublicación:  US20260105726A1 16/04/2026
Solicitante: 
SUN YAT SEN UNIV [CN]
US_20260105726_A1

Resumen de: US20260105726A1

A disaster smoke detection method includes: performing a first convolution operation on an input image to extract features to generate a primary feature map; performing enhancement processing on the primary feature map to obtain an enhanced feature map; performing multi-scale fusion on the enhanced feature map according to a second convolution operation to obtain a plurality of feature maps of different scales as high-level feature maps; respectively performing top-down feature fusion and bottom-up feature fusion on each high-level feature map at each scale according to a third convolution operation to correspondingly obtain a plurality of top-down fused feature maps and a plurality of bottom-up fused feature maps; fusing the top-down fused feature maps and the bottom-up fused feature maps to obtain a plurality of bidirectional cross-fused feature maps; and performing disaster and smoke detection on each of the bidirectional cross-fused feature maps.

CHARPY IMPACT SPECIMEN NOTCH INSPECTOR AND USE METHOD THEREOF

NºPublicación:  US20260104336A1 16/04/2026
Solicitante: 
GUANGZHOU KEYUAN INDUSTRY EQUIPMENT INSTALLATION INSPECTION & TESTING TECH CO LTD [CN]
US_20260104336_A1

Resumen de: US20260104336A1

Provided is a Charpy impact specimen notch inspector and a use method thereof. The Charpy impact specimen notch inspector includes an inspection table, where a specimen auto-alignment mechanism is provided on a top of the inspection table; a support rod is fixedly connected to a rear side of the top of the inspection table; a host is fixedly connected to a front side of the support rod; and a switch button and a universal serial bus (USB) interface are provided at a left side of the host. This application can automatically recognize and align the position of the to-be-inspected Charpy impact specimen, without adjusting the Charpy impact specimen back and forth, thereby improving the inspection efficiency. Moreover, this application can directly compare the notch picture of the Charpy impact specimen with the corresponding standard model based on the residual neural network in inspection to determine whether the notch is qualified.

USING NeRF MODELS TO FACILITATE OPERATIONS OF A UAV DELIVERY SERVICE

NºPublicación:  AU2024367742A1 16/04/2026
Solicitante: 
WING AVIATION LLC
AU_2024367742_PA

Resumen de: AU2024367742A1

A method of operation of an unmanned aerial vehicle (UAV) service includes acquiring aerial images of a scene at an area of interest (AOI), wherein the aerial images are acquired with a UAV of the UAV service during a flight mission of the UAV that passes over the AOI; uploading a mission log of the flight mission to a backend data system of the UAV service, the mission log including image data that includes, or is derived from, at least a portion of the aerial images; and training a neural radiance field (NeRF) model with one or more of the aerial images, wherein the NeRF model comprises a neural network, which after the training, encodes a volumetric representation of the scene capable of generating novel views of the scene different than any of the aerial images used to train the NeRF model.

SYSTEMS AND METHODS FOR GENERATING MULTIMODAL DATA USING A SINGLE-TOWER ARCHITECTURE WITH A DATA GENERATION SUBSYSTEM

NºPublicación:  US20260105650A1 16/04/2026
Solicitante: 
GDM HOLDING LLC [US]
US_20260105650_A1

Resumen de: US20260105650A1

A computer-implemented method of generating multimodal data. The method comprises using a token generation neural network to generate, autoregressively, an output sequence of multimodal tokens, and in response to a next multimodal token being a start-of-image token, generating an image using an image generation subsystem conditioned on features representing the current sequence of multimodal tokens obtained from the token generation neural network. The method further comprises processing the image to convert pixels of the image into a sequence of image tokens, each image token comprising a block encoding of values of the pixels in a different region of the image that maps a set of values of the pixels to a respective image token, and appending the sequence of image tokens to the current output sequence of multimodal tokens as the next multimodal tokens in the output sequence of multimodal tokens.

COMPUTING RAY PATH BETWEEN SOURCE ANTENNA LOCATION AND DESTINATION ANTENNA LOCATION

NºPublicación:  EP4726608A2 15/04/2026
Solicitante: 
BOEING CO [US]
EP_4726608_PA

Resumen de: EP4726608A2

0001 A computing system (10) including a processor (14) configured to receive a mesh (30) of a three-dimensional geometry (38). The processor is further configured to receive a source antenna location (40) and a destination antenna location (42) on the mesh. The processor is further configured to compute a ray path (60) as an estimated shortest path between the source antenna location and the destination antenna location. The ray path includes a geodesic path (62) over the mesh and a free space path (64) outside the mesh. The ray path is computed at least in part by computing the geodesic path at least in part by performing inferencing at a trained neural network (52). Computing the ray path further includes computing the free space path at least in part by performing raytracing from a launch point (66) located at an endpoint of the geodesic path. The processor is further configured to output the ray path to an additional computing process (70).

A METHOD AND AN IMAGE PROCESSING DEVICE FOR IDENTIFYING DEPICTED OBJECTS WHICH ARE VISUALLY SIMILAR TO REFERENCE OBJECTS

NºPublicación:  EP4726672A1 15/04/2026
Solicitante: 
AXIS AB [SE]
EP_4726672_PA

Resumen de: EP4726672A1

0001 A method for identifying objects in a set of images which are visually similar to reference objects comprises: receiving an indication of regions where reference objects are depicted; forming a reference pool with data records representing the reference objects; generating a text embedding (TE) and a visual embedding (VE) for each of the reference objects, by applying neural networks to image data from the regions where the reference objects are depicted; detecting a plurality of candidate objects in the set of images, and generating a TE and a VE for each; approving a detected candidate object for addition to the reference pool only if the reference pool contains a reference object fulfilling a first similarity criterion (C<1>), which depends both on TE similarity and VE similarity, in relation to the detected candidate object; extending the reference pool by adding all approved candidate objects; and identifying a detected candidate object as visually similar to the reference objects only if the extended reference pool contains a reference object fulfilling a second similarity criterion (C<2>), which depends on VE similarity, in relation to the detected candidate object.

FINGERPRINT ANTI-SPOOFING NEURAL NETWORK TRAINING METHOD AND APPARATUS AND FINGERPRINT ANTI-SPOOFING METHOD AND APPARATUS

NºPublicación:  EP4726674A1 15/04/2026
Solicitante: 
SHENZHEN GOODIX TECH CO LTD [CN]
EP_4726674_A1

Resumen de: EP4726674A1

Embodiments of the present disclosure provide a method for training a fingerprint anti-counterfeiting neural network, a method for fingerprint anti-counterfeiting, an apparatus for training a fingerprint anti-counterfeiting neural network, and an apparatus for fingerprint anti-counterfeiting, comprising: obtaining a plurality of groups of training data, each group of the training data comprising: first raw domain data, second raw domain data, and third raw domain data; and training an initial classification network using the plurality of groups of training data to obtain a target classification network, wherein the initial classification network comprises a fusion subnetwork and a classification subnetwork, and for each group of the training data, the fusion subnetwork is configured to generate a first fingerprint matching pair based on a feature description matrix of the first raw domain data and the second raw domain data, and generate a second fingerprint matching pair based on a feature description matrix of the first raw domain data and the third raw domain data, and the classification subnetwork is configured to perform fingerprint classification and recognition based on the first fingerprint matching pair and the second fingerprint matching pair. The present disclosure solves the problem of low recognition accuracy rate of real and prosthetic fingerprints in related art, and achieves the effects of improving the recognition accuracy rate of real and prosthetic fingerpr

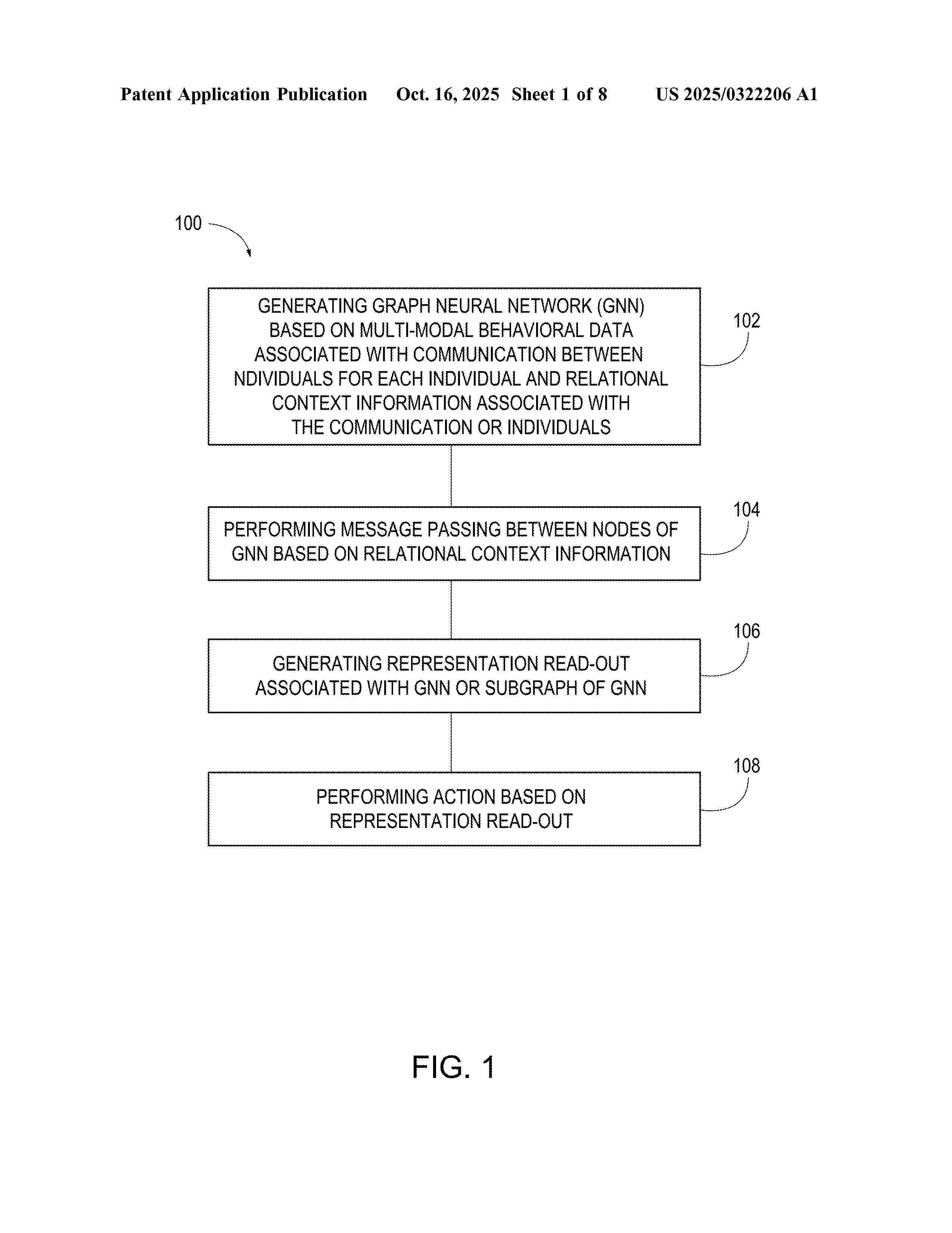
NODE CLASSIFICATION METHOD AND SYSTEM BASED ON GRAPH NEURAL NETWORK, AND RELATED DEVICE

NºPublicación:  EP4726579A1 15/04/2026
Solicitante: 
HUAWEI TECH CO LTD [CN]
EP_4726579_A1

Resumen de: EP4726579A1

0001 A graph neural network-based node classification method and system, and a related device are provided. In the method, during training of a model, categories of a plurality of neighboring node samples in a graph data sample are first predicted to obtain category distribution of the plurality of neighboring node samples, and sampling is then performed on the plurality of neighboring node samples based on the category distribution and a sampling parameter input by a user to obtain a plurality of sampled nodes, so that category distribution of the plurality of sampled nodes is similar to or consistent with the category distribution of the plurality of neighboring node samples. In this way, features of the sampled nodes obtained through sampling can cover features of all neighboring nodes, thereby reducing calculation complexity. In addition, the category distribution of the sampled nodes is closer to true distribution of the neighboring nodes, thereby improving performance of a graph neural network.

METHOD AND DEVICE FOR DIAGNOSING KIDNEY DISEASE

NºPublicación:  EP4725391A1 15/04/2026
Solicitante: 
MEDIWHALE INC [KR]
EP_4725391_PA

Resumen de: EP4725391A1

0001 A method and device for diagnosing renal disease are disclosed. A control method of a diagnostic device according to one embodiment comprises: obtaining a retinal image of a subject; and obtaining renal disease diagnostic information regarding the subject using a machine learning model based on the retinal image, wherein the machine learning model includes a first model and a second model, wherein the first model is a neural network model, and wherein the second model is a regression-based machine learning model.

SPARSITY-AWARE NEURAL NETWORK PROCESSING

NºPublicación:  EP4724942A1 15/04/2026
Solicitante: 
MICROSOFT TECHNOLOGY LICENSING LLC [US]
WO_2024254102_PA

Resumen de: WO2024254102A1

Various embodiments discussed herein are directed to improving hardware consumption and computing performance by performing neural network operations on dense tensors using sparse value information from original tensors. Such dense tensors are condensed representations of other original tensors that include zeros or other sparse values. In order to perform these operations, particular embodiments provide an indication, via a binary map, of a position of where the sparse values and non-sparse values are in the original tensors. Particular embodiments additionally or alternatively determine shape data of the original tensors so that these operations are accurate.

SENSOR-PROCESSING SYSTEMS INCLUDING NEUROMORPHIC INTEGRATED CIRCUITS AND METHODS THEREOF

Nº publicación: US20260100186A1 09/04/2026

Solicitante:

SYNTIANT [US]

US_20260100186_A1

Resumen de: US20260100186A1

0000 Disclosed is a sensor-processing system including, in some embodiments, a sensor, one or more sample pre-processing modules, one or more sample-processing modules, one or more neuromorphic integrated circuits (“ICs”), and a microcontroller. The one or more sample pre-processing modules are configured to process raw sensor data for use in the sensor-processing system. The one or more sample-processing modules are configured to process pre-processed sensor data including extracting features from the pre-processed sensor data. Each of the neuromorphic ICs includes at least one neural network configured to arrive at actionable decisions of the neural network from the features extracted from the pre-processed sensor data. The microcontroller includes a CPU along with memory including instructions for operating the sensor-processing system. In some embodiments, the sensor is a pulse-density modulation (“PDM”) microphone, and the sensor-processing system is configured for keyword spotting. Also disclosed are methods of such a keyword spotting sensor-processing system.

traducir