Ministerio de Industria, Turismo y Comercio LogoMinisterior
 

Machine learning

Resultados 98 resultados
LastUpdate Última actualización 06/11/2025 [07:10:00]
pdfxls
Solicitudes publicadas en los últimos 30 días / Applications published in the last 30 days
Resultados 1 a 25 de 98 nextPage  

DETERMINING CONFIDENCE TO START VALUES FOR POWER GENERATION SYSTEMS USING MACHINE LEARNING MODELS

NºPublicación:  EP4643276A1 05/11/2025
Solicitante: 
CUMMINS POWER GENERATION LTD [GB]
Cummins Power Generation Limited
CN_120500694_PA

Resumen de: CN120500694A

Systems and methods for applying a machine learning (ML) model to determine a startup confidence value for a generator are presented herein. The computing system may identify a first plurality of parameters of the first generator. The plurality of parameters may identify operation of the first generator. The computing system may apply the first plurality of parameters to the ML model to determine a first confidence value that identifies a first likelihood that the first generator is started at initiation. The computing system may provide an output based on a first confidence value of the first generator.

SYSTEMS AND METHODS FOR USING MACHINE LEARNING TECHNIQUES TO PREDICT ITEM GROUP COMPOSITION

NºPublicación:  EP4643284A1 05/11/2025
Solicitante: 
FIDELITY INFORMATION SERVICES LLC [US]
Fidelity Information Services, LLC
CN_120266139_PA

Resumen de: CN120266139A

Systems and methods for predicting group composition of items are disclosed. A system for predicting group composition of items may include a memory storing instructions and at least one processor configured to execute the instructions to perform operations including: receiving entity identification information and a timestamp associated with a transaction without receiving information distinguishing items associated with the transaction; determining a localized machine learning model based on the entity identification information, the localized machine learning model trained to predict a category of an item based on transaction information applied to all of the items associated with the transaction; and applying the localized machine learning model to a model input to generate a predicted category of items associated with the transaction, the model input including the received entity identification information and timestamps but not information distinguishing items associated with the transaction.

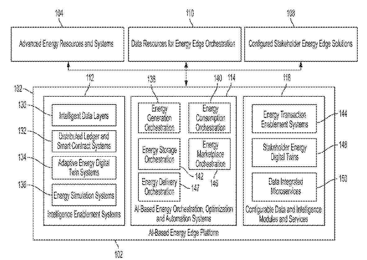
AI-Based Energy Edge Platform, Systems, and Methods Having a Digital Twin of Decentralized Infrastructure

NºPublicación:  US2025334943A1 30/10/2025
Solicitante: 
STRONG FORCE EE PORTFOLIO 2022 LLC [US]
Strong Force EE Portfolio 2022, LLC
US_2025334943_PA

Resumen de: US2025334943A1

An AI-based platform for enabling intelligent orchestration and management of power and energy is provided herein. The AI-based platform includes a digital twin system including a plurality of digital twins of energy operating assets, the plurality of digital twins of energy operating assets including at least one energy generation digital twin, energy storage digital twin, energy delivery digital twin, and/or energy consumption digital twin, and a set of energy simulation systems configured to generate a simulation of energy-related behavior of at least one of the plurality of digital twins of energy operating assets, and a machine-learning system configured to generate a predicted state of at least one of the energy operating assets. The simulation of energy-related behavior is based on historical patterns, current states, and the predicted state of at least one of the energy operating assets.

SYSTEMS AND METHODS FOR DETERMINING A USER SPECIFIC MISSION OPERATIONAL PERFORMANCE METRIC, USING MACHINE-LEARNING PROCESSES

NºPublicación:  US2025335326A1 30/10/2025
Solicitante: 
GMECI LLC [US]
GMECI, LLC
US_2025335326_PA

Resumen de: US2025335326A1

Aspects relate to system and methods for determining a user specific mission operational performance, using machine-learning processes. An exemplary system includes a computing device configured to perform operations including receiving user-input structured data from at least a user device, receiving observed structured data related to the user and a mission performance metric, inputting the user-input structured data and the observed structured data to a machine-learning model, generating a user performance metric as a function of the machine-learning model, receiving a deterministic mission operational performance metric, disaggregating a deterministic user performance metric as a function of the deterministic mission operation performance metric and the mission performance metric, inputting training data to a machine-learning algorithm, where the training data includes the user-input structured data and the observed structured data correlated to the deterministic user performance metric, and training the machine-learning model as a function of the machine-learning algorithm and the training data.

SYSTEMS AND METHODS FOR OBJECT FORMULATION UTILIZING ARTIFICIAL INTELLIGENCE AND MACHINE LEARNING TECHNIQUES

NºPublicación:  WO2025226533A1 30/10/2025
Solicitante: 
MARS INCORPORATED [US]
MARS, INCORPORATED
WO_2025226533_PA

Resumen de: WO2025226533A1

A method may receive, by one or more processors, relevant data from a plurality of data sources. A method may input the relevant data, by the one or more processors into a machine learning model, for generating iterations of object models and iterations of object designs. A method may assess, by the one or more processors utilizing an artificial intelligence module, one or more of object performance metrics, user experience indicators, or industry acceptance probabilities based on user feedback and state pattern. A method may cause, by the one or more processors, iterative refinement of the object models and the object designs.

SELECTABLE ENCRYPTION FOR 5G OPEN RADIO ACCESS NETWORK

NºPublicación:  WO2025226317A2 30/10/2025
Solicitante: 
DISH WIRELESS L L C [US]
DISH WIRELESS L.L.C
WO_2025226317_PA

Resumen de: WO2025226317A2

Techniques for encrypting data within a 5G Open Radio Access Network (O-RAN) includes receiving, at a first module of the 5G O-RAN, a first set of one or more data packets encrypted using mathematical encryption. The method also includes determining, using a machine-learning model trained to detect cybersecurity threats, the existence of a cybersecurity threat associated with the voice or data transaction, and in response, determining to switch encryption from the mathematical encryption to quantum encryption. The method further includes encrypting the one or more data packets using a quantum encryption key to generate quantum-encrypted data packets, transmitting the quantum encryption key from the first module of the 5G O-RAN core to a second module of the 5G O-RAN over a quantum key distribution (QKD) channel, and transmitting the quantum-encrypted data packets from the first module of the 5G O-RAN to the second module of the 5G O-RAN.

MACHINE LEARNING MODELS OPERATING AT DIFFERENT FREQUENCIES FOR AUTONOMOUS VEHICLES

NºPublicación:  US2025335796A1 30/10/2025
Solicitante: 
TESLA INC [US]
Tesla, Inc
US_2025335796_PA

Resumen de: US2025335796A1

Systems and methods include machine learning models operating at different frequencies. An example method includes obtaining images at a threshold frequency from one or more image sensors positioned about a vehicle. Location information associated with objects classified in the images is determined based on the images. The images are analyzed via a first machine learning model at the threshold frequency. For a subset of the images, the first machine learning model uses output information from a second machine learning model, the second machine learning model being performed at less than the threshold frequency.

CELL MANUFACTURING MANAGEMENT PLATFORM USING MACHINE LEARNING

NºPublicación:  US2025336521A1 30/10/2025
Solicitante: 
JANSSEN RES & DEVELOPMENT LLC [US]
Janssen Research & Development, LLC
US_2025336521_PA

Resumen de: US2025336521A1

A cell manufacturing management platform facilitates management of a cell manufacturing process. The cell manufacturing management platform tracks events associated with a cell manufacturing process and coordinates between disparate entities involved in the process. The cell manufacturing management platform utilizes machine learning techniques to generate inferences associated with event scheduling in a manner that optimizes an efficiency metric and reduces likelihood of exceptions occurring. Machine learning models may furthermore be used to generate various alerts or other actions associated with the process. A user interface enables different participating entities to track progress of the process and upcoming events.

ANOMALY-BASED MITIGATION OF ACCESS REQUEST RISK

NºPublicación:  US2025337742A1 30/10/2025
Solicitante: 
MICROSOFT TECH LICENSING LLC [US]
Microsoft Technology Licensing, LLC
US_2025337742_PA

Resumen de: US2025337742A1

Access to secured items in a computing system is requested instead of being persistent. Access requests may be granted on a just-in-time basis. Anomalous access requests are detected using machine learning models based on historic patterns. Models utilizing conditional probability or collaborative filtering also facilitate the creation of human-understandable explanations of threat assessments. Individual machine learning models are based on historic data of users, peers, cohorts, services, or resources. Models may be weighted, and then aggregated in a subsystem to produce an access request risk score. Scoring principles and conditions utilized in the scoring subsystem may include probabilities, distribution entropies, and data item counts. A feedback loop allows incremental refinement of the subsystem. Anomalous requests that would be automatically approved under a policy may instead face human review, and low threat requests that would have been delayed by human review may instead be approved automatically.

CELL MANUFACTURING MANAGEMENT PLATFORM USING MACHINE LEARNING

NºPublicación:  WO2025224675A1 30/10/2025
Solicitante: 
JANSSEN RES & DEVELOPMENT LLC [US]
JANSSEN PHARMACEUTICA NV [BE]
NCOUP INC [US]
JANSSEN RESEARCH & DEVELOPMENT, LLC,
JANSSEN PHARMACEUTICA NV,
NCOUP, INC
WO_2025224675_PA

Resumen de: WO2025224675A1

A cell manufacturing management platform facilitates management of a cell manufacturing process. The cell manufacturing management platform tracks events associated with a cell manufacturing process and coordinates between disparate entities involved in the process. The cell manufacturing management platform utilizes machine learning techniques to generate inferences associated with event scheduling in a manner that optimizes an efficiency metric and reduces likelihood of exceptions occurring. Machine learning models may furthermore be used to generate various alerts or other actions associated with the process. A user interface enables different participating entities to track progress of the process and upcoming events.

SYSTEMS AND METHODS FOR STRATEGIC APPLICATION MODERNIZATION ASSESSMENT

NºPublicación:  US2025335160A1 30/10/2025
Solicitante: 
CDW LLC [US]
CDW LLC
US_2025335160_PA

Resumen de: US2025335160A1

Systems and methods for application modernization using machine learning (ML) are disclosed herein. An example system receives software development information corresponding to one or more applications, the software development information including human-readable code. The system provides the software development information to an ML model. The ML model is trained using application modernization training data corresponding to best practices for modernizing historical applications based upon historical software development information. The ML model includes a large language model trained to interpret the human-readable code. The ML model generates application modernization information corresponding to at least one application of the one or more applications. The application modernization information includes technical requirements of a corresponding application, and application modernization recommendations of the corresponding application based upon the one or more technical requirements. In response to generating the application modernization information, the system provides the application modernization information to a computing device.

SYSTEMS AND METHODS FOR USING DIFFERENT TYPES OF SAMPLE CONTAINER CARRIERS IN DIAGNOSTIC LABORATORY SYSTEMS

NºPublicación:  WO2025226511A1 30/10/2025
Solicitante: 
SIEMENS HEALTHCARE DIAGNOSTICS INC [US]
SIEMENS HEALTHCARE DIAGNOSTICS INC
WO_2025226511_PA

Resumen de: WO2025226511A1

Diagnostic laboratory systems provided herein employ a machine learning software model to identify locations of sample containers and empty container slots in different types of sample container carriers. The model training data is based on images of different sample container carrier types each having at least two sample containers and at least one empty container slot. The images are overlaid with an estimated grid of slots based on identified locations of the at least two sample containers in the image and at least one pre-determined grid parameter. Image patches are extracted from the images based on the estimated grid. Each image patch includes a sample container or an empty container slot upon which locations of sample containers and empty container slots can be identified in sample container carriers received in a diagnostic laboratory system. Systems and methods of training a model and operating a diagnostic laboratory system are disclosed.

SYSTEMS AND METHODS FOR STRATEGIC APPLICATION MODERNIZATION ASSESSMENT

NºPublicación:  WO2025226527A1 30/10/2025
Solicitante: 
CDW LLC [US]
CDW LLC
WO_2025226527_PA

Resumen de: WO2025226527A1

Systems and methods for application modernization using machine learning (ML) are disclosed herein. An example system receives software development information corresponding to one or more applications, the software development information including human-readable code. The system provides the software development information to an ML model. The ML model is trained using application modernization training data corresponding to best practices for modernizing historical applications based upon historical software development information. The ML model includes a large language model trained to interpret the human-readable code. The ML model generates application modernization information corresponding to at least one application of the one or more applications. The application modernization information includes technical requirements of a corresponding application, and application modernization recommendations of the corresponding application based upon the one or more technical requirements. In response to generating the application modernization information, the system provides the application modernization information to a computing device.

MACHINE LEARNING BASED OCCUPANCY GRID GENERATION

NºPublicación:  EP4639202A1 29/10/2025
Solicitante: 
QUALCOMM INC [US]
QUALCOMM INCORPORATED
KR_20250121548_PA

Resumen de: CN120303583A

In some aspects, a device may receive sensor data associated with a vehicle and a set of frames. The device may aggregate sensor data associated with the set of frames using the first gesture to generate an aggregated frame, where the aggregated frame is associated with the set of cells. The device may obtain an indication of a respective placeholder flag from each cell of the set of cells, where the respective placeholder flag includes a first placeholder flag or a second placeholder flag, and where the set of cells from the set of cells is associated with the first placeholder flag. The device may train a machine learning model using data associated with the aggregated frame to generate a placeholder grid based on a loss function that calculates only losses from respective cells of the set of cells. Numerous other aspects are described.

MULTI-STAGE MACHINE LEARNING MODEL CHAINING

NºPublicación:  EP4639369A1 29/10/2025
Solicitante: 
MICROSOFT TECHNOLOGY LICENSING LLC [US]
Microsoft Technology Licensing, LLC
KR_20250125361_PA

Resumen de: CN120390929A

A skill chain including a set of ML model evaluations is generated, the input is processed with the set of ML model evaluations, and the skill chain is used to eventually generate a model output accordingly. Each ML model evaluates a "model skill" corresponding to the skill chain. The intermediate output generated by the first ML evaluation for the first model skills of the skill chain may then be processed as an input for the second ML evaluation for the second model skills of the skill chain, thereby ultimately generating a model output for the given input. Such a skill chain may include any number of skills according to any of the various structures and do not need to be evaluated using the same ML model.

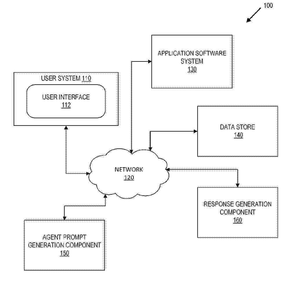
AGENT PROMPT GENERATION USING TOOL DESCRIPTION EMBEDDINGS

NºPublicación:  WO2025221523A1 23/10/2025
Solicitante: 
MICROSOFT TECH LICENSING LLC [US]
MICROSOFT TECHNOLOGY LICENSING, LLC
WO_2025221523_PA

Resumen de: WO2025221523A1

Methods, systems, and apparatuses include receiving, via a conversational interface, user input from a user of an online system. A user input embedding is generated for the user input. A vector store is retrieved including tool description embeddings. A similarity search is performed using the user input embedding and the tool description embeddings. A set of tool descriptions is determined using results of the similarity search. A prompt is generated using the set of tool descriptions and the user input. Machine learning agents are applied to the prompt to cause the machine learning agents to use tools associated with the set of tool descriptions. A response to the prompt is received, from the machine learning agents, in response to the machine learning agents using the tools. An output to the user input based on the response is sent, via the conversational interface, to the user of the online system.

BENCHMARKING ALGORITHMS FOR DATA QUALITY MONITORING

NºPublicación:  WO2025221286A1 23/10/2025
Solicitante: 
ANOMALO INC [US]
ANOMALO, INC
WO_2025221286_PA

Resumen de: WO2025221286A1

In a general aspect, benchmarking for data quality monitoring is described. In some embodiments, a system identifies a base data set to be used as input to a machine learning (ML) model. The system generates a modified base data set by causing synthetic anomaly injection operations to be performed on data of the base data set. The system causes the ML model to run, using the base data set as input, to determine a first output of the ML model, and to run, using the modified base data set as input, to determine a second output of the ML model. The system determines a set of performance metrics representing performance of the ML model at detecting data anomalies and outputs a representation of the set of performance metrics.

Benchmarking Algorithms for Data Quality Monitoring

NºPublicación:  US2025328505A1 23/10/2025
Solicitante: 
ANOMALO INC [US]
Anomalo, Inc
US_2025328505_PA

Resumen de: US2025328505A1

In a general aspect, benchmarking for data quality monitoring is described. In some embodiments, a system identifies a base data set to be used as input to a machine learning (ML) model. The system generates a modified base data set by causing synthetic anomaly injection operations to be performed on data of the base data set. The system causes the ML model to run, using the base data set as input, to determine a first output of the ML model, and to run, using the modified base data set as input, to determine a second output of the ML model. The system determines a set of performance metrics representing performance of the ML model at detecting data anomalies and outputs a representation of the set of performance metrics.

MULTISTAGE FEED RANKING SYSTEM WITH METHODOLOGY PROVIDING SCALABLE MULTI-OBJECTIVE MODEL APPROXIMATION

NºPublicación:  US2025328821A1 23/10/2025
Solicitante: 
MICROSOFT TECH LICENSING LLC [US]
Microsoft Technology Licensing, LLC
US_2025328821_PA

Resumen de: US2025328821A1

Approximating a more complex multi-objective feed item scoring model using a less complex single objective feed item scoring model in a multistage feed ranking system of an online service. The disclosed techniques can facilitate multi-objective optimization for personalizing and ranking feeds including balancing personalizing a feed for viewer experience, downstream professional or social network effects, and upstream effects on content creators. The techniques can approximate the multi-objective model-that uses a rich set of machine learning features for scoring feed items at a second pass ranker in the ranking system-with the more lightweight, single objective model-that uses fewer machine learning features at a first pass ranker in the ranking system. The single objective model can more efficiently score a large set of feed items while maintaining much of the multi-objective model's richness and complexity and with high recall at the second pass ranking stage.

SYSTEMS AND METHODS FOR BATTERY PERFORMANCE PREDICTION

NºPublicación:  US2025328780A1 23/10/2025
Solicitante: 
SB TECH INC [US]
SB Technology, Inc
US_2025328780_PA

Resumen de: US2025328780A1

Methods, systems, and apparatus, including computer programs encoded on computer storage media, for battery performance prediction. One of the methods includes actions of receiving battery test data of a battery cell. The battery test data includes data of at least one battery cell property of at least two battery tests. Each battery test includes applying pulses on the battery cell during a battery cycle. The battery test data is provided as input to a machine learning system to predict battery cell performance. The machine learning system includes a machine learning model that has been trained using training data includes test data of battery cells that reached respective end of life (EOL) cycles. In response, a prediction result for the battery cell is automatically generated by the machine learning model. The prediction result indicates an EOL cycle of the battery cell. An action is taken based on the prediction result.

IDENTIFICATION AND MITIGATION OF PERFORMANCE ISSUES OF ENTITIES AND AUTOMATED COMPONENTS

NºPublicación:  US2025328783A1 23/10/2025
Solicitante: 
MICROSOFT TECH LICENSING LLC [US]
Microsoft Technology Licensing, LLC
US_2025328783_PA

Resumen de: US2025328783A1

Systems and methods are described for identifying and resolving performance issues of automated components. The automated components are segmented into groups by applying a K-means clustering algorithm thereto based on segmentation feature values respectively associated therewith, wherein an initial set of centroids for the K-means clustering algorithm is selected by applying a set of context rules to the automated components. Then, for each group, a performance ranking is generated based at least on a set of performance feature values associated with each of the automated components in the group and a feature importance value for each of the performance features. The feature importance values are determined by training a machine learning based classification model to classify automated components into each of the groups, wherein the training is performed based on the respective performance feature values of the automated components and the respective groups to which they were assigned.

BANDWIDTH PREDICTION USING MACHINE LEARNING

NºPublicación:  WO2025221398A1 23/10/2025
Solicitante: 
HUGHES NETWORK SYSTEMS LLC [US]
HUGHES NETWORK SYSTEMS, LLC
WO_2025221398_PA

Resumen de: WO2025221398A1

Systems, methods, and apparatus, including computer-readable media, for bandwidth prediction using machine learning. In some implementations, a device detects a series of requests for streaming media content. The device generates a set of feature values based on times that the requests for the streaming media content were issued. The device provides the set of feature values as input to a machine learning model that has been trained to predict a time that a future request for media content will be issued. The device receives output of the machine learning model that indicates a predicted time of a subsequent request for the streaming media content or a predicted time to request bandwidth allocation for the subsequent request. Based on the output generated by the machine learning model, the device sends a bandwidth allocation request to allocate bandwidth to transmit data in a wireless network.

GRAPH DATA REPRESENTATION SYSTEMS AND METHODS FOR ELIGIBILITY DETERMINATION AND/OR MONITORING

NºPublicación:  US2025328787A1 23/10/2025
Solicitante: 
OPTUM INC [US]
Optum, Inc
US_2025328787_PA

Resumen de: US2025328787A1

Embodiments of the present disclosure provide methods, apparatus, systems, computing devices, computing entities, and/or the like for processing an inclusion of an entity for an event. In accordance with one embodiment, a method is provided that includes: determining whether a graph representation data object comprises an inbound edge connecting an entity node representing the entity with an event node representing the event; and responsive to determining the graph representation data object comprises the inbound edge, performing an action involving inclusion of the entity for the event. The inbound edge is generated via an inbound edge generator machine learning model configured to: traverse entity and/or inclusion edges of the graph representation data object to identify inclusion and entity edges connected, generate an entity score data object for the entity based at least in part on the inclusion edges, and responsive to the data object satisfying a threshold, generate the inbound edge.

VALIDATING VECTOR CONSTRAINTS OF OUTPUTS GENERATED BY MACHINE LEARNING MODELS

NºPublicación:  US2025328822A1 23/10/2025
Solicitante: 
CITIBANK N A [US]
Citibank, N.A
US_2025328822_PA

Resumen de: US2025328822A1

The technology evaluates the compliance of an AI application with predefined vector constraints. The technology employs multiple specialized models trained to identify specific types of non-compliance with the vector constraints within AI-generated responses. One or more models evaluate the existence of certain patterns within responses generated by an AI model by analyzing the representation of the attributes within the responses. Additionally, one or more models can identify vector representations of alphanumeric characters in the AI model's response by assessing the alphanumeric character's proximate locations, frequency, and/or associations with other alphanumeric characters. Moreover, one or more models can determine indicators of vector alignment between the vector representations of the AI model's response and the vector representations of the predetermined characters by measuring differences in the direction or magnitude of the vector representations.

Machine Learning System Using Quantum Computing

Nº publicación: US2025328793A1 23/10/2025

Solicitante:

HSBC TECH & SERVICES USA INC
HSBC Technology & Services (USA) Inc

US_2025328793_PA

Resumen de: US2025328793A1

Methods and systems for training and using a binary classifier implemented using quantum computing techniques are disclosed. The described approach involves deriving, from an input data set, a plurality of training samples, each training sample comprising a data vector having a plurality of features and a class label. Each data vector is processed using a quantum classification process including: encoding the data vector as an Ising Hamiltonian; implementing the Ising Hamiltonian on a set of real or virtual qubits of a quantum processing unit or an emulation thereof to form a quantum system representing the data vector; executing operations on the (emulation of the) quantum processing unit to prepare the ground state of the quantum system; determining one or more properties of the ground state; and identifying one of a set of possible ground states corresponding to the data vector based on the one or more properties. The system then determines, based on the identified ground states and class labels for the training samples, a mapping that maps ground states to class labels. The mapping is stored and used for classifying further data samples.

traducir