Ministerio de Industria, Turismo y Comercio LogoMinisterior
 

Energías oceánicas

Resultados 226 resultados
LastUpdate Última actualización 26/12/2025 [07:20:00]
pdfxls
Solicitudes publicadas en los últimos 30 días / Applications published in the last 30 days
Resultados 1 a 25 de 226 nextPage  

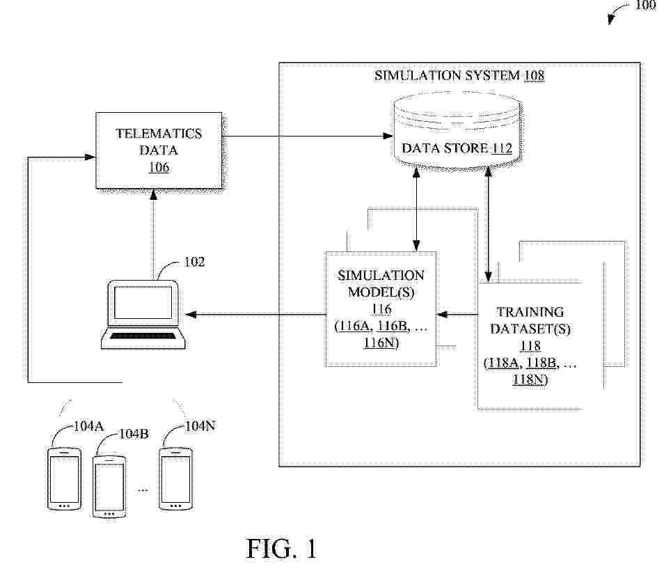
SYSTEM AND METHOD FOR SIMULATING TRAFFIC USING AGENT-BASED MODELING

NºPublicación:  EP4668243A1 24/12/2025
Solicitante: 
ALLSTATE INSURANCE CO [US]
Allstate Insurance Company
EP_4668243_PA

Resumen de: EP4668243A1

Implementations claimed and described herein provide systems and methods for simulating traffic using synthetic data based on agent-based modeling that simulates real drivers in a particular geographic area and time frame. In one implementation, inputting, in a machine-learning model of a simulation system, real-world agent-based position data associated with a custom selection of a geographic area and a time frame. The machine-learning model of the simulation system outputs metrics associated with synthetic agent-based position data over time within a map for the simulated environment and the variation of the simulated environment, wherein the metrics represents synthetic movement behavior of agents associated with synthetic individuals based on real movement behavior associated with the geographic area and the time frame.

A SIGNAL LAMP INTENDED, IN PARTICULAR, FOR OPTICAL SIGNAL INDICATORS FOR ROAD TRAFFIC CONTROL

NºPublicación:  EP4666005A1 24/12/2025
Solicitante: 
AZD PRAHA SRO [CZ]
AZD Praha s.r.o
WO_2024170013_A1

Resumen de: WO2024170013A1

A signal lamp, especially for optical signal indicators intended for road traffic control with the optical system of the lamp comprising a central light sources placed on a printed-circuit board (2) that is detachably attached a body (3), a condenser (4) preferably in the form of a Fresnel lens, and an optical cover (6), wherein the central light sources consists of at least two point light sources (1), preferably LEDs, and that placed between the condenser (4) and the optical cover (6) is a diverging element (5) that is formed by a fiat disc the contour of which is identical with the contour of the condenser (4) and the front exit face (51) of which is shaped concentrically towards the optical axis (o) of the system, wherein the point light sources (1) are placed on a printed-circuit board (2) at a focal distance in close proximity to, and symmetrically with regard to, the optical axis of the condenser (4), and wherein the printed-circuit board (2) is attached to the body (3) via a thermal pad (21) that is mounted to the face of the cutout (314) created above the opening (311) of the entrance face (31) of the hollow body (3).

ROADSIDE DELINEATOR

NºPublicación:  EP4667658A1 24/12/2025
Solicitante: 
GEMMAFLEX S R L [IT]
GEMMAFLEX S.R.L
EP_4667658_PA

Resumen de: EP4667658A1

A roadside delineator (A, B, C), of the type with reflectors and configured to be coupled to guardrails, Jersey barriers and other containment elements, particularly exposed to impacts of all kinds with passing vehicles, works vehicles and other vehicles, comprising at least one plate (A3, B3, C3) of a type chosen between reflector and light-emitting, at least one elastic element (1) being interposed between the plate and coupling means for the delineator and being configured to deform elastically and without damage upon impacts arriving from any direction, with consequent autonomous elastic return at the end of the mechanical stress due to the impact.

METHOD OF PRODUCING A CONCRETE ROAD SAFETY TRAFFIC BARRIER

NºPublicación:  EP4667659A1 24/12/2025
Solicitante: 
GACPARSKI PIOTR [PL]
Gacparski, Piotr
EP_4667659_PA

Resumen de: EP4667659A1

The invention pertains to the field of safety traffic barriers, temporary or permanent ones, in particular traffic barriers produced in a continuous forming process, so called slip forming.Method of producing a concrete safety traffic barrier (4) comprising the steps of: a) securing at least one first terminal element (2, 2a, 2b) and at least one second terminal element (3, 3a, 3b) in a manner to prevent movement thereof during forming of the safety traffic barrier (4), where the first terminal element (2, 2a, 2b) and the second terminal element (3, 3a, 3b) are positioned on the forming track of the safety traffic barrier (4), and preferably with a plurality of first terminal elements (2, 2a, 2b) and second terminal elements (3, 3a, 3b), at least one of the first terminal elements (2, 2a, 2b) and at least one of the second terminal elements (3, 3a, 3b) are arranged in an operational configuration with regard to each other; b) forming of the safety traffic barrier (4) comprising at least one segment (5, 6), form a concrete mix with the use of slip forming technology so that the mould for forming safety traffic barrier (4) is guided so that the concrete mix is formed within a section between at least one first terminal element (2, 2a, 2b) and at least one second terminal element (3, 3a, 3b) in a manner that at least one first terminal element (2, 2a, 2b) and at least one second terminal element (3, 3a, 3b) become enclosed within the concrete mix and upon curing of the concrete

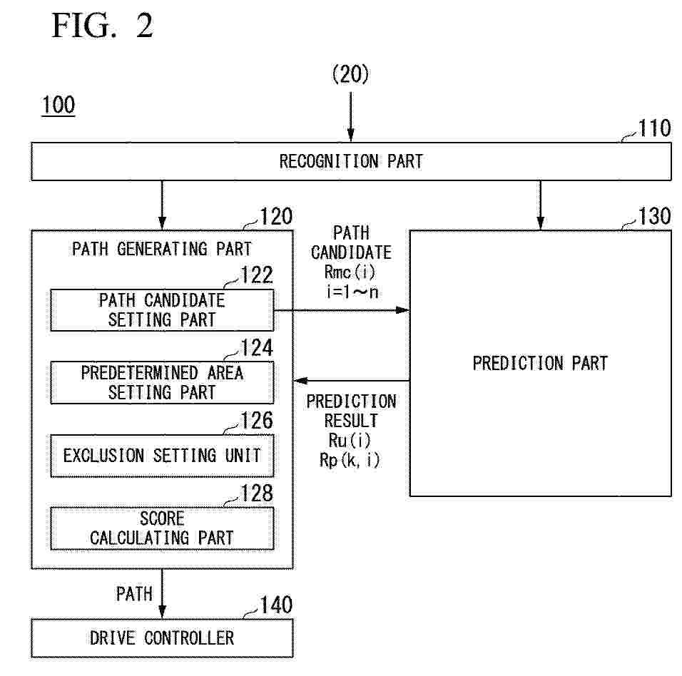
CONTROL DEVICE, CONTROL METHOD, AND PROGRAM

NºPublicación:  EP4668043A1 24/12/2025
Solicitante: 
HONDA MOTOR CO LTD [JP]
HONDA MOTOR CO., LTD
EP_4668043_PA

Resumen de: EP4668043A1

A control device that controls at least temporarily a mobile object which moves autonomously in an area in which another pedestrian walks while leading a leading target person includes a recognition part configured to recognize objects including the leading target person and the other pedestrian, a prediction part configured to predict a future position of the recognized other pedestrian, a path generating part configured to generate a path along which the mobile object is to move in a future, and a drive controller configured to control a drive device attached to the mobile object so that the mobile object moves along the path. The path generating part sets a plurality of path candidates and selects one path candidate as the path while excluding a path candidate in which the other pedestrian is predicted to enter a predetermined area including the mobile object and the leading target person.

METHOD AND ASSISTANCE SYSTEM FOR ASSISTING A DRIVER IN A MIXED TRAFFIC ENVIRONMENT AND CORRESPONDINGLY EQUIPPED MOTOR VEHICLE

NºPublicación:  EP4668244A1 24/12/2025
Solicitante: 
VOLKSWAGEN AG [DE]
VOLKSWAGEN AG
EP_4668244_PA

Resumen de: EP4668244A1

Die Erfindung betrifft ein Verfahren zum Unterstützen eines Fahrers (2) eines Kraftfahrzeugs (1) bei der Fahrzeugführung. Darin werden anhand von erfassten Umgebungsdaten wenigstens bedingtautomatisiert fahrende Fremdfahrzeuge (14) in der Umgebung des Kraftfahrzeugs (1) erkannt. Mittels einer Ausgabeeinrichtung (8) wird dann ein jeweiliger Hinweis (15) auf die erkannten wenigstens bedingtautomatisiert fahrenden Fremdfahrzeuge (14) an den Fahrer (2) des Kraftfahrzeugs (1) ausgegeben. Die Erfindung betrifft auch ein entsprechend eingerichtetes Assistenzsystem (4) und ein damit ausgestattetes Kraftfahrzeug (1).

TRAFFIC MONITORING DEVICE, TRAFFIC MONITORING SYSTEM AND METHOD

NºPublicación:  EP4668245A1 24/12/2025
Solicitante: 
KISTLER HOLDING AG [CH]
Kistler Holding AG
EP_4668245_PA

Resumen de: EP4668245A1

Die Erfindung betrifft eine Verkehrsüberwachungsvorrichtung (10) mit zumindest einer Erfassungseinheit (12) zur Geschwindigkeitserfassung zumindest eines Fahrzeugs (14, 16) auf einer Fahrbahn (18) auf Basis von relativen Änderungen einer Lichtintensität, welche durch das Fahrzeug (14, 16) erzeugt werden.Um eine gattungsgemässe Vorrichtung mit verbesserten Eigenschaften hinsichtlich einer Effizienz bereitzustellen, wird vorgeschlagen, dass die Erfassungseinheit (12) zumindest einen ereignisbasierten Bildsensor (20) aufweist, welcher eine Pixelmatrix (22) mit einer Vielzahl von Pixeln (24, 26) umfasst, wobei die Pixel (24, 26) jeweils dazu ausgebildet sind, relative Änderungen der Lichtintensität voneinander unabhängig und asynchron als Ereignisse (28, 30) zu erfassen.

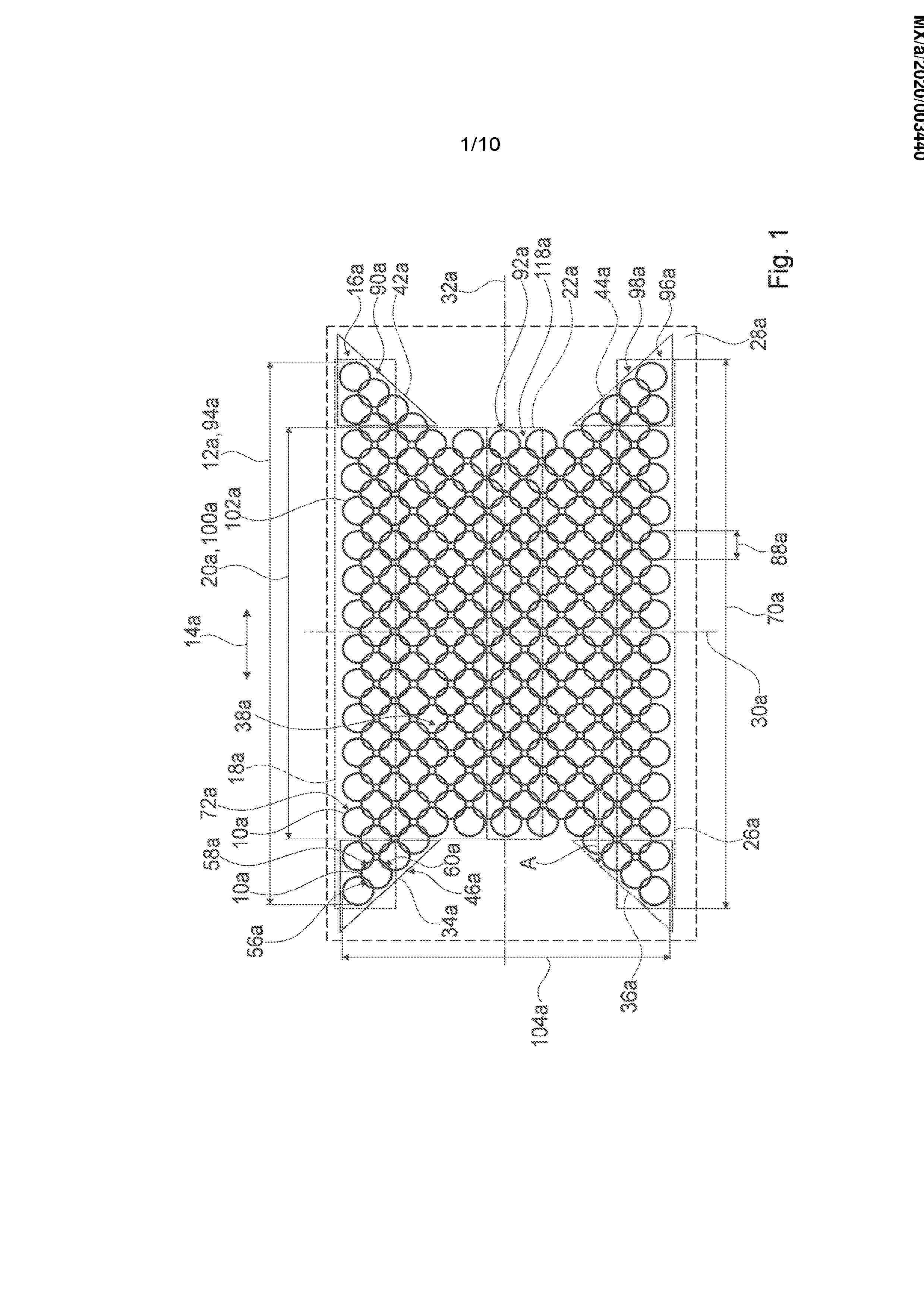
NET AND CABLE ASSEMBLY WITH SAFETY NET

NºPublicación:  ES3050682T3 22/12/2025
Solicitante: 
GEOBRUGG AG
Geobrugg AG
MX_2020003440_A

Resumen de: MX2020003440A

EMPTY

METHOD AND APPARATUS FOR PROVIDING ROUTE ESTIMATION INFORMATION BASED ON MUTUAL INFLUENCE BETWEEN ROAD USERS

NºPublicación:  WO2025259025A1 18/12/2025
Solicitante: 
LG ELECTRONICS INC [KR]
\uC5D8\uC9C0\uC804\uC790 \uC8FC\uC2DD\uD68C\uC0AC
WO_2025259025_A1

Resumen de: WO2025259025A1

Provided are a method by which a first device performs wireless communication and an apparatus supporting same. The method may comprise the steps of: acquiring information related to an interaction coefficient of at least one object; performing route prediction regarding a target on the basis of the information related to the interaction coefficient; and transmitting a message including information related to the route prediction.

SISTEMA MODULAR PARA EL PASO DE CABLEADO Y CONEXIONES QUE COMPRENDE BORDILLOS Y CAJAS DE CONEXION Y DE ESQUINA Y USOS ASOCIADOS

NºPublicación:  ES3049882A1 18/12/2025
Solicitante: 
EDP INOVASAO S A [PT]
EDP COM COMIZASAO DE ENERGIA S A [PT]
SMART ENERGY LAB ASS [PT]
WITHUS \u00BF INOVASAO E TECNOLOGIA LDA [PT]
EDP INOVAS\u00C3O S.A,
EDP COMERCIAL-COMERCIALIZAS\u00C3O DE ENERGIA, S.A,
SMART ENERGY LAB - ASSOCIATION,
WITHUS \u00BF INOVAS\u00C2O E TECNOLOGIA, LDA
US_2025385499_PA

Resumen de: US2025385499A1

The invention is related to a modular wiring passage and junction system (10) for supplying power to electric vehicle chargers or other electrical devices in the public road.The modular system (10) of the invention comprises curb elements (11) connected and aligned with each other and with junction box elements (12) and corner box elements (13).To close the junction box (12) and the corner box (13) elements there exist junction box covers (15) and corner box covers (17) which are removable by means of a cover removal device (16).The curb element (11), the junction box element (12) and the corner box element (13) comprise through holes in their interior for the passage of wiring and on a front face an inclined portion (113) for an access ramp.

INFORMATION PROCESSING DEVICE, INFORMATION PROCESSING METHOD, PROGRAM, AND INFORMATION PROCESSING SYSTEM

NºPublicación:  WO2025258368A1 18/12/2025
Solicitante: 
SONY GROUP CORP [JP]
\u30BD\u30CB\u30FC\u30B0\u30EB\u30FC\u30D7\u682A\u5F0F\u4F1A\u793E
WO_2025258368_A1

Resumen de: WO2025258368A1

The present invention relates to an information processing device, an information processing method, a program, and an information processing system capable of easily generating data related to an event that occurred to a mobile body. This information processing device is provided with: a scenario generation unit that, on the basis of acquired data acquired from a mobile body, generates an event scenario representing, in a text format, the status of an event that occurred to the mobile body; and a data generation unit that inputs the event scenario to a generation AI corresponding to the purpose of use and generates output data pertaining to the event. The present invention is applicable to, for example, a system or a device that performs an accident analysis.

EMERGENCY ACTIVATION SYSTEM IN SIGNAGE AND TRAFFIC LIGHTS

NºPublicación:  WO2025257457A1 18/12/2025
Solicitante: 
GONZALEZ GOMEZ FERNANDO [ES]
GONZALEZ GOMEZ, Fernando
WO_2025257457_A1

Resumen de: WO2025257457A1

The invention relates to an emergency activation system in signage and traffic lights, comprising signal emitters (1) in emergency vehicles (2) and signal receivers (3) in road infrastructure (4), which receivers are associated with visual or sound alert means, the signal receivers (3) being configured to activate the alert means when they detect a signal from a signal emitter (1).

SPLIT SPELTER SOCKET FOR POST AND CABLE SYSTEM

NºPublicación:  WO2025259494A1 18/12/2025
Solicitante: 
GLOBAL GRAB TECH INC [US]
GLOBAL GRAB TECHNOLOGIES, INC
WO_2025259494_A1

Resumen de: WO2025259494A1

A method and apparatus for forming a socket on the end of a wire cable, such as may be required in post and cable security fencing systems and other applications. The working end of the wire cable is reeved through a sleeve in a termination post and then splayed into a fan shape. A laterally separable collar having multiple discrete segments is brought around the wire cable. The laterally separable collar has conical bowl and an upwardly pointing fill-hole. A cap having an aperture is disposed over the laterally separable collar so that its aperture aligns with the fill-hole, both oriented to point vertically upward. A hardenable potting material is poured in the bowl of the laterally separable collar so that it flows around and inbetween the individual strands of the wire within the splayed section before curing. The potting material preferably comprises a 2 -part resin.

PLATOONING TELEOPERATED VEHICLES

NºPublicación:  WO2025257026A1 18/12/2025
Solicitante: 
VAY TECH GMBH [DE]
VAY TECHNOLOGY GMBH
WO_2025257026_A1

Resumen de: WO2025257026A1

Platoons of vehicles are operated remotely by a teleoperator. A lead vehicle of a platoon establishes communications with a teleoperator station, which receives drive state data from the lead vehicle and generates reference instructions for the lead vehicle. When a lead vehicle is under control of a teleoperator, and a follower vehicle joins a platoon with the lead vehicle, the follower vehicle receives drive state data from the lead vehicle and reference instructions for the lead vehicle from the teleoperator station. The follower vehicle captures data regarding its own drive state, and generates instructions based on the drive state data of the lead vehicle and the reference instructions for the lead vehicle. Drive state data of a lead vehicle of a platoon may be estimated, augmented or refined for accuracy based on drive state data of other vehicles of the platoon.

COMBINED NOISE PROTECTION AND VEHICLE RESTRAINT SYSTEM

NºPublicación:  WO2025257163A1 18/12/2025
Solicitante: 
REBLOC GMBH [AT]
REBLOC GMBH
WO_2025257163_A1

Resumen de: WO2025257163A1

A combined noise protection and vehicle restraint system on roadways (2) has profiled, preferably H-shaped uprights (8) with grooves (33) running in the longitudinal direction thereof and noise protection elements (11) accommodated in a form-fitting manner between adjacent uprights (8). The noise protection elements (11) have a surface (3) facing the roadway (2) and have lateral edges (15, 16), wherein the noise protection element (11) engages in the grooves (33) of the adjacent uprights (8) in the region of the lateral edges (15, 16) of the noise protection element. At least one retaining element (12) is arranged between adjacent uprights (8), which retaining element has a higher resistance force against an impact of a vehicle than the noise protection elements (11). The retaining element (12) has lateral ends (17) by means of which it engages in the grooves (33) of the adjacent uprights (8).

VEHICLE CONTROL DEVICE AND VEHICLE CONTROL METHOD

NºPublicación:  WO2025257928A1 18/12/2025
Solicitante: 
ASTEMO LTD [JP]
\uFF21\uFF53\uFF54\uFF45\uFF4D\uFF4F\u682A\u5F0F\u4F1A\u793E
WO_2025257928_A1

Resumen de: WO2025257928A1

This vehicle control device comprises: a flooded-state water depth estimation unit that calculates a difference between a first height indicating the height of a road accessory from the road surface in a non-flooded state and a second height indicating the height of the road accessory from the water surface, acquired by an external recognition sensor in a flooded state, and estimates water depth in the flooded state; a passable/impassable determination unit that determines whether an own vehicle can cross a flooded point, on the basis of the estimated water depth in the flooded state and vehicle information of the own vehicle; and a vehicle control unit that outputs a signal for controlling traveling of the own vehicle on the basis of the determination result by the passable/impassable determination unit.

GENERATING A MESSAGE FOR IMPLEMENTING VEHICULAR COMMUNICATION IN A COOPERATIVE INTELLIGENT TRANSPORTATION SYSTEM

NºPublicación:  WO2025257696A1 18/12/2025
Solicitante: 
FONDAZIONE LINKS - LEADING INNOVATION & KNOWLEDGE FOR SOC [IT]
FONDAZIONE LINKS - LEADING INNOVATION & KNOWLEDGE FOR SOCIETY
WO_2025257696_A1

Resumen de: WO2025257696A1

Described herein is a system for generating a message (110) suitable for implementing vehicular communication within a cooperative intelligent transport system, said system comprising an infotainment system (1) of a vehicle, comprising a head unit (2) and a smart device (10) comprising a software application (11) for the management of messages suitable for implementing vehicular communication within a cooperative intelligent transport system, wherein said smart device (10) can be connected to said head unit (2) over a wired or wireless connection (5) so that, once the connection has been established, said application (11), when in execution, is configured to establish a connection with said head unit (2) to create a data exchange network, said data exchange network being suitable for allowing one or more resources to be shared between said infotainment system (1) and said application (11) of said smart device (10), wherein said application (11) is further configured to generate a message (110) suitable for implementing vehicular communication within a cooperative intelligent transport system and transmissible to a network (20) of said intelligent transport system, wherein said message (110) comprises at least one piece of real-time information coming from at least one hardware device installed on board said vehicle.

DYNAMIC SPEED BRAKING SYSTEM

NºPublicación:  WO2025257652A1 18/12/2025
Solicitante: 
3M INNOVATIVE PROPERTIES COMPANY [US]
3M INNOVATIVE PROPERTIES COMPANY
WO_2025257652_A1

Resumen de: WO2025257652A1

A dynamic speed braking system for installation on a road includes a ramp-up stage including one or more ramp-up components. Each ramp-up component includes a first end configured to face a vehicle travelling on the road, a second end opposite to the first end, a support surface configured to be disposed on the road and defining a reference plane, a gradient surface intersecting the support surface at the first end and extending towards the second end, at least one first recess, a first illumination strip disposed in each first recess, at least one second recess, and a second illumination strip disposed in each second recess. Each first recess extends away from the gradient surface towards the second end parallel to the reference plane. Each second recess extends away from the gradient surface towards the second end and is inclined upwards towards the gradient surface with respect to the reference plane.

INDUCTIVE TRAFFIC LIGHT STRUCTURE

NºPublicación:  WO2025256133A1 18/12/2025
Solicitante: 
SHAANXI ENERGY INST [CN]
\u9655\u897F\u80FD\u6E90\u804C\u4E1A\u6280\u672F\u5B66\u9662
WO_2025256133_A1

Resumen de: WO2025256133A1

An inductive traffic light structure, comprising a base (1), a traffic light main body (2) arranged on the base (1), and a controller (3) that is arranged on the traffic light main body (2) and is electrically connected to light bodies of the traffic light main body (2). When a pedestrian enters a crosswalk, the traffic light main body (2) is activated by means of the controller (3), such that a light facing the crosswalk displays a green signal and a light facing a carriageway displays a red signal; and the traffic light main body (2) then starts a time-counting operation, and after a fixed period of time, the light facing the crosswalk displays a red signal, and the light facing the carriageway displays a green signal. After a current cycle is completed, when another pedestrian enters the crosswalk, the next cycle is started, such that the apparatus normally starts a traffic light time-counting operation only when there is a pedestrian on the crosswalk, thereby avoiding the problem of drivers having time wasted caused by the continuous operation of traffic lights, and thus achieving relatively high intelligence.

AN INTERACTIVE REAL TIME SYSTEM AND REAL TIME METHOD OF USE THEREOF IN CONVEYANCE INDUSTRY SEGMENTS

NºPublicación:  EP4664433A2 17/12/2025
Solicitante: 
DACOSTA ALEXIS [US]
Dacosta, Alexis
EP_4664433_A2

Resumen de: EP4664433A2

The present invention recognizes that there is a long felt need for more efficient platforms, networks, systems, and methods in the conveyance industry for goods and services. A first aspect of the present invention generally relates to a system in the conveyance and other industries. A second aspect of the present invention generally relates to a method of use of the interactive system of the present invention.

RESTORABLE CRASH CUSHION APPARATUS

NºPublicación:  EP4662368A1 17/12/2025
Solicitante: 
LINDSAY TRANSP SOLUTIONS LLC [US]
Lindsay Transportation Solutions, LLC
US_2025347066_PA

Resumen de: US2025347066A1

A crash cushion apparatus broadly comprising a rail assembly, a number of dividers and a number of side panels forming a number of collapsible bays, and a number of crushable tubes. The rail assembly includes a number of anchor plates and a rail. The dividers are longitudinally spaced apart from each other and slidably entrained on the rail. The side panels link the dividers together. The crushable tubes are oriented longitudinally in spaces formed by the collapsible bays and extend between sequentially adjacent ones of the dividers. The dividers entrain the crushable tubes in the longitudinal orientation without the crushable tubes being fixed to the dividers. The dividers are configured to be driven rearward along the rail and crush the crushable tubes to sequentially collapse the collapsible bays.

REMOTE SUPPORT SYSTEM AND REMOTE SUPPORT METHOD

NºPublicación:  EP4664432A1 17/12/2025
Solicitante: 
TOYOTA MOTOR CO LTD [JP]
TOYOTA JIDOSHA KABUSHIKI KAISHA
EP_4664432_A1

Resumen de: EP4664432A1

A remote support system is a system for providing remote support to a target moving body. The remote support system acquires an image captured by an infrastructure camera, the image showing the target moving body. The remote support system executes a differentiation process to differentiate the target moving body in the image from other moving body, based on individual information specific to the target moving body. The remote support system then presents the image obtained as a result of the differentiation process to a remote supporter who provides the remote support for the target moving body.

ASSISTANCE SYSTEM, CONTROL SYSTEM, CONVEYANCE SYSTEM, AND ASSISTANCE METHOD

NºPublicación:  WO2025253779A1 11/12/2025
Solicitante: 
PANASONIC INTELLECTUAL PROPERTY MAN CO LTD [JP]
\u30D1\u30CA\u30BD\u30CB\u30C3\u30AF\uFF29\uFF30\u30DE\u30CD\u30B8\u30E1\u30F3\u30C8\u682A\u5F0F\u4F1A\u793E
WO_2025253779_PA

Resumen de: WO2025253779A1

The purpose of the present disclosure is to derive coordinate conversion information pertaining to a coordinate conversion formula for performing coordinate conversion between position coordinates expressed in a first coordinate system and position coordinates expressed in a second coordinate system. A first acquisition unit (111) of an assistance system (10) of the present disclosure acquires position coordinates of each of a first reference point and a second reference point in a first coordinate system. A second acquisition unit (112) acquires position coordinates of each of the first reference point and the second reference point in a second coordinate system. A derivation unit (113) uses the position coordinates of each of the first reference point and the second reference point in the first coordinate system and the position coordinates of each of the first reference point and the second reference point in the second coordinate system to derive coordinate conversion information pertaining to a coordinate conversion formula for converting the position coordinates in the first coordinate system into the position coordinates in the second coordinate system.

DATA COLLECTION DEVICE AND DATA COLLECTION METHOD

NºPublicación:  WO2025253912A1 11/12/2025
Solicitante: 
DENSO CORP [JP]
\u682A\u5F0F\u4F1A\u793E\u30C7\u30F3\u30BD\u30FC
WO_2025253912_PA

Resumen de: WO2025253912A1

In the present invention, a processing system incorporated in an electric vehicle includes a processor, and the processor executes processing for collecting data in accordance with an instruction from a server. The processor determines, through communication with a battery ECU, whether the power supply mode of the vehicle is a normal mode or a power-saving mode. When the power supply mode is the normal mode, the processor samples and records data for a target item at a prescribed first interval. When the power supply mode is the power-saving mode, the processor samples and records data for the target item at a second interval different from the first interval.

MOBILE BODY MANAGEMENT SYSTEM, MOBILE BODY MANAGEMENT METHOD, AND MOBILE BODY

Nº publicación: WO2025253897A1 11/12/2025

Solicitante:

PANASONIC INTELLECTUAL PROPERTY MAN CO LTD [JP]
\u30D1\u30CA\u30BD\u30CB\u30C3\u30AF\uFF29\uFF30\u30DE\u30CD\u30B8\u30E1\u30F3\u30C8\u682A\u5F0F\u4F1A\u793E

WO_2025253897_PA

Resumen de: WO2025253897A1

This mobile body management system (2) for controlling travel of mobile bodies (1A-1C) having a movement mechanism (11) comprises: a communication unit (21) that communicates with the mobile bodies (1A-1C); a storage unit (22) that stores map information indicating a region in which the mobile bodies (1A-1C) can travel; and a control unit (23) that gives an instruction relating to travel to the mobile bodies (1A-1C). The map information is information including a plurality of travel areas and a plurality of retreat positions. The control unit (23) determines whether to move the mobile bodies (1A-1C) to the retreat positions on the basis of: mobile body information transmitted from the mobile bodies (1A-1C) and received via the communication unit (21); travel area information indicating the situation of the travel areas in which the mobile bodies (1A-1C) will travel from now; and retreat position information indicating the situation of the retreat positions associated with the travel areas.

traducir