Ministerio de Industria, Turismo y Comercio LogoMinisterior
 

Energía solar fotovoltaica

Resultados 131 resultados
LastUpdate Última actualización 27/04/2026 [07:17:00]
pdfxls
Solicitudes publicadas en los últimos 15 días / Applications published in the last 15 days
Resultados 1 a 25 de 131 nextPage  

Procédé de caractérisation d’un matériau photovoltaïque avec ajustement de spectre de luminescence

NºPublicación:  FR3167713A1 24/04/2026
Solicitante: 
INST PHOTOVOLTAIQUE DILE DE FRANCE IPVF [FR]
ELECTRICITE DE FRANCE [FR]
TOTALENERGIES ONETECH [FR]
CENTRE NATIONAL DE LA RECHERCHE SCIENT CNRS [FR]
ECOLE POLYTECHNIQUE [FR]
FR_3167713_A1

Resumen de: FR3167713A1

L’invention porte sur un procédé de caractérisation d’un matériau photovoltaïque, comprenant : l’obtention d’un spectre de luminescence (Dex) d’un échantillon du matériau photovoltaïque ; la détermination d’un jeu de paramètres permettant d’ajuster un modèle paramétrique au spectre obtenu ; et la détermination de caractéristiques du matériau photovoltaïque à partir du jeu de paramètres. Dans ce procédé, le modèle paramétrique (SFT) correspond à la somme d’au moins deux modèles (SF1, SF2) de spectre de luminescence. Figure pour l’abrégé : Figure 3

METHOD OF MANUFACTURING A PHOTOVOLTAIC DEVICE

NºPublicación:  WO2026082724A1 23/04/2026
Solicitante: 
CSEM CENTRE SUISSE DELECTRONIQUE ET DE MICROTECHNIQUE SA RECH ET DEVELOPPEMENT [CH]
WO_2026082724_A1

Resumen de: WO2026082724A1

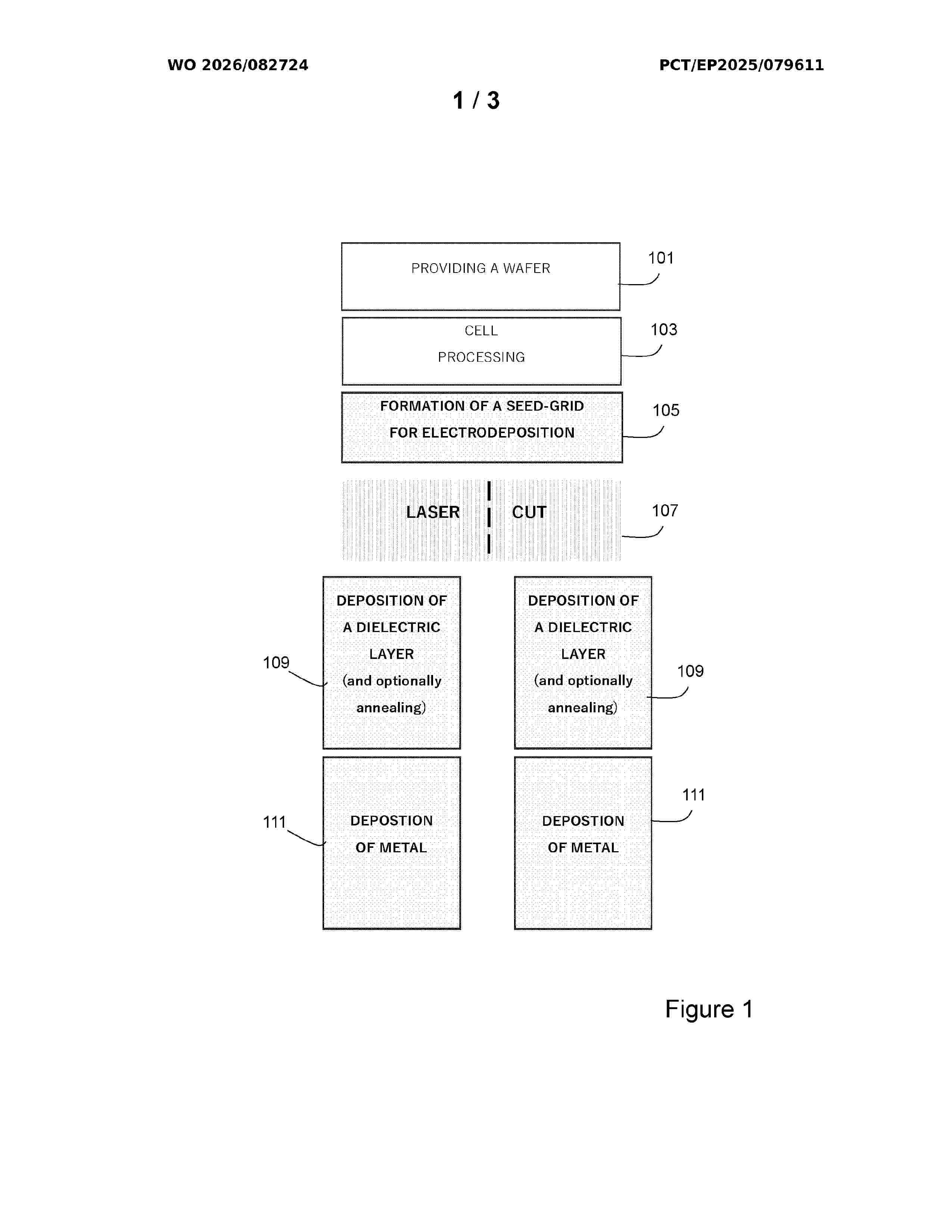
Method of manufacturing a photovoltaic device (10), comprising steps of: a. providing a silicon wafer (1) having a first face, a second face and a plurality of edges; b. forming at least one functional layer (2a, 2b, 3a, 3b) on at least one of said faces and on said edges; c. forming a metal seed grid (6a, 6b) for subsequent deposition of a metallic plating layer (7a, 7b) on at least one of said faces; d. laser cutting said wafer (1) so as to result in edges of a first type and edges of a second type; e. depositing a dielectric layer (5a, 5b) on at least one of said faces and on said edges of said first type and said second type; f. depositing said metallic plating layer (7a, 7b) on said metal seed grid (6a, 6b), wherein said step d is carried out after step b, and said step e is carried out after step.

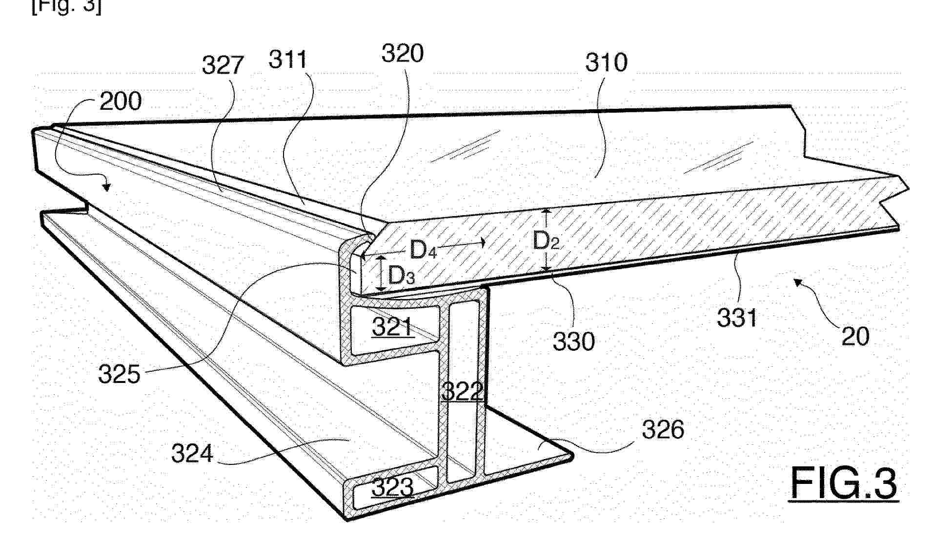
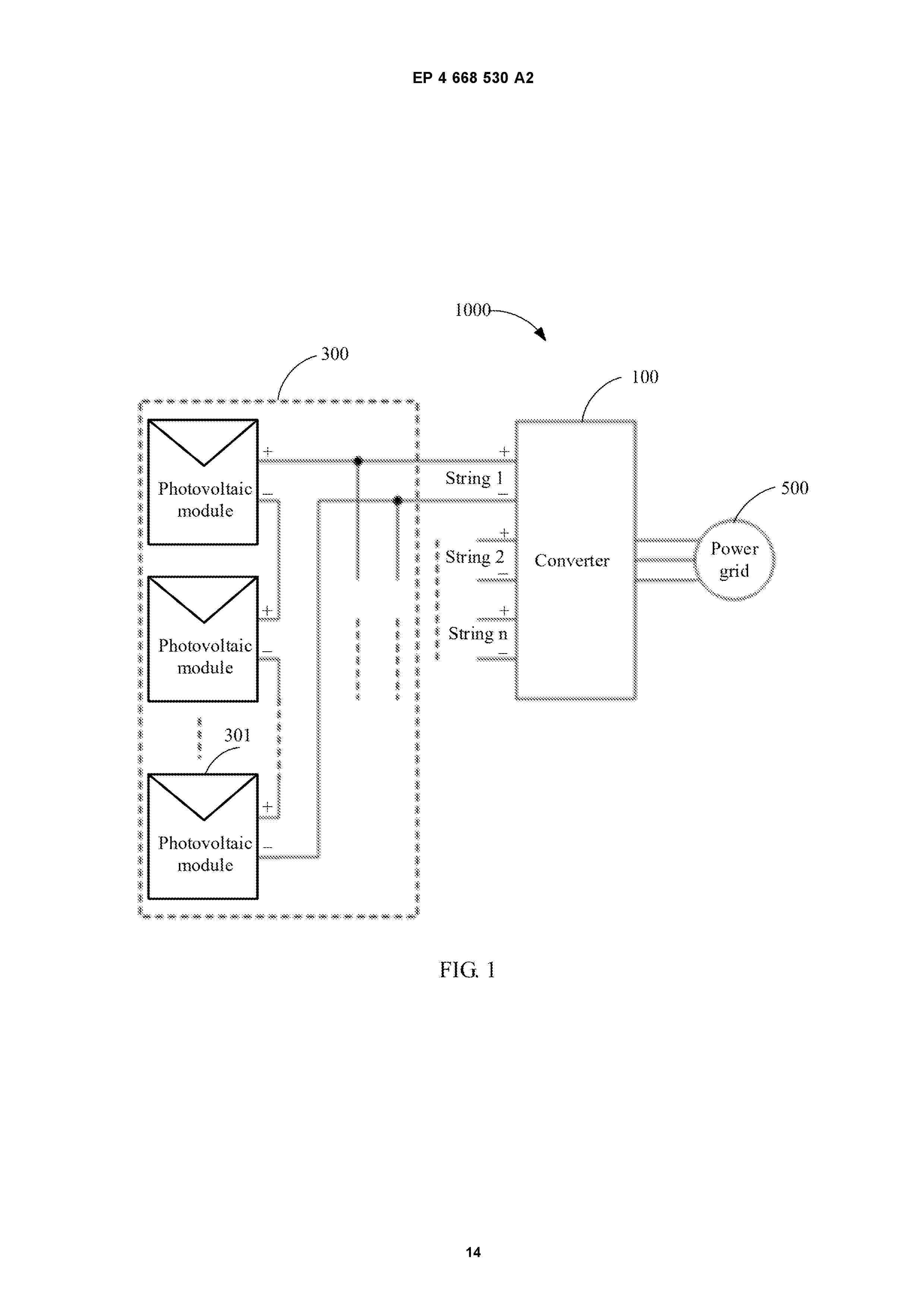
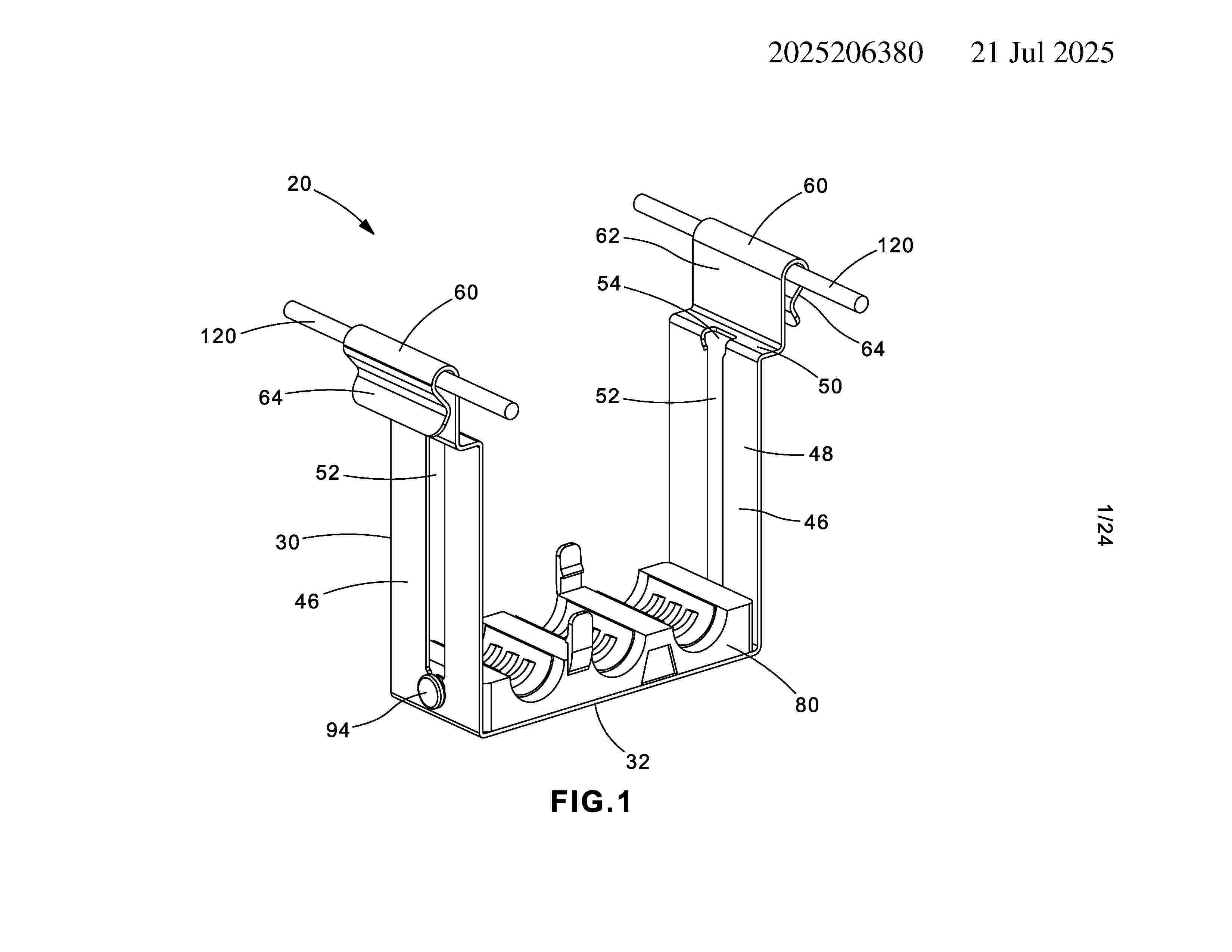
SKIP RAIL SYSTEM

NºPublicación:  US20260112992A1 23/04/2026
Solicitante: 
PEGASUS SOLAR INC [US]
US_20260112992_A1

Resumen de: US20260112992A1

0000 A multi-rail system for mounting solar modules to a surface, such as a roof, uses two rails to support a first row of solar modules, and a single rail to support each subsequent row of solar modules. Splices connect edges of solar modules between rows, providing support along one edge of the solar modules for the subsequent rows.

BI-FACIAL SOLAR PANELS INCORPORATING SILICON FORMED ON A SUBSTRATE

NºPublicación:  US20260114072A1 23/04/2026
Solicitante: 
BLUE ORIGIN LLC [US]
US_20260114072_A1

Resumen de: US20260114072A1

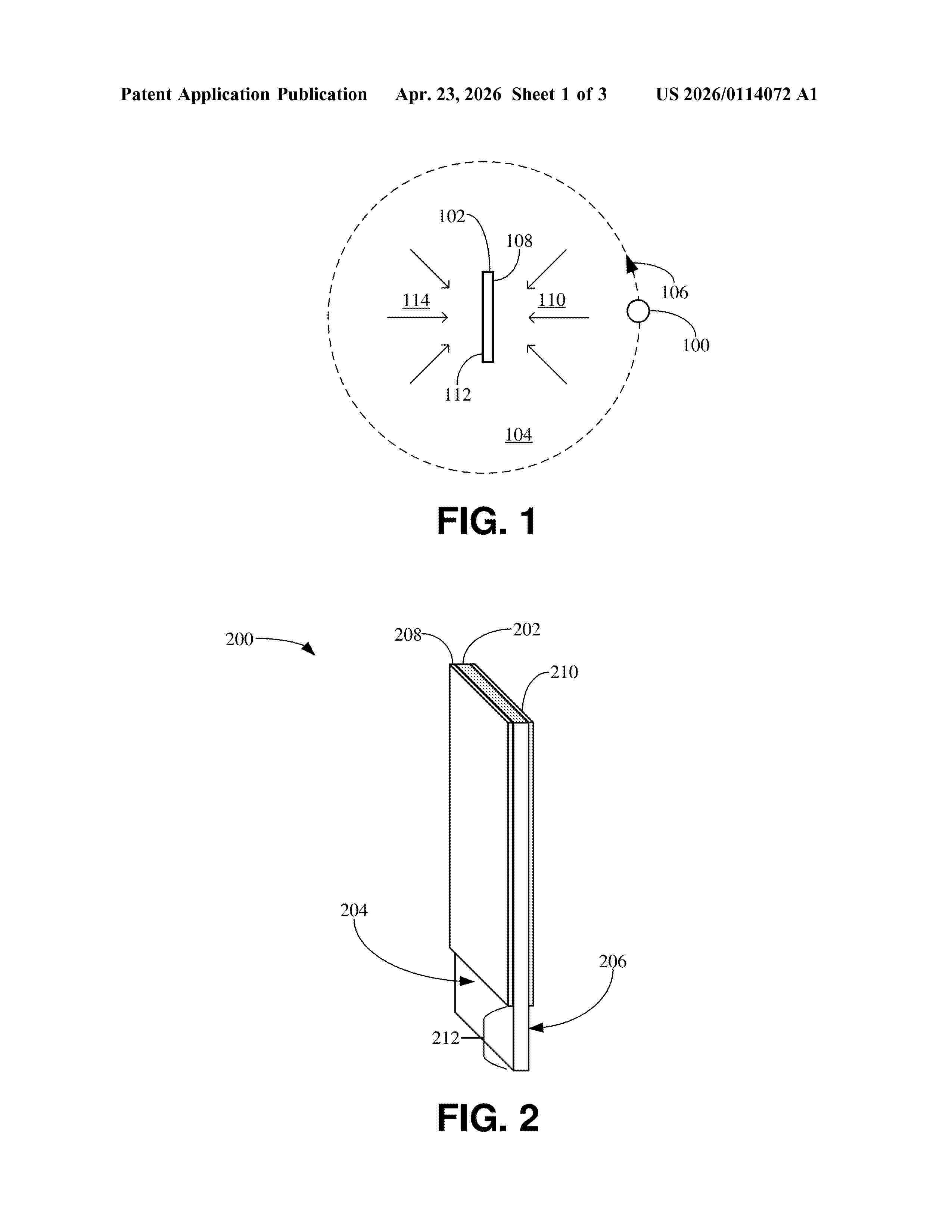
0000 Systems and methods for fabricating a bi-facial solar cell are presented. Among many possible applications for a bi-facial solar cell described herein, a particularly interesting one is its application on the south pole region of the Moon. In this region, rather than rising and setting, the Sun travels in a complete circle, skimming low over the Moon's horizon. The bi-facial solar cell may be oriented vertically so that either one or the other side of the solar cell will be positioned to receive solar radiation to generate electricity. The bi-facial solar cell may include p-type regions adjacent to n-type regions on each side of the solar cell. The p-n junctions are between the p-type regions and the n-type regions and on or near the surface of each side of the solar cell.

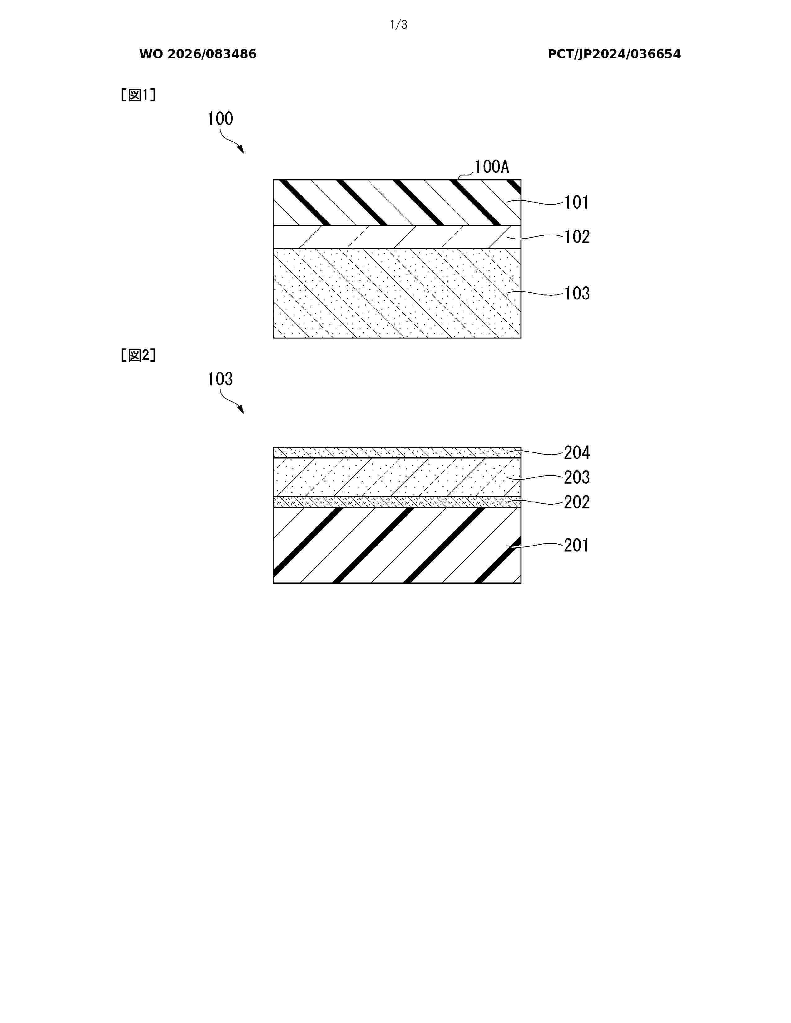
SOLAR CELL

NºPublicación:  WO2026083486A1 23/04/2026
Solicitante: 
KK TOSHIBA [JP]
TOSHIBA ENERGY SYSTEMS & SOLUTIONS CORP [JP]
\u682A\u5F0F\u4F1A\u793E\u6771\u829D
\u6771\u829D\u30A8\u30CD\u30EB\u30AE\u30FC\u30B7\u30B9\u30C6\u30E0\u30BA\u682A\u5F0F\u4F1A\u793E
WO_2026083486_A1

Resumen de: WO2026083486A1

A solar cell (100) according to an embodiment of the present invention has a glass layer (102) and a resin layer (101). The thickness of the glass layer (102) is 250 µm or less. The resin layer (101) forms the outermost layer on the light-entering surface side, is disposed on the upper side of the glass layer (102), and has an oxygen index of 22% or more. A substance that has a zeta potential having a symbol different from those of the zeta potentials of the glass layer (102) and the resin layer (101) is disposed between the glass layer (102) and the resin layer (102).

FIRE DIAGNOSIS SYSTEM USING INSULATION RESISTANCE

NºPublicación:  WO2026084487A1 23/04/2026
Solicitante: 
ECOPOWERTECH CO LTD [KR]
(\uC8FC)\uC5D0\uCF54\uD30C\uC6CC\uD14D
WO_2026084487_A1

Resumen de: WO2026084487A1

The present invention relates to a fire diagnosis system and, more specifically, to a fire diagnosis system using insulation resistance, which while measuring insulation resistance by applying a voltage to a string for a predetermined time, calculates a kick index indicating a degree of change for each unit time, so as to enable accurate diagnosis of abnormality in the insulation resistance, and causes a fire risk alert to be generated according to an abnormal state of the insulation resistance so as to enable a prompt response to a fire risk.

DISPLAY APPARATUS

NºPublicación:  US20260113118A1 23/04/2026
Solicitante: 
PURELIFI LTD [GB]
US_20260113118_A1

Resumen de: US20260113118A1

A display apparatus comprises an at least partially transparent display, the display configured to generate light to form an image for display to a user positioned in front of the display, and at least one of light-transmitting device or light-receiving device positioned behind the display, wherein the at least one of light-transmitting device or light-receiving device is configured to at least one of transmit or receive light through at least part of the display, wherein the at least one of light-transmitting device or light-receiving device comprises or forms part of an optical wireless communications (OWC) apparatus configured to at least one of transmit or receive the light through the at least part of the display.

SOLAR MODULE PLACEMENT

NºPublicación:  US20260112993A1 23/04/2026
Solicitante: 
BOTCREW TECH CORPORATION [US]
US_20260112993_A1

Resumen de: US20260112993A1

The present disclosure provides a method for solar module placement. The method includes gripping, via a first arm of the robotic vehicle, a front face of a solar module. The method includes placing, via the first arm, the solar module above a torque bar such that a back face of the solar module is positioned proximate to a bracket of the torque bar. The method includes obtaining, via a sensor disposed in a second arm of the robotic vehicle as the second arm is located beneath the bracket, image data of the bracket. The method includes translating the image data into a pose for the first arm gripping the solar module. The method includes adjusting at least one of a position or an orientation of the first arm based on the pose. The method includes securing, via the second arm, the solar module to the bracket by a fastener.

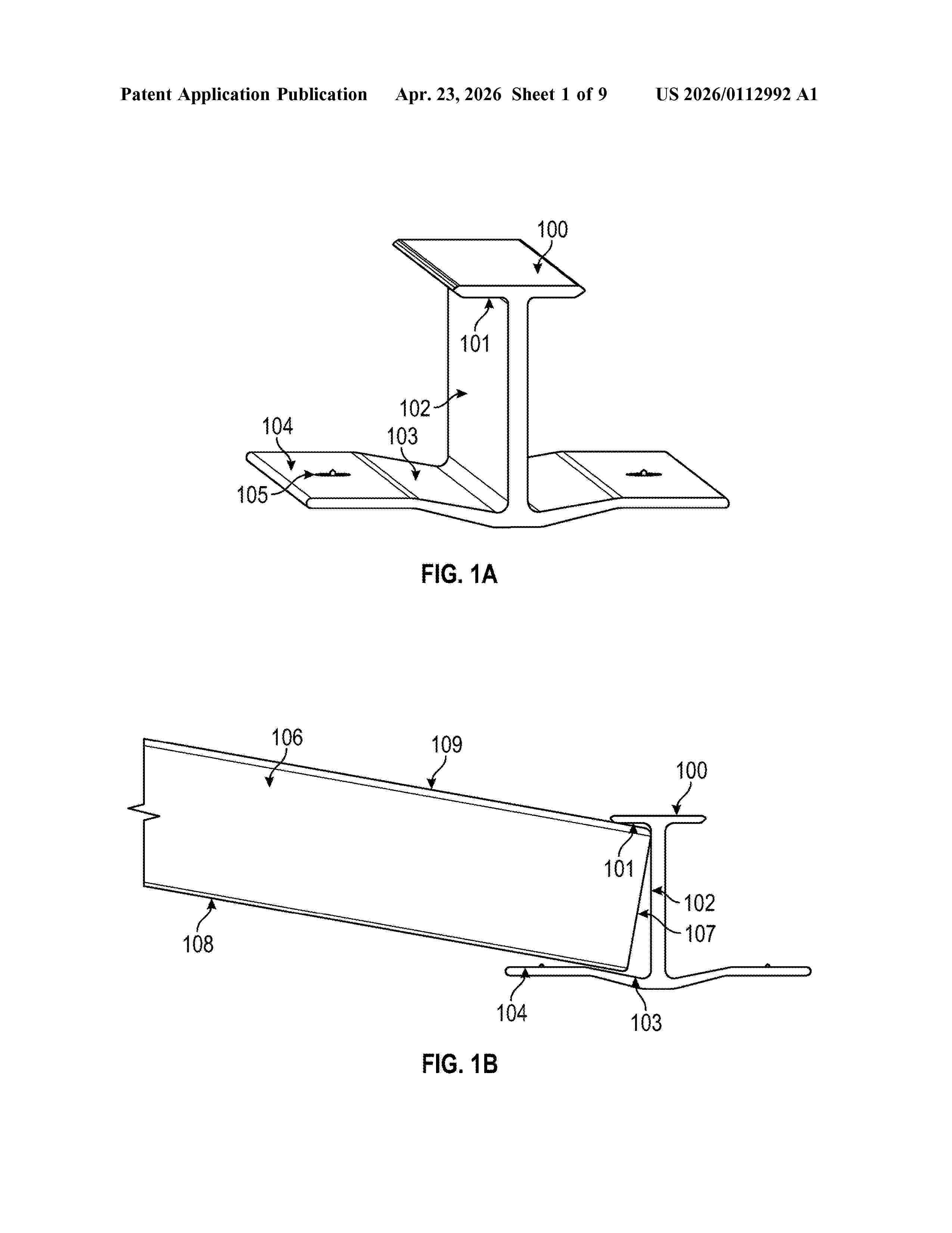
MODULAR CANOPY

NºPublicación:  US20260109211A1 23/04/2026
Solicitante: 
TEXTRON INC [US]
US_20260109211_A1

Resumen de: US20260109211A1

A canopy assembly for a recreational vehicle includes a first support and a second support. The first support and the second support are configured to couple to the recreational vehicle. The canopy assembly also includes a canopy supported by the first support and the second support. The canopy includes a first panel coupled to the first support and the second support, a second panel coupled to the first support and the second support, a third panel selectively insertable between the first panel and the second panel, and a locking mechanism. The locking mechanism is reconfigurable between a locked position or an unlocked position. When the locking mechanism is in the unlocked position, the third panel is removable from the canopy.

Lagerlift zur Ein- und Auslagerung von Lagergut

NºPublicación:  DE102024130521A1 23/04/2026
Solicitante: 
HAENEL GMBH & CO KG [DE]
DE_102024130521_PA

Resumen de: DE102024130521A1

Die Erfindung betrifft einen Lagerlift (10) zur Ein- und Auslagerung von Lagergut, aufweisend ein Gehäuse (12), innerhalb dessen eine Vielzahl an Lagerplätzen für das Lagergut vorgesehen ist, dadurch gekennzeichnet, dass in das Gehäuse (12) eine Energieerzeugungseinrichtung (24) integriert ist, die ausgebildet ist, elektrische Energie zu erzeugen und die elektrische Energie an einen Verbraucher abzugeben, der sich innerhalb oder außerhalb des Gehäuses (12) befindet.

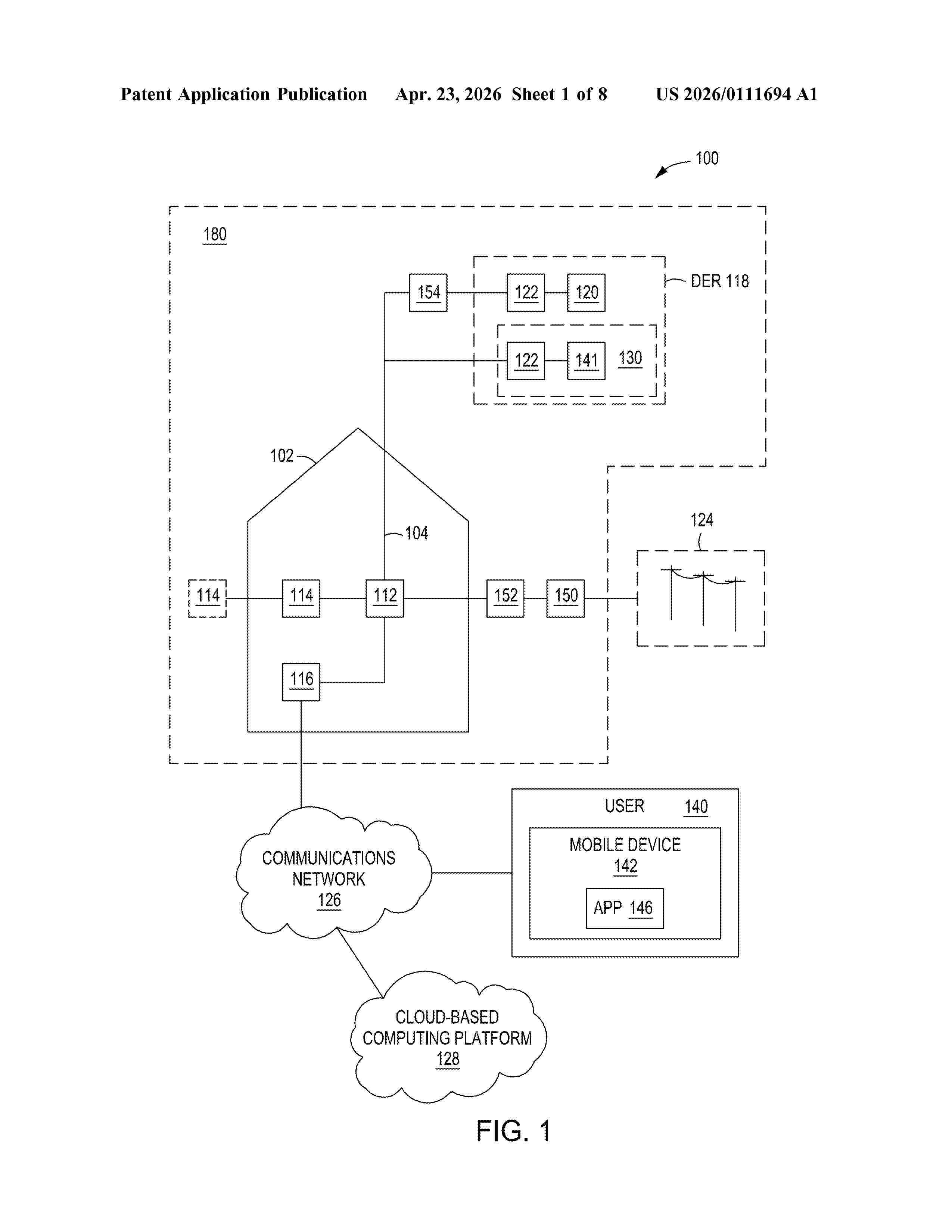
METHODS AND APPARATUS FOR COMMISSIONING MICROINVERTERS IN A PHOTOVOLTAIC SYSTEM

NºPublicación:  US20260111694A1 23/04/2026
Solicitante: 
ENPHASE ENERGY INC [US]
US_20260111694_A1

Resumen de: US20260111694A1

A method for commissioning a photovoltaic array is provided herein and comprises detecting, at a detector, a plurality of barcodes assigned to at least one of a photovoltaic or a microinverter in operative communication with the photovoltaic, outputting, from the detector, isolated individual barcode images of the plurality of barcodes to a reader, analyzing, at the reader, the isolated individual barcode images, and outputting, from the reader, a plurality of serial numbers corresponding to the isolated individual barcode images.

TORQUE TUBE INTERFACE WITH BIFURCATED STOP

NºPublicación:  US20260110334A1 23/04/2026
Solicitante: 
ARRAY TECH INC [US]
US_20260110334_A1

Resumen de: US20260110334A1

A torque tube interface for securing a torque tube to a support pile in a photovoltaic system may include a bearing housing configured to be secured to a support pile. The bearing housing may define an aperture and a housing slot. The torque tube interface may also include a bearing, which may be positioned substantially within the aperture such that the bearing is able to rotate within the bearing housing. The torque tube interface may also include a bifurcated stop which includes a first ring portion and a second ring portion that may connect and define an enclosed ring that may be secured around a torque tube and positioned at least partially within the bearing housing. The bifurcated stop may also include a limiter that is configured to extend through the housing and bearing slots to limit the amount that the torque tube may rotate.

BACK CONTACT CELL, PHOTOVOLTAIC MODULE AND METHOD FOR MANUFACTURING BACK CONTACT CELL

NºPublicación:  WO2026082170A1 23/04/2026
Solicitante: 
LONGI GREEN ENERGY TECH CO LTD [CN]
\u9686\u57FA\u7EFF\u80FD\u79D1\u6280\u80A1\u4EFD\u6709\u9650\u516C\u53F8
WO_2026082170_A1

Resumen de: WO2026082170A1

The present application relates to the technical field of back contact cells. Disclosed are a back contact cell, a photovoltaic module and a method for manufacturing the back contact cell, which can solve the problems of high defect risk and high current leakage risk between an N-type doped layer and a P-type doped layer. The back contact cell comprises a semiconductor substrate, a first surface of the semiconductor substrate comprising a first region, a second region and a third region located between the first region and the second region; a first doped semiconductor layer is disposed in the first region; a second doped semiconductor layer, which has a conductivity type opposite to that of the first doped semiconductor layer, is disposed in the second region. The resistivity of the surface layer of at least a portion of the surface of the semiconductor substrate located in the third region is greater than 20 ohm·cm. H1+H2+W is greater than or equal to 4 μm and less than or equal to 300 μm, H1 being the height difference between the surface of the third region and the surface of the first region, H2 being the height difference between the surface of the third region and the surface of the second region, and W being the width of the third region.

PHOTOVOLTAIC INVERTER

NºPublicación:  WO2026081580A1 23/04/2026
Solicitante: 
HUAWEI DIGITAL POWER TECH CO LTD [CN]
\u534E\u4E3A\u6570\u5B57\u80FD\u6E90\u6280\u672F\u6709\u9650\u516C\u53F8
WO_2026081580_A1

Resumen de: WO2026081580A1

Provided in the present application is a photovoltaic inverter. The photovoltaic inverter comprises a housing, and a circuit board and a power conversion circuit that are located in the housing. The housing comprises a first accommodating cavity, a second accommodating cavity, a third accommodating cavity and a fourth accommodating cavity; and the power conversion circuit comprises a first inductor, a bus capacitor and a second inductor which are sequentially connected in series, wherein the bus capacitor is located in the third accommodating cavity; and the first inductor and the second inductor are located in the fourth accommodating cavity. A terminal panel of the housing is provided with a direct-current input terminal and an alternating-current output terminal, wherein the direct-current input terminal extends into the first accommodating cavity and is electrically connected to the first inductor, and the alternating-current output terminal extends into the second accommodating cavity and is electrically connected to the second inductor. During the operation of the photovoltaic inverter, a current sequentially passes through the direct-current input terminal, the first inductor, the bus capacitor, the second inductor and the alternating-current output terminal, such that the current forms an approximate C-shaped flow path in the housing, thereby reducing electromagnetic interference between modules, and improving the electromagnetic compatibility and operating efficiency

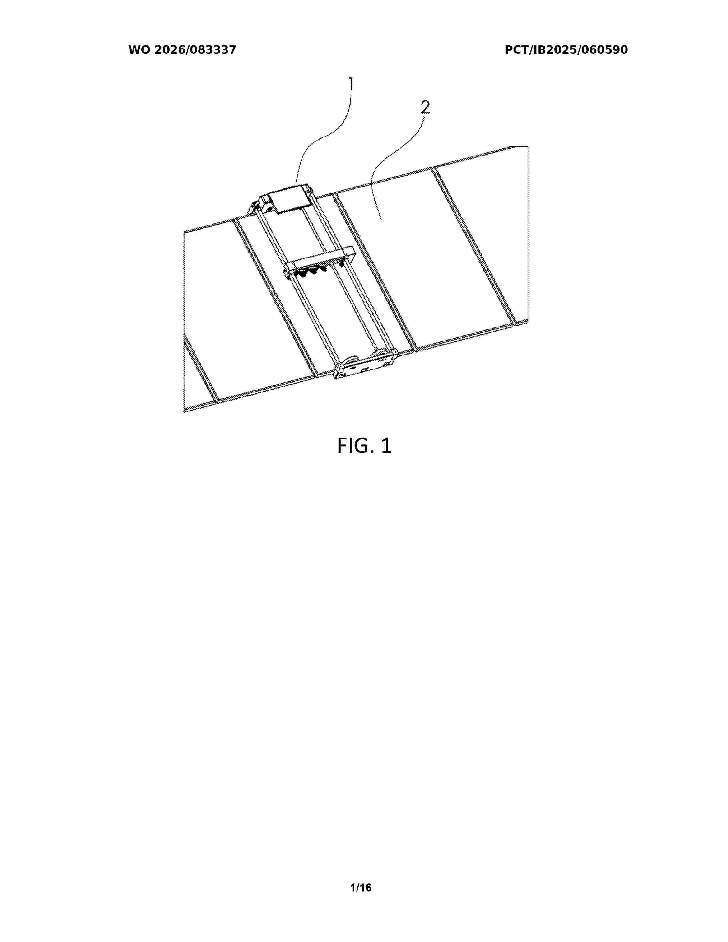
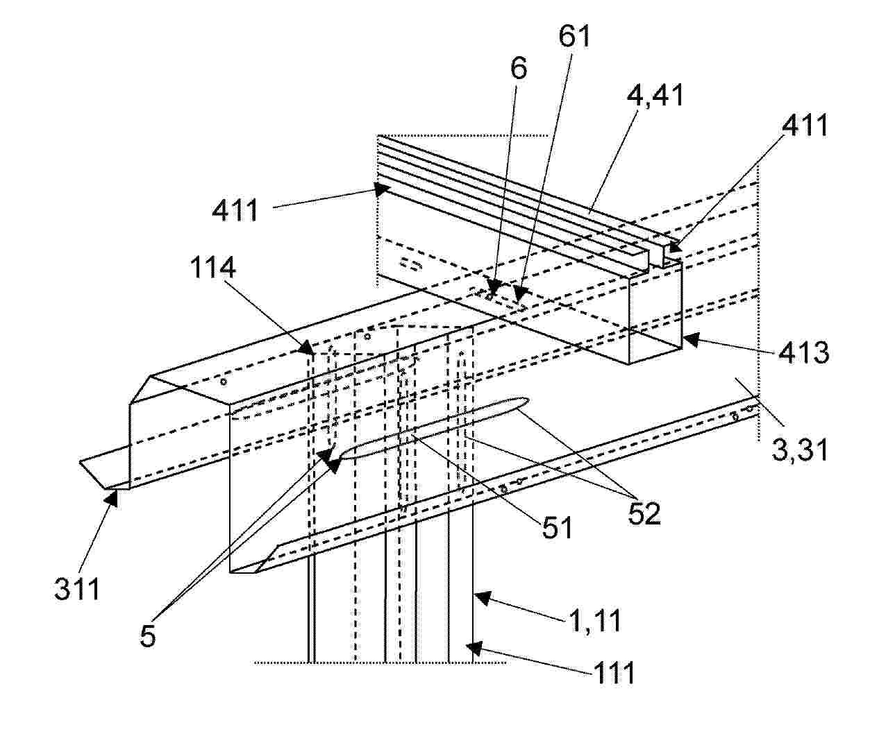
AUTOMATIC SOLAR PANEL CLEANING DEVICE WITH ROTATING BRUSH

NºPublicación:  WO2026083337A1 23/04/2026
Solicitante: 
TOFIS YIANNIS [CY]
WO_2026083337_A1

Resumen de: WO2026083337A1

Automatic solar panel cleaning device with rotating brush An automated system (1) for cleaning solar panels (2) comprises an upper frame body (3), lower frame body (4), conductive rails (5, 6), and a motorized cleaning head (7). The frame bodies include driving and driven wheels (31, 32, 41, 42) positioned at the upper and lower edges of a solar panel, enabling efficient horizontal locomotion across the panel surface. Dual conductive rails attach to the frame bodies and maintain an electrical potential difference to each other. The cleaning head electrically connects to these rails for power supply and features motorized wheels (71, 72) enabling vertical travel movement along the panel. Current flow reversal through the rails provides directional control of the cleaning head movement. The cleaning head incorporates a motorized rotating brush system mounted on an adaptive suspension mechanism that compensates for surface irregularities, maintaining consistent optimal contact pressure with the solar panel surface throughout the operation.

MULTI-PIECE ADJUSTABLE CLIP FOR SECURING PROTECTIVE MESH TO A SOLAR PANEL

NºPublicación:  US20260110316A1 23/04/2026
Solicitante: 
POLO EPO ENTPR [BD]
US_20260110316_A1

Resumen de: US20260110316A1

An adjustable clip for securing a protective mesh to a solar panel is disclosed. The clip includes a main body having a curved profile configured to partially encircle a wire of the protective mesh and engage the edge of a solar panel frame. One or more insertable heads are slideably coupled to the main body to vary the gripping dimension of the clip, allowing it to accommodate different panel frame thicknesses and mesh gauges. The inner surface of the main body includes gripping protrusions and stabilizers that distribute load evenly, prevent slippage, and enhance structural rigidity. The clip may be formed from polytetrafluoroethylene (PTFE), other high-performance polymers, metallic materials, or fiber-reinforced composites such as carbon-or glass-fiber-reinforced polymers. The adjustable configuration provides a durable, reusable, and universally compatible fastening solution for securing protective mesh to a variety of solar panel installations.

SYSTEM AND METHOD FOR ENHANCED POWER OUTPUT OF MOBILE SOLAR PANELS

NºPublicación:  WO2026083107A1 23/04/2026
Solicitante: 
EATON INTELLIGENT POWER LTD [IE]
WO_2026083107_A1

Resumen de: WO2026083107A1

A method to optimize a tilt angle of an adjustable solar panel installed on an electric vehicle for power output is provided. The method includes receiving magnetic field data of the electric vehicle, estimating vehicle orientation from the magnetic field data of the electric vehicle, receiving GPS data that includes estimated global coordinates of the electric vehicle, determining a utility of solar panel orientation change based on the vehicle orientation and the GPS data, comparing the utility of solar panel orientation change to a threshold, and in response to the utility of solar panel orientation change being above the threshold, calculating a tilt angle of the adjustable solar panel with respect to a surface of the electric vehicle. The tilt angle can be calculated based on many factors including latitude of the electric vehicle, a seasonal adjustment, solar declination and angle of incidence.

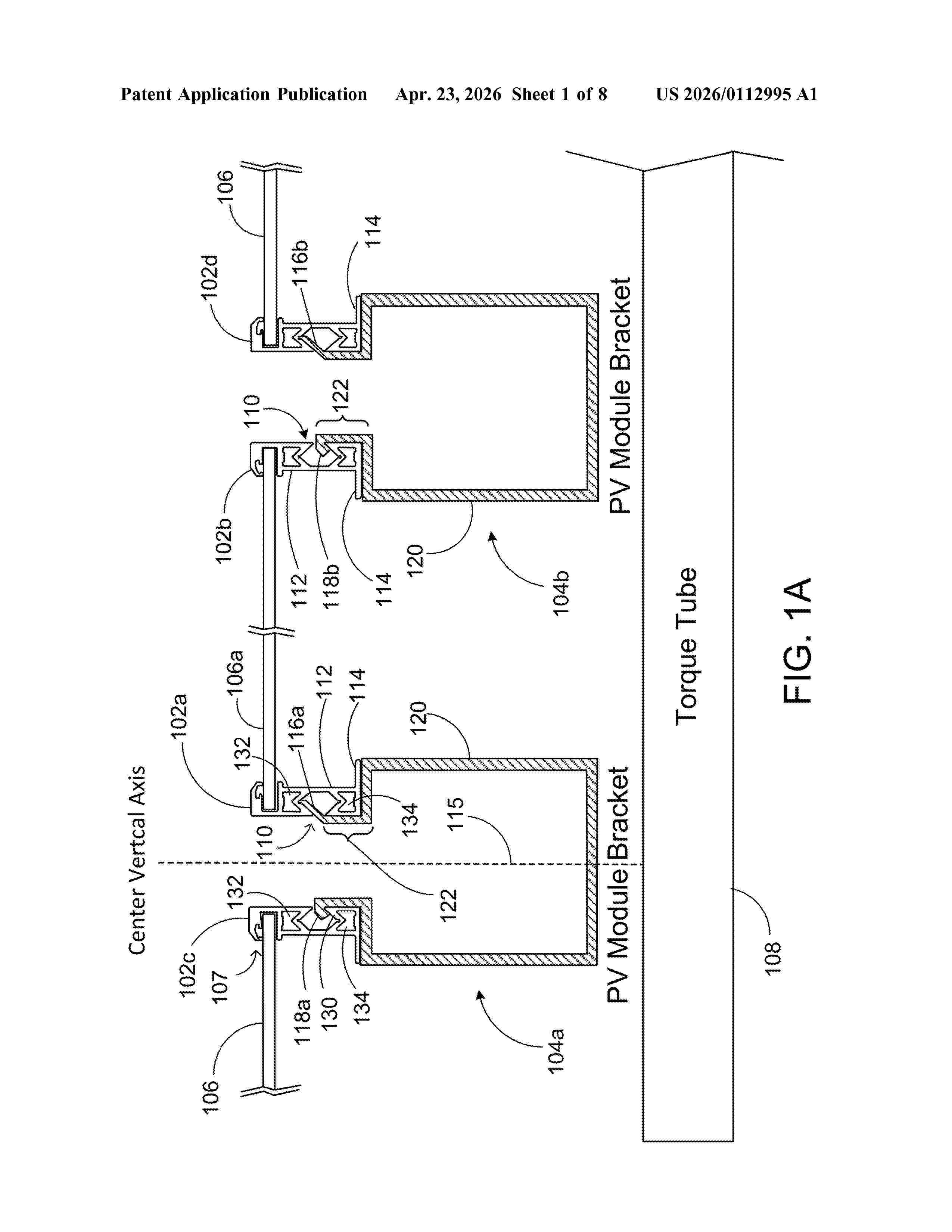
MECHANICAL PANEL INTERFACE

NºPublicación:  US20260112995A1 23/04/2026
Solicitante: 
DS2 0 LLC [US]
US_20260112995_A1

Resumen de: US20260112995A1

Systems, devices, methods, and apparatus for a mechanical panel interface. Some systems include a base member at a bottom of a module frame. At least one support member of the module frame extends vertically away from the base member. A module receiving void of the module frame is configured to receive an edge of a PV module, is located above the at least one support member, and has an opening on a same side of the PV module frame as the at least one support member. A bracket interface of the module frame has an opening located on an opposite side of the module frame than the module receiving void. The bracket interface can be configured to receive, within a perimeter of the module frame, a tab of a corresponding module bracket. At least one enclosed area of the module frame is located above or below the bracket interface.

CONTROL METHOD AND APPARATUS FOR PHOTOVOLTAIC POWER GENERATION SYSTEM, AND ELECTRONIC DEVICE AND STORAGE MEDIUM

NºPublicación:  WO2026081782A1 23/04/2026
Solicitante: 
NORTH UNITED BAYANNUR CLEAN ENERGY POWER CO LTD [CN]
LINHE THERMAL POWER PLANT OF NORTH UNITED ELECTRIC POWER CO LTD [CN]
\u5317\u65B9\u8054\u5408\uFF08\u5DF4\u5F66\u6DD6\u5C14\uFF09\u6E05\u6D01\u80FD\u6E90\u7535\u529B\u6709\u9650\u8D23\u4EFB\u516C\u53F8
\u5317\u65B9\u8054\u5408\u7535\u529B\u6709\u9650\u8D23\u4EFB\u516C\u53F8\u4E34\u6CB3\u70ED\u7535\u5382
WO_2026081782_A1

Resumen de: WO2026081782A1

The present disclosure relates to the technical field of data processing. Disclosed are a control method and apparatus for a photovoltaic power generation system, and an electronic device and a storage medium. The main technical solution comprises: acquiring an external access request, wherein there is at least one access target in one external access request; and performing identity verification on the external access request, and after the verification is successful, forwarding the external access request to the access target corresponding to the external access request. By means of remotely monitoring and verifying external access requests, it is ensured that only requests that pass identity verification can be processed and forwarded to corresponding targets. This remote control capability not only improves the security of a system, but also enhances the flexibility and increases the response speed. An administrator can update a security policy in real time to rapidly cope with new threats or abnormal behaviors, without physically accessing a server. In addition, remote management reduces the need for field maintenance, reduces operation and maintenance costs, and achieves more efficient troubleshooting and problem solving.

METHOD AND APPARATUS FOR POWER PREDICTION OF PHOTOVOLTAIC POWER STATION, AND DEVICE

NºPublicación:  WO2026081442A1 23/04/2026
Solicitante: 
HUANENG ANHUI MENGCHENG WIND POWER GENERATION CO LTD [CN]
\u534E\u80FD\u5B89\u5FBD\u8499\u57CE\u98CE\u529B\u53D1\u7535\u6709\u9650\u8D23\u4EFB\u516C\u53F8
WO_2026081442_A1

Resumen de: WO2026081442A1

The present invention provides a method and apparatus for power prediction of a photovoltaic power station, and a device. The method comprises: acquiring a real-time power value of each photovoltaic module in a current detection cycle; acquiring an environmental parameter predicted value of each photovoltaic module in the next detection cycle; on the basis of a real-time temperature value, real-time light intensity value and real-time tilt angle value in the real-time power value and a temperature predicted value, light intensity predicted value and tilt angle predicted value in the environmental parameter predicted value, determining a temperature variation coefficient, a light intensity variation coefficient, and a tilt angle variation coefficient of each corresponding photovoltaic module; inputting the temperature variation coefficient, the light intensity variation coefficient, the tilt angle variation coefficient, and the real-time power value into a power prediction model, and outputting a power predicted value of a photovoltaic power station in the next detection cycle. By accurately obtaining an environmental parameter predicted value and then performing power prediction, the accuracy of the power prediction of the photovoltaic power station can be guaranteed better.

AI-BASED SELF-SUFFICIENT SMART FARM SYSTEM AND EXECUTION METHOD THEREOF

NºPublicación:  WO2026084140A1 23/04/2026
Solicitante: 
GIFT FARMS INC AN AGRICULTURAL CORP [KR]
\uB18D\uC5C5\uD68C\uC0AC\uBC95\uC778 \uC8FC\uC2DD\uD68C\uC0AC \uAE30\uD504\uD2B8\uD31C\uC2A4
WO_2026084140_A1

Resumen de: WO2026084140A1

An AI-based self-sufficient smart farm system according to the present invention comprises: a rainwater collection device which is installed at the upper end or on the outer surface of the smart farm system and effectively collects rainwater; a water storage tank which stores the rainwater transferred through the rainwater collection device and supplies the rainwater to the smart farm as agricultural water; a solar panel which is installed outside the smart farm system, absorbs sunlight to generate electricity, and supplies the generated electricity to an electricity storage device in the smart farm; a crop cultivation robot which performs agricultural activities in the smart farm and collects data on the growth state of each crop in the process of performing the agricultural activities; and an AI analysis device which monitors the growth state of the crop on the basis of the data collected by the cultivation robot and controls the operation of an agricultural environment control device.

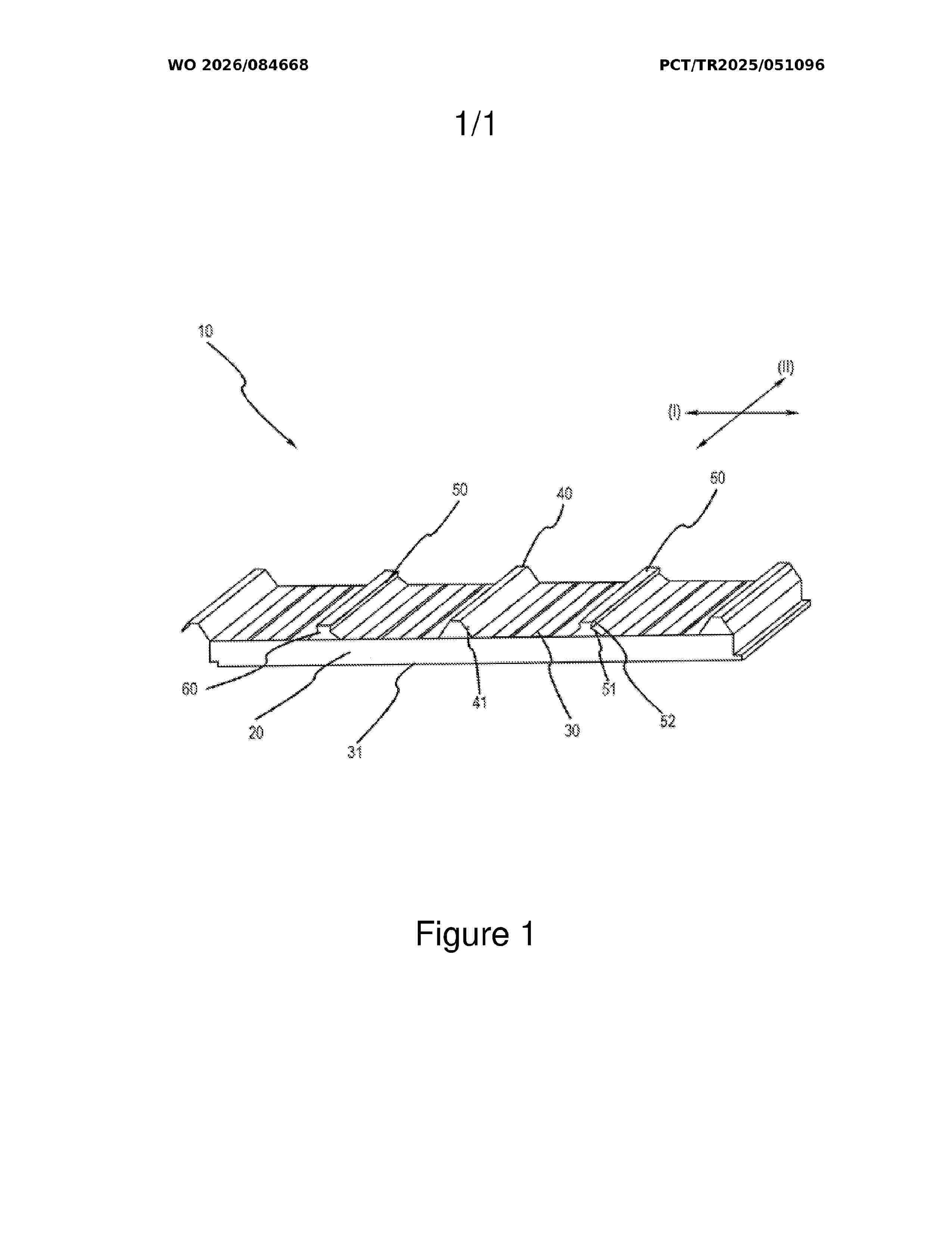
A HIGH-STRENGTH AND EASILY MANUFACTURED SANDWICH ROOF PANEL

NºPublicación:  WO2026084668A1 23/04/2026
Solicitante: 
ROLLPANEL YALITIM VE INSAAT MALZEMELERI SANAYI TICARET ANONIM SIRKETI [TR]
WO_2026084668_A1

Resumen de: WO2026084668A1

The invention relates to a roof panel (10) which can be positioned on a roof to provide protection against natural conditions in houses, factories, warehouses, shopping malls, and similar buildings, comprising at least one body (20) made of rock wool, at least one sheet plate (30) connected to the upper vicinity of the body (20), at least one base sheet (31) connected to the lower vicinity of the body (20), at least one connection extension (50) and at least one protrusion (40) positioned side by side on the sheet plate (30) along at least one first axis (I) and extending in a second axis (II) direction perpendicular to the first axis (I), characterized in that the protrusion (40) has a trapezoidal form (41), the connection extension (50) has a narrowing form (51) as it moves away from the sheet plate (30) and a rectangular prism form (52) at the upper part of the narrowing form (51) so as to allow technical elements such as a solar panel or a water tank to be connected onto it, that the connection extension (50) and the protrusion (40) comprise at least one filling cavity (60) on the sides facing the body (20), that the filling cavity (60) of the connection extension (50) contains polyisocyan urate (PIR) and/or polyurethane (PUR) material, and that the filling cavity (60) of the protrusion (40) contains polyisocyanurate (PIR), polyurethane (PUR), or rock wool material.

SYSTEM TO GENERATE ELECTRICAL ENERGY FROM RENEWABLE ENERGY SOURCES AND METHOD THEREOF

NºPublicación:  WO2026083343A1 23/04/2026
Solicitante: 
BHARAT PETROLEUM CORPORATION LTD [IN]
WO_2026083343_A1

Resumen de: WO2026083343A1

The present disclosure discloses a system (102) and a method (200) for generating electrical energy from one or more renewable energy sources. The system (102) includes one or more energy generation units (104) having one or more horizontal axis wind turbines (HAWTs) (104-1) mounted at a predetermined location to capture wind energy, and one or more vertical axis wind turbines (VAWTs) (104-2) positioned in proximity of the HAWTs (104-1) to harness generated wind energy and environmental wind currents for producing electrical energy. The system (102) further includes one or more solar photovoltaic (PV) arrays (104-3) configured to receive solar energy and convert it into electrical energy. One or more energy storage units (106) are operatively coupled to store the generated electrical energy. A power management unit (108) regulates the flow of stored electrical energy and facilitates its utilization for one or more energy utilization tasks.

METHOD AND APPARATUS FOR MONITORING PHOTOVOLTAIC POWER GENERATION SYSTEM, ELECTRONIC DEVICE, AND STORAGE MEDIUM

NºPublicación:  WO2026081823A1 23/04/2026
Solicitante: 
NORTH UNITED BAYANNUR CLEAN ENERGY POWER CO LTD [CN]
LINHE THERMAL POWER PLANT OF NORTH UNITED ELECTRIC POWER CO LTD [CN]
\u5317\u65B9\u8054\u5408\uFF08\u5DF4\u5F66\u6DD6\u5C14\uFF09\u6E05\u6D01\u80FD\u6E90\u7535\u529B\u6709\u9650\u8D23\u4EFB\u516C\u53F8
\u5317\u65B9\u8054\u5408\u7535\u529B\u6709\u9650\u8D23\u4EFB\u516C\u53F8\u4E34\u6CB3\u70ED\u7535\u5382
WO_2026081823_A1

Resumen de: WO2026081823A1

The present disclosure relates to the technical field of data processing, and discloses a method and apparatus for monitoring a photovoltaic power generation system, an electronic device, and a storage medium, the method comprising: on the basis of a preset apparatus, acquiring data to be monitored; calling, in a preset database, a monitoring threshold having a correspondence relationship with a data item to be monitored, and checking data information of the data item to be monitored; and when the checking result is that the data to be monitored is greater than or equal to the monitoring threshold, generating a fault alarm signal and broadcasting the fault alarm signal on the basis of a preset broadcasting mode. The data to be monitored is automatically acquired by means of the preset apparatus, and a threshold corresponding to the monitored data item is called in the database for checking. When the monitoring data exceeds or is equal to the threshold, the system immediately generates a fault alarm signal and broadcasts the fault alarm signal in the preset mode, thereby implementing real-time and accurate fault warning. By using such an automatic monitoring and alarm mechanism, the efficiency of fault discovery is greatly improved, the need for manual intervention is reduced, and stable operation and safety of the system are ensured.

SOLAR CELL ELECTRODE AND PREPARATION METHOD THEREFOR, AND TOPCON CELL AND PREPARATION METHOD THEREFOR

Nº publicación: WO2026081549A1 23/04/2026

Solicitante:

HENGDIAN GROUP DMEGC MAGNETICS CO LTD [CN]
\u6A2A\u5E97\u96C6\u56E2\u4E1C\u78C1\u80A1\u4EFD\u6709\u9650\u516C\u53F8

WO_2026081549_A1

Resumen de: WO2026081549A1

A solar cell electrode and a preparation method therefor. The preparation method for a solar cell electrode comprises: providing a cell sheet precursor of an electrode to be prepared, and forming an electrode slurry at an electrode preset position of the cell sheet precursor; performing sintering processing on the cell sheet precursor having the electrode slurry to obtain an initial electrode, steps of the sintering processing comprising heating, first constant-temperature sintering, first cooling, second constant-temperature sintering, and second cooling, the temperature of the first constant-temperature sintering being 760°C to 800°C and the duration of the first constant-temperature sintering being 3 to 10 seconds, and the temperature of the second constant-temperature sintering being 700°C to 740°C and the duration of the second constant-temperature sintering being 10 to 20 seconds; and performing laser processing on the cell sheet precursor having the initial electrode to obtain an electrode.

traducir