Ministerio de Industria, Turismo y Comercio LogoMinisterior
 

Energía eólica

Resultados 459 resultados
LastUpdate Última actualización 15/11/2025 [07:22:00]
pdfxls
Solicitudes publicadas en los últimos 15 días / Applications published in the last 15 days
Resultados 1 a 25 de 459 nextPage  

一种基于低轨卫星通信的海上风电安全监测与预警方法

NºPublicación:  CN120954197A 14/11/2025
Solicitante: 
北京风桥科技有限公司
CN_120954197_PA

Resumen de: CN120954197A

本申请涉及海上风电安全监测技术领域,尤其是涉及一种基于低轨卫星通信的海上风电安全监测与预警方法,其包括数据采集与预处理、低轨卫星通信、智能风险评估、多维预警决策、动态优化及可视化与决策支持六大模块。通过低轨卫星实现高稳定性和实时性数据传输,结合深度学习和模糊逻辑算法进行风险评估与分级预警,并利用强化学习动态优化系统策略。本申请能够显著提升复杂海洋环境下数据传输效率和风险识别能力,降低误报率和运维成本,为海上风电设施的安全运行提供智能化解决方案。

一种风力发电机叶片安装现场风力补偿装置

NºPublicación:  CN120946913A 14/11/2025
Solicitante: 
华能科尔沁右翼前旗新能源有限公司华能突泉新能源有限公司
CN_120946913_PA

Resumen de: CN120946913A

本发明涉及风力发电机叶片安装技术领域,并公开了一种风力发电机叶片安装现场风力补偿装置,包括两个安装箍;锁扣,设置在两个所述安装箍的开合端;两组安装板,分别设置在两个所述安装箍的内侧壁,每组所述安装板的数量为两个,且每组所述安装板对称固定安装在所述安装箍的内侧壁;两组支撑机构,分别设置在两组所述安装板上。通过设置安装箍与支撑机构,安装箍可以紧贴在风力发电机塔筒的外表壁,并通过锁扣锁紧,导轮的外表壁能够始终与塔筒的外表壁贴合,有利于在安装和吊装过程中,确保安装箍能够随着塔筒外壁尺寸的变化而灵活调整支撑位置,从而实现对叶片吊装过程的稳定支撑,补偿了风力对叶片吊装的影响。

格构式风电塔用基础及其施工方法

NºPublicación:  CN120945935A 14/11/2025
Solicitante: 
浙江华东新能科技有限公司
CN_120945935_PA

Resumen de: CN120945935A

本发明涉及风电技术领域,公开了一种格构式风电塔用基础及其施工方法,该基础包括若干承台,相邻两个承台之间固定连接有横梁;承台上侧可架立格构式风电塔塔柱;任一承台中心处留有预埋管,用于预应力钢绞线穿索,预应力钢绞线可固定在张拉空腔顶面;任一承台底面设有张拉空腔,可作为预应力钢绞线张拉或锚固操作空间;任一承台上设有预应力锚栓组件,预应力锚栓组件适于与格构式风电塔塔柱固定。本发明中采用多个承台为格构式风电塔固定提供支撑,相对于传统的圆筒式塔架的风机基础,能够显著节省征地面积,以减小材料成本,并且适用于多种地形环境。

基于毫米波雷达提取叶片目标信号的叶轮不平衡监测方法

NºPublicación:  CN120946524A 14/11/2025
Solicitante: 
陕西中科启航科技有限公司
CN_120946524_PA

Resumen de: CN120946524A

本发明公开一种基于毫米波雷达提取叶片目标信号的叶轮不平衡监测方法,首先获取叶片目标的毫米波点云数据,进行叶片目标提取;将提取的叶片目标轮廓按照ABC三支叶片分组,分别对分组间叶片轮廓计算区域交集面积、并集面积,计算交集与并集的比值作为三支叶片两两间不平衡分量;计算三支叶片不平衡分量的均方根作为叶轮不平衡度,最小二乘拟合叶轮不平衡度与转速的关联趋势,乘以安全系数作为告警阈值,当不平衡度超出预设的告警阈值时进行预警。本发明能够实现实时监测叶轮不平衡和保护机组运行安全的功能,无需人工参与即可实现高准确率的不平衡现象的预警,具有更强的工况适应性和不同机型的应用普适性。

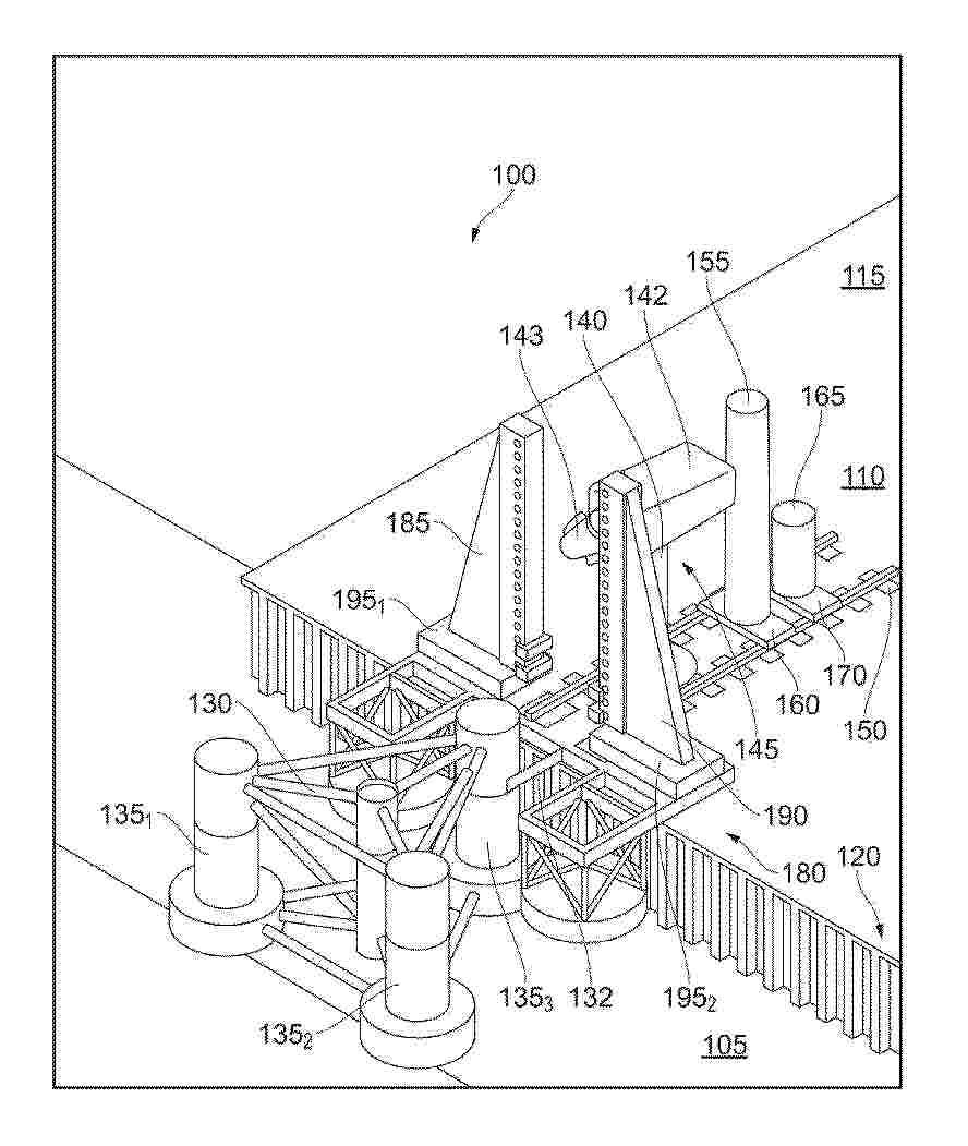
漂浮式基座、漂浮风电系统及其控制方法

NºPublicación:  CN120942504A 14/11/2025
Solicitante: 
中国华能集团清洁能源技术研究院有限公司华能广东汕头海上风电有限责任公司华能(广东)能源开发有限公司华能海上风电科学技术研究有限公司
CN_120942504_PA

Resumen de: CN120942504A

本发明提供了一种漂浮式基座、漂浮风电系统及其控制方法,涉及风力发电的技术领域,本发明提供的漂浮式基座,包括:主体、浮体模具和筋体,所述主体通过混凝土浇注而成;所述主体内部设置有多个封闭的空腔,所述空腔包裹有所述浮体模具,任意两个所述空腔不连通;所述主体内部且位于所述空腔的外侧区域设置有所述筋体。

一种风电叶片通用型转运设备及转运方法

NºPublicación:  CN120942169A 14/11/2025
Solicitante: 
东台启盛新能源科技有限公司
CN_120942169_PA

Resumen de: CN120942169A

本发明提供一种风电叶片通用型转运设备及转运方法,涉及转运设备技术领域,本发明包括车头,所述车头的一侧设置有车斗,所述车斗靠近车头一端的顶部设置有限位框,所述限位框远离车头的一端均匀设置有液压装置,所述液压装置远离限位框的一端设置在车斗的顶部,所述车斗的顶部设置有限位装置,所述限位装置包括滑动块,所述车斗的顶部开设有滑槽,使用限位装置的时候,当把叶片设置在车斗顶部之后,控制滑动块在滑槽的内壁中滑动,当滑动块滑动到合适位置的时候,在限位杆的限制下,手动控制第一螺纹杆转动,进而使得移动块顶部固定连接的橡胶板挤压在叶片的底部,这样可以很好的把叶片悬空在车斗顶部的部分支撑住。

用于风电机组的设备控制方法、装置及电子设备

NºPublicación:  CN120946502A 14/11/2025
Solicitante: 
广东省科筑智联数字科技有限公司
CN_120946502_PA

Resumen de: CN120946502A

本发明涉及风电机组控制技术领域,尤其涉及一种用于风电机组的设备控制方法、装置及电子设备,所述方法包括:实时采集风电机组的设备数据和风力数据,依据风电机组的设备数据建立叶片电离损失系数,进而确定监测周期内叶片老化状态,融合盐雾浓度与环境湿度构建盐雾腐蚀模型,并依据风力数据与盐雾腐蚀模型更新叶片老化状态,获取风电机组塔筒的振动数据,并建立风电机组的振动模型,以风力数据结合风电机组的设备数据计算叶片涡旋干扰系数,进而结合风电机组的振动模型与叶片涡旋干扰系数判断风电机组的负荷状态,以风电机组的负荷状态结合叶片老化状态对风电机组内液压制动装置进行控制。本发明有效提高了风电机组的控制效率。

一种风力发电变频热泵系统

NºPublicación:  CN120946507A 14/11/2025
Solicitante: 
广州哈思新能源科技有限公司
CN_120946507_PA

Resumen de: CN120946507A

本发明提供了一种风力发电变频热泵系统,包括:挡风板,挡风板上设置有多个并排间隔分布的导风孔,每个导风孔的一侧均对应安装有弧形的诱导板,风力发电装置安装在挡风板的后侧且斜对导风孔设置,变频热泵机组安装在风力发电装置的后方,且变频热泵机组上的出风口斜对风力发电装置设置,所述风力发电装置与变频热泵机组之间通过风力发电升压模块连接。本发明通过对挡风板、风力发电装置、变频热泵机组的结构设计,可以使得不管是否有自然风,只要热泵机组启动,风力发电装置均可以一直发电给变频热泵机组使用,在发电较少时,市电直接无缝补充,使用灵活,可以获得更高的HSPF和APF值,达到更节能的目的。

一种基于海洋牧场的风光发电饲料冷藏循环系统

NºPublicación:  CN120937907A 14/11/2025
Solicitante: 
广东海洋大学
CN_120937907_PA

Resumen de: CN120937907A

本发明涉及海洋牧场养殖技术领域,公开了一种基于海洋牧场的风光发电饲料冷藏循环系统,包括:风光发电系统,利用风能和光能发电;依次连通的制冷机、盐水储冷箱、饲料冷藏箱和电子泵,电子泵与制冷机连通形成盐水循环回路;电子泵用于带动盐水在盐水循环回路中流动,制冷机、电机泵均与风光发电系统电连接。白天饲料冷藏箱里没有饲料时,风光发电系统发电给制冷机对储冷箱里的盐水进行制冷,当储冷箱内的盐水降低至预设温度后,风光发电系统将电能储存到蓄电池中作为备用能源;当夜间饲料冷藏箱放入饲料时,将盐水储冷箱内的低温盐水输送到饲料冷藏箱,进而实现利用风光发电系统对饲料进行降温。

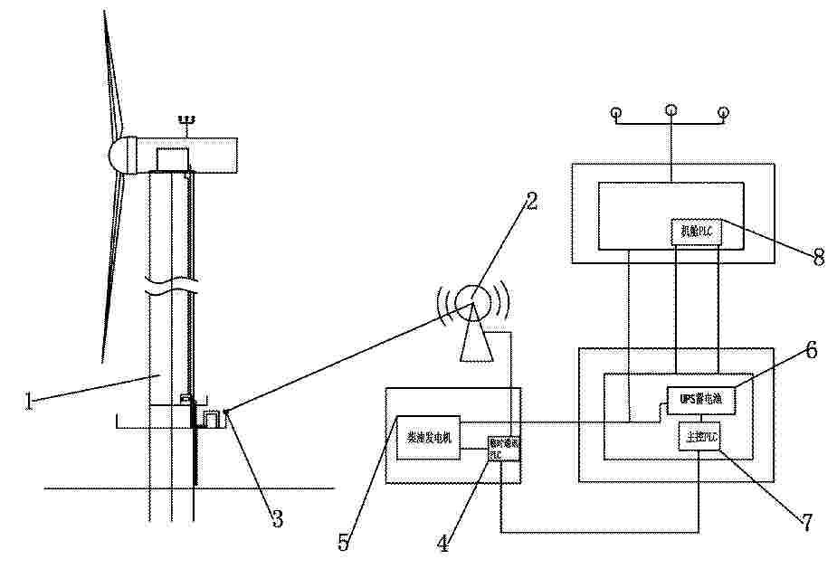
基于北斗通信的海上风电机组远程监控与控制系统及方法

NºPublicación:  CN120956316A 14/11/2025
Solicitante: 
三峡新能源海上风电运维江苏有限公司
CN_120956316_PA

Resumen de: CN120956316A

基于北斗通信的海上风电机组远程监控与控制系统及方法,属于海上风电通信技术领域,旨在解决现有海上风电机组在通信中断,如海缆断裂、风机脱网或主控断电等紧急情况下,无法进行远程监测与控制的技术难题;本发明通过在陆地集控中心和海上风机分别加装北斗三号短报文传输终端,以实现海上风机与陆地之间的北斗卫星无线通信;通过临时通信PLC将北斗终端接收的短报文信息转换成二进制指令,控制柴油发电机的启停,并为风机UPS蓄电池及相关设备供电;进而达成风机的远程监测与控制;本发明提供了一种可靠的备用通信手段,确保在紧急情况下仍能实现风机的远程监控与控制,有效保障风机安全运行,装置简单、安装便捷、功能全面且经济高效。

一种用于风力发电机组叶片的激光融冰系统

NºPublicación:  CN120946528A 14/11/2025
Solicitante: 
深圳慧能智达科技有限公司
CN_120946528_PA

Resumen de: CN115059590A

The invention discloses a laser ice melting system for blades of a wind generating set, which comprises an ice melting device body, an ice melting walking track, a machine head comprehensive sensor, an ice melting device azimuth angle measuring unit, a fan blade rotating speed key phase measuring unit and a blade infrared temperature measuring unit, the track is fixed on a zero-meter platform of the wind generating set; the machine head orientation measuring unit is installed on a wind generating set cabin, the ice melting device azimuth angle measuring unit, the fan blade rotating speed key phase measuring unit and the blade infrared temperature measuring unit are installed on an ice melting device machine body, and the ice melting device machine body automatically tracks a wind generating set machine head to enable the wind generating set machine head to directly face a fan machine head. By measuring the rotating speed of fan blades and the surface temperature of the fan blades and controlling the pitching and horizontal angle of a laser lens holder and the power of a laser, continuous and non-contact blade heating/ice melting and melting prevention are combined, prevention is mainly performed, and the fan is prevented from being forced to stop due to freezing of the blades.

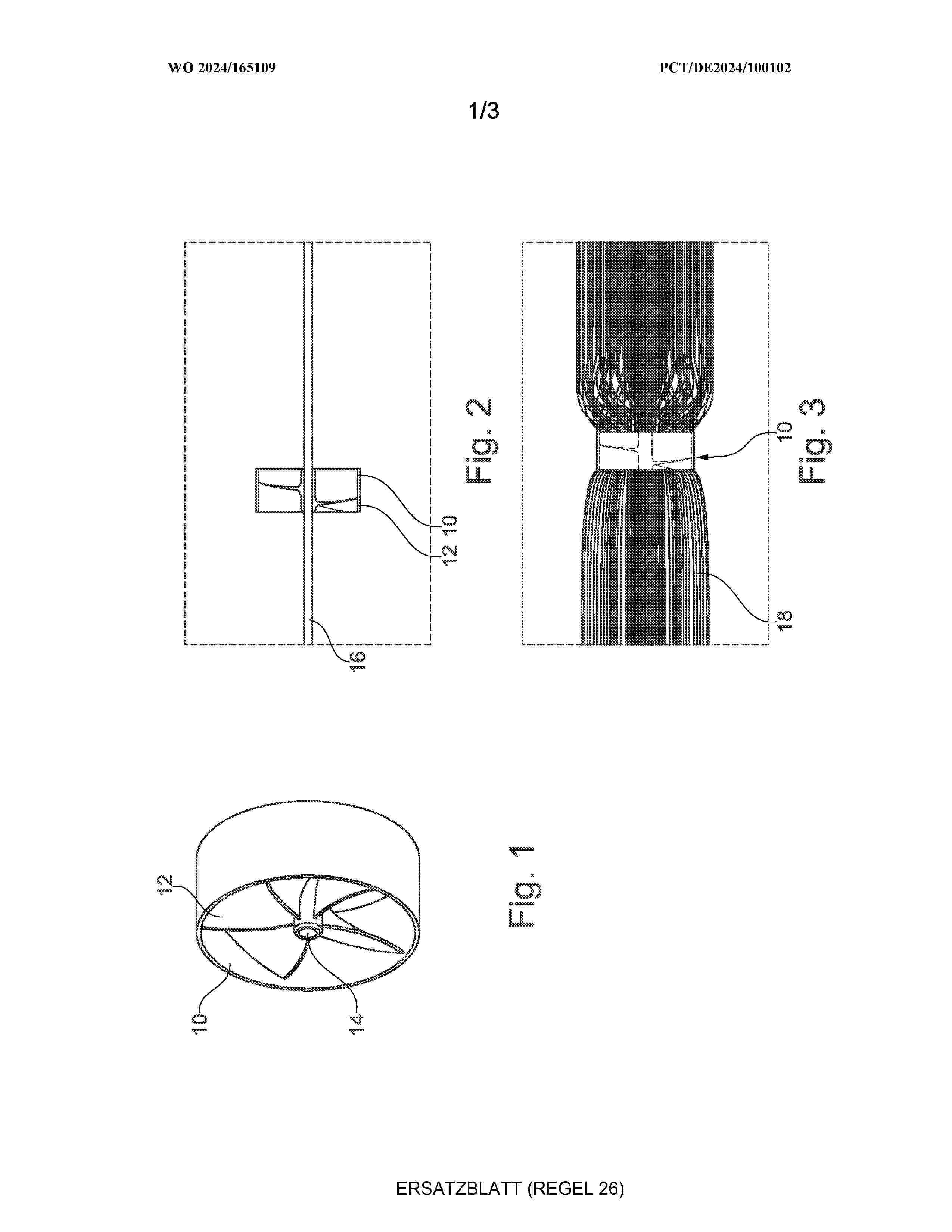
风力涡轮机润滑系统

NºPublicación:  CN120958221A 14/11/2025
Solicitante: 
维斯塔斯风力系统集团公司
CN_120958221_PA

Resumen de: WO2024217649A1

A wind turbine lubrication system (10) is described. The system (10) comprises a lubricant reservoir (12), a pump (16) for circulating lubricant from the lubricant reservoir (12) to a drivetrain component (14) of the wind turbine and back to the lubricant reservoir (12). A filter assembly (18) is connected between the lubricant reservoir (12) and the drivetrain component (14). A bypass channel (30) provides a fluid connection between the filter assembly (18) and the lubricant reservoir (12) that bypasses the drivetrain component (14). A fluid control device (20) is operable to select between a lubrication circuit and a cleaning circuit. The lubrication circuit comprises the lubricant reservoir (12), the filter assembly (18), and the drivetrain component (14). The cleaning circuit excludes the drivetrain component (14) and comprises the lubricant reservoir (12), the filter assembly (18) and the bypass channel (30). A method of servicing the lubrication system (10) comprises operating the fluid control device (20) to select the cleaning circuit. Lubricant is then circulated within the cleaning circuit during a cleaning cycle to remove contaminants from the lubricant.

适于穿过流体环境的具有锯齿的结构

NºPublicación:  CN120958230A 14/11/2025
Solicitante: 
生物可再生能源公司
CN_120958230_PA

Resumen de: AU2023386380A1

There is provided an airfoil with a plurality of alternating projections and troughs along its trailing edge designed to traverse a fluid medium. The airfoil described uses the plurality of projections and troughs to negate noise, which is a function of wind speed and chord length. In an alternate variation, instead of, or in addition to negating noise, the plurality of projections and troughs instead are adapted to produce or modify noise such that it is generated in a desired frequency band. In this variation, the plurality of projections and troughs are structured such that the generated noise is in the desired frequency band that is based at least on a frequency band that is repulsive to various types of animals given a designated local wind speed. In another variation, the plurality of projections and troughs instead are adapted to improve the aerodynamic performance of the airfoil, either taken alone, or in the context of multiple airfoils working together within a system.

一种风电混凝土塔筒环向预应力加固装置及加固方法

NºPublicación:  CN120946144A 14/11/2025
Solicitante: 
同济大学
CN_120946144_PA

Resumen de: CN120946144A

本发明公开了一种风电混凝土塔筒环向预应力加固装置及加固方法,包括形状记忆合金板(102a)、用于连接所述形状记忆合金板(102a)的螺栓(102b),以及设置于所述形状记忆合金板(102a)与竖状混凝土构件外表面之间的结构胶层(102c)。该装置能够有效抑制混凝土塔筒裂缝的产生与扩展,延长风电塔筒使用寿命,施工简便适应现场复杂环境,具备良好的适用性和耐久性。

一种风斗转轮式风力发电机以及风电站和它的建造方法

NºPublicación:  CN120946508A 14/11/2025
Solicitante: 
武刚
CN_120946508_PA

Resumen de: CN120946508A

本发明的名称是一种风斗转轮式风力发电机以及风电站和它的建造方法。它所采用的技术方案是:首先是发明制作风斗转轮式风力发电机,它由大型专用聚风板墙构架、大型专用风电机座、大型专制风斗转轮整合构件以及许多发电机等共同构成。其次,再将许许多多的这种风斗转轮式风力发电机,采用排列整合的方式,将它们整合成一个既可以向水平方向延伸排列,又可以向高空方向拓展上升的、具有一定规模的建筑实体,从而构成一种整体型的风力发电站。以上的顺序也就是风力发电站的建造方法。它的突出优点是能够有效地开发和利用分布于广阔气象空间范围内的及其丰富的自然风力资源,尤其是为开发和利用高空的自然风力资源提供了一种方法。

高压变桨系统和风力发电机组

NºPublicación:  CN120946501A 14/11/2025
Solicitante: 
国能云南新能源有限公司
CN_120946501_PA

Resumen de: CN120946501A

本发明提出一种高压变桨系统和风力发电机组,包括:变桨控制器模块、集成式驱动器、变桨电机模块、电容后备电源和冷却模块;变桨控制器模块通过控制器局域网开放接口与集成式驱动器连接,集成式驱动器通过三相动力线连接变桨电机模块,集成式驱动器通过直流电力线连接电容后备电源,电容后备电源与集成式驱动器内置的电源管理模块连接,冷却模块设置在电容后备电源附近。本发明解决了传统低压变桨系统存在的故障率高、维护成本大、智能化程度低等问题。通过采用变桨电机模块和电容后备电源等技术手段,本发明实现了系统的高度集成和智能化控制,提高了系统的稳定性和可靠性。

一种大气污染环境治理检测设备

NºPublicación:  CN120948709A 14/11/2025
Solicitante: 
昇铂创能(南京)环保科技有限公司
CN_120948709_PA

Resumen de: CN120948709A

本发明属于环境检测技术领域,具体的说是一种大气污染环境治理检测设备,包括安装杆,安装杆的顶端安装有检测装置,安装杆的中部安装有控制箱,安装杆的顶端套设有转动套,转动套的一侧固定有支撑杆,支撑杆底端远离转动套的一侧转动连接有连接板,连接板的底端固定有光伏板,转动套的两侧均转动连接有转动板,转动板的下方设置有传动组件;其中,风吹动光伏板通过传动组件带动转动板转动,转动板带动防护壳闭合;通过风力吹动光伏板,光伏板带动防护壳闭合可将检测装置罩住,从而对检测装置外部进行防护,可防止检测装置在极端天气下检测导致数据不准确,或是被气流中的物体砸中损坏。

一种微型风力发电机组

NºPublicación:  CN120946520A 14/11/2025
Solicitante: 
宿州丹迪信息科技有限公司
CN_120946520_PA

Resumen de: CN120946520A

本发明涉及风力发电机技术领域,具体公开了一种微型风力发电机组,用于解决现有技术并未确定风力发电机异响的标准,且异响多是由人为发现,往往在问题已经显现时才会被注意的问题;本发明通过实时监测塔架、风轮以及发电机的振动参数,基于振动参数分析振动反常值,再获取监测环境内声音信号,并分析异响产生值,根据振动监测分析子系统以及异响监测控制子系统输出的数据确定是否存在异常,能够更准确地识别和定位故障来源,减少误报和漏报,并提高了异常诊断的准确性。

一种海上风电集群及共享储能的一次调频方法

NºPublicación:  CN120955703A 14/11/2025
Solicitante: 
上海电力大学
CN_120955703_PA

Resumen de: CN120955703A

本发明公开了一种海上风电集群及共享储能的一次调频方法,包括:获取海上风机的转子安全运行转速区间,并基于该区间确定风速划分阈值;随后获取各风机的实时接入风速,将风机划分为多个风机子集群,并为每个子集群构建虚拟参考风机。根据各风机与虚拟参考风机的风速差异,计算各风机的相对调频能力因子。基于虚拟参考风机及共享储能装置,建立风储联合系统的一次调频数学模型与优化目标函数,并利用商业求解器求解,获得虚拟参考风机和共享储能的最优有功出力参考值。确定各风机的有功出力参考值并下发,实现风电集群与储能的协调一次调频。本方法可提升调频响应速度与精度,保障风机安全运行,增强风储系统在电网一次调频中的支撑能力。

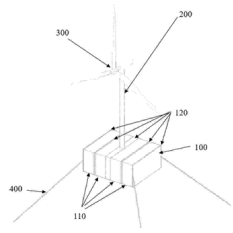
漂浮式风机及海上风力发电系统

NºPublicación:  CN120942503A 14/11/2025
Solicitante: 
中国华能集团清洁能源技术研究院有限公司华能广东汕头海上风电有限责任公司华能(广东)能源开发有限公司华能海上风电科学技术研究有限公司
CN_120942503_PA

Resumen de: CN120942503A

本发明涉及海上风电工程领域,具体而言,涉及一种漂浮式风机及海上风力发电系统,包括:模块化浮箱,包括多个平行设置的浮箱式浮体和连接件,浮箱式浮体为筒状结构且为混凝土材质,连接件分为中间连接件和端部连接件,相邻的浮箱式浮体之间通过中间连接件连接,模块化浮箱的两端分别设置端部连接件,模块化浮箱内设置中空舱室,中空舱室内设置至少一个分舱板而将中空舱室分割为至少两个独立舱室,独立舱室内设置气囊;塔筒,设置于模块化浮箱顶部的中心位置;风电机组,安装于塔筒顶部;系泊系统,连接于模块化浮箱的一端。其能够实现模块化拼装和浮力安全冗余。

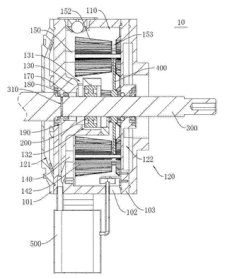
一种轴承结构、电机及风机

NºPublicación:  CN120946691A 14/11/2025
Solicitante: 
深圳市敖森环科技有限公司
CN_120946691_PA

Resumen de: CN120946691A

本发明提供一种轴承结构、电机及风机,涉及轴承冷却技术领域。轴承结构包括轴承座、轴承、转轴以及甩油件;轴承座内设置有油槽和气流通道,油槽内设置有轴套和第一散热件,第一散热件内设置有第一散热通道,第一散热件外设置有第一散热翅片;轴承嵌设于轴套;转轴穿设于轴承;甩油件设置于转轴。空气通过气流通道流入第一散热通道。由于第一散热件浸入润滑油内,故在第一散热通道内流动的空气能够通过第一散热件与油槽内的润滑油进行热交换,使润滑油冷却降温。温度降低后的润滑油能够更有效地对轴承进行冷却,有利于轴承散热,从而延长轴承的运行寿命。

一种模块化混凝土风电机组塔架及安装方法

NºPublicación:  CN120946512A 14/11/2025
Solicitante: 
中国华能集团香港有限公司中国华能集团清洁能源技术研究院有限公司
CN_120946512_PA

Resumen de: CN120946512A

本发明公开了一种模块化混凝土风电机组塔架及安装方法,属于风电机组技术领域。塔架包括基础模块、塔筒模块及内置阻尼系统;所述基础模块上方设置若干个所述塔筒模块,所述塔筒模块内部设置内置阻尼系统;所述塔筒模块包括预制混凝土筒段;所述预制混凝土筒段的端部设置有连接节点;所述预制混凝土筒段的尾部设置有榫槽;若干个所述预制混凝土筒段通过连接节点及榫槽进行榫接。本塔架通过预制混凝土模块、优化连接节点及内置阻尼系统,实现高效施工、高稳定性与强抗震性能。

便携式无叶风扇

NºPublicación:  CN120946593A 14/11/2025
Solicitante: 
深圳市几素科技有限公司
CN_120946593_PA

Resumen de: AU2024278338A1

A portable bladeless fan is provided and includes: a housing, a mix-flow fan, and a pressurizing member. The housing has an air inlet portion at a rear side of the housing and an air outlet portion at a front side of the housing. The mix-flow fan is configured to generate an airflow. The pressurizing member is connected to a front portion of the housing and disposed at a front of the mix-flow fan. The pressurizing member includes a pressurizing seat and second blades. The pressurizing seat includes a pressurizing surface that is at least partially increased in a radial direction from the rear side to the front side, the second blades are spaced apart from each other and are arranged on the pressurizing surface. The second blades re-arrange a direction of the airflow and to reduce a noise of the airflow.

一种风电监测方法、系统、介质及电子设备

NºPublicación:  CN120946522A 14/11/2025
Solicitante: 
上海勘测设计研究院有限公司三峡(上海)工程检测有限公司
CN_120946522_PA

Resumen de: CN120946522A

本申请提供一种风电监测方法、系统、介质及电子设备。所述风电监测方法包括:对风力发电机组的设备数据进行采集,以获取原始监测数据集,所述原始监测数据集包括机械原始数据、环境原始数据和电气原始数据;对所述原始监测数据集进行健康参数处理,以获取健康指数值;对所述原始监测数据集进行环境工况处理,以获取环境工况编码;对所述健康指数值和所述环境工况编码进行逻辑判定,以生成控制逻辑标识;基于所述控制逻辑标识生成监测控制指令,以获取所述风力发电机组运行状态的监测结果。通过本申请的风电监测方法能够提升风电监测的有效性。

一种风向监测功能的风力发电装置及其方法

Nº publicación: CN120946526A 14/11/2025

Solicitante:

华能(临高)新能源有限公司明阳智慧能源集团股份公司

CN_120946526_PA

Resumen de: CN120946526A

本发明公开了一种风向监测功能的风力发电装置及其方法,涉及海上风力发电机组技术领域,包括风力发电机,所述风力发电机的顶部固定连接有塔架,且塔架上设有卸力导流机构。本发明公开的一种风向监测功能的风力发电装置及其方法具有高空中风力对安装座进行冲击时,其冲击在各个导风叶片上,导风叶片上的卸力弹簧对风力冲击进行初步削弱,从而降低安装座受到的冲击,同时,导风叶片对风力方向进行改变,使其逐步偏向于安装环轨,安装环轨内部的缓冲弹簧一和缓冲弹簧杆二进行风力冲击的二次和三次卸力,从而确保安装座在使用过程中,其不会因风力冲击出现连接松动,保证其上方的监测机构正常运行,提高风向监测结果的准确性的效果。

traducir