Ministerio de Industria, Turismo y Comercio LogoMinisterior
 

Almacenamiento en baterías

Resultados 1580 resultados
LastUpdate Última actualización 25/10/2025 [07:22:00]
pdfxls
Publicaciones de los últimos 15 días/Last 15 days publications (excluidas pubs. CN y JP /CN and JP pubs. excluded)
Resultados 1 a 25 de 1580 nextPage  

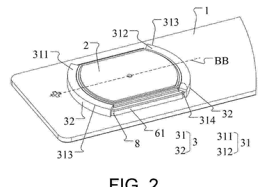
Ensemble électrochimique comprenant un capot de maintien d’éléments électrochimiques

NºPublicación:  FR3161508A1 24/10/2025
Solicitante: 
SAFT [FR]
SAFT
FR_3161508_PA

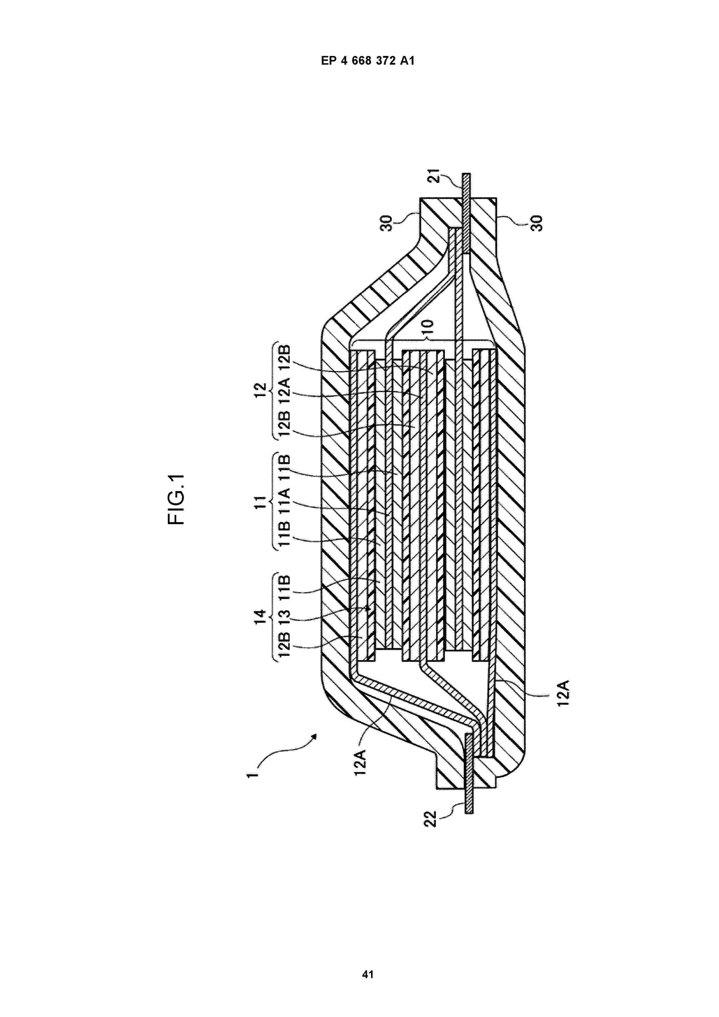
Resumen de: FR3161508A1

Ensemble électrochimique comprenant un capot de maintien d’éléments électrochimiques La présente invention concerne un ensemble électrochimique (10) comprenant : - des éléments électrochimiques (14) ; - des parois longitudinales (20, 22) agencées de part et d’autre des éléments électrochimiques (14) ; - des parois transversales (30, 32) ; - un capot (50) ; les éléments électrochimiques (14) étant maintenus en position selon une direction longitudinale (X) par les parois longitudinales (20, 22) et selon une direction transversale (Y) par les parois transversales (30, 32), le capot (50) étant réalisé en une seule pièce, bloquant le déplacement des éléments électrochimiques (14) selon une direction d’élévation (Z) dans un sens, et comprenant : - une paroi principale (52) comprenant une surface interne (54) en contact direct avec les éléments électrochimique (14) et une surface externe (56) ; et - des nervures (60) s’étendant depuis la surface externe (56). Figure pour l'abrégé : Figure 2

Boitier de protection pour un module électronique, module comportant un tel boîtier et son procédé de fabrication

NºPublicación:  FR3161524A1 24/10/2025
Solicitante: 
SOGEFI AIR & COOLING [FR]
SOGEFI AIR & COOLING
FR_3161524_PA

Resumen de: FR3161524A1

Boitier de protection pour un module électronique, module comportant un tel boîtier et son procédé de fabrication L’invention concerne un boîtier de protection (1), notamment pour module électronique (2) de puissance et/ou de stockage d’énergie électrique, ce boîtier de protection (1) étant formé d’une première (3) et au moins une seconde (3’) parties reliées au niveau d’ailes d’assemblage (4, 4’) périphériques respectives définissant ensemble un plan de jointoiement, ledit boîtier (1) constituant un bouclier de Faraday et étant préférentiellement étanche. Boîtier (1) caractérisé en ce qu’au moins la première partie constitutive (3), comprend un corps métallique consistant en une tôle mince formée ou non, ce corps étant surmoulé d’au moins une matière plastique qui constitue, au moins sur la face extérieure du corps métallique, avantageusement sur chacune des faces extérieure et intérieure du corps métallique, un réseau de nervures de renfort (7) et/ou d’ailes de rigidification (7’) interconnectées. Figure à publier avec l’abrégé : Fig. 1C

Dispositif de régulation thermique avec collecteur central

NºPublicación:  FR3161507A1 24/10/2025
Solicitante: 
VALEO SYSTEMES THERMIQUES [FR]
VALEO SYSTEMES THERMIQUES
FR_3161507_PA

Resumen de: FR3161507A1

Titre de l’invention : Dispositif de régulation thermique avec collecteur central La présente invention concerne un dispositif de régulation thermique (1) s’étendant dans un plan longitudinal-transversal, comprenant un premier tube (12), un deuxième tube (14) et un collecteur (6), les tubes (12, 14) comprenant des canaux (24) configurés pour la circulation d’un fluide caloporteur répartis en un premier ensemble de circulation (26) et un deuxième ensemble de circulation (28), le collecteur (6) comprenant une entrée de fluide caloporteur (8) et une sortie de fluide caloporteur (10), et un embout commun de raccordement (31) formant un embout de raccordement (30) de l’entrée de fluide (8) et un embout de raccordement (32) de la sortie de fluide (10) du collecteur (6), le dit embout commun (31) étant tourné vers la première extrémité transversale (34),caractérisé en ce que l’embout commun (31) est en plastique, et en ce que le dispositif comprend un premier moyen d’étanchéité (33), par exemple un joint (33) disposé entre l’embout commun (31) et le collecteur (6), ainsi qu’au moins un moyen de fixation (35) de l’embout commun (31) au collecteur (6) configuré pour à comprimer ledit joint (33) entre l’embout commun (31) et le collecteur (6). Figure de l’abrégé : Figure 1

Boîtier de protection pour un module électronique de puissance, module comportant un tel boîtier et son procédé de fabrication

NºPublicación:  FR3161525A1 24/10/2025
Solicitante: 
SOGEFI AIR & COOLING [FR]
SOGEFI AIR & COOLING
FR_3161525_PA

Resumen de: FR3161525A1

Boîtier de protection pour un module électronique de puissance, module comportant un tel boîtier et son procédé de fabrication L’invention concerne un boîtier de protection (1), notamment pour module (2) électronique de puissance et/ou de stockage d’énergie électrique, comprenant une première partie (3) et au moins une seconde partie (3’) assemblées au niveau d’ailes périphériques respectives (3’’) formant un plan de jointoiement (PJ), la première (3) au moins desdites parties (3, 3’) étant constituée d’un corps métallique (4) comportant au niveau d’au moins une zone de surface extérieure au moins un circuit (5) de régulation thermique à liquide. Boîtier de protection (1) caractérisé en ce que ledit ou chaque circuit de régulation thermique (5) est formé par une plaque (6) rapportée en matériau thermoplastique, en ce que cette plaque (6) présente un motif rainuré définissant les gorges du canal ou des canaux de circulation du ou de chaque circuit (5) et en ce que cette plaque (6) est solidarisée indirectement avec ledit corps métallique (4) par une liaison par soudure avec une couche thermoplastique intermédiaire (8) discontinue ou ajourée, surmoulée sur la zone de surface extérieure concernée et présentant un motif rainuré concordant avec le motif rainuré de la plaque en matériau thermoplastique (6) rapportée. Figure à publier avec l’abrégé : Fig. 1

Méthode de charge à courant alternatif pour prolonger la durée de vie des connecteurs électriques d’une montre intelligente, chargeur et objet.

NºPublicación:  FR3161516A1 24/10/2025
Solicitante: 
TELECOM DESIGN [FR]
TELECOM DESIGN
FR_3161516_PA

Resumen de: FR3161516A1

La présente invention concerne une nouvelle méthode de charge à contact électrique pour des objets électroniques portatifs, notamment des montres intelligentes. La méthode de l'invention permet de prolonger la durée de vie des connecteurs électriques d’un objet électronique portatif, et la vie de l’objet en lui-même en utilisant du courant alternatif de forme d’onde carrée pour le transfert électrique au niveau du port de charge de l'objet. Fig. 1

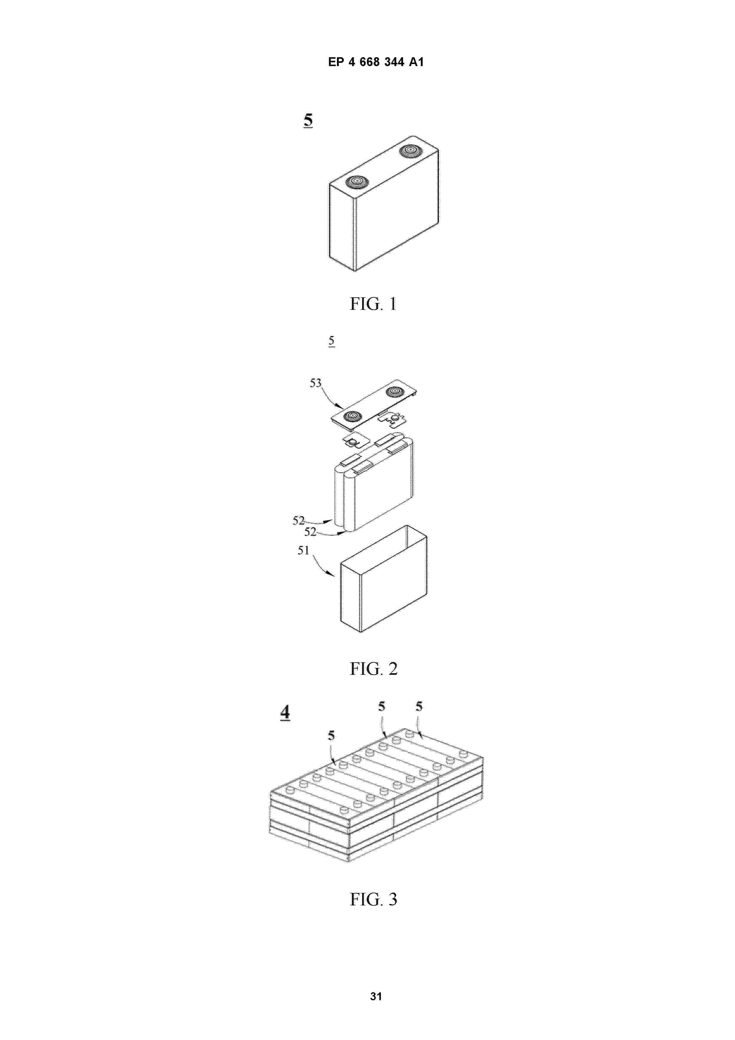
MANUFACTURING METHOD FOR BATTERY CELL, BATTERY CELL, CASING, TOP COVER, AND ELECTRICAL DEVICE

NºPublicación:  WO2025218074A1 23/10/2025
Solicitante: 
CONTEMPORARY AMPEREX TECH CO LIMITED [CN]
\u5B81\u5FB7\u65F6\u4EE3\u65B0\u80FD\u6E90\u79D1\u6280\u80A1\u4EFD\u6709\u9650\u516C\u53F8
WO_2025218074_PA

Resumen de: WO2025218074A1

A manufacturing method for a battery cell (100), a battery cell (100), a casing (10), a top cover (20), and an electrical device. The manufacturing method for a battery cell (100) comprises: providing a casing (10), such that the casing (10) has an open end, and the casing (10) has a first beveled edge area (11) at the open end; providing a top cover (20), such that the top cover (20) has a second beveled edge area (21), the second beveled edge area (21) matching the inclination angle of the first beveled edge area (11); fitting the top cover (20) to the open end of the casing (10), the second beveled edge area (21) and the first beveled edge area (11) being connected to form a butt joint seam, and the extension direction of the butt joint seam facing the top cover (20); welding the top cover (20) and the casing (10) along the butt joint seam, so that a welding melt pool bottom portion (100a) is located on the top cover (20). According to the manufacturing method for a battery cell (100), the battery cell (100), the shell (10), the top cover (20), and the electrical device, the melt pool bottom portion (100a) produced by welding the shell (10) and the top cover (20) is located on the top cover (20), which can reduce adverse effects caused when there is a defect in the melt pool bottom portion (100a), reduce damage to the strength of the casing (10) from a stress concentration point generated by an external force acting on the casing (10), and improve the strength of the welde

INTERNAL TEMPERATURE MEASUREMENT METHOD AND APPARATUS FOR BATTERY, AND ELECTRONIC DEVICE AND STORAGE MEDIUM

NºPublicación:  WO2025218207A1 23/10/2025
Solicitante: 
SUNWODA MOBILITY ENERGY TECH CO LTD [CN]
\u6B23\u65FA\u8FBE\u52A8\u529B\u79D1\u6280\u80A1\u4EFD\u6709\u9650\u516C\u53F8
WO_2025218207_PA

Resumen de: WO2025218207A1

Disclosed are an internal temperature measurement method and apparatus for a battery, and an electronic device and a storage medium. The method comprises: acquiring a surface temperature of a battery, and determining a temperature interval in which the surface temperature is located; when the surface temperature is in a first temperature interval, selecting from an excitation frequency selection section an excitation frequency corresponding to the surface temperature, wherein the excitation frequency selection section includes a plurality of excitation frequencies; generating an excitation signal on the basis of the excitation frequency corresponding to the surface temperature, and outputting the excitation signal to the battery, so as to acquire a response signal fed back by the battery in response to the excitation signal; determining a battery impedance of the battery on the basis of the excitation signal and the response signal; and determining an internal temperature on the basis of the battery impedance.

DIN-RAIL, AND ELECTRONIC COMPONENT ASSEMBLY AND ENERGY STORAGE SYSTEM INCLUDING THE SAME

NºPublicación:  US2025329814A1 23/10/2025
Solicitante: 
LG ENERGY SOLUTION LTD [KR]
LG ENERGY SOLUTION, LTD
US_2025329814_PA

Resumen de: US2025329814A1

The present disclosure provides a DIN-rail for coupling electronic components including a body disposed on one side of the electronic component and configured to be coupled with the electronic component; and a protector connected to the body, configured to cover an upper part of the electronic component, and configured to discharge fluid so that a fluid falling along a direction of gravity does not contact the electronic component.

BATTERY COOLING

NºPublicación:  US2025329816A1 23/10/2025
Solicitante: 
GM GLOBAL TECH OPERATIONS LLC [US]
GM GLOBAL TECHNOLOGY OPERATIONS LLC
US_2025329816_PA

Resumen de: US2025329816A1

A battery cooling system, a method for cooling a battery cell, and vehicle provided with a battery cooling system are provided. A battery cooling system includes a rigid plate having a surface formed with channels; a flexible film contacting the surface and enclosing the channels; battery cells; and a coolant fluid located in the channels, wherein pressure from the coolant fluid pushes the flexible film into contact with the battery cells.

ELECTRODE SHEET AND PREPARATION METHOD THEREFOR, BATTERY CELL, BATTERY, AND ELECTRICAL APPARATUS

NºPublicación:  US2025329900A1 23/10/2025
Solicitante: 
CONTEMPORARY AMPEREX TECH CO LIMITED [CN]
CONTEMPORARY AMPEREX TECHNOLOGY CO., LIMITED
US_2025329900_PA

Resumen de: US2025329900A1

An electrode sheet and a manufacturing method therefor, a battery cell, a battery and an electrical apparatus. The electrode sheet includes a current collector, a first insulating layer and a second insulating layer, where the current collector includes a main body part and tabs, the tabs extend from the first end of the main body part, and the first end is one end of the main body part in a first direction. Each tab includes a first portion and a second portion, the first portion being close to the main body part with respect to the second portion, the surfaces of the two sides of the first portion are respectively provided with the first insulating layer and the second insulating layer, and the thickness d2 of the second insulating layer being greater than the thickness d1 of the first insulating layer.

TRACTION BATTERY

NºPublicación:  US2025329810A1 23/10/2025
Solicitante: 
OBSHCHESTVO S OGRANICHENNOI OTVETSTVENNOSTIU EVOKARGO [RU]
OBSHCHESTVO S OGRANICHENNOI OTVETSTVENNOSTIU \"EVOKARGO\"
US_2025329810_PA

Resumen de: US2025329810A1

The invention relates to the field of accumulator design. A traction battery for highly automated self-driving vehicles comprises a housing having mounted therein in-series connected modules, a heating system comprised of heating mats arranged between said modules, and a control system. The modules are arranged in two tiers. Each module contains series-interconnected lithium-iron-phosphate-based rechargeable cells that are electrically isolated from one another. The control system consists of temperature sensors mounted on each module, a humidity sensor, voltage meters for each cell in a module, and a current sensor for a lower and an upper power module. The invention makes it possible to increase the nominal voltage and the range of working temperatures during discharge and to provide for safer maintenance of the traction battery.

LITHIUM REPLENISHMENT COMPOSITE MATERIAL AND PREPARATION METHOD THEREOF, POSITIVE ELECTRODE PLATE, SEPARATOR, SECONDARY BATTERY, AND ELECTRICAL DEVICE

NºPublicación:  US2025329801A1 23/10/2025
Solicitante: 
CONTEMPORARY AMPEREX TECH CO LIMITED [CN]
CONTEMPORARY AMPEREX TECHNOLOGY CO., LIMITED
US_2025329801_PA

Resumen de: US2025329801A1

A lithium replenishment composite material and its preparation method, as well as a positive electrode plate, a separator, a secondary battery, and an electrical device. The composite material includes a core and a coating layer containing a conductive material, which at least partially covers the core. The core comprises a lithium replenishment agent and a metal catalyst, wherein the lithium replenishment agent includes an organic lithium compound. During an initial charging cycle, the organic lithium compound releases lithium ions to replenish lithium in the negative electrode, while its byproducts decompose into gases that are expelled from the battery, thereby minimizing impact on mass energy density and long-term performance. The metal catalyst lowers the decomposition potential of the lithium agent, allowing lithium replenishment at lower voltage while protecting the positive electrode and electrolyte. The conductive coating suppresses metal dissolution, enhances conductivity, and improves the cycling performance of the battery.

BATTERY AND VEHICLE

NºPublicación:  US2025326285A1 23/10/2025
Solicitante: 
CONTEMPORARY AMPEREX TECH CO LIMITED [CN]
CONTEMPORARY AMPEREX TECHNOLOGY CO., LIMITED
US_2025326285_PA

Resumen de: US2025326285A1

Provided are a battery and a vehicle. The battery includes a battery cell and a housing. The battery cell is accommodated in the housing. The housing includes a first housing portion and two second housing portions located at two sides of the first housing portion in a first direction. The battery cell is disposed in each of the first housing portion and the two second housing portions. A recess is defined by the first housing portion and the two second housing portions together. The recess is a through recess in the first direction and opened towards a second direction. The battery is adapted to be disposed at a bottom of a vehicle. A vehicle-bottom longitudinal beam of the vehicle is adapted to pass through the recess in the first direction and to be detachably mounted in the recess in the second direction. The first direction intersects the second direction.

BATTERY SWAPPABLE VEHICLE AND BATTERY

NºPublicación:  US2025326325A1 23/10/2025
Solicitante: 
CONTEMPORARY AMPEREX TECH HONG KONG LIMITED [CN]
CONTEMPORARY AMPEREX TECHNOLOGY (HONG KONG) LIMITED
US_2025326325_PA

Resumen de: US2025326325A1

A battery swappable vehicle and a battery. The battery swappable vehicle includes a battery compartment, the battery compartment is arranged in the battery swappable vehicle, the battery compartment is configured to accommodate a plurality of batteries, and each of the batteries is capable of independently supplying power to the battery swappable vehicle.

METHOD AND SYSTEM FOR REDUCING THERMAL RUNAWAYS IN A BATTERY PACK

NºPublicación:  US2025325858A1 23/10/2025
Solicitante: 
AIRBUS OPERATIONS S L U [ES]
Airbus Operations S.L.U
US_2025325858_PA

Resumen de: US2025325858A1

A method for reducing thermal runaways in a battery pack includes detecting a temperature inside the battery pack, if the temperature detected is higher than a predetermined temperature, injecting air with nitrogen and oxygen, the oxygen being less than 10% in volume, inside the battery pack and removing oxygen from the inside of the battery pack. The system includes a temperature sensor, an inerting system for injecting air with nitrogen and oxygen, the oxygen being less than 10% in volume, inside the battery pack if a temperature detected by the temperature sensor is higher than a predetermined temperature, and an exit duct, through which oxygen is removed from the battery pack if the temperature detected by the temperature sensor is higher than a predetermined temperature.

OUTDOOR WHEEL-TYPE TOOL AND BATTERY PACK THEREOF

NºPublicación:  AU2024264446A1 23/10/2025
Solicitante: 
NANJING CHERVON INDUSTRY CO LTD
NANJING CHERVON INDUSTRY CO., LTD
AU_2024264446_PA

Resumen de: AU2024264446A1

An outdoor wheel-type tool and a battery pack thereof. The battery pack (100) comprises: a case (110); a plurality of battery cells (130); and a battery cell support (140), configured to support the battery cells (130), wherein a plurality of exhaust channels (151) are provided in the case (110), the extension direction of the exhaust channels (151) is substantially perpendicular to the extension direction of the battery cells (130), and the energy of the battery pack (100) is greater than or equal to 2 kW·h.

MODULAR MULTILEVEL CONVERTERS FOR BATTERY ENERGY STORAGE

NºPublicación:  AU2023437683A1 23/10/2025
Solicitante: 
FLUENCE ENERGY LLC
FLUENCE ENERGY, LLC
AU_2023437683_PA

Resumen de: AU2023437683A1

A battery energy storage system includes a plurality of battery cores. Each battery core of the battery energy storage system includes an array of battery cubes, and each battery core is configured to provide a first direct current power at a first voltage. The battery energy storage system further includes a plurality of direct-current-to-direct- current (DC-DC) converters. Each DC-DC converter of the battery energy storage system is configured to accept the first direct current power and each DC-DC converter is configured to provide a second direct current power at a second voltage. The battery energy storage system further includes a main modular multilevel converter (MMC). The MMC of the battery energy storage system is configured to accept the second direct current and to provide an alternating current at a third voltage.

Process for recovering values from batteries

NºPublicación:  AU2025242089A1 23/10/2025
Solicitante: 
RESOURCE CONSERVATION AND RECYCLING CORP PTY LTD
Resource Conservation and Recycling Corporation Pty Ltd
AU_2025242089_A1

Resumen de: AU2025242089A1

The present disclosure relates generally to processes for recovering values from batteries. More specifically, the present disclosure relates to processes for recovering an electrode material from lithium-ion batteries, such as an electrode material comprising a cathode material and/or an anode material, for example a mixed metal material (MMD). The present disclosure relates generally to processes for recovering values from batteries. More specifically, the present disclosure relates to processes for recovering an electrode material from lithium-ion batteries, such as an electrode material comprising a cathode material and/or an anode material, for example a mixed metal material (MMD). ep e p h e p r e s e n t d i s c l o s u r e r e l a t e s g e n e r a l l y t o p r o c e s s e s f o r r e c o v e r i n g v a l u e s f r o m b a t t e r i e s o r e s p e c i f i c a l l y , t h e p r e s e n t d i s c l o s u r e r e l a t e s t o p r o c e s s e s f o r r e c o v e r i n g a n e l e c t r o d e m a t e r i a l f r o m l i t h i u m - i o n b a t t e r i e s , s u c h a s a n e l e c t r o d e m a t e r i a l c o m p r i s i n g a c a t h o d e m a t e r i a l a n d o r a n a n o d e m a t e r i a l , f o r e x a m p l e a m i x e d m e t a l m a t e r i a l ( )

ELEKTROLYTZUSAMMENSETZUNG

NºPublicación:  DE102025114810A1 23/10/2025
Solicitante: 
FORD GLOBAL TECH LLC [US]
Ford Global Technologies, LLC

Resumen de: DE102025114810A1

Es wird eine Lithium-Ionen-Batterie mit einer Elektrodenbaugruppe dargestellt. Die Elektrodenbaugruppe weist einen Stromabnehmer und eine positive Aktivmaterialschicht auf dem Stromabnehmer auf. Die Elektrodenbaugruppe weist außerdem einen Elektrolyt auf, der Lithiumhexafluorphosphat und Lithiumbis(fluorsulfonyl)imid in einem Verhältnis von 0,8 M bis 0,2 M und einen fluorierten Phosphazenzusatzstoff von 7 Gew.-% beinhaltet, die in einem Lösungsmittelgemisch aus Ethylencarbonat, Ethylmethylcarbonat und Sulfolan in einem Volumenverhältnis von 25/73/2 aufgelöst sind. Das Elektrolyt durchdringt eine Oberfläche der positiven Aktivmaterialschicht, um eine elektrochemische Oxidation der positiven Aktivmaterialschicht zu unterdrücken.

ENERGIESPEICHERMODUL

NºPublicación:  DE102025106782A1 23/10/2025
Solicitante: 
TOYOTA MOTOR CO LTD [JP]
TOYOTA JIDOSHA KABUSHIKI KAISHA

Resumen de: DE102025106782A1

Ein Energiespeichermodul (1) umfasst: eine gestapelte Elektrodenanordnung (100), die eine Vielzahl von Elektroden (110, 120) umfasst, die in einer ersten Richtung geschichtet sind und mit einer Elektrolytlösung imprägniert sind; und ein Gehäuse (2), das die gestapelte Elektrodenanordnung (100) aufnimmt. Das Gehäuse (2) und die gestapelte Elektrodenanordnung (100) erstrecken sich in einer zweiten Richtung senkrecht zur ersten Richtung. Das Energiespeichermodul (1) umfasst ferner ein plattenförmiges Element (201, 202), das sich in der zweiten Richtung erstreckt und der gestapelten Elektrodenanordnung (100) gegenüberliegend im Gehäuse angeordnet ist. Das plattenartige Element (201, 202) ist so angeordnet, dass eine Dickenrichtung des plattenartigen Elements (201, 202) eine dritte Richtung senkrecht zu der ersten Richtung und der zweiten Richtung ist. Das plattenartige Element (201, 202) hat eine gegenüberliegende Fläche (212, 222), die der gestapelten Elektrodenanordnung (100) gegenüberliegt. Wenigstens ein Abschnitt der gegenüberliegenden Fläche (212, 222) ist entlang der zweiten Richtung gekrümmt oder verzerrt. Die gegenüberliegende Fläche (212, 222), die gekrümmt oder verzerrt ist, bildet einen Raum (S1, S2) zwischen der gegenüberliegenden Fläche (212, 222) und der gestapelten Elektrodenanordnung (100).

ELEKTRISCHE SPEICHERVORRICHTUNG

NºPublicación:  DE102025113485A1 23/10/2025
Solicitante: 
TOYOTA MOTOR CO LTD [JP]
TOYOTA JIDOSHA KABUSHIKI KAISHA
DE_102025113485_PA

Resumen de: DE102025113485A1

Die Größe einer elektrischen Speichervorrichtung wird reduziert. Eine elektrische Speichervorrichtung (1) gemäß der vorliegenden Offenbarung umfasst: eine erste Abdeckung; eine Vielzahl von Batteriezellen (10) mit einem Paar Elektrodenanschlüsse, die über der ersten Abdeckung angeordnet sind, wobei einer der Elektrodenanschlüsse des Paars in einer von zwei Oberflächen angeordnet ist, die einander in einer ersten Richtung zugewandt sind, und der andere der Elektrodenanschlüsse des Paars auf der anderen der Oberflächen angeordnet ist; ein Verstärkungselement (4), das unter den Elektrodenanschlüssen und zwischen der Vielzahl von Batteriezellen (10) angeordnet ist; und eine zweite Abdeckung, die unter der ersten Abdeckung angeordnet ist, wobei die Elektrische Speichervorrichtung (1) ein erstes Verbindungselement (6) umfasst, das so aufgebaut ist, dass es die erste Abdeckung mit der zweiten Abdeckung verbindet, wobei das erste Verbindungselement zwischen der ersten Abdeckung und der zweiten Abdeckung angeordnet ist und mindestens ein Teil des ersten Verbindungselements (6) das Verstärkungselement (4) überlappt, wenn man von oben nach unten schaut.

TEMPERIERKÖRPER UND TEMPERIERANORDNUNG FÜR EINE WIEDERAUFLADBARE BATTERIE, VERWENDUNG EINES TEMPERIERKÖRPERS UND VERFAHREN ZUM EINBRINGEN EINES TEMPERIERKÖRPERS IN EINE BATTERIE

NºPublicación:  DE102024111084A1 23/10/2025
Solicitante: 
WITZENMANN GMBH [DE]
Witzenmann GmbH

Resumen de: DE102024111084A1

Die Erfindung betrifft einen Temperierkörper 1 zum Temperieren von wiederaufladbaren Batterien oder Modulen 2 und/oder Batteriezellen zum Aufnehmen, Speichern und Abgeben von elektrischer Energie, wobei eine Außenhülle des Temperierkörpers 1 im Wesentlichen aus zwei flächigen Kontaktelementen3 gebildet ist, die randseitig umlaufend direkt oder indirekt miteinander verbunden sind und mindestens einen fluidleitenden Hohlraum 9 zwischen sich einschließen, und von denen mindestens eines aus einer Metallplatte oder einem flächigen Formteil aus Metall besteht, deren oder dessen Materialstärke im Verhältnis zu ihrer oder seiner flächigen Ausdehnung oder im Verhältnis zur Ausdehnung und Form des fluidleitenden Hohlraums 9 so gewählt ist, dass die Außenhülle des Temperierkörpers 1 durch Beaufschlagen des fluidleitenden Hohlraums 9 mit Unterdruck oder mit Überdruck verformt werden kann und anschließend durch elastische Rückstellkraft im Wesentlichen wieder in ihre oder seine Ursprungsform zurückkehrtDie Erfindung betrifft auch Temperieranordnungen mit einer Mehrzahl von Temperierkörpern 1 sowie ein Verfahren zum Einbringen von Temperierkörpern, bei dem die Bauhöhe 11 der Temperierkörper 1 zum Einbringen in Spalte zwischen den Modulen 2 der Batterie durch Unterdruck verringert wird, wonach sich die Temperierkörper 1 durch Entfernen des Unterdrucks beidseits an die Module 2 anlegen.

GESTAPELTE ELEKTRODENANORDNUNG UND ENERGIESPEICHERMODUL

NºPublicación:  DE102025111746A1 23/10/2025
Solicitante: 
TOYOTA MOTOR CO LTD [JP]
TOYOTA JIDOSHA KABUSHIKI KAISHA

Resumen de: DE102025111746A1

Eine gestapelte Elektrodenanordnung (100) umfasst eine Vielzahl von Elektroden (110, 120) und eine Vielzahl von Separatoren (130). Jede der Elektroden (110, 120) und jeder der Separatoren (130) sind abwechselnd in einer ersten Richtung gestapelt. Die gestapelte Elektrodenanordnung (100) erstreckt sich in einer zweiten Richtung senkrecht zur ersten Richtung. Die gestapelte Elektrodenanordnung (100) umfasst ferner eine Umfangsfläche (180), die sich in der zweiten Richtung erstreckt. Ein Abschnitt des Separators (130) in einer dritten Richtung senkrecht zur ersten Richtung und zur zweiten Richtung ist länger als ein Abschnitt der Elektrode (110, 120) in der dritten Richtung. Die Umfangsfläche (180) weist eine erste und eine zweite Primärfläche (183, 184) in der ersten Richtung und eine erste und eine zweite Seitenfläche (181, 182) in der dritten Richtung auf, wobei die erste und die zweite Seitenfläche (181, 182) in die erste bzw. zweite Primärfläche (183, 184) übergehen. Der Separator (130) ist auf mindestens einer aus der ersten Seitenfläche (181) und der zweiten Seitenfläche (182) über eine Länge der gestapelten Elektrodenanordnung (100) in der ersten Richtung angeschweißt.

Ereignisbasiertes Oberflächendetektionssystem

NºPublicación:  DE102024110955A1 23/10/2025
Solicitante: 
BASLER AG [DE]
Basler Aktiengesellschaft

Resumen de: DE102024110955A1

Die Erfindung betrifft ein System zur Inspektion von Objekten, umfassend ein Bildaufnahmesystem, ein Transportsystem, das das Bildaufnahmesystem und ein Objekt entlang einer Achse relativ zueinander bewegt, und eine Prozessoreinheit, wobei das Bildaufnahmesystem einen eindimensionalen Bildsensor aufweist, und wobei der eindimensionale Bildsensor bezüglich seiner eindimensionalen Ausdehnung quer zur Richtung der Relativgeschwindigkeit zwischen dem Bildaufnahmesystem und dem Objekt so angeordnet ist, dass das Transportsystem das Bildaufnahmesystem und das Objekt derart relativ zueinander bewegt, dass sich das Objekt durch einen Aufnahmebereich des Bildsensors bewegt, wobei der eindimensionale Bildsensor ein erstes eindimensionales Array mehrerer Pixel umfasst, wobei jeder Pixel eine lichtempfindliche Fläche und eine Pixelelektronik aufweist, die ein Ereignissignal erzeugt, wenn eine durch die lichtempfindliche Fläche des Pixels detektierte Helligkeitsänderung einen Grenzwert überschreitet, wobei die Pixelelektronik das Ereignissignal an die Prozessoreinheit überträgt.

ADDITIVE MANUFACTURING APPARATUS FOR THE PRODUCTION OF AN ELECTROCHEMICAL CELL OR SEMI-FINISHED PRODUCT OF AN ELECTROCHEMICAL CELL, AND PLANT COMPRISING SUCH AN APPARATUS

Nº publicación: WO2025219852A1 23/10/2025

Solicitante:

G D S P A [IT]
G.D S.P.A

WO_2025219852_PA

Resumen de: WO2025219852A1

Described is an additive manufacturing apparatus (10) for the production of an electrochemical cell or a semi-finished product of an electrochemical cell, comprising: a) a frame (11) defining a series of production chambers (12, 12a, 12b, 12c, 12x); b) a three-dimensional printing device (13, 13a, 13b, 13c, 13x) for each production chamber (12, 12a, 12b, 12c, 12x) and comprising a plurality of deposition heads (14, 15, 16, 17, 18) and control and movement means (23) associated with the plurality of deposition heads and configured to operate the deposition heads; the deposition heads (14, 15, 16, 17, 18) comprising: - a first head (14) configured to deposit at least a portion of a layer of electrically conductive material for the definition of said anode connector; - a second head (15) configured to deposit at least a portion of a layer of electrically conductive material for the definition of said cathode connector; - a third head (16) configured to deposit at least a portion of a layer of electrically active material to make the anode body; - a fourth head (17) configured to deposit at least a portion of an electrically active layer to make the cathode body; - a fifth head (18) configured to deposit at least a portion of an insulating layer for the passage of electrons for the definition of at least part of the insulating portion for the passage of electrons, c) a support flat surface (20) configured to support the layers consecutively deposited on each other by said deposit

traducir