Ministerio de Industria, Turismo y Comercio LogoMinisterior
 

Neoplasias hematológicas: Leucemias, Linfomas y Mielomas

Resultados 69 resultados
LastUpdate Última actualización 29/01/2026 [06:45:00]
pdfxls
Solicitudes publicadas en los últimos 30 días / Applications published in the last 30 days
Resultados 1 a 25 de 69 nextPage  

N-DESMETHYL RUBOXISTAURIN AS A RSK INHIBITOR FOR THERAPEUTIC USE

NºPublicación:  WO2026020045A1 22/01/2026
Solicitante: 
4M THERAPEUTICS INC [US]
4M THERAPEUTICS INC
WO_2026020045_PA

Resumen de: WO2026020045A1

Aspects of this invention are related to the use of N-desmethyl ruboxistaurin and pharmaceutically acceptable formulations thereof to modulate RSK signaling. Some aspects of the invention relate to the use of N-desmethyl ruboxistaurin to inhibit RSK. Some aspects of the invention provide methods of using N-desmethyl ruboxistaurin in the treatment of subjects with cancer, including breast cancer, ovarian cancer, prostate cancer, lung cancer, hepatocellular carcinoma, colorectal cancer, melanoma, osteosarcoma, myeloproliferative neoplasms, leukemia, and bladder cancer. The disclosed methods extend beyond disease treatment, including supportive care during radiation chemotherapy and prevention of cancer relapse. N-desmethyl ruboxistaurin administration, alone or in combination with other cancer therapies, inhibits RSK and shows a safety profile that supports its long-term use.

MOLECULES THAT BIND TO CS1 POLYPEPTIDES

NºPublicación:  WO2026020037A1 22/01/2026
Solicitante: 
MAYO FOUNDATION FOR MEDICAL EDUCATION AND RES [US]
MAYO FOUNDATION FOR MEDICAL EDUCATION AND RESEARCH
WO_2026020037_A1

Resumen de: WO2026020037A1

This document provides methods and materials involved in binding a molecule (e.g., an antibody domain, an antigen binding fragment, an antibody, a chimeric antigen receptor (CAR), a cell engager, or an antibody-drug conjugate (ADC)) to a CS1 polypeptide. For example, this document provides binders (e.g., antibody domains, antigen binding fragments, antibodies, CARs, cell engagers, and ADCs) that bind to a CS1 polypeptide and methods and materials for using such binders (or cells expressing such binder such as a cell expressing a CAR) to treat cancer (e.g., multiple myeloma).

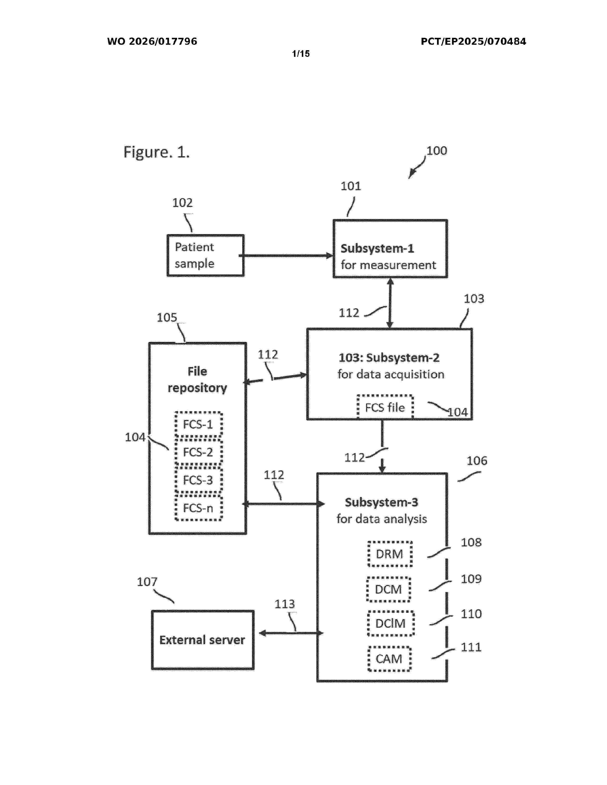
SYSTEM AND METHOD FOR MEASURING AND ANALYZING MINIMAL RESIDUAL DISEASE IN CHILDHOOD B-PRECURSOR ACUTE LYMPHOBLASTIC LEUKEMIA BY MULTIPARAMETER FLOW CYTOMETRY

NºPublicación:  WO2026017796A1 22/01/2026
Solicitante: 
MEDICAL UNIV PLOVDIV [BG]
MEDICAL UNIVERSITY - PLOVDIV
WO_2026017796_A1

Resumen de: WO2026017796A1

The present invention relates to a system and a method for measuring and analyzing minimal residual disease (MRD) in pediatric B-cell precursor acute lymphoblastic leukemia (B-ALL) using multiparameter flow cytometry (MPFC). The invention finds application in clinical diagnostics and hematology-oncology for quantifying MRD in B-ALL patients with high sensitivity and specificity, needed for risk stratification, monitoring treatment response, and informing therapeutic decisions. The system comprises interconnected subsystems including an acquisition subsystem with an MPFC instrument, a control and file generation subsystem, and an analytical subsystem. The analytical subsystem incorporates modules for sequential data reduction, automated data cleaning, automated unsupervised data clustering, and interactive cluster analysis. Key advantages include high MRD detection sensitivity (e.g., 10⁻⁵ or 0.001%) and high specificity, without reliance on reference samples or supervised machine learning models, making it applicable in laboratories with different measuring equipment and using different panels of antibodies for identification of leukemic cells.

N-DESMETHYL RUBOXISTAURIN AS A CDK4/6 INHIBITOR FOR THERAPEUTIC USE IN CANCER

NºPublicación:  WO2026020038A1 22/01/2026
Solicitante: 
4M THERAPEUTICS INC [US]
4M THERAPEUTICS INC
WO_2026020038_PA

Resumen de: WO2026020038A1

Aspects of this invention are related to the use of N-desmethyl ruboxistaurin and pharmaceutically acceptable formulations thereof to modulate CDK4/6 signaling. The invention encompasses methods for administering N-desmethyl ruboxistaurin to subjects in need, particularly those with a history of cancer or currently experiencing breast cancer, liposarcoma, lung cancer, glioblastoma, melanoma, pancreatic cancer, prostate cancer, colon cancer, ovarian cancer, colorectal cancer, bladder cancer, hepatocellular carcinoma, osteosarcoma, germ cell tumors, advanced solid tumors, lymphoma, leukemia and other hematologic malignancies. The disclosed methods extend beyond disease treatment, including supportive care during radiation chemotherapy and prevention of cancer relapse. N-desmethyl ruboxistaurin administration, alone or in combination with other cancer therapies, is effective in modulating CDK4/6 signaling while mitigating toxicity associated with other treatments.

Methods of treating WHSC1-overexpressing cancers by inhibiting SETD2

NºPublicación:  AU2025283528A1 22/01/2026
Solicitante: 
EPIZYME INC
Epizyme, Inc
AU_2025283528_A1

Resumen de: AU2025283528A1

The present disclosure provides methods and pharmaceutical compositions for treating or slowing the progression of cancers that overexpress the histone methyltransferase WHSC1, e.g., t(4;14) multiple myeloma, by administering to a subject in need thereof a therapeutically effective amount of an inhibitor of the histone methyltransferase, SETD2. ec e c

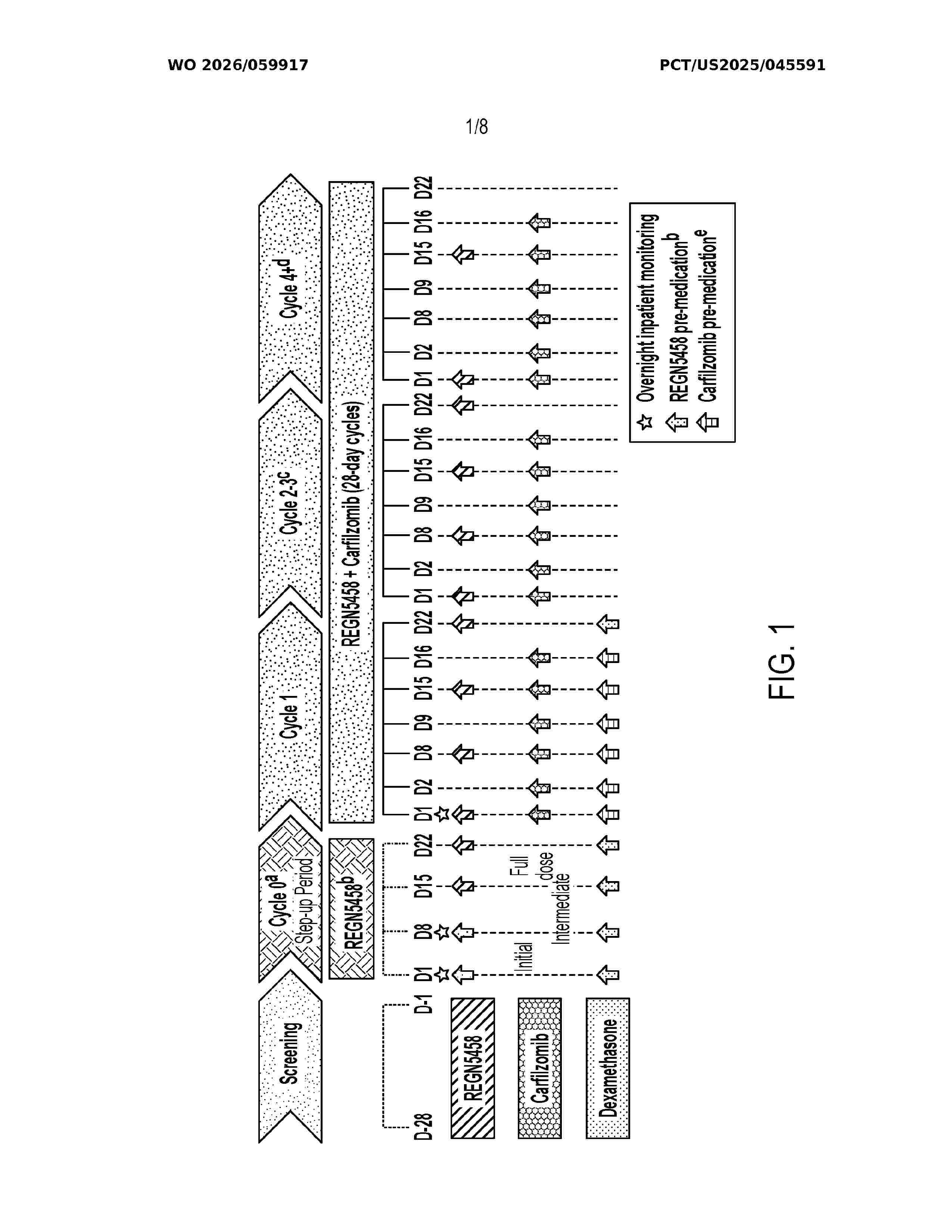
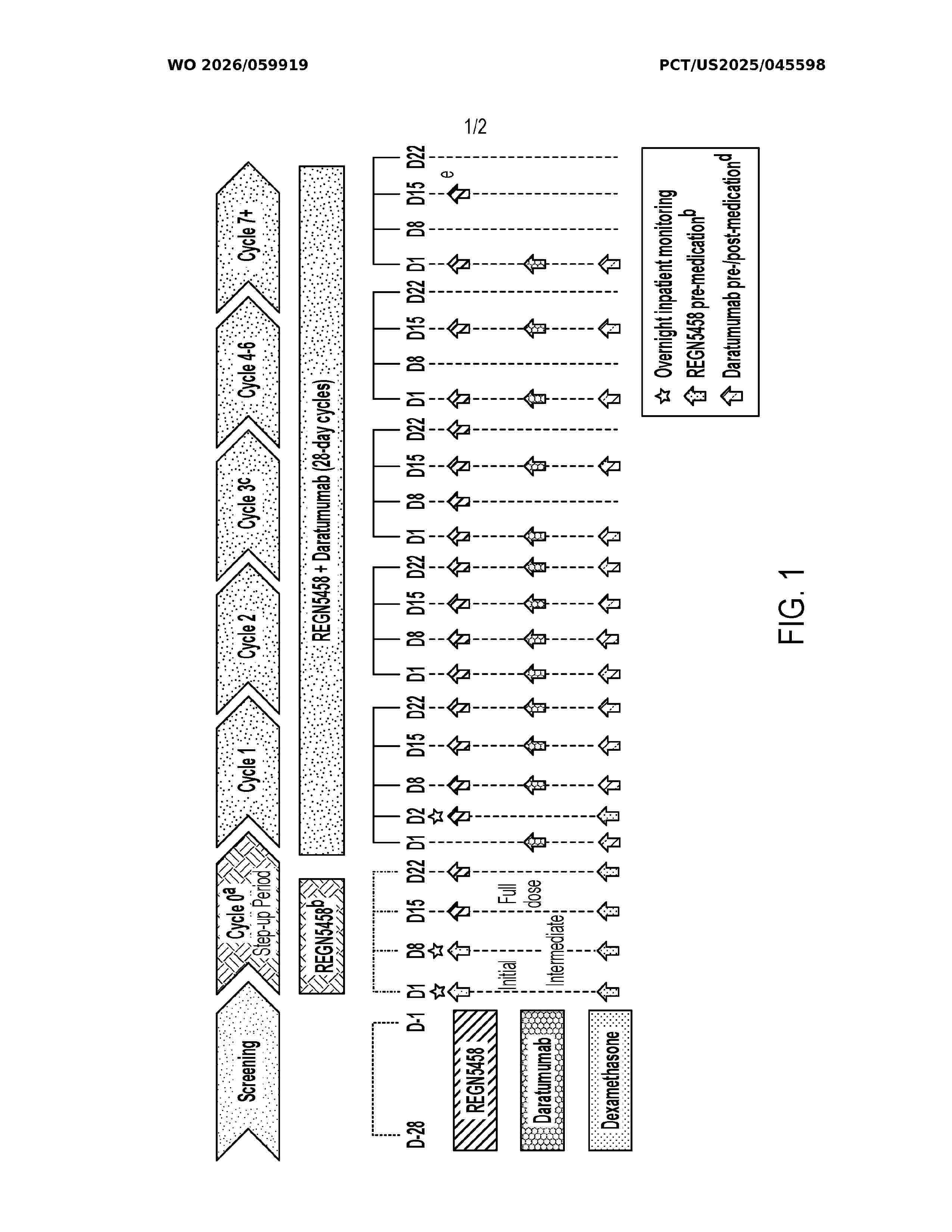
METHODS FOR TREATING MULTIPLE MYELOMA

NºPublicación:  AU2024283100A1 22/01/2026
Solicitante: 
JANSSEN BIOTECH INC
JANSSEN BIOTECH, INC
AU_2024283100_A1

Resumen de: AU2024283100A1

Embodiments of the present invention relate to methods of treating multiple myeloma in a subject in need thereof, comprising administering therapeutically effective amounts of a GPRC5DxCD3 bispecific antibody on a monthly dosing schedule.

CLL1-CAR-T CELL, AND PREPARATION METHOD THEREFOR AND USE THEREOF

NºPublicación:  AU2024284994A1 22/01/2026
Solicitante: 
CARBIOGENE THERAPEUTICS CO LTD
CARBIOGENE THERAPEUTICS CO., LTD
AU_2024284994_A1

Resumen de: AU2024284994A1

Disclosed in the present invention are a CLL1-CAR-T cell, and a preparation method therefor and the use thereof. The CLL1-CAR-T cell contains a chimeric antigen receptor, wherein the chimeric antigen receptor comprises a single domain antibody, a hinge region, a transmembrane region and an intracellular signaling region, and the single domain antibody has an amino acid sequence of positions 22-150 of SEQ ID No. 1. The CLL1-VHH-1 CAR-T cell of the present invention can secrete T cell specific effector molecule IFN-γ to specifically kill CLL1+ target cells, inhibit the proliferation of tumor cells in mice, prolong the survival time of mice, and can be used for immunotherapy of diseases associated with CLL1 target (such as acute myelogenous leukemia).

COMPOUNDS THAT RE-ACTIVATE MUTANT P53

NºPublicación:  AU2024275892A1 22/01/2026
Solicitante: 
INSTITUTE FOR CANCER RES D/B/A THE RES INSTITUTE OF FOX CHASE CANCER CENTER
INSTITUTE FOR CANCER RESEARCH D/B/A THE RESEARCH INSTITUTE OF FOX CHASE CANCER CENTER
AU_2024275892_PA

Resumen de: AU2024275892A1

The present disclosure is concerned with compounds that restore p53 activity and methods of using the compounds in the treatment of various disorders related to loss of p53 activity such as, for example, cancer (e.g, a sarcoma, a carcinoma, a head-and-neck cancer, hematological cancer, a solid tumor, breast cancer, cervical cancer, gastrointestinal cancer, colorectal cancer, brain cancer, skin cancer, prostate cancer, ovarian cancer, thyroid cancer, testicular cancer, pancreatic cancer, liver cancer, endometrial cancer, melanoma, a glioma, leukemia, lymphoma, chronic myeloproliferative disorder, myelodysplastic syndrome, myeloproliferative neoplasm, non-small cell lung carcinoma, small cell lung carcinoma, renal cancer, lung cancer, colon cancer, cervical cancer, and plasma cell neoplasm (myeloma)). This abstract is intended as a scanning tool for purposes of searching in the particular art and is not intended to be limiting of the present invention.

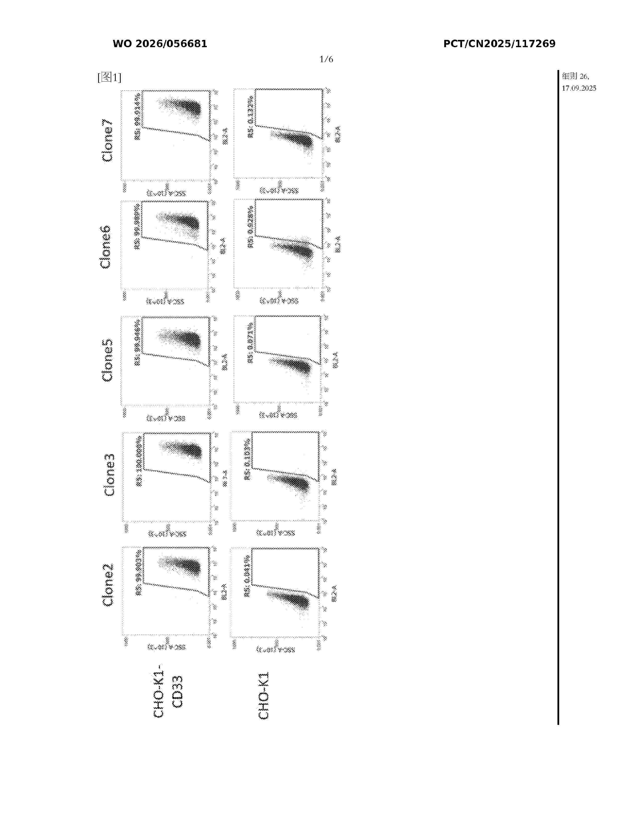
COMBINATION THERAPIES FOR THE TREATMENT OF CD33-POSITIVE HEMATOLOGICAL MALIGNANCIES HARBORING MUTATIONS

NºPublicación:  AU2024283114A1 22/01/2026
Solicitante: 
ACTINIUM PHARMACEUTICALS INC
ACTINIUM PHARMACEUTICALS, INC
AU_2024283114_PA

Resumen de: AU2024283114A1

Provided are methods for treating CD33-positive hematological malignancies, such as acute myelogenous leukemia (AML) and myelodysplastic syndrome (MDS), harboring mutations such as FLT3, IDH1, IDH2, NMP1, and/or MLL1 gene mutations, using combination therapy that includes one or both of a radiolabeled CD33-targeting agent and a drug-conjugated CD33-targeting agent, and one or more targeted therapies, such as FLT3, IDH and Menin inhibitors.

PRALATREXATE AND COP COMBINATION FOR THE TREATMENT OF PATIENTS WITH PERIPHERAL T CELL LYMPHOMA

NºPublicación:  AU2024296708A1 22/01/2026
Solicitante: 
ACROTECH BIOPHARMA INC
ACROTECH BIOPHARMA INC
AU_2024296708_A1

Resumen de: AU2024296708A1

Methods for treating peripheral T-cell lymphoma include administering to a subject a combination of Cyclophosphamide, Vincristine, Prednisone, and Pralatrexate, wherein the combination does not include doxorubicin. The treatment may be administered in repeated three-week cycles, optionally including a drug holiday.

METHODS OF USING ANTI-CD79b IMMUNOCONJUGATES TO TREAT FOLLICULAR LYMPHOMA

NºPublicación:  US20260021088A1 22/01/2026
Solicitante: 
GENENTECH INC [US]
Genentech, Inc
US_20260021088_PA

Resumen de: US20260021088A1

Provided herein are methods of treating B-cell proliferative disorders (such as Follicular Lymphoma “FL”) using immunoconjugates comprising anti-CD79b antibodies in combination with an immunomodulatory agent (such as lenalidomide) and an anti-CD20 antibody (such as obinutuzumab or rituximab).

COMBINATIONS OF HISTONE DEACETYLASE INHIBITORS AND IMMUNOMODULATORY DRUGS

NºPublicación:  US20260021093A1 22/01/2026
Solicitante: 
ACETYLON ACQUISITION CORP LLC [US]
DANA FARBER CANCER INST [US]
Acetylon Acquisition Corp. LLC,
Dana-Farber Cancer Institute
US_20260021093_A1

Resumen de: US20260021093A1

The invention relates to combinations comprising an HDAC inhibitor and an immunomodulatory drug for the treatment of multiple myeloma in a subject in need thereof. The combinations may, optionally, further comprise an anti-inflammatory agent, such as dexamethasone. Also provided herein are methods for treating multiple myeloma in a subject in need thereof comprising administering to the subject an effective amount of one of the above combinations.

IKZF2 AND CK1-ALPHA DEGRADING COMPOUNDS AND USES THEREOF

NºPublicación:  US20260021103A1 22/01/2026
Solicitante: 
PRESIDENT AND FELLOWS OF HARVARD COLLEGE [US]
MEMORIAL SLOAN KETTERING CANCER CENTER [US]
MEMORIAL HOSPITAL FOR CANCER AND ALLIED DISEASES [US]
SLOAN KETTERING INSTITUTE FOR CANCER RES [US]
President and Fellows of Harvard College,
Memorial Sloan-Kettering Cancer Center,
Memorial Hospital for Cancer and Allied Diseases,
Sloan-Kettering Institute for Cancer Research
US_20260021103_PA

Resumen de: US20260021103A1

Provided herein are compounds that promote targeted degradation of IKZF1, IKZF2, GSPT1, and/or CK1a, proteins whose activities are implicated in the pathology of certain cancers (e.g., acute myeloid leukemia). Also provided are pharmaceutical compositions comprising the compounds. Also provided are methods of treating cancer, and methods of promoting the degradation of IKZF1, IKZF2, GSPT1, and/or CK1a in a subject or biological sample by administering a compound or composition described herein.

USE OF A FBXO42 SPECIFIC INHIBITOR IN TREATING NOTCH SIGNALING-DEPENDENT DISEASE

NºPublicación:  US20260023068A1 22/01/2026
Solicitante: 
WESTLAKE UNIV [CN]
WESTLAKE UNIVERSITY
US_20260023068_PA

Resumen de: US20260023068A1

The present invention refers to a method for treating Notch signaling-dependent disease in the subject with a FBXO42 specific inhibitor. The Notch signaling-dependent disease is selected from leukemia. Also provided is a method for screening a drug treating Notch signaling-dependent disease using FBXO42 as a target.

PANELS AND REAGENT KITS FOR MINIMAL RESIDUAL DISEASE MEASUREMENT IN PEDIATRIC B-CELL PRECURSOR ACUTE LYMPHOBLASTIC LEUKEMIA VIA IMMUNOPHENOTYPING

NºPublicación:  WO2026017800A1 22/01/2026
Solicitante: 
MEDICAL UNIV - PLOVDIV [BG]
MEDICAL UNIVERSITY - PLOVDIV
WO_2026017800_A1

Resumen de: WO2026017800A1

The present invention relates to a reagent panels for the measurement of minimal residual disease (MRD) associated with pediatric B-cell precursor acute lymphoblastic leukemia (B- ALL) by multiparametric flow cytometry. The reagent panel of the invention comprises a combination of antibodies directed against markers, wherein the combination of antibodies comprises i) antibodies targeting markers CD45, CD20, CD34, CD38, CD10, CD58, CD66c, CD73, CD81, CD123, CD304, CD44, CD86, CD99 and CD371, and ii) antibodies targeting markers CD19 and/or CD22, wherein the antibodies are conjugated with fluorochromes. The invention further relates to the use of said panels for detecting MRD associated with B-ALL and/or for identifying a subject at risk of developing B-ALL relapse. The invention also relates to methods of detecting MRD associated with B-ALL. Key advantages of the invention include achieving high MRD detection sensitivity (e.g., 10⁻⁵ or 0.001%) and high specificity.

SYSTEMS AND METHODS FOR CELL OF ORIGIN DETERMINATION FROM VARIANT CALLING DATA

NºPublicación:  EP4682889A2 21/01/2026
Solicitante: 
HOFFMANN LA ROCHE [CH]
ROCHE DIAGNOSTICS GMBH [DE]
F. Hoffmann-La Roche AG,
Roche Diagnostics GmbH
EP_4682889_A2

Resumen de: EP4682889A2

The present invention relates generally to classification of biological samples, and more specifically to cell of original classification. In particular, some embodiments of the invention relate to diffuse large B cell lymphoma cell of origin classification using machine learning models. The machine learning models can be based on decision trees such as a random forest algorithm or a gradient boosted decision tree. Features for the models can be determined through analysis of variant data from plasma or blood samples from a plurality of subjects with the disease.

1H-PYRROLE-2-AMIDE DERIVATIVE AND USE THEREOF

NºPublicación:  EP4682142A1 21/01/2026
Solicitante: 
CHONGQING PHARSCIN INNOBIO CO LTD [CN]
Chongqing Pharscin Innobio Co., Ltd
EP_4682142_A1

Resumen de: EP4682142A1

The present invention relates to the field of chemical medicines. Disclosed are a 1H-pyrrole-2-amide derivative and a use thereof. In order to obtain a specific inhibitor for an m6A-modified RNA reader protein YTHDC1 of AML, the present invention provides a 1H-pyrrole-2-amide derivative as shown in formula I, wherein said derivative has high inhibitory activity against YTHDC1. In-vitro experiments prove that said derivative can effectively inhibit the proliferation of acute myeloid leukemia cells, significantly arrest a cell cycle of the acute myeloid leukemia cells in the G0/G1 phase, and induce differentiation and apoptosis of the acute myeloid leukemia cells. A compound and a salt thereof or a pharmaceutical composition of the 1H-pyrrole-2-amide derivative of the present invention provide new options for antitumor drug development targeting YTHDC1 in the art, and have good application prospects.

GPRC5D x CD28 Bispecific Antibodies and Methods of Use Thereof

NºPublicación:  US20260014252A1 15/01/2026
Solicitante: 
REGENERON PHARMACEUTICALS INC [US]
Regeneron Pharmaceuticals, Inc
US_20260014252_A1

Resumen de: US20260014252A1

The present disclosure provides bispecific antigen-binding molecules comprising a first antigen-binding domain that binds specifically to GPRC5D and a second antigen-binding domain that binds specifically to CD28. In certain embodiments, the antigen-binding molecules are bispecific antibodies or antigen-binding fragments thereof that comprise a first antigen-binding domain that binds specifically to GPRC5D and a second antigen-binding domain that binds specifically to CD28. In certain embodiments, the bispecific antibodies are useful for treating a cancer (e.g., multiple myeloma).

STABLE READY TO DILUTE COMPOSITION OF CARFILZOMIB

NºPublicación:  US20260014226A1 15/01/2026
Solicitante: 
KASHIV BIOSCIENCES LLC [US]
Kashiv BioSciences, LLC
US_20260014226_A1

Resumen de: US20260014226A1

The invention is directed to room temperature stable injectable formulations of carfilzomib or its pharmaceutically acceptable derivatives thereof in the form of ready to dilute solution and concentrates with no hemolytic potential. Further the invention is directed to a method for treating patients with relapsed or refractory multiple myeloma by administering such composition.

MITOCHONDRIAL PYRUVATE METABOLISM INHIBITORS FOR TREATING CHRONIC MYELOID LEUKEMIA

NºPublicación:  US20260014129A1 15/01/2026
Solicitante: 
THE UNIV COURT OF THE UNIV OF GLASGOW [GB]
The University Court of the University of Glasgow
US_20260014129_PA

Resumen de: US20260014129A1

The invention relates to the treatment of chronic myeloid leukemia (CML). In particular it relates to the treatment of CML with inhibitors of mitochondrial pyruvate transport, which are able to target leukemic stem cells (LSCs) which are resistant to therapy with tyrosine kinase inhibitors (TKIs). Combination therapies with BCR-ABL kinase inhibitors are also described.

CAS9 AND REVERSE TRANSCRIPTASE MUTANTS WITH IMPROVED ACTIVITY IN PRIME EDITING APPLICATIONS

NºPublicación:  WO2026015480A1 15/01/2026
Solicitante: 
INTEGRATED DNA TECH INC [US]
INTEGRATED DNA TECHNOLOGIES, INC
WO_2026015480_A1

Resumen de: WO2026015480A1

This invention pertains to fusion protein mutants comprising a Prime Editing enzyme having a first amino acid sequence and a second amino acid sequence, wherein the first amino acid sequence comprises a SpCas9 H840A nickase mutant protein of SEQ ID NO:152 and the second amino acid sequence comprises a Moloney Murine Leukemia Virus reverse transcriptase protein mutant (MMLV RTase mutant), wherein the fusion protein mutant displays at least the equivalent or greater activity of a reference Prime Editing enzyme in genome editing.

BISPECIFIC CAR-T CELL TARGETING BCMA AND GPRC5D

NºPublicación:  WO2026012487A1 15/01/2026
Solicitante: 
NANJING IASO BIOTECHNOLOGY CO LTD [CN]
SHANGHAI IASO BIOTECHNOLOGY CO LTD [CN]
\u5357\u4EAC\u9A6F\u9E7F\u751F\u7269\u6280\u672F\u80A1\u4EFD\u6709\u9650\u516C\u53F8,
\u4E0A\u6D77\u9A6F\u9E7F\u751F\u7269\u6280\u672F\u6709\u9650\u516C\u53F8
WO_2026012487_A1

Resumen de: WO2026012487A1

Provided is a bispecific CAR-T cell targeting BCMA and GPRC5D. Specifically, provided is an autologous CAR-T cell targeting both BCMA and GPRC5D antigen molecules and expressing chimeric antigen receptors (CARs) in parallel. Also provided is a use of a CAR-T cell for adoptive T-cell therapy for diseases including multiple myeloma.

Non-Signaling Chimeric Antigen Receptor Gamma Delta T-Cells

NºPublicación:  US20260015421A1 15/01/2026
Solicitante: 
IN8BIO INC [US]
IN8bio, Inc
US_20260015421_PA

Resumen de: US20260015421A1

Described are γδ T-cells that express a non-signaling chimeric antigen receptor (CAR), wherein the CAR binds a tumor antigen such as CD19 or CD33. Also described are pharmaceutical compositions thereof and the method for the treatment of cancer such as leukemia.

Compositions and Methods for Retrieving Tumor-related Antibodies and Antigens

NºPublicación:  US20260015406A1 15/01/2026
Solicitante: 
THE TRUSTEES OF THE UNIV OF PENNSYLVANIA [US]
The Trustees of the University of Pennsylvania
US_20260015406_PA

Resumen de: US20260015406A1

The present invention includes compositions and methods for retrieving tumor-related antibodies and antigens. In one aspect, the invention includes a method for Sequential Tumor-related Antibody and antigen Retrieving (STAR) which directly and efficiently identifies potent antibodies that can specifically bind to tumor-related antigens on the tumor cell surface. In another aspect, the invention includes a CAR comprising a nanobody, a transmembrane domain, and an intracellular domain, wherein the nanobody is retrieved by a STAR method. In another aspect, the invention includes a CAR T system that targets CD13 and treats acute myeloid leukemia. In another aspect, the invention includes a CAR T system and ADC that targets CDH17 and treats NETs and other types of tumors expressing this antigen, with tolerable toxicities.

USE OF LEUKEMIA-DERIVED CELLS IN OVARIAN CANCER VACCINES

Nº publicación: US20260014255A1 15/01/2026

Solicitante:

MENDUS B V [NL]
MENDUS B.V

US_20260014255_PA

Resumen de: US20260014255A1

The present disclosure provides methods for treating a progressive ovarian cancer using an allogeneic leukemia-derived cell. Also provided are immunogenic compositions comprising an allogeneic leukemia-derived cell, and pharmaceutical compositions and formulations thereof.

traducir