Ministerio de Industria, Turismo y Comercio LogoMinisterior
 

Microalgas: Cultivo y usos

Resultados 180 resultados
LastUpdate Última actualización 31/03/2026 [07:39:00]
pdfxls
Solicitudes publicadas en los últimos 120 días / Applications published in the last 120 days
Resultados 1 a 25 de 180 nextPage  

A PROBIOTIC AND MICROALGAE-ADDED EDIBLE FILM AND A PRODUCTION METHOD

NºPublicación:  WO2026063913A2 26/03/2026
Solicitante: 
BASKENT UNIV [TR]
BASKENT UNIVERSITESI
WO_2026063913_A2

Resumen de: WO2026063913A2

The invention relates to a method (100) of obtaining an edible film comprising probiotics and microalgae, used as a food surface coating or as a nutritional supplement alone, and to a film obtained by the method (100).

METHOD FOR PRODUCING CYANOBACTERIA OF THE GENUS APHANIZOMENON

NºPublicación:  WO2026058105A1 19/03/2026
Solicitante: 
KYANOS BIOTECHNOLOGIES [FR]
KYANOS BIOTECHNOLOGIES
WO_2026058105_A1

Resumen de: WO2026058105A1

The present invention relates to a method for producing cyanobacteria of the genus Aphanizomenon, comprising the following steps: (a) inoculating cyanobacteria of the genus Aphanizomenon and microalgae of the genus Chlorella into an aqueous culture medium in amounts such that the initial weight ratio of dry matter (microalgae of the genus Chlorella)/(microalgae of the genus Chlorella + cyanobacteria of the genus Aphanizomenon) is between 5% and 70%; (b) keeping the co-culture under illumination, whereby the cyanobacteria of the genus Aphanizomenon and the microalgae of the genus Chlorella develop in the aqueous culture medium; then (c) physically separating the cyanobacteria of the genus Aphanizomenon from the microalgae of the genus Chlorella and recovering the cyanobacteria of the genus Aphanizomenon.

PROCESS FOR PRODUCING BIOFERTILIZERS/BIOSTIMULANTS FROM MICROALGAE OF THE SPECIES SCENEDESMUS SP. WITH INTENSIVE CO2 CAPTURE, BIOFERTILIZERS/BIOSTIMULANTS OBTAINED BY SAID PROCESS AND THEIR USES IN AGRICULTURE

NºPublicación:  US20260070853A1 12/03/2026
Solicitante: 
PETROLEO BRASILEIRO S A PETROBRAS [BR]
UNIV FEDERAL DO RIO DE JANEIRO \u2014 UFRJ [BR]
PETR\u00D3LEO BRASILEIRO S.A. - PETROBRAS,
UNIVERSIDADE FEDERAL DO RIO DE JANEIRO \u2014 UFRJ
US_20260070853_PA

Resumen de: US20260070853A1

The present invention relates to a process for producing biofertilizers/biostimulants from microalgae with intensive CO2 capture, which comprises the following steps: a) preparing an inoculum;b) cultivating for the production of microalgae biomass in a window photobioreactor;c) collecting the biomass by flocculation;d) drying the biomass, and grinding and extracting a polar fraction by solvent in a two-phase system; ande) analyzing the polar fraction by liquid chromatography.The invention also relates to the extracts of wet biomass of the microalgae Scenedesmus sp., obtaining the polar fraction. This polar fraction contains amino acids, sugars, betaine derivatives, vitamin B3 (nicotinamide or nicotinic acid) and pantothenic acid (vitamin B5), the monoterpene loliolide and the tryptophan derivative indole-lactic acid (analogous to indole-acetic acid, a phytohormone of the auxin class).The polar fraction can also be used as an input in the cultivation of soybeans, corn, sugar cane, cotton and coffee, among other cultivated species.

Microalgae with enhanced resistance to radiation method for preparing the same and decontamination method using the same

NºPublicación:  KR20260030985A 09/03/2026
Solicitante: 
한국원자력연구원
KR_20260030985_PA

Resumen de: KR20260030985A

본 발명은 방사선 저항성이 향상된 미세조류, 이의 제조방법 및 이를 이용한 제염 방법에 관한 것으로, 보다 상세하게는 클라미도모나스 레인하티(Chlamydomonas reinhardtii) 유래 CrUAM(UDP-Arabinopyranose mutase)를 코딩하는 유전자를 포함하는 형질전환 미세조류인 방사선 저항성이 향상된 미세조류, 상기 미세조류를 방사성 물질로 오염된 폐수 또는 토양에 처리하는 단계를 포함하는 제염 방법, 및 클라미도모나스 레인하티(Chlamydomonas reinhardtii) 유래 CrUAM(UDP-Arabinopyranose mutase)를 코딩하는 유전자를 미세조류에 도입하는 단계를 포함하는, 방사선 저항성이 향상된 형질전환 미세조류 제조방법에 관한 것이다.

BIOREMEDIATION OF ORGANIC COMPOUNDS IN WATER VIA MICROALGAE

NºPublicación:  US20260062330A1 05/03/2026
Solicitante: 
KING FAHD UNIV OF PETROLEUM AND MINERALS [SA]
KING FAHD UNIVERSITY OF PETROLEUM AND MINERALS
US_20260062330_PA

Resumen de: US20260062330A1

A method for organic compound removal from a solution using microalgae includes extracting one or more hydrocarbons from an underground geologic formation to form a hydrocarbon composition and a produced water including at least a portion of the one or more hydrocarbons and one or more salts. The method further includes mixing the produced water with a wastewater to form a solution, and then contacting a microalgae feedstock, Chlorella sorokiniana, with the solution in a bioreactor. The total lipid content of the microalgae feedstock is 13 to 17%. The method includes removing the one or more hydrocarbons, nitrogen, and phosphorous from the solution by algal consumption with the microalgae feedstock. The method of the present disclosure removes 80 to 90 wt. % of the one or more hydrocarbons, 70 to 85 wt. % nitrogen, and 90 to 100 wt. % phosphorous.

ANTIVIRAL AGENT COMPRISING MICROALGAE EXTRACT AS ACTIVE INGREDIENT

NºPublicación:  WO2026049115A1 05/03/2026
Solicitante: 
KOREA INSTITUTE OF OCEAN SCIENCE \uFF06 TECH [KR]
\uD55C\uAD6D\uD574\uC591\uACFC\uD559\uAE30\uC220\uC6D0
WO_2026049115_PA

Resumen de: WO2026049115A1

The present invention relates to an antiviral composition comprising a microalga extract as an active ingredient. More specifically, a Tetraselmis extract effectively inhibits the proliferation and replication of flaviviruses and thus can be advantageously used as an antiviral agent, a pharmaceutical composition, a health functional food composition, or a quasi-drug composition for anti-flavivirus activity.

BIO-BASED PRODUCTION OF N-ACETYLCYSTEINE

NºPublicación:  WO2026050082A1 05/03/2026
Solicitante: 
NATAUR INC [US]
NAT\u00C1UR INC
WO_2026050082_PA

Resumen de: WO2026050082A1

Disclosed herein are methods for the fermentative production of N-acetylcysteine (NAC) or NAC-containing products from unicellular organisms. Also disclosed herein are genetic modifications of the NAC and/or substrate biosynthetic pathways in unicellular organisms that include bacteria, algae, microalgae, diatoms, yeast, or fungi. Further disclosed herein are fermentation and processing methods for the production of various NAC-containing products. The present disclosure further relates to use of the cells, fermentation broth or extracts that contain NAC to produce products for use in food, feed, beverages, dietary and health supplements, cosmetics, personal care, pharmaceuticals, or agricultural production.

SCHIZOCHYTRIUM POWDER FOR REDUCING METHANE EMISSIONS FROM DAIRY COWS AND PREPARATION METHOD THEREOF

NºPublicación:  EP4699450A1 25/02/2026
Solicitante: 
XIAMEN HUISON BIOTECH CO LTD [CN]
Xiamen Huison Biotech Co., Ltd
EP_4699450_PA

Resumen de: EP4699450A1

this application relates to the technical field of feed, and specifically discloses a schizochytrium powder for reducing methane emissions from dairy cows, a method for preparing same, and a double-layer whole-cell microalgal schizochytrium powder or a whole-cell microalgal schizochytrium powder of a structure that contains a schizochytrium core and a double-layer outer coating, the powder being prepared by the method. Methanogens in a rumen can reduce carbon dioxide to CH<sub>4</sub> by using hydrogen. In a feed formulation of this application, a multi-layer core-coating structure is adopted; lysozyme is added in an outermost coating of a schizochytrium particle; and 4-hydroxy-3-methoxybenzoic acid, D-alloisoleucine, and D-2-aminobutyric acid are added in an intermediate coating to inhibit growth of Methanobrevibacter and Methanomicrobium, regulate microbial community structures, promote microbial community metabolism in the rumen to shift toward a propionic acid pathway, reduce the amount of acetic acid and an acetate-to-propionate ratio, promote digestion, and increase the VFA fermentation yield and the amount of propionic acid, thereby reducing methane emissions and promoting absorption of various nutrients of schizochytrium without affecting the fermentation effect of the microbial community. When put in long-term use, the feed formulation can significantly increase the content of nutrients such as DHA in milk.

Carbon reduction system using microalgae

NºPublicación:  KR20260024283A 20/02/2026
Solicitante: 
정현섭

Resumen de: KR20260024283A

본 발명은 유휴공간 상에 미세조류배양장치를 설치하여 유휴공간의 활용도를 높일 수 있고, 미세조류를 활용하여 대기 중의 이산화탄소를 포집함으로써 미세조류 배양액에 의해 공기 중 분진 등 미세물질이 제거될 수 있어 공기 오염을 저감시킬 수 있도록 하는 미세조류를 활용한 탄소 저감 시스템을 제공한다. 본 발명은 이산화탄소를 포집하고, 미세조류를 배양하기 위한 미세조류 배양장치(200)와; 상기 미세조류 배양장치(200)와 통신하고, 상기 미세조류 배양장치(200)로부터 전송되는 데이터를 저장하고, 상기 미세조류 배양장치(200)의 상태를 관리하기 위한 관리서버(300)와; 상기 관리서버(300)와 통신하고, 상기 관리서버(300)에 저장된 데이터를 확인 및 관리하며, 상기 관리서버(300)를 통해 상기 미세조류 배양장치(200)를 제어하기 위한 사용자 단말(400)을 포함하되; 상기 미세조류 배양장치(200)는 유휴공간에 모듈형으로 설치되어 탄소를 포집 및 미세조류를 생산하고, 생산된 미세조류는 가공하여 판매하는 것을 특징으로 한다.

TOYS21 Novel microalga Tetradesmus obliquus TOYS21 and its culturing method

NºPublicación:  KR20260021871A 19/02/2026
Solicitante: 
국립해양생물자원관

Resumen de: KR20260021871A

본 발명은 신규한 테트라데스무스 오블리쿠스 TOYS21(Tetradesmusobliquus TOYS21) 미세조류 및 이의 배양방법에 관한 것으로, 상기 TOYS21 미세조류가 다양한 광합성 색소, 지방산 및 아미노산을 생산하고, 상기 미세조류의 광배양 최적조건을 확인함으로써, 상기 미세조류 및 이의 배양방법을 제공하고, 건강기능식품, 사료, 화장품 첨가제 등으로서 가능성을 제시할 수 있다.

CELL CULTURE COMPOSITION CONTAINING MICROALGAE EXTRACT AND USE THEREOF

NºPublicación:  US20260049284A1 19/02/2026
Solicitante: 
CJ CHEILJEDANG CORP [KR]
CJ CHEILJEDANG CORPORATION
US_20260049284_A1

Resumen de: US20260049284A1

The present disclosure relates to a cell culture composition containing an extract from microalgae of the Thraustochytrid family, and methods of preparation and use thereof.

Culture medium for cyanobacteria

NºPublicación:  PL449495A1 16/02/2026
Solicitante: 
BACTO TECH SPOLKA Z OGRANICZONA ODPOWIEDZIALNOSCIA [PL]
BACTO - TECH SP\u00D3\u0141KA Z OGRANICZON\u0104 ODPOWIEDZIALNO\u015ACI\u0104

Resumen de: PL449495A1

Przedmiotem zgłoszenia jest pożywka do hodowli sinic (Cyanobacteria). 1 litr (1) wytworu zawiera od 9 do 12 mg/l azotu całkowitego, od 1,3 do 2,2 mg/l NH4, od 7,5 do 10 mg/l NH2, od 13 do 23 mg/l P2O5, od 12 do 23 mg/l K2O5, od 1,5 do 3,5 mg/l MgO, od 12 do 40 mg/l SO3, od 0,25 do 1,75 mg/l B, od 0,09 do 0,21 mg/l Cu, od 0,09 do 0,16 mg/l Fe, od 0,025 do 0,225 mg/l Mn, od 0,035 do 0,32 mg/l Mo, od 0,13 do 1,1 mg/l Zn, które są rozpuszczone w wodzie destylowanej.

RED ALGAE BIOMASS EXTRACT, AND COSMETIC USE THEREOF FOR ELIMINATING SKIN IMPERFECTIONS

NºPublicación:  AU2024295226A1 12/02/2026
Solicitante: 
FERMENTALG
FERMENTALG
AU_2024295226_A1

Resumen de: AU2024295226A1

The present invention relates to a photosensitizing polar biomass extract extracted from phycocyanin-producing organisms, in particular unicellular red algae (URA) or cyanobacteria, and to the cosmetic use thereof for preventing and/or eliminating skin imperfections, i.e. for improving the look of the skin.

DEVICE AND PROCEDURE FOR ONLINE MEASUREMENT OF BIOMASS CONCENTRATION IN MICROALGAE CULTURES

NºPublicación:  EP4692297A2 11/02/2026
Solicitante: 
UNIV ALMERIA [ES]
Universidad de Almeria
EP_4692297_A2

Resumen de: EP4692297A2

The device comprises an absorbance sensor (3), which works with three wavelengths between 400 and 700 nm, intended to emit and collect light reflected from the culture (1), and a sampling pump (2) to the circulation of the culture (1) through the absorbance sensor (3). For its part, the procedure includes the steps of illuminating the culture (1) with light with three different wavelengths, between 400 and 700 nm, collecting a light reflected from the crop (1), and obtaining the RGB colour coordinates. of the reflected light, obtain the absorbance from the RGB coordinates, perform a regression with absorbance and reference concentration data, and obtain the biomass concentration in the culture (1).

METHOD TO IMPROVE THE BIOAVAILABILITY OF CAROTENOIDS IN MICROALGAE MATRICES (Machine-translation by Google Translate, not legally binding)

NºPublicación:  ES3055409A1 11/02/2026
Solicitante: 
UNIV SEVILLA [ES]
Universidad de Sevilla
ES_3055409_PA

Resumen de: ES3055409A1

Method for improving the bioavailability of carotenoids in microalgae matrices. The present invention relates to a method for improving the bioavailability of carotenoids in microalgae matrices, as well as in food, cosmetic, or pharmaceutical compositions comprising such microalgae matrices. More specifically, the method of the invention comprises milling the microalgae matrix or applying ultrasound to the microalgae matrix. (Machine-translation by Google Translate, not legally binding)

Carotenoid production methods using raceway pond systems

NºPublicación:  GB2643103A 11/02/2026
Solicitante: 
BRILLIANT PLANET LTD [GB]
Brilliant Planet Limited
GB_2643103_PA

Resumen de: GB2643103A

A method for producing a carotenoid, wherein the method comprises a first algal culture phase comprising culturing marine carotenoid-producing microalgae in a first series of connected raceway ponds arranged in stages and the algae are maintained in the exponential growth phase by successive dilution with seawater and nutrient addition. The second algal culture phase comprises culturing the algae in one or more induction raceway ponds that are connected to the first series of connected raceway ponds from the first stage, wherein the algae are cultured in shallower water than in the final raceway pond of the first series of connected raceways ponds and in the presence of a low concentration of nitrogen, thereby inducing the algae to increase carotenoid production. The harvest phase then comprises harvesting algae from one or more of the induction raceway ponds followed by an extraction phase comprising extracting the carotenoid from the algae. A method for producing lutein, zeaxanthin and violaxanthin is also disclosed.

AQYS21 Heterotrophic culture method of Asterarcys quadricellulare AQYS21 microalgae and use thereof

NºPublicación:  KR20260019117A 10/02/2026
Solicitante: 
국립해양생물자원관

Resumen de: KR20260019117A

본 발명은 아스테라시스 쿼드리셀룰라레 AQYS21 (Asterarcys quadricellulare AQYS21) 미세조류의 종속영양 배양 방법, 및 이의 이용에 관한 것으로, 빛이 차단된 암배양 조건에서 아스테라시스 쿼드리셀룰라레 AQYS21 (Asterarcys quadricellulare AQYS21) 미세조류를 종속영양 배양할 수 있는 조건을 제공해고, 상기 종속영양 배양된 아스테라시스 쿼드리셀룰라레 AQYS21 (Asterarcys quadricellulare AQYS21) 미세조류의 광합성 색소, 영양성분의 변화를 분석한 후, 알테미아(Artemia franciscana) 유생의 생존율 및 성장을 향상시킴을 확인함으로써, 아스테라시스 쿼드리셀룰라레 AQYS21 (Asterarcys quadricellulare AQYS21) 미세조류의 종속영양 배양 방법 및 이를 통해 제조된 알테미아(Artemia franciscana) 유생 성장용 조성물을 제공한다.

THIN-FILM PHOTOMICROBIAL BIOREACTOR SYSTEMS FOR THE PRODUCTION OF SECRETED CHEMICALS

NºPublicación:  WO2026030733A1 05/02/2026
Solicitante: 
COLORADO STATE UNIV RESEARCH FOUNDATION [US]
COLORADO STATE UNIVERSITY RESEARCH FOUNDATION
WO_2026030733_PA

Resumen de: WO2026030733A1

Provided herein are photobioreactor systems that facilitate the culture of thin films of phototrophic microorganisms to produce extracellular chemicals using sunlight and CO₂. These systems greatly reduce water and energy needs compared to traditional (e.g., suspension-based) methods employed in bioreactors. By immobilizing the microorganisms in a thin layer, these systems optimize light exposure and enable higher cell density and easier product separation, making the process more sustainable and cost-effective. These systems can be used to culture a variety of phototrophic microorganisms, including bacteria, cyanobacteria, algae, and fungi. These systems and methods can be used to produce a wide variety of important chemical products, including fuels, pharmaceuticals, and industrial chemicals including ammonia.

METHOD FOR PRODUCING MICROALGAE CONCENTRATES WITH LOW VISCOSITY

NºPublicación:  US20260035654A1 05/02/2026
Solicitante: 
CJ CHEILJEDANG CORP [KR]
CJ CHEILJEDANG CORPORATION
US_20260035654_PA

Resumen de: US20260035654A1

The present invention relates to a method for producing a microalgae concentrate with low viscosity, the method comprising a step of adjusting the pH of a microalgae fermentation broth and a heat treatment step, in which utility costs and investment costs can be reduced in a dehydration and drying step to secure price competitiveness for production and commercialization of dried microalgae products.

Restoration and treatment method for desertified land in alpine region

NºPublicación:  CN121420715A 30/01/2026
Solicitante: 
NORTHWEST INST OF ECO ENVIRONMENT AND RESOURCES CAS
POWERCHINA NORTHWEST ENGINEERING CORPORATION LTD
\u4E2D\u56FD\u79D1\u5B66\u9662\u897F\u5317\u751F\u6001\u73AF\u5883\u8D44\u6E90\u7814\u7A76\u9662,
\u4E2D\u56FD\u7535\u5EFA\u96C6\u56E2\u897F\u5317\u52D8\u6D4B\u8BBE\u8BA1\u7814\u7A76\u9662\u6709\u9650\u516C\u53F8
CN_121420715_PA

Resumen de: CN121420715A

The invention provides a restoration and treatment method for desertification land in an alpine region, and belongs to the technical field of ecological restoration of alpine degraded land. The desertification land restoration method comprises the steps that after an environment-friendly chemical sand fixing agent with the anti-freezing performance is sprayed to the surface layer of the desertification land, dominant cyanobacteria liquid in the alpine region is evenly sprayed to the surface of a mixture of sandy soil and the sand fixing agent, and green, environment-friendly and continuous restoration of the desertification land in the alpine region is achieved. According to the method, a chemical and microbial material combined repair method is adopted, the surface stability of the sandy soil is improved by using an environment-friendly chemical sand fixing agent with anti-freezing performance, the colonization of artificial algae crust is promoted, and the sand fixing method and technology of the desertified land are enriched; through colonization growth time including eight months in complete winter, the thickness of the artificial algal crust, the chlorophyll content and the relative abundance of cyanobacteria phylum are all remarkably improved, the viability of the artificial colonization algal crust is improved, operation and construction are easy, and the later maintenance cost is low.

Flat plate photobioreactor for culturing microalgae which is not resistant to high temperature

NºPublicación:  CN121427649A 30/01/2026
Solicitante: 
HUBEI ZAOLAN BIOTECHNOLOGY CO LTD
\u6E56\u5317\u85FB\u84DD\u751F\u7269\u79D1\u6280\u6709\u9650\u516C\u53F8
CN_121427649_PA

Resumen de: CN121427649A

The invention discloses a flat plate photobioreactor for culturing microalgae which is not resistant to high temperature, which comprises a transparent plastic bag which is unfolded and fixed in a flat plate net rack and is used as the flat plate photobioreactor, and a cooling water pipe and an inflating pipe which are positioned in the flat plate photobioreactor, inflation pipes are attached to the two ends of the cooling water pipe respectively and penetrate through the two connector pipes at the upper end of the plastic bag respectively, sealing and binding of the external water pipe are combined with protection of the waterproof cover as the core, and algae in rainwater and dew can be effectively prevented from being mixed into the reactor to compete with target algae to grow; the problem that a traditional flat plate photobioreactor is easily polluted by foreign algae under outdoor rain and dew conditions is solved.

Device for refitting closed container into high-density cell bioreactor

NºPublicación:  CN223852610U 30/01/2026
Solicitante: 
UNIV NANCHANG
\u5357\u660C\u5927\u5B66
CN_223852610_U

Resumen de: CN223852610U

The utility model discloses a device for refitting a closed container into a high-density cell bioreactor, and relates to the technical field of water body ecological restoration. The device comprises a permeation part, a filtering part and a fixing part which are detachably connected, the permeation part comprises a semi-permeable membrane fixing disc and a first connecting part which are of an integrated structure, the semi-permeable membrane fixing disc is arranged in a closed container, and the first connecting part is connected with the fixing part and the filtering part outside the closed container through a through hole of the closed container. According to the device for refitting the closed container into the high-density cell bioreactor disclosed by the utility model, the closed container has a high-density cell culture function by arranging the filtering and permeation-permitting additional component in the closed container; the problems that an existing traditional microalgae culture device is poor in adaptability, and the algal bloom treatment technology is high in cost, low in efficiency, high in energy consumption and the like can be solved.

Intelligent aquatic plant floating ball for emergency treatment of cyanobacterial bloom and treatment method

NºPublicación:  CN121426312A 30/01/2026
Solicitante: 
GUANGDONG RES INSTITUTE OF WATER RESOURCES AND HYDROPOWER
\u5E7F\u4E1C\u7701\u6C34\u5229\u6C34\u7535\u79D1\u5B66\u7814\u7A76\u9662
CN_121426312_PA

Resumen de: CN121426312A

The invention relates to the technical field of water treatment, in particular to an intelligent aquatic plant floating ball for emergency treatment of cyanobacterial bloom and a treatment method, the aquatic plant floating ball has two structural forms, including a floating ball A and a floating ball B; the floating ball A adopts a lower hemisphere shell a1 and an upper hemisphere shell a2 which are detachably connected, the outer side of the opening end of the lower hemisphere shell a1 is in threaded connection with the inner side of the opening end of the upper hemisphere shell a2, and the two hemispheres are combined; the lower hemisphere shell a1 is made of a white PVC (Polyvinyl Chloride) material; the bottom of the first hollow PVC pipe is a plastic water-permeable grid integrated with the lower hemispherical shell a1, is used for preventing an adsorption material from falling into water under the action of gravity, serves as a water body to enter an adsorption material channel, and can realize quick response and efficient emergency in combination with the enclosure, so that the emergency treatment response time and the emergency treatment cost are greatly reduced.

Non-destructive culture medium replacement device and method for microalgae

NºPublicación:  CN121427645A 30/01/2026
Solicitante: 
JIANGSU OCEAN UNIV
\u6C5F\u82CF\u6D77\u6D0B\u5927\u5B66
CN_121427645_PA

Resumen de: CN121427645A

The invention discloses a non-destructive culture medium replacement device and method for microalgae, and relates to the technical field of microbiological treatment. Comprising a frame body, a water storage assembly used for storing pure water and calcium-free seawater is arranged above the frame body, a replacement box is arranged in the middle of the frame body and used for containing a dialysis bag containing algae liquid, and the pure water or the calcium-free seawater can flow in and out at the same flow speed through a pipeline and a flow control valve; a collecting assembly used for receiving water discharged from the replacement box is arranged below the frame body. And two groups of symmetrically arranged transverse frames are fixedly mounted in the middle of the frame body. According to the device, a traditional centrifugal method is replaced by physical isolation and micro-vibration auxiliary replacement of the dialysis bag, a knocking assembly driven by a cam is matched with a spring buffer structure, the movement of liquid in the bag is accelerated, meanwhile, mechanical impact force is controlled within a certain amplitude range, it is ensured that the structure of a microalgae cell membrane is complete, and the survival rate is greatly increased; and a high-activity sample is provided for subsequent calcium signal research.

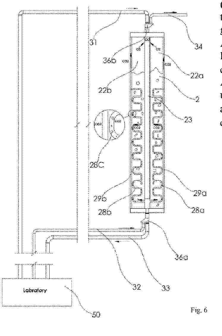
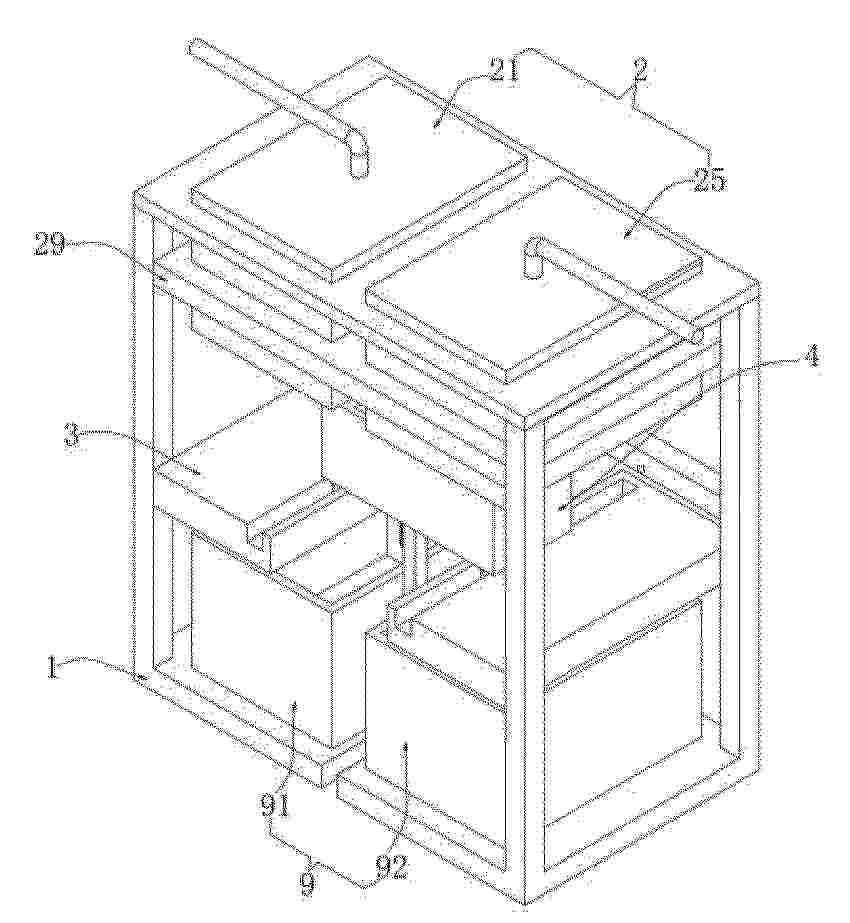
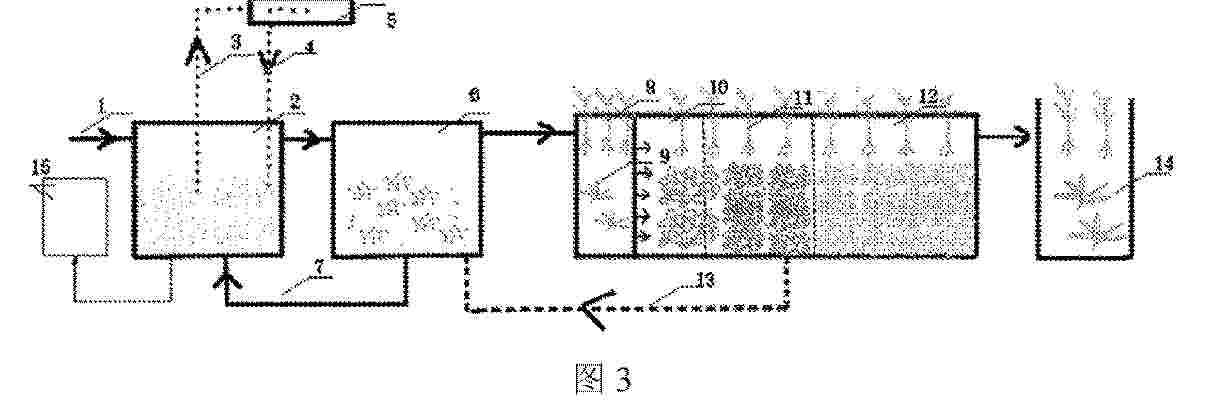
Method for purifying mariculture tail water by utilizing synergistic effect of microalgae

Nº publicación: CN121426309A 30/01/2026

Solicitante:

GUANGXI ACADEMY OF OCEAN SCIENCES GUANGXI MANGROVE RES CENTER
BEIBU GULF MARINE INDUSTRY RES INSTITUTE
\u5E7F\u897F\u6D77\u6D0B\u79D1\u5B66\u9662\uFF08\u5E7F\u897F\u7EA2\u6811\u6797\u7814\u7A76\u4E2D\u5FC3\uFF09,
\u5317\u90E8\u6E7E\u6D77\u6D0B\u4EA7\u4E1A\u7814\u7A76\u9662

CN_121426309_A

Resumen de: CN121426309A

The invention relates to a method for purifying mariculture tail water by utilizing the synergistic effect of microalgae, which specifically comprises the following steps: firstly, preparing microalgae, and enabling the microalgae to adapt to the environment through photoautotrophic conversion; secondly, carrying out salinity domestication on microalgae to obtain a microalgae culture solution; then, mixing the domesticated microalgae with mariculture tail water, and carrying out secondary domestication; then, the domesticated microalgae are inoculated into mariculture tail water, and the inoculation density is 1 * 10 < 5 >-10 < 6 > cells/mL; finally, in a culture tank or a reactor, full mixing of the microalgae and the tail water is promoted through stirring or gas stripping equipment, and purification is achieved. According to the method, the microalgae culture solution and the mariculture tail water are mixed, and the microalgae can absorb nutrient salts such as nitrogen and phosphorus in the tail water, so that the eutrophication phenomenon of the water body is effectively reduced. According to the method, harmful substances in the water body are reduced, and the pollution risk caused by tail water discharge to the environment is also reduced.

traducir