Ministerio de Industria, Turismo y Comercio LogoMinisterior
 

Alerta

Resultados 103 resultados
LastUpdate Última actualización 22/01/2026 [06:55:00]
pdfxls
Solicitudes publicadas en los últimos 60 días/Published applications in the last 60 days
previousPage Resultados 25 a 50 de 103 nextPage  

AN APPARATUS FOR STERILIZATION AND PURIFICATION AIR USING AN ELECTRON-BASED DISINFECTION MECHANISM

NºPublicación:  WO2026009244A1 08/01/2026
Solicitante: 
INSTASHIELD INDIA PRIVATE LTD [IN]
INSTASHIELD INDIA PRIVATE LIMITED

Resumen de: WO2026009244A1

The present invention relates to an electron-based apparatus for indoor air sterilization and purification, designed to neutralize airborne and surface-bound pathogens including viruses, bacteria, and fungi. The apparatus comprises a housing formed by an end cap (101), deco ring (102), top cover (103), bottom plate (108), and base ring (109), enclosing electron emitters mounted on a bobbin (104) and electrically connected via a 3 wire ring (105). A hypercharged electron cannon emits trillions of high-velocity, negatively charged electrons per second, which interact with viral spike proteins and microbial membranes, disrupting pathogen structure and infectivity without using filters, UV, or chemicals. A control box (106) and panel board (107) regulate emission parameters. The system supports plug-and-play operation, remote control, and requires no maintenance. Validated in virology and microbiology labs, it shows significant reductions in SARS-CoV-2 and other microbial loads. The apparatus is suitable for residential, commercial, and medical use, offering a safe and effective disinfection solution.

SARS-COV2 ANTIBODIES AND METHODS OF USE THEREOF

NºPublicación:  WO2026010909A1 08/01/2026
Solicitante: 
INVIVYD INC [US]
INVIVYD, INC

Resumen de: WO2026010909A1

The present disclosure is directed to antibodies and antigen binding fragments thereof, having improved binding specificity for coronaviruses, such as SARS-CoV-2, including neutralizing antibodies. Other embodiments contemplate using anti-CoV-S antibodies, and binding fragments thereof, for the diagnosis, assessment, and treatment of diseases and disorders associated with coronaviruses or the S protein thereof and conditions where neutralization or inhibition of coronaviruses or the S protein thereof would be therapeutically beneficial.

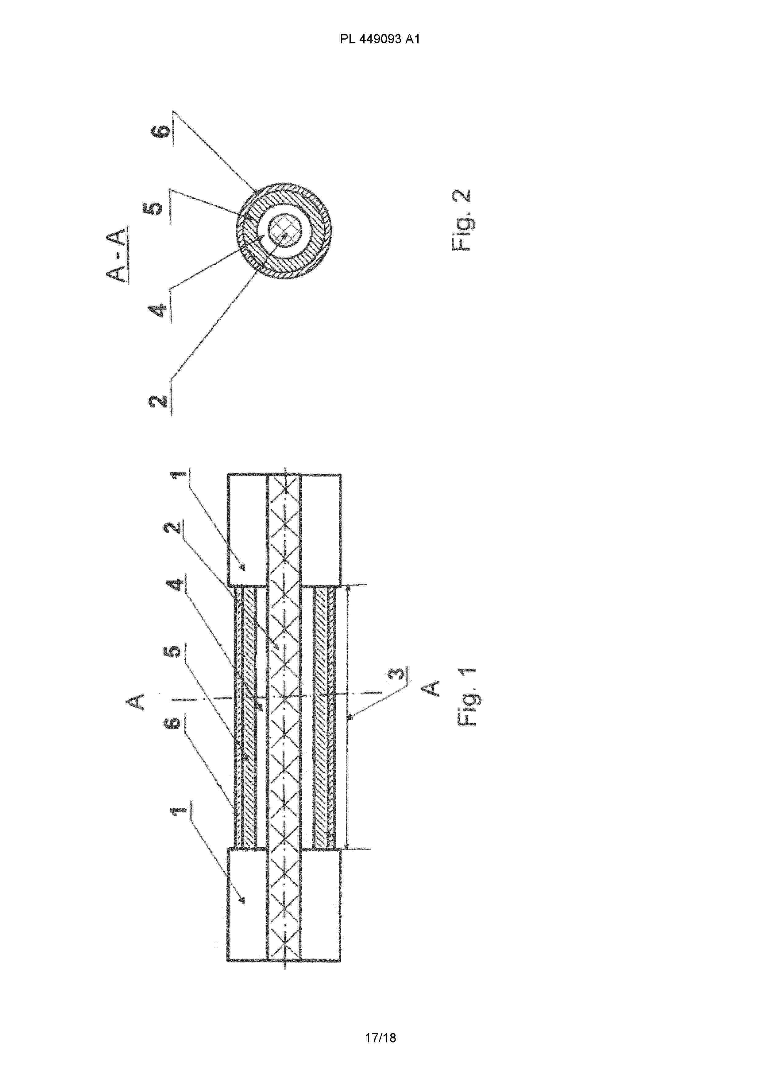
Fiber optic sensor for testing for SARS-CoV-2 and method of making the sensor

NºPublicación:  PL449093A1 05/01/2026
Solicitante: 
SIEC BADAWCZA LUKASIEWICZ INST MIKROELEKTRONIKI I FOTONIKI [PL]
SZKOLA GLOWNA GOSPODARSTWA WIEJSKIEGO W WARSZAWIE [PL]
SIE\u0106 BADAWCZA \u0141UKASIEWICZ - INSTYTUT MIKROELEKTRONIKI I FOTONIKI,
SZKO\u0141A G\u0141\u00D3WNA GOSPODARSTWA WIEJSKIEGO W WARSZAWIE
PL_449093_A1

Resumen de: PL449093A1

Przedmiotem zgłoszenia jest czujnik światłowodowy do badań na obecność SARS-CoV-2 oraz sposób wykonania tego czujnika. Czujnik światłowodowy do badań na obecność SARS-CoV-2, oparty na rezonansowym efekcie (LMR) oraz sposób wykonania tego czujnika. Obszarze czujnikowym (3) o długości od 5 do 100 mm znajdującym się na odsłoniętym rdzeniu (2) lub na bocznie pocienionym włóknie z pozostawieniem płaszcza resztkowego o grubości do 5 µm lub też na bocznie pocienionym włóknie z całkowicie pocienionym bocznie płaszczem (1) i częściowo do 20% pocienionym bocznie rdzeniem ma powłokę dielektryczną (4) o grubości co najmniej 10 nm. Część rzeczywista współczynnika załamania powłoki ma wartość większą niż wartość współczynnika załamania rdzenia włókna światłowodowego, a część urojona współczynnika załamania ma wartość bliską zeru lecz niezerową. Powłoka dielektryczna pokryta jest warstwą funkcjonalizacji (5) wykonanej metodą silanizacji i posiada unieruchomione na niej receptory (6) analitów pochodzących od SARS-CoV-2, w postaci przeciwciał skierowanych przeciwko jednemu z białek strukturalnych SARS-CoV-2 czyli przeciwciał anti-S albo przeciwciał anti-E albo przeciwciał anti-M albo przeciwciał anti-N.

2-(PIPERIDIN-3-YL)ISOINDOLE-1,3-DIONE ANALOGS AND USES THEREOF

NºPublicación:  WO2026006247A1 02/01/2026
Solicitante: 
THE US SECRETARY DEPARTMENT OF HEALTH AND HUMAN SERVICES [US]
THE UNITED STATES OF AMERICA, AS REPRESENTED BY THE SECRETARY, DEPARTMENT OF HEALTH AND HUMAN SERVICES

Resumen de: WO2026006247A1

2-(Piperidin-3-yl)isoindole-1,3-dione analogs and uses thereof are disclosed. The compounds have a structure according to Formula I, or a stereoisomer or pharmaceutically acceptable salt, solvate, or hydrate thereof. The compounds may be useful for inhibiting TNF-α activity, TNF-α synthesis, interleukin-6 (IL-6) level, inflammation, or SARS-COV-2 virus. In some aspects, the compounds, or pharmaceutical compositions including the compounds, are administered to a subject a traumatic brain injury (TBI), an inflammatory disorder, a neurodegenerative disease, cancer, a viral infection, or any combination thereof.

COMPOUNDS AS NLRP3 INHIBITORS, AND COMPOSITIONS AND USES THEREOF

NºPublicación:  WO2026006510A1 02/01/2026
Solicitante: 
VIRGINIA COMMONWEALTH UNIV [US]
VIRGINIA COMMONWEALTH UNIVERSITY

Resumen de: WO2026006510A1

NOD-like receptor protein 3 (NLRP3) inhibitors (NSIs) as anti-inflammatory agents are provided, as are methods of using the NSIs to inhibit inflammation and prevent or treat NRLP3 inflammasome dysregulation associated diseases and conditions, such as multiple sclerosis (MS), Alzheimer's disease (AD), traumatic brain injury (TBI), Parkinson's disease (PD), acute myocardial infarction (AMI), heart failure, gout, rheumatoid arthritis, COVID-19, diabetes, macular degeneration, and autoimmune/autoinflammatory diseases.

COMPOUNDS AS NLRP3 INHIBITORS AND COMPOSITIONS AND USES THEREOF

NºPublicación:  WO2026006505A1 02/01/2026
Solicitante: 
VIRGINIA COMMONWEALTH UNIV [US]
VIRGINIA COMMONWEALTH UNIVERSITY

Resumen de: WO2026006505A1

NSIs with anti-inflammatory activity are provided, as are methods of using the NSIs to inhibit inflammation and prevent or treat diseases and conditions associated with inflammation, such as multiple sclerosis (MS), Alzheimer's disease (AD), traumatic brain injury (TBI), Parkinson's disease (PD), acute myocardial infarction (AMI), heart failure, gout, rheumatoid arthritis, COVID- 19, diabetes, macular degeneration, or an autoimmune or autoinflammatory disease.

COMPOUNDS AS NLRP3 PET RADIOTRACERS AND COMPOSITIONS AND USES THEREOF

NºPublicación:  WO2026006503A1 02/01/2026
Solicitante: 
VIRGINIA COMMONWEALTH UNIV [US]
VIRGINIA COMMONWEALTH UNIVERSITY

Resumen de: WO2026006503A1

NLRP3 PET radiotracers are provided, as are methods of using the NLRP3 PET radiotracers to image and/or diagnose diseases and conditions associated with inflammation, such as multiple sclerosis (MS), Alzheimer's disease (AD), traumatic brain injury (TBI), Parkinson's disease (PD), acute myocardial infarction (AMI), heart failure, gout, rheumatoid arthritis, COVID- 19, diabetes, macular degeneration, and autoimmune/autoinflammatory diseases.

PREVENTION AND TREATMENT OF CORONAVIRUS INFECTION

NºPublicación:  US20260000668A1 01/01/2026
Solicitante: 
ANAVEX LIFE SCENCES CORP [US]
ANAVEX LIFE SCENCES CORP
US_20260000668_PA

Resumen de: US20260000668A1

Provided herein are compositions comprising one or more diphenyl compounds, such as ANAVEX 1066, or its metabolites, or isomers, or salts, for use in treating symptoms of, or preventing an infection by a coronavirus, particularly an infection caused by a SARS-COV-2 virus.

SARS-COV-2 NSP14 METHYLTRANSFERASE INHIBITORS

NºPublicación:  US20260000698A1 01/01/2026
Solicitante: 
REGENTS OF THE UNIV OF MINNESOTA [US]
REGENTS OF THE UNIVERSITY OF MINNESOTA
US_20260000698_PA

Resumen de: US20260000698A1

Disclosed herein are compounds of formulaor pharmaceutically acceptable salts thereof, and methods of using the same for treating a viral infection or inhibiting replication of a virus.

ANTIGEN SPECIFIC IMMUNOTHERAPY FOR COVID-19 FUSION PROTEINS AND METHODS OF USE

NºPublicación:  US20260000752A1 01/01/2026
Solicitante: 
VAKSTON INC [US]
VAKSTON, INC
US_20260000752_PA

Resumen de: US20260000752A1

The present disclosure provides recombinantly manufactured fusion proteins comprising a SARS-CoV-2 Receptor Binding Domain (SARS-CoV-2-RBD) fragment or an analog thereof linked to a human Fc fragment for use in relation to the 2019 Novel Coronavirus (COVID-19). Embodiments include the administration of the fusion proteins to patients that have recovered from COVID-19 as a booster vaccination, to antibody naïve patients to produce antibodies to the SARS-CoV-2 virus to enable the patients to become convalescent plasma donors, to patients who have been infected by the SARS-CoV-2 virus and have contracted COVID-19 in order to limit the scope of the infection and ameliorate the disease, and as a prophylactic COVID-19 vaccine. Exemplary Fc fusion proteins and pharmaceutical formulations of exemplary Fc fusion proteins are provided, in addition to methods of use and preparation.

Medicated diet composition for treating heat cough, and preparation method therefor and use thereof

NºPublicación:  GB2642116A 31/12/2025
Solicitante: 
GUANGDONG PROVINCIAL HOSPITAL OF TCM [CN]
THE SECOND AFFILIATED HOSPITAL OF GUANGZHOU UNIV OF CHINESE MEDICINE [CN]
THE SECOND CLINICAL COLLEGE OF GUANGZHOU UNIV OF CHINESE MEDICINE [CN]
GUANGDONG PROVINCIAL ACAD OF CHINESE MEDICAL SCIENCES [CN]
Guangdong Provincial Hospital of TCM,
The Second Affiliated Hospital of Guangzhou University of Chinese Medicine,
The Second Clinical College of Guangzhou University of Chinese Medicine,
Guangdong Provincial Academy of Chinese Medical Sciences
GB_2642116_A

Resumen de: GB2642116A

A medicated diet composition for treating a heat cough, prepared from the raw materials in the following parts by mass: 50-100 parts of kumquat, 30-50 parts of Eleocharis dulcis, 5-10 parts of Glehniae radix and 5-10 parts of Platycodonis radix. The medicated diet composition can improve the symptoms of a heat cough of a SARS-CoV-2 infection.

COMPOSITION FOR PREVENTING OR TREATING CHEMOSENSORY DISORDER

NºPublicación:  EP4670725A1 31/12/2025
Solicitante: 
UNIV NAGASAKI [JP]
KIRIN HOLDINGS KK [JP]
NAGASAKI UNIVERSITY,
KIRIN HOLDINGS KABUSHIKI KAISHA
KR_20250164165_PA

Resumen de: EP4670725A1

The purpose of the present invention is to provide a composition for preventing or treating a chemosensory disorder. The present invention provides a composition for preventing or treating a chemosensory disorder, comprising a lactic acid bacterium. The chemosensory disorder can be a chemosensory disorder that occurs after SARS-CoV-2 viral infection. The present invention is advantageous in that lactic acid bacteria can be used as a functional ingredient that imparts a preventive or therapeutic effect against a chemosensory disorder, and a pharmaceutical product or a food product that is safe for mammals including humans can be provided.

SARS-COV-2 NEUTRALIZING ANTIBODIES

NºPublicación:  EP4669667A2 31/12/2025
Solicitante: 
UNIV KOELN [DE]
Universit\u00E4t zu K\u00F6ln
TW_202440626_A

Resumen de: TW202440626A

The present invention relates to antibodies or antigen-binding fragments thereof against SARS- related coronavirus, pharmaceutical compositions comprising such antibodies or antigen-binding fragments thereof, kits comprising such antibodies or antigen-binding fragments thereof, and the antibodies or antigen-binding fragments thereof, the pharmaceutical compositions and the kits for use as a medicament, and in the treatment or prevention of a disease caused by SARS-related coronavirus. The present invention further relates to methods of treating, preventing or reducing the severity of an infection with a SARS-related coronavirus, and to nucleic acids encoding such antibodies or antigen-binding fragments thereof, expression vectors comprising such nucleic acids, host cells comprising such nucleic acids or expression vectors, and methods for the production of such antibodies or antigen-binding fragments thereof.

AN EPITOPE ORIGINATING FROM SARS-COV-2 N PROTEIN, AN ANTIGEN CONTAINING THE EPITOPE, USES THEREOF AND A METHOD FOR DETECTING DISEASE CAUSED BY CORONAVIRUS

NºPublicación:  EP4669349A2 31/12/2025
Solicitante: 
INST IMMUNOLOGII I TERAPII DOSWIADCZALNEJ IM LUDWIKA HIRSZFELDA POLSKIEJ AKADEMII NAUK [PL]
Instytut Immunologii I Terapii Doswiadczalnej Im. Ludwika Hirszfelda Polskiej Akademii Nauk
PL_443854_A1

Resumen de: WO2024177525A2

Epitopes originating from SARS-CoV-2 N protein, vaccine antigens specific for SARS-CoV-2 containing the epitopes useful in the treatment or prevention of disease caused by coronavirus as well as a method for detecting disease caused by coronavirus, in particular COVID-19, especially with an acute course, are disclosed.

EFFICIENT VACCINE

NºPublicación:  WO2025263616A1 26/12/2025
Solicitante: 
VLP THERAPEUTICS JAPAN INC [JP]
VLP THERAPEUTICS JAPAN, INC

Resumen de: WO2025263616A1

Provided herein is an isolated polynucleotide, which encodes alphavirus non-structural proteins nsp1, nsp2, nsp3 and nsp4 and a polypeptide comprises CD8+ T cell epitope. Provided herein is also a bivalent alphavirus replicon vaccine, which is a combination of a first polynucleotide which encodes alphavirus non-structural proteins nsp1, nsp2, nsp3 and nsp4 and an antigenic peptide and a second polynucleotide which encodes alphavirus non-structural proteins nsp1, nsp2, nsp3 and nsp4 and a CD8+ T cell epitope. The vaccine is useful against virus infection, especially, COVID-19 or SARS-CoV-2 infection, the treatment of a cancer and/or an inflammatory disease.

PROTEIN OLIGOMERS FOR ACTIVE IMMUNIZATION

NºPublicación:  WO2025262023A1 26/12/2025
Solicitante: 
HEIDELBERG BIOTECH GMBH [DE]
HEIDELBERG BIOTECH GMBH

Resumen de: WO2025262023A1

The present invention pertains to protein oligomers for active immunization. Specifically, the invention relates to protein oligomers comprising at least a first monomer and a second 5 monomer, said at least first and second monomer comprising, in N- to C-terminal order, at least one first RBD, an immunoglobulin Fc (Ig Fc), and at least one second RBD, wherein a) Ig Fc has enhanced affinity for the neonatal Fc receptor (FcRn) at mucosal pH, compared to wildtype Ig Fc; and b) RBD is a receptor binding domain from or derived from SARS-CoV-2 spike protein, wherein the receptor binding domain comprises the amino acid sequence of SEQ ID NO. 13, or a fragment thereof, or an amino acid sequence having at least 80%, 85%, 90%, or 95% sequence identity to SEQ ID NO. 13. The invention further relates to a vaccine comprising said protein oligomer, preferably for use in active immunization and/or booster vaccination in a subject.

PHARMACEUTICAL COMPOSITION FOR PASSIVE IMMUNIZATION OR THERAPY

NºPublicación:  WO2025262025A1 26/12/2025
Solicitante: 
HEIDELBERG BIOTECH GMBH [DE]
HEIDELBERG BIOTECH GMBH

Resumen de: WO2025262025A1

The present invention pertains to pharmaceutical compositions comprising protein oligomers for passive immunization and therapy. Specifically, the present invention relates to a pharmaceutical composition comprising a protein oligomer comprising at least a first and a second monomer, said at least first and second monomer comprising, in N- to C-terminal order, at least one first receptor binding domain (RBD), an immunoglobulin Fc (Ig Fc), and at least one second receptor binding domain (RBD), wherein a) Ig Fc has enhanced affinity for the neonatal Fc receptor (FcRn) at mucosal pH, compared to wildtype Ig Fc; and b) RBD is a receptor binding domain from or derived from SARS-CoV-2 spike protein, wherein the receptor binding domain comprises the amino acid sequence of SEQ ID NO. 13, or an amino acid sequence having at least 80%, 85%, 90%, or 95% sequence identity to SEQ ID NO. 13.

SIMULTANEOUS DETECTION OF PROTEINS AND NUCLEIC ACIDS USING PROXIMITY LIGATION OF APTAMERS AND QUANTITATIVE POLYMERASE CHAIN REACTION

NºPublicación:  WO2025262670A1 26/12/2025
Solicitante: 
UNIV OF OTTAWA [CA]
UNIVERSITY OF OTTAWA

Resumen de: WO2025262670A1

A method and composition for the simultaneous detection of a protein and a nucleic acid within a single biological sample using proximity ligation of aptamers and quantitative polymerase chain reaction (qPCR) is disclosed. The invention employs two aptamers, each targeting a distinct epitope of the protein of interest, functionalized with primer sites to enable ligation by way of a short DNA linker in the presence of the protein. This ligated construct is then amplified and detected using qPCR. Concurrently, viral RNA is detected in the same reaction using reverse transcription- qPCR (RT-qPCR) with TaqMan probes in a separate fluorescent channel. This dual detection approach is demonstrated with SARS-CoV-2 nucleocapsid protein and RNA and is validated in saliva samples and digital droplet PCR. The invention provides a sensitive, rapid, and specific method for multiplexed molecular diagnostics.

HUMANIZED MONOCLONAL ANTIBODY EFFICIENTLY NEUTRALIZING SARS-COV-2 VARIANT STRAIN AND USE THEREOF

NºPublicación:  WO2025260223A1 26/12/2025
Solicitante: 
GUANGZHOU EIGHTH PEOPLES HOSPITAL GUANGZHOU MEDICAL UNIV [CN]
\u5E7F\u5DDE\u533B\u79D1\u5927\u5B66\u9644\u5C5E\u5E02\u516B\u533B\u9662

Resumen de: WO2025260223A1

Specifically, the present invention relates to a humanized monoclonal antibody efficiently neutralizing a SARS-CoV-2 variant strain and a use thereof. Six CDR regions of the antibody are as shown in SEQ ID NOs: 1-6; a heavy chain variable region of the monoclonal antibody has a full length of an amino acid sequence as shown in SEQ ID NO: 7; and a light chain variable region of the monoclonal antibody has a full length of an amino acid sequence as shown in SEQ ID NO: 8. By using B-cell culture combined with antibody cloning technology and by means of a cross-reactive antibody screening strategy, a human monoclonal antibody 2F8 with efficient neutralization activity is obtained from a patient having recovered from original SARS-CoV-2 infection. The antibody can effectively resist neutralization escape by the SARS-CoV-2 variant strain and can be used for passive prevention in a population at a high risk of SARS-CoV-2 infection and the treatment of COVID-19.

SARS-COV-2 LACKING THE ENVELOPE PROTEIN AS AN ATTENUATED VACCINE VIRUS AGAINST COVID-19

NºPublicación:  US2025387467A1 25/12/2025
Solicitante: 
WISCONSIN ALUMNI RES FOUNDATION [US]
Wisconsin Alumni Research Foundation
WO_2024015510_A1

Resumen de: US2025387467A1

An isolated nucleic acid comprising a recombinant coronavirus genome having a genetic modification that inhibits or prevents expression of coronavirus envelope (E) protein and/or M protein, a vaccine comprising the recombinant genome and methods of using the vaccine are provided.

Nutraceutical Composition for Multimodal Prophylaxis

NºPublicación:  US2025387429A1 25/12/2025
Solicitante: 
CUDDEBACK DAVID A [US]
Cuddeback David A
US_12403158_B1

Resumen de: US2025387429A1

A phytochemical and nutraceutical composition and method for protection against a wide spectrum of viral and bacterial infections, including Covid-19, and for treatment of established infection and infectious inflammation. The composition includes a novel combination of vitamin, mineral, nutraceutical and phytochemical supplements. The composition of supplements and method may be compounded as a pill, tablet, powder, capsule or liquid be taken orally one or more times per day, and parenteral including nasal sprays and inhalers. Vitamin C and vitamin E along with zinc complexed with pyrithione or citrate are used in conjunction with nutraceuticals and phytochemicals provided, respectively, as immune boosters and antiviral agents along with anti-inflammatory nutraceuticals and phytochemicals.

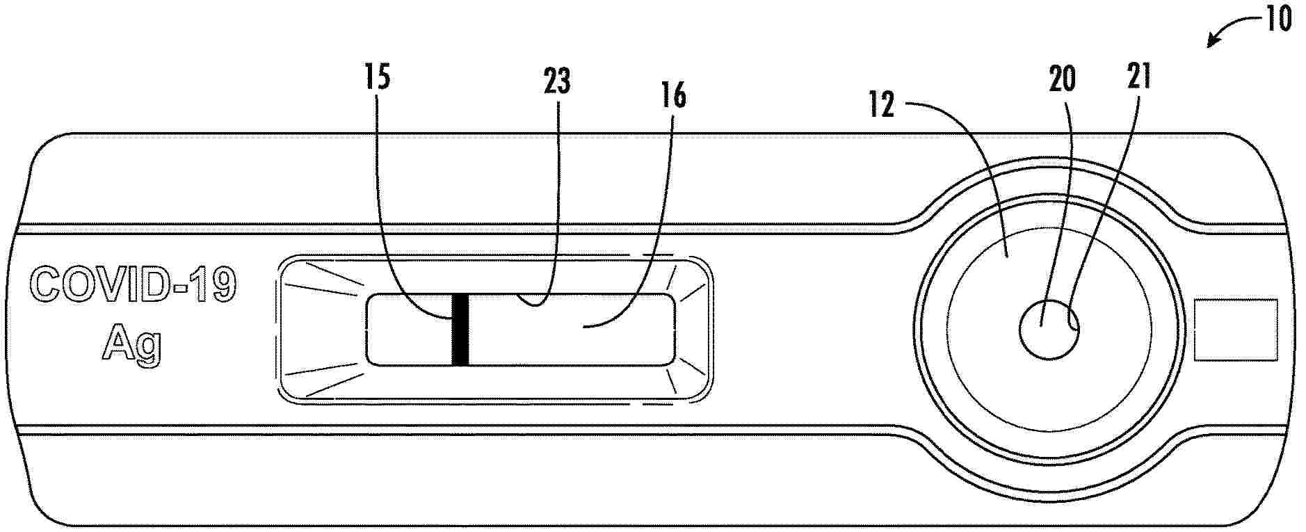
Method and System for Exposing Hidden or Masked Antigenic Sites of Viral Specimens Present in Biosamples Using a Home-Based COVID-19 Rapid Lateral Flow Immunoassay Test

NºPublicación:  US2025389719A1 25/12/2025
Solicitante: 
PRINCETON BIOCHEMICALS INC [US]
PRINCETON BIOCHEMICALS, INC
US_2024210398_PA

Resumen de: US2025389719A1

A disease detection system including a platform or cartridge to perform testing using a rapid lateral flow chromatographic immunoassay (LFIA) test intended for the qualitative detection of the disease in a sample, such as collected sputum, disrupted by a digestive enzyme and a detergent to release its content and digest its proteins and other polymeric molecules. A method of the present invention includes treating a sample with a digestive enzyme and a detergent to disrupt the collected sample releasing content and digesting proteins of the sample to form a lysed-digested-extracted sample, applying the lysed-digested-extracted sample to a platform or cartridge, performing a rapid lateral flow chromatographic immunoassay (LFIA) test of the lysed-digested-extracted sample using the platform or cartridge and detecting presence or absence of an analyte of interest from the tested lysed-digested-extracted sample.

Methods and Compositions for Treating Infections

NºPublicación:  US2025387468A1 25/12/2025
Solicitante: 
DECOY THERAPEUTICS INC [US]
Decoy Therapeutics Inc
AU_2022209720_A1

Resumen de: US2025387468A1

The invention provides a compound comprising one, two, three or more non-natural HRC sequence of a viral spike peptide conjugated to a hydrophobic moiety via an optional linker. The hydrophobic moiety can be a membrane integrating ligand, such as a cholesterol, a sphingolipid, a glycolipid, a glycerophospholipid. The non-natural viral spike peptide is preferably a coronavirus spike protein characterized by one or more D-amino acids. The peptides of the invention inhibit viral fusion. The invention includes compositions for the delivery of compounds of the invention, such as pulmonary or nasal delivery. The invention also provides a method of treating or preventing a viral infection, including for example a SARS-CoV-2 (COVID-19) infection, in a subject in need thereof comprising administering an effective amount of a compound of the invention.

PHARMACEUTICAL COMPOSITION FOR PREVENTING OR TREATING EPIDEMIC RNA VIRAL INFECTIOUS DISEASE

NºPublicación:  UA130231C2 24/12/2025
Solicitante: 
SHIN POONG PHARMACEUTICAL CO LTD [KR]
\u0428\u0406\u041D\u042C \u041F\u0423\u041D\u0413 \u0424\u0410\u0420\u041C\u0410\u0421\u042C\u042E\u0422\u0406\u041A\u0410\u041B \u041A\u041E., \u041B\u0422\u0414.,
\u0428\u0418\u041D\u042C \u041F\u0423\u041D\u0413 \u0424\u0410\u0420\u041C\u0410\u0421\u042C\u042E\u0422\u0418\u041A\u0410\u041B \u041A\u041E., \u041B\u0422\u0414.
UA_130231_PA

Resumen de: UA130231C2

The present invention relates to a use of pyronaridine or a pharmaceutically acceptable salt thereof, and/or artemisinin or a derivative thereof for preventing or treating an epidemic RNA viral infectious disease, and more specifically, to a pharmaceutical composition for preventing or treating an epidemic RNA viral infectious disease, in particular, Coronavirus Disease 2019 (COVID-19), the composition comprising a therapeutically effective amount of pyronaridine or a pharmaceutically acceptable salt thereof, and/or artemisinin or a derivative thereof, together with a pharmaceutically acceptable carrier.

METHOD FOR OBTAINING 6-BENZYL-3-ARYLAMINO-4H-1,2,4-TRIAZINE-5-ONES WITH PREDICTED ACTIVITY AGAINST THE SARS-COV-2 VIRUS

Nº publicación: UA161685U 24/12/2025

Solicitante:

MYKOLA GOGOL NIZHYN STATE UNIV [UA]
\u041D\u0406\u0416\u0418\u041D\u0421\u042C\u041A\u0418\u0419 \u0414\u0415\u0420\u0416\u0410\u0412\u041D\u0418\u0419 \u0423\u041D\u0406\u0412\u0415\u0420\u0421\u0418\u0422\u0415\u0422 \u0406\u041C\u0415\u041D\u0406 \u041C\u0418\u041A\u041E\u041B\u0418 \u0413\u041E\u0413\u041E\u041B\u042F

UA_161685_U

Resumen de: UA161685U

Method for obtaining 6-benzyl-3-arylamino-4H-1,2,4-triazine-5-ones with predicted activity against the SARS-CoV-2 virus: where R=OCHF2, NHC6H5, whereby equimolar amounts of 6-benzyl-3-methylsulfanil-4H-1,2,4-triazine-5-one and the corresponding substituted aromatic amine are heated in an oil bath at a temperature of 170 °C for two hours in an argon atmosphere; after cooling, the reaction mixture is ground with propanol-2, the crystalline precipitate is filtered off, washed with propanol-2, dried, and purified by crystallization from ethanol.

traducir