Ministerio de Industria, Turismo y Comercio LogoMinisterior
 

Alerta

Resultados 103 resultados
LastUpdate Última actualización 22/01/2026 [06:55:00]
pdfxls
Solicitudes publicadas en los últimos 60 días/Published applications in the last 60 days
Resultados 1 a 25 de 103 nextPage  

INNOVATIVE PHOTOMOBILE POLYMER, METHOD FOR PREPARING SAID PHOTOMOBILE POLYMER WITHOUT RUBBING, 3D PRINTING METHOD OF SAID PHOTOMOBILE POLYMER AND 3D PRINTER TO IMPLEMENT SAID 3D PRINTING METHOD

NºPublicación:  EP4680692A1 21/01/2026
Solicitante: 
CONSIGLIO NAZIONALE RICERCHE [IT]
ENEA AGENZIA NAZ PER LE NUOVE TECNOLOGIE LENERGIA E LO SVILUPPO ECONOMICO SOSTENIBILE [IT]
Consiglio Nazionale Delle Ricerche,
ENEA - Agenzia nazionale per le nuove tecnologie, l'energia e lo sviluppo economico sostenibile
WO_2024189531_A1

Resumen de: WO2024189531A1

A process for the preparation of a doped photomobile polymer characterised by having no rubbing stage, as well as the photomobile polymer obtained by said process and a method of 3D-printing said photomobile polymer or comprising arranging a tank configured to contain a predetermined amount of a non-cross-linked resin of said photomobile polymer are described.

SEGUIDOR SOLAR CON ACTUADOR LINEAL

NºPublicación:  ES3053084A1 19/01/2026
Solicitante: 
TRINA SOLAR SPAIN S L U [ES]
TRINA SOLAR SPAIN, S.L.U

Elément photovoltaïque amovible

NºPublicación:  FR3164585A1 16/01/2026
Solicitante: 
SMARTWALL [FR]
SMARTWALL
FR_3164585_PA

Resumen de: FR3164585A1

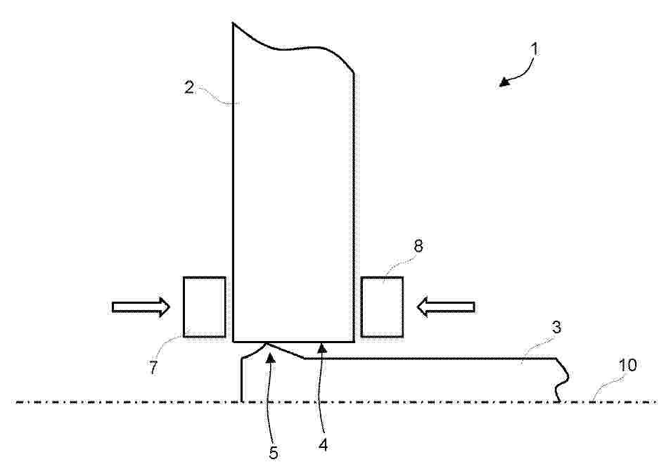
Elément photovoltaïque amovible L’invention a pour objet un procédé de fixation d’un élément photovoltaïque fixé sur une surface localement plane ou faiblement galbée caractérisé en ce qu’il est lié à cette surface par une couche d’un polysiloxane de type gel présentant une dureté inférieure à 120 shore A et une élongation à rupture supérieure à 180%. La fixation facilement amovible est apportée par un polysiloxane de type gel qui présente une faible viscosité qui est mise à profit pour étirer la couche de polysiloxane de type gel et le couper pour séparer le module photovoltaïque de la surface plane ou faiblement galbée. Selon deuxième mode de réalisation destiné aux surfaces en acier, le module photovoltaïque est préalablement additionné sur sa face arrière d’un matériau ayant des propriétés magnétiques qui forment une pluralité de dipôles magnétiques. Selon une variante du procédé, des bandes de type boucles et crochets sont utilisées pour augmenter l’adhésion du module photovoltaïque sur la surface. L’invention a également pour objet un élément photovoltaïque caractérisé en ce qu’il contient sur sa face arrière un polysiloxane de type gel présentant une dureté inférieure à 120 shore A et une élongation à rupture supérieure à 180% mesurée. Figure pour l’abrégé : Figure 5

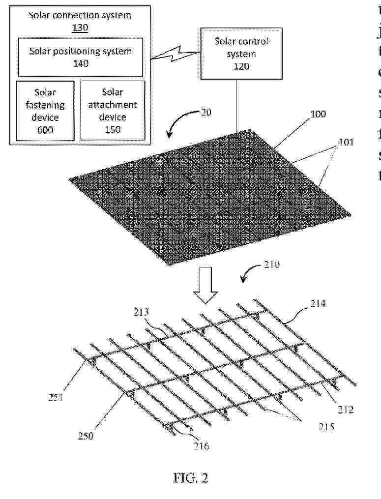
METHOD AND SYSTEMS FOR FASTENING SOLAR PANELS

NºPublicación:  WO2026015570A1 15/01/2026
Solicitante: 
WORLEY GROUP INC [US]
WORLEY GROUP INC
WO_2026015570_PA

Resumen de: WO2026015570A1

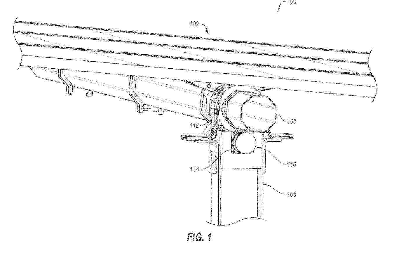
A method includes positioning a crossbeam so as to obliquely traverse a beam to form an attachment joint. The method includes positioning, using the solar positioning system, a solar attachment device at the attachment joint. The method includes attaching an attachment member of the crossbeam to the beam at the attachment joint to form a support frame. The method includes positioning a solar panel adjacent to the crossbeam such that a fastening side of the solar panel is touching a fastening flange of the crossbeam. The method includes positioning a solar fastening device adjacent to the fastening flange of the crossbeam such that the solar fastening device is opposite the solar panel. The method includes fastening the fastening side of the solar panel to the fastening flange using at least one fastener.

ROTATION LOCKING ASSEMBLIES FOR REDUCING TORSIONAL GALLOPING IN SOLAR TRACKING SYSTEMS

NºPublicación:  WO2026015451A1 15/01/2026
Solicitante: 
ARRAY TECH INC [US]
ARRAY TECH, INC
WO_2026015451_PA

Resumen de: WO2026015451A1

Embodiments of the present disclosure include a rotation locking assembly for addressing dynamic effects of photovoltaic (PV) modules in a solar installation. In some embodiments, the rotation locking assembly includes a rotational locking mechanism, where the rotational locking mechanism includes a shaft, a locking component rotationally connected to the shaft, and a static cog that may be configured to engage the locking component and stop rotation of the shaft. Additionally, the rotation locking assembly includes a means for transmitting rotation of a torque tube to rotation of the shaft, where the locking mechanism is configured to limit rotation of the torque tube in response to an angular velocity of the torque tube exceeding a threshold.

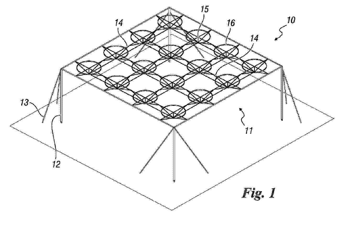
SOLAR POWER COLLECTION SYSTEM

NºPublicación:  WO2026013535A1 15/01/2026
Solicitante: 
ONE G S R L [IT]
ONE-G S.R.L
WO_2026013535_PA

Resumen de: WO2026013535A1

Solar power collection system (10) comprising: a support structure (11) formed of support poles (12) fixed to the ground; a network of tie rods (13) that maintain said support poles (12) in position; a plurality of solar power collection devices (16, 30); a solar movement system (25, 32) for moving said plurality of solar power collection devices (16, 30); said support structure (11) comprises linear structural elements (14) that connect said support poles (12); said plurality of solar power collection devices (16, 30) are movably fixed onto said linear structural elements (14); characterised in that said linear structural elements (14) intersect with each other to form intersections (15); said plurality of solar power collection devices (16, 30) are fixed onto said linear structural elements (14) at said intersections (15).

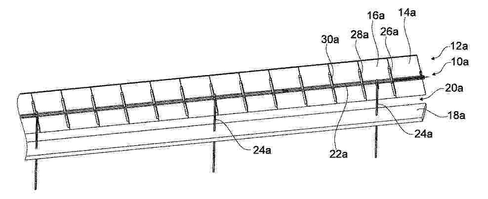
Solarmodulhaltevorrichtung

NºPublicación:  DE102024120170A1 15/01/2026
Solicitante: 
ZIMMERMANN ROBERT [DE]
Zimmermann, Robert
DE_102024120170_PA

Resumen de: DE102024120170A1

Die Erfindung geht aus von einer Solarmodulhaltevorrichtung zur Montage zumindest eines Solarmoduls (14a, 16a; 14a, 16b), mit einem Grundgestell (20a; 20b) zur Anbindung des zumindest einen Solarmoduls (14a, 16a; 14a, 16b) an einen Untergrund (18a; 18b), und mit einem Grundträger (26a, 28a; 26b, 28b), der zumindest zur teilweisen Anbindung des zumindest einen Solarmoduls (14a, 16a; 14a, 16b) an das Grundgestell (20a; 20b) vorgesehen ist, und der eine Auflagefläche (34a; 34b) für ein Solarmodul (14a, 16a; 14a, 16b) ausbildet, wobei der Grundträger (26a, 28a; 26b, 28b) als ein Profilrohr ausgebildet ist.Es wird vorgeschlagen, dass der Grundträger (26a, 28a; 26b, 28b) wenigstens eine Halteelementaufnahme (48a, 66a; 48b, 66b) aufweist, die zur positionsfesten Aufnahme eines Solarmodulhalteelements (50a; 50b, 78b, 80b) vorgesehen ist, das zur Halterung zumindest eines Solarmoduls (14a, 16a; 14a, 16b) über die Halteelementaufnahme (48a, 66a; 48b, 66b) fest mit dem Grundträger (26a, 28a; 26b, 28b) verbindbar ist.

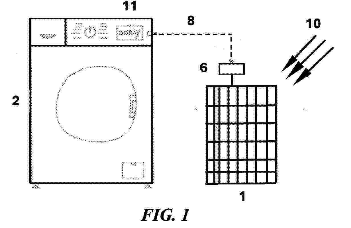
A HYBRID POWER SUPPLY SYSTEM FOR HOUSEHOLD APPLIANCES

NºPublicación:  WO2026013515A1 15/01/2026
Solicitante: 
R I E DI CASSANI DAVIDE FRANCO E C SNC [IT]
R.I.E DI CASSANI DAVIDE FRANCO E C. SNC
WO_2026013515_PA

Resumen de: WO2026013515A1

A hybrid power supply system for household appliances, wherein a household appliance (2) includes a first power supply from the mains by means of a connection (9) and a second auxiliary or alternative power supply provided locally and directly to the household appliance (2) by a power station (6) or a storage battery (3, 3a), wherein said auxiliary or alternative power supply is rechargeable by means of a portable solar panel (1), wherein said solar panel (1) is intended to convert the sun's rays (10) into electricity, wherein the hybrid power supply system includes an inverter (4) for converting the direct current supplied by the power station (6) or the storage battery (3, 3a) into alternating current usable by the household appliance (2) and an electronic board (5) for managing the power source and selecting between said second auxiliary or alternative power supply and said first power supply from the mains by means of the connection (9), wherein said second auxiliary or alternative power supply provided by the power station (6) or the storage battery (3, 3a) is provided locally and directly to the household appliance (2) and not to the mains.

VERTICAL SUPPORT BEARING HOUSING FOR SOLAR TRACKER

NºPublicación:  WO2026015362A1 15/01/2026
Solicitante: 
NEXTRACKER LLC [US]
NEXTRACKER LLC
WO_2026015362_PA

Resumen de: WO2026015362A1

A solar tracker bearing housing includes a first bearing leg, a second bearing leg, and a bridge. The first bearing leg includes a first bearing leg first end and a first bearing leg second end, with the first bearing leg first end including a first bracket. The second bearing leg includes a second bearing leg first end and a second bearing leg second end, with the second bearing leg first end including a second bracket. The bridge extends between the first bearing leg second end and the second bearing leg second end, with the bridge including a pin receiving aperture. The first bearing leg, the second bearing leg, and the bridge are a single integral component.

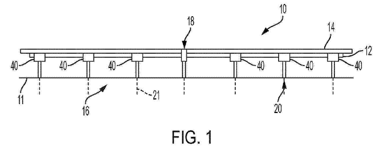
RETRACTABLE PHOTOVOLTAIC COVERING AND CARPORT

NºPublicación:  WO2026013588A1 15/01/2026
Solicitante: 
DIMENSIONE INGENIERIE S R L [IT]
DIMENSIONE INGENIERIE S.R.L
WO_2026013588_PA

Resumen de: WO2026013588A1

A retractable photovoltaic covering (10) for photovoltaic carports comprises a fixed frame (12) with linear guides (16), and at least two modular panels (18) having a perimeter frame (11) that surrounds at least a plate with photovoltaic cells (20) and provided with sliding engagement means (24) coupled with the linear guides (16) to move the modular panel (18) sliding along the linear guides (16). The modular panels reach a deployed configuration wherein they are not stacked and expose the photovoltaic cells (20), maximizing energy production, and a retracted configuration wherein they are stacked and the perimeter frame (11) of at least a first modular panel identifies, with the perimeter frame (11) of a second modular panel, immediately above or below, a gap (22) having a predetermined height to allow a support contact (19) and a mutual constraint by means of locking elements (28), between the two perimeter frames (11) due to a climatic load that stresses the first or second modular panel causing it to deflection towards the other, minimizing the exposed surface of the carport and at the same time adding to the resistant capacity of said frames.

COMPUTER-IMPLEMENTED METHOD AND ASSEMBLY FOR OPTIMIZING AN ENERGY SUPPLY FOR AT LEAST ONE BUILDING

NºPublicación:  WO2026013189A1 15/01/2026
Solicitante: 
SIEMENS AG [DE]
SIEMENS AKTIENGESELLSCHAFT
WO_2026013189_PA

Resumen de: WO2026013189A1

The invention relates to a computer-implemented method for optimizing an energy supply for at least one building by means of a data processing device, wherein a customer data set is received from a customer data storage device by means of a first interface, building data sets are received by means of at least one second interface, and a co-simulation is carried out on the basis of the customer data set and the building data sets while taking into account technical and economic parameters of the energy supply for the building. The customer data set and the building data sets are used as input parameters for the co-simulation, and the result of the co-simulation is at least one energy saving data set. The building data sets are determined by means of the data processing device on the basis of the customer data set in that an internet search is automatically carried out using a scraping tool and databases with publicly accessible information are accessed. The energy saving data set is transmitted to a control device associated with the building. The invention further relates to a corresponding assembly and to a computer program.

METHOD AND DEVICE FOR PRODUCING AN ELECTRICAL CONNECTION AND FOR PRODUCING A CONNECTION CABLE

NºPublicación:  WO2026012848A1 15/01/2026
Solicitante: 
LAPP ENG AG [CH]
LAPP ENGINEERING AG
WO_2026012848_PA

Resumen de: WO2026012848A1

A method and a device for producing an electrical connection between a solar panel and a converter or a further solar panel or between a converter and a grid feed point by means of a connecting cable provided by a mobile cable provision unit. The mobile cable provision unit comprises: a housing that can be laid, rolled or moved. The housing contains at least one cable supply which is accessible from the outside and/or inside. The cable supply comprises at least one cable. A cutting unit, a stripping unit and a crimping unit are contained in the housing so as to be accessible from the outside and/or inside. The crimping unit comprises a crimping supply. The crimp supply includes at least a plurality of first and second connectors. The housing contains at least one plug fabrication unit which is accessible from the outside and/or inside. The plug fabrication unit comprises a connector housing supply. The connector housing supply comprises at least a plurality of first and second connector housings.

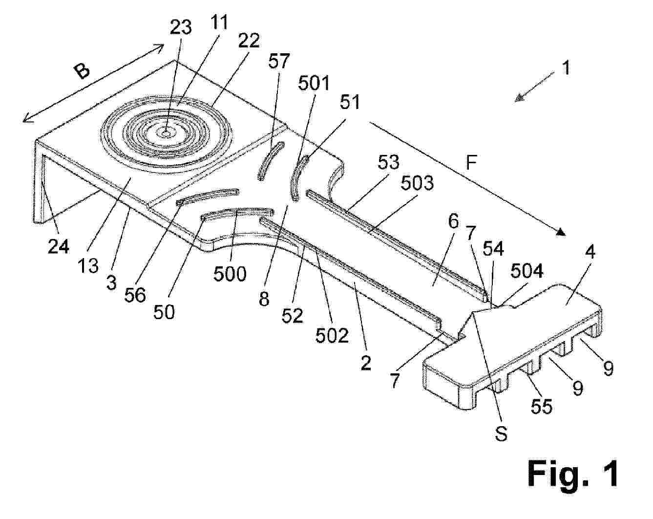
SPACER FOR ROOF PANELS

NºPublicación:  WO2026012594A1 15/01/2026
Solicitante: 
SWISSPEARL GROUP AG [CH]
SWISSPEARL GROUP AG
WO_2026012594_PA

Resumen de: WO2026012594A1

The invention relates to a spacer (1) for roof panels of roof coverings, in particular roof coverings with large-sized panels, wherein the spacer (1) has a support element (2), a lower bearing surface (3) for resting on a roof substructure (27), and an upper bearing surface (4) on which the underside of a roof panel can be mounted. The support element (2) has at least one water drainage element (50, 51, 52, 53, 54, 55, 56, 57), the at least one water drainage element (50, 51, 52, 53, 54, 55, 56, 57) being designed such that, in the installed position, potential condensed water can be discharged in a flow direction (F) by the at least one water drainage element (50, 51, 52, 53, 54, 55, 56, 57).

Sonnensensor, Fahrzeug mit dem Sonnensensor, Verfahren zum Betreiben des Fahrzeugs

NºPublicación:  DE102024119848A1 15/01/2026
Solicitante: 
PORSCHE AG [DE]
Dr. Ing. h.c. F. Porsche Aktiengesellschaft
DE_102024119848_PA

Resumen de: DE102024119848A1

Sonnensensor für ein Fahrzeug (100), Fahrzeug mit dem Sonnensensor, Verfahren zum Betreiben des Fahrzeugs, wobei der Sonnensensor mehrere Modulzellen eines Photovoltaik-Moduls (101) einer Photovoltaik-Anlage für das Fahrzeug (100) umfasst, wobei der Sonnensensor ausgebildet ist, einen Sensorwert, insbesondere eine Strahlungsleistung, eine Spannung, und/oder einen Strom zu erfassen und/oder auszugeben, wobei der Sensorwert eine Sonneneinstrahlung in eine Modulzelle oder eine Sonneneinstrahlung in mehrere Modulzellen charakterisiert.

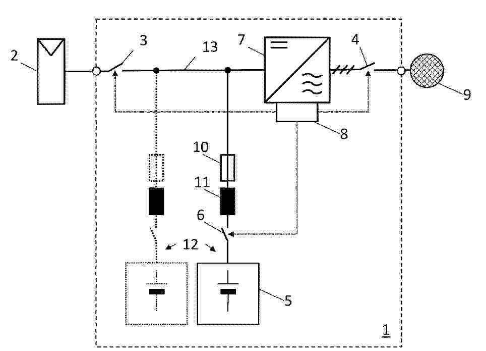
Energieerzeugungsanlage und Betriebsverfahren

NºPublicación:  DE102024119408A1 15/01/2026
Solicitante: 
SMA SOLAR TECHNOLOGY AG [DE]
SMA Solar Technology AG
DE_102024119408_PA

Resumen de: DE102024119408A1

In einem Betriebsverfahren für eine Energieerzeugungsanlage (1), die eingangsseitig über einen taktbaren Schalter (3) der Energieerzeugungsanlage (1) mit einem Solargenerator (2) verbunden ist, wobei die Energieerzeugungsanlage (1) ausgangsseitig über einen Netztrennschalter (4) mit einem Netz (9) verbunden ist, wobei ein Wechselrichter (7) der Energieerzeugungsanlage (1) den über einen DC-Bus (13) zugeführten Strom des Solargenerators (2) zur Einspeisung in das Netz (9) umwandelt, und wobei ein Supercap-Speicher (5) über eine Sicherung (10) mit einem Auslösestrom, der geringer als der Kurzschlussstroms des Solargenerators (2) ist, und einen Trennschalter (6) an dem DC-Bus (13) angeschlossen ist, wird zunächst bei offenem Netztrennschalter (4) und offenem taktbaren Schalter (3) der Trennschalters (6) geschlossen, dann der taktbare Schalters (3) mit einem Taktmuster, das ein Auslösen der Sicherung (10) ausschließt, solange getaktet, bis ein Ausgleich zwischen einer Spannung des DC-Bus (13) und einer Spannung des Supercap-Speichers (5) stattgefunden hat, und danach geschlossen. Dann kann der Netztrennschalter (6) geschlossen und ein durch den Wechselrichter (7) gewandelter Strom des Solargenerators (2) in das Netz (9) eingespeist werden. Weiterhin wird eine entsprechende Energieerzeugungsanlage (1) beschrieben.

Vertikal-Photovoltaik-System für Windräder

NºPublicación:  DE102024002299A1 15/01/2026
Solicitante: 
RAEBSCH HELMUTH [DE]
Raebsch, Helmuth
DE_102024002299_A1

Resumen de: DE102024002299A1

Ausrüstung von Windkraftanlagen mit einem Vertikal-Photovoltaik-System am Trägerkorpus mit partielloptimierender Ausrichtung.

Baugruppe mit einem Planetenträger und einer Sonnenradwelle, Verfahren zur Herstellung der Baugruppe und Solar-Tracker

NºPublicación:  DE102025102367A1 15/01/2026
Solicitante: 
SCHAEFFLER TECHNOLOGIES AG [DE]
Schaeffler Technologies AG & Co. KG
DE_102025102367_PA

Resumen de: DE102025102367A1

Die Erfindung betrifft eine Baugruppe (1) für ein Planetengetriebe (13) aufweisend einen Planetenträger (2) mit einer unrunden Zentralöffnung (4) und eine koaxial dazu angeordnete Sonnenradwelle (3), die mit einem Außenumfang in der unrunden Zentralöffnung (4) zur Anlage kommt, wobei die Sonnenradwelle (3) mindestens eine Erhebung (5) und/oder Vertiefung (6) in einem axialen Überlappungsbereich mit der unrunden Zentralöffnung (4) aufweist, wobei der Planetenträger (2) und die Sonnenradwelle (3) durch axiales Eindrücken mindestens eines Werkzeugs (7, 8) in mindestens eine Stirnfläche des Planetenträgers (2) verstemmt und axialfest miteinander verbunden sind. Ferner betrifft die Erfindung eine Baugruppe (1) für ein Planetengetriebe aufweisend einen Planetenträger (2) mit einer unrunden Zentralöffnung (4) und eine koaxial dazu angeordnete Sonnenradwelle (3), die mit einem Außenumfang in der unrunden Zentralöffnung (4) zur Anlage kommt, wobei der Planetenträger (2) mindestens eine Erhebung (5) und/oder Vertiefung (6) in einem axialen Überlappungsbereich der unrunden Zentralöffnung (4) mit der Sonnenradwelle (3) aufweist, wobei der Planetenträger (2) und die Sonnenradwelle (3) durch axiales Eindrücken mindestens eines Werkzeugs (7) in eine Stirnfläche der Sonnenradwelle (3) verstemmt und axialfest miteinander verbunden sind.

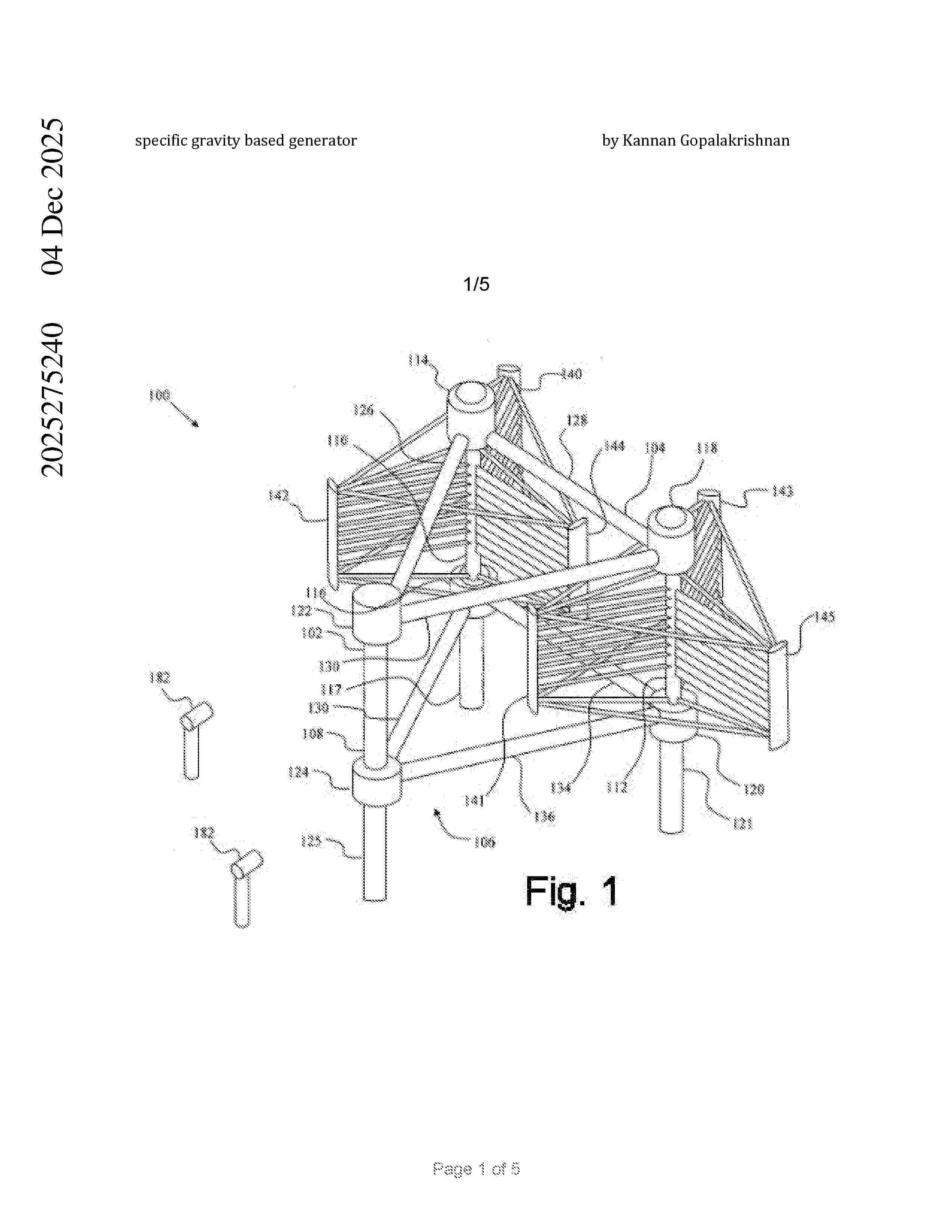
SPECIFIC GRAVITY BASED GENERATOR

NºPublicación:  AU2025275240A1 15/01/2026
Solicitante: 
GOPALAKRISHNAN KANNAN
Gopalakrishnan, Kannan
AU_2025275240_A1

Resumen de: AU2025275240A1

Abstract This invention discloses a prime mover, preferably an electro-mechanical device (Fig. 2) with an end goal for generating electricity, which can operate even when the sun light based solar energy is not available. It comprises a wheel structure imparted with multiple arms (22) and arm loads (24) along with the feeder box 5 (38) to cycle through the side tank (30). The feeder box regulates the arm movement within the feeder box (38) using the treaded guides (45). Due to the buoyant and gravitational forces the unbalanced arm loads (24) cause the imbalance in the wheel structure and rotate the entire wheel structure along the guided track. This prime mover can be used primarily for generating electricity by 10 connecting it to an electrical generator (60). Abstract ec b s t r a c t e c

Back Contact Cell Module and System

NºPublicación:  AU2025217288A1 15/01/2026
Solicitante: 
CHUZHOU AIKO SOLAR TECHNOLOGY CO LTD
ZHUHAI FUSHAN AIKO SOLAR TECHNOLOGY CO LTD
SHENZHEN AIKO DIGITAL ENERGY ENGINEERING CO LTD
TIANJIN AIKO SOLAR TECHNOLOGY CO LTD
GUANGDONG AIKO SOLAR TECHNOLOGY CO LTD
ZHEJIANG AIKO SOLAR TECHNOLOGY CO LTD
SHANDONG AIKO SOLAR TECHNOLOGY CO LTD
CHUZHOU AIKO SOLAR TECHNOLOGY CO., LTD,
ZHUHAI FUSHAN AIKO SOLAR TECHNOLOGY CO., LTD,
SHENZHEN AIKO DIGITAL ENERGY ENGINEERING CO., LTD,
TIANJIN AIKO SOLAR TECHNOLOGY CO., LTD,
GUANGDONG AIKO SOLAR TECHNOLOGY CO., LTD,
ZHEJIANG AIKO SOLAR TECHNOLOGY CO., LTD,
SHANDONG AIKO SOLAR TECHNOLOGY CO., LTD
AU_2025217288_A1

Resumen de: AU2025217288A1

The present disclosure relates to the technical field of solar cells. Disclosed are a back contact cell assembly and a system. The assembly comprises a cell string, an insulating strip, and a bus bar. The cell string comprises a first cell and a second cell that are adjacent to each other, the insulating strip is arranged on a non-light receiving surface of the first cell, second solder strips respectively connect the second cell and the bus bar, and the insulating strip isolates the second solder strips from the first cell.

POWER TRADING DEVICE AND METHOD

NºPublicación:  AU2025254484A1 15/01/2026
Solicitante: 
LG ENERGY SOLUTION LTD
LG ENERGY SOLUTION, LTD
AU_2025254484_PA

Resumen de: AU2025254484A1

A power trading device according to one embodiment of the present invention may comprise: at least one processor; and memory for storing at least one command that is executed through the at least one processor. The at least one command may include: a command to collect information about electric vehicle (EV) charging stations that can perform charging using photovoltaic (PV) power and driving information about an EV; a command to generate information about recommended EV charging stations, including location information about one or more EV charging stations, using the information about the EV charging stations and the driving information about the EV; a command to transmit the information about the recommended EV charging stations to a management device of the EV and determine whether to carry out a power transaction on the basis of reply information received from the management device of the EV; and a command to provide route information to the management device of the EV when the power transaction is carried out, the route information including the location of the EV charging station with which the power transaction has been carried out.

POWER GENERATOR

NºPublicación:  AU2024384975A1 15/01/2026
Solicitante: 
MOUNTAIN N MEADOW HOLDINGS INC
MOUNTAIN N MEADOW HOLDINGS, INC
AU_2024384975_PA

Resumen de: AU2024384975A1

The present invention combines at least one power pod having at least one Permanent Magnet Power Generator in combination with the wind, water turbines/generators and solar panels into a self-sustaining package to provide enhanced power output with little impact on the environment. In alternative embodiments, a single electric motor having an internal dynamo powered by permanent magnets, whereby operation of the motor causes the dynamo to produce power. Alternatively, the pod may include a motor having an internal alternator having rotating field coils which are rotated as the motor rotates. In addition, a small direct current dynamo may be operated by rotation of the motor to supply the DC current to the rotating field coils. This construction allows the rotating motor to produce output energy in addition to providing the rotational horsepower to rotate a gen-set or the like.

MICRO INVERTER AND POWER SUPPLY METHOD

NºPublicación:  AU2023452177A1 15/01/2026
Solicitante: 
SUNGROW POWER SUPPLY CO LTD
SUNGROW POWER SUPPLY CO., LTD
AU_2023452177_PA

Resumen de: AU2023452177A1

The present invention provides a micro inverter and a power supply method. The micro inverter comprises a primary-side power module, a power transformer, a secondary-side power module, a first auxiliary power source and a second auxiliary power source, wherein the first auxiliary power source performs voltage reduction processing on an output voltage of a direct-current source to obtain an output voltage of the first auxiliary power source; the output voltage of the first auxiliary power source is used to supply power to a load of the primary-side power module; after receiving a voltage that is output after being processed by the primary-side power module and the power transformer, the second auxiliary power source performs voltage reduction processing on the basis of the voltage to obtain an output voltage of the second auxiliary power source; and the output voltage of the second auxiliary power source is used to supply power to a load of the secondary-side power module. In the present invention, without the need to additionally provide an isolation power source, a first auxiliary power source and a second auxiliary power source are used to perform voltage reduction processing on a voltage, such that the signal fluctuation of the voltage is reduced, and power is then supplied to loads of a primary-side power module and a secondary-side power module, thereby reducing the manufacturing cost of a micro inverter.

SOLAR TABLE MOBILE TRANSPORT WITH SIDESHIFT

NºPublicación:  AU2024309665A1 15/01/2026
Solicitante: 
TERABASE ENERGY INC
TERABASE ENERGY, INC
AU_2024309665_PA

Resumen de: AU2024309665A1

A solar table mobile transport with sideshift capability is described that moves a solar table to a point of installation. The solar table mobile transport comprises multiple motors that allow movement within a three-dimensional coordinate system as well as provide angular controls of pitch, yaw and roll. Extended horizontal movement of the solar table is provided by a sideshift element that extends the solar table beyond an edge of a transport component of the solar table mobile transport.

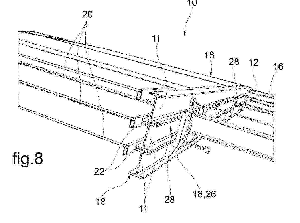
MOUNTING RAILS

NºPublicación:  AU2024297057A1 15/01/2026
Solicitante: 
ARRAY TECH INC
ARRAY TECH, INC
AU_2024297057_PA

Resumen de: AU2024297057A1

A mounting rail (114) configured to connect to a photovoltaic (PV) module may include an upper portion (132), a first alignment member (128a), and a second alignment member (128b). The upper portion may include a surface configured to physically engage with a bottom surface (352) of a module rail (120) associated with the PV module. The first alignment member (128a) may extend from the surface of the upper portion (132) at a first location. The first alignment member may also be configured to physically engage with a side surface of the module rail. The second alignment member (128b) may extend from the surface of the upper portion (132) at a second location. The second alignment member may also be configured to physically engage with the side surface of the module rail.

MODULAR RENEWABLE ENERGY GENERATION SYSTEM

Nº publicación: AU2024281457A1 15/01/2026

Solicitante:

PHNXX PTY LTD
PHNXX PTY LTD

AU_2024281457_PA

Resumen de: AU2024281457A1

Some embodiments relate to a modular solar power generation system. An example system includes: a transportable storage frame defining a base, a roof, opposite side walls, an interior space having an openable front portion and a back portion; a first rail and a second rail coupled to the storage frame and extending from the front portion; an electrical energy management subsystem housed in the storage frame; a plurality of solar panels frames, wherein the solar panel frames are configured to extend from the storage frame in a concertina-like configuration along the first and second rails; a plurality of solar panels coupled to each of the plurality of solar panel frames, wherein the solar panels are configured to generate energy to be stored in an energy storage system; electrical cabling for electrically coupling an electrical output from the plurality of solar panels to the electrical energy management subsystem; and a panel angle adjustment mechanism coupled to the solar panel frames for adjustment of a panel angle of the solar panel frames.

traducir