Ministerio de Industria, Turismo y Comercio LogoMinisterior
 

Alerta

Resultados 95 resultados
LastUpdate Última actualización 03/04/2026 [07:22:00]
pdfxls
Solicitudes publicadas en los últimos 60 días (excluida automoción) / Applications published in the last 60 days (Automotion publications excluded)
Resultados 1 a 95  

Conductive Material Dispersion, and Electrode and Lithium Secondary Battery Manufactured Using the Same

NºPublicación:  US20260094837A1 02/04/2026
Solicitante: 
LG ENERGY SOLUTION LTD [KR]
LG Energy Solution, Ltd
US_20260094837_A1

Resumen de: US20260094837A1

A conductive material dispersion includes a carbon-based conductive material, a main dispersant, an auxiliary dispersant, and a dispersion medium, wherein the main dispersant is a nitrile-based copolymer and the auxiliary dispersant is a copolymer including an oxyalkylene unit and at least one selected from the group consisting of a styrene unit and an alkylene unit.

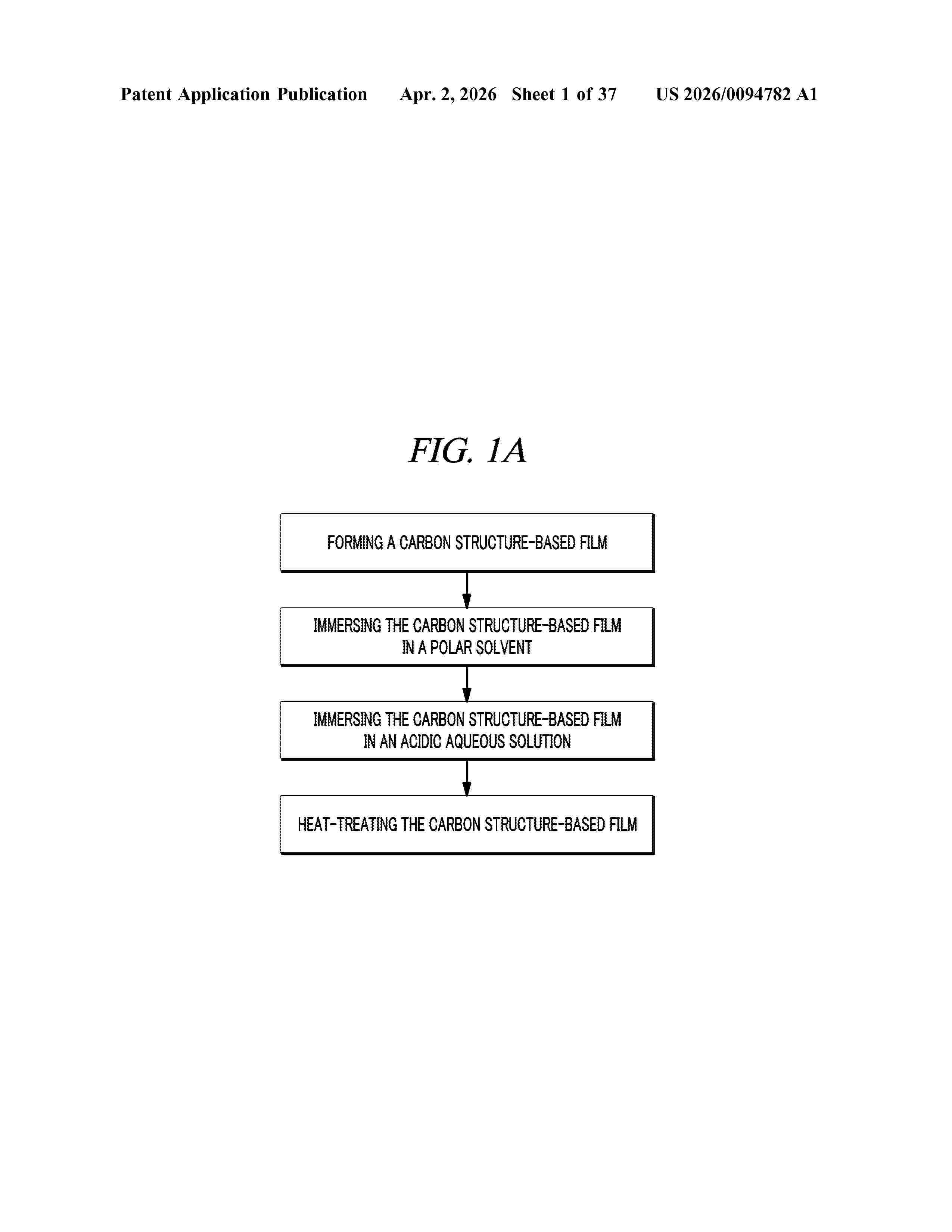
ELECTRON EMISSION SOURCE INCLUDING HIGH-DENSITY CARBON STRUCTURE-BASED FILM, METHOD FOR MANUFACTURING THE SAME, AND X-RAY TUBE USING THE SAME

NºPublicación:  US20260094782A1 02/04/2026
Solicitante: 
LMX CO LTD [KR]
LMX CO., LTD
US_20260094782_A1

Resumen de: US20260094782A1

The present application relates to a method for manufacturing a densified carbon structure-based film, the method comprising: a step for providing a carbon structure-based film; and a carbon structure-based film densification step for obtaining a densified carbon structure-based film by immersing the carbon structure-based film in a polar solvent and then in an acidic aqueous solution, or obtaining a densified carbon structure-based film by immersing the carbon structure-based film in an acidic aqueous solution and then in a polar solvent.

Quantum-Grade Nanodiamonds and Related Methods

NºPublicación:  US20260091979A1 02/04/2026
Solicitante: 
THE GOVERNMENT OF THE US SECRETARY OF THE NAVY [US]
The Government of the United States of America, as represented by the Secretary of the Navy
US_20260091979_A1

Resumen de: US20260091979A1

According to some embodiments of the present disclosure, a method of forming quantum-grade nanodiamonds (Q-NDs) is provided. In particular, a plasma volume is provided in a reaction chamber of a plasma reactor, and molecular seeds are provided in the plasma volume. A carbon precursor is provided in the plasma volume to grow diamond around each of the molecular seeds in the plasma volume to provide nanodiamonds (NDs). Ones of the nanodiamonds (NDs) are passed out of the plasma volume based on the respective ones of the nanodiamonds reaching a size greater than a threshold size. The respective ones of the nanodiamonds reaching the size greater than the threshold size are collected. Related nanodiamonds are also discussed.

CONDUCTIVE MATERIAL DISPERSION LIQUID, ELECTRODE SLURRY INCLUDING THE SAME, AND LITHIUM SECONDARY BATTERY INCLUDING THE SAME

NºPublicación:  EP4718541A1 01/04/2026
Solicitante: 
SK INNOVATION CO LTD [KR]
SK Innovation Co., Ltd
EP_4718541_PA

Resumen de: EP4718541A1

A conductive material dispersion liquid according to embodiments of the present disclosure includes a conductive material including carbon nanotubes; a first dispersant including a cellulose polymer; and a second dispersant including a polyethylene oxide polymer. The dispersibility of a conductive material dispersion liquid including both the first dispersant and the second dispersant may be improved, and resistance characteristics of a secondary battery may be improved.

正极材料及其制备方法、电池单体、电池装置、用电装置

NºPublicación:  CN121769183A 31/03/2026
Solicitante: 
江苏时代新能源科技有限公司江苏力泰锂能科技有限公司
CN_121769183_PA

Resumen de: CN121769183A

本申请公开了一种正极材料及其制备方法、电池单体、电池装置、用电装置。电池单体包括正极极片,正极极片包括正极集流体和位于正极集流体至少一侧的正极膜层,正极膜层包括正极材料,正极材料包括:内核,包括化学式为LiFe1‑x‑yMnxMyPO4的正极活性材料,其中,0<x<1,0≤y<1,0<1‑x‑y<1,M选自ⅡA族元素、ⅢA族元素、ⅣA族元素、过渡金属元素中的一种或多种;包覆材料,覆盖内核的至少部分表面,包覆材料包括固态电解质;其中,包覆材料在内核表面形成包覆层,包覆层的包覆均匀性采用厚度值变异系数表征,包覆层的厚度值变异系数小于等于50%。本申请实施例提供的电池单体具有改善的循环性能和高温存储性能。

一种姜黄素-碳量子点复合纳米材料及其制备方法和应用

NºPublicación:  CN121754670A 31/03/2026
Solicitante: 
浙江大学宁波国际科创中心
CN_121754670_PA

Resumen de: CN121754670A

本发明属于姜黄素技术领域,具体涉及一种姜黄素‑碳量子点复合纳米材料及其制备方法和应用。本发明将碳量子点的水分散液和姜黄素的乙醇溶液混合,进行负载,得到姜黄素‑碳量子点复合纳米材料。本发明制备的姜黄素‑碳量子点复合纳米材料具有优异的水溶性、分散性、稳定性、生物利用度和抗菌性。

碳量子点光敏剂、由其制备得到的细胞外囊泡及应用

NºPublicación:  CN121757847A 31/03/2026
Solicitante: 
中国科学院理化技术研究所
CN_121757847_PA

Resumen de: CN121757847A

本发明公开一种碳量子点光敏剂、由其制备得到的细胞外囊泡及应用。所述碳量子点光敏剂由包含如下步骤的方法制备得到:将聚噻吩衍生物均匀分散于氢氧化钠水溶液中,得溶液A;加热所述溶液A,进行反应;待反应结束,降温至室温,取出溶液,经过滤、透析后,得到所述碳量子点光敏剂。本发明的技术方案解决了细胞外囊泡制备复杂繁琐、大量生产困难的问题,且该方法工艺简单,普适性好,耗时少,成本低。

一种聚乳酸碳点及其基于PLA/PVA的全生物降解聚酯复合材料和保鲜膜

NºPublicación:  CN121757848A 31/03/2026
Solicitante: 
辽宁领冠新材料科技有限公司
CN_121757848_PA

Resumen de: CN121757848A

本发明涉及聚乳酸碳点及其一种基于PLA/PVA的全生物降解聚酯复合材料和保鲜膜。利用微波辐照法制备聚乳酸碳点,全生物降解聚酯复合材料以PLA为主要基材,PVA为辅助树脂,食品级滑石粉为填料,聚乳酸碳点为相容剂,甘油、硬脂酸为润滑剂,B215为抗氧剂。高速混合搅拌后得到改性混合料,将改性混合料挤出切粒得到全生物降解聚酯复合材料,聚酯复合材料经吹膜得到全生物降解保鲜膜。本发明所制备的聚酯复合材料可在腐熟堆肥条件下生物降解(试验周期140 d),生物降解率为91.79%,相对生物降解率为97.15%,产物为二氧化碳和水,总迁移量、重金属等检验项目符合标准要求。

一种还原氧化石墨烯膜及其制备方法与应用

NºPublicación:  CN121757853A 31/03/2026
Solicitante: 
华东理工大学
CN_121757853_PA

Resumen de: CN121757853A

本发明提供一种还原氧化石墨烯膜及其制备方法与应用,该还原氧化石墨烯膜的X射线衍射图谱在使用Cu Kα射线作为辐射源的测试条件下,在2θ为12.32°±0.2°和23.28°±0.2°处分别具有特征峰,且其拉曼光谱的ID/IG为0.97~0.99:本发明提供的还原氧化石墨烯膜具有独特且稳定的双层间距结构和高密度结构缺陷,能够对金离子产生强相互作用,在黄金回收中表现出优异的提取能力。

铜铁类普鲁士蓝/氧化石墨烯复合电催化阴极及其制备方法

NºPublicación:  CN121757884A 31/03/2026
Solicitante: 
南京理工大学
CN_121757884_PA

Resumen de: CN121757884A

本发明公开了一种铜铁类普鲁士蓝/氧化石墨烯复合电催化阴极及其制备方法。所述方法采用一步共沉淀法,将氯化铜、单层氧化石墨烯粉末、柠檬酸、柠檬酸钠溶于水中,水浴加热并保温反应后形成铜源前驱体溶液,再将铜源前驱体溶液和铁氰化钾溶液混合,保温陈化后取沉淀物离心洗涤,干燥研磨后得到催化剂粉末,最后将粉末和PVDF混合溶于NMP并涂覆在亲水碳布上,制得铜铁类普鲁士蓝/氧化石墨烯复合电催化阴极。本发明的制备工艺简单,可大批量生产,制备的复合电催化阴极兼具高效的过氧化氢生产能力和原位芬顿催化能力,可有效产生活性氧物种进行有机污染物降解,大大提升了普鲁士蓝类似物材料在水处理领域的应用潜力。

一种负载Mn单原子的硬碳纳米片及其制备方法和应用

NºPublicación:  CN121769082A 31/03/2026
Solicitante: 
中国科学院福建物质结构研究所
CN_121769082_PA

Resumen de: CN121769082A

本申请公开了一种负载Mn单原子的硬碳纳米片及其制备方法和应用,属于钠离子电池材料技术领域。包括如下步骤:S1、将含有锰源和锌源的水溶液与含有2‑甲基咪唑的水溶液混合,反应,得到前驱体;S2、将含有步骤S1中的前驱体、聚丙烯腈、氯化钾、氯化钠的混合物,研磨,得到中间产物粉末;S3、在非活性气氛中,将步骤S2的中间产物粉末煅烧,得到所述负载Mn单原子的硬碳纳米片。本申的制备方法使用了绿色易回收的熔融盐,具有环境友好型,而且通过将Mn单原子均匀嵌入硬碳基体中,充分利用了Mn元素丰富的氧化态和出色的电化学活性,制备出的硬碳材料表现出较高的比容量、优良的导电性以及卓越的循环稳定性,展现出广阔的应用前景。

PROCÉDÉ DE FABRICATION D'UNE PIÈCE PRÉSENTANT UNE SURFACE NOIR PROFOND

NºPublicación:  CH722149A2 31/03/2026
Solicitante: 
THE SWATCH GROUP RES AND DEVELOPMENT LTD [CH]
The Swatch Group Research and Development Ltd
CH_722149_PA

Resumen de: CH722149A2

Un aspect de l'invention concerne un procédé de fabrication d'une structure noire d'un matériau (10) comprenant au moins deux phases dont au moins une phase cristalline (1), et au moins une autre phase, dite matrice (2), le procédé étant caractérisé ce qu'il comprend les étapes suivantes faire croître le matériau selon une direction principale (Z) de manière que l'au moins une phase cristalline forme plusieurs tiges alignées entre elles et que la matrice s'étende entre les tiges, éliminer au moins en partie la matrice située entre les tiges de l'au moins une phase cristalline de manière à former une structure de matériau du type peigne présentant des tiges et des cavités de piège de lumière entre lesdites tiges

生物炭材料及其制备方法和应用

NºPublicación:  CN121769085A 31/03/2026
Solicitante: 
南宁桂电电子科技研究院有限公司桂林电子科技大学
CN_121769085_PA

Resumen de: CN121769085A

本发明涉及电池材料技术领域,公开了一种生物炭材料及其制备方法和应用。所述生物炭材料包括硬炭微球和包裹在所述硬炭微球外侧的软炭层,所述软炭层的厚度和所述硬炭微球的半径的比值为1:250‑930,所述生物炭材料的比表面积≤5.5m2/g、中值粒径D50为3.5‑9μm、层间距d002为0.37‑0.39nm、偏心率小于0.3。该生物炭材料应用于电池时具有较高的倍率性能和循环性能。

一种二水磷酸铁及磷酸铁锂的制备方法和应用

NºPublicación:  CN121757826A 31/03/2026
Solicitante: 
广东邦普循环科技有限公司湖南邦普循环科技有限公司宜昌邦普循环科技有限公司
CN_121757826_PA

Resumen de: CN121757826A

本发明提出了一种二水磷酸铁及磷酸铁锂的制备方法和应用,所述二水磷酸铁的制备方法包括:(a)将磷源溶液与第一铁源混合,在加热条件下加入氧化剂进行反应,形成初级晶核分散液;(b)向所述初级晶核分散液同时加入第二铁源与磷酸溶液进行反应,对所得浆料陈化后得到二水磷酸铁;其中,所述第一铁源包括硫酸亚铁溶液,所述第二铁源包括氯化铁溶液;步骤(b)中的所述浆料中Cl‑的浓度为0.2~0.4mol/L,pH为0.25~1.0。以该方法制备得到的二水磷酸铁作为制备磷酸铁锂的前驱体,取消其高温脱水步骤,并结合优化混合与烧结工艺,可实现短流程、低成本制备高性能高压实磷酸铁锂。

正极活性材料及其制备方法、正极极片、电池、用电设备

NºPublicación:  CN121769065A 31/03/2026
Solicitante: 
北京当升材料科技股份有限公司
CN_121769065_PA

Resumen de: CN121769065A

本申请提出了正极活性材料及其制备方法、正极极片、电池、用电设备,正极活性材料包括:LiiMnxFe1‑xMyPjO4/C,其中,0.1

磷酸焦磷酸铁钠正极材料及其制备方法、正极和钠离子电池

NºPublicación:  CN121735232A 27/03/2026
Solicitante: 
苏州清陶新能源科技有限公司
CN_121735232_PA

Resumen de: CN121735232A

本发明涉及一种磷酸焦磷酸铁钠正极材料及其制备方法、正极和钠离子电池。磷酸焦磷酸铁钠正极材料的制备方法包括以下步骤:基于Na4Fe3(PO4)2P2O7的化学计量比,将铁源、钠源和磷源分散于水中,并加入碳源,形成固液混合浆料;对固液混合浆料进行砂磨处理,同时在砂磨过程中逐渐加入刻蚀剂溶液,得到悬浮浆料,刻蚀剂溶液包括柠檬酸溶液、草酸溶液、抗坏血酸溶液和苹果酸溶液中的至少一种;将悬浮浆料进行喷雾干燥,得到前驱体粉末;在惰性气氛下对前驱体粉末进行烧结处理,得到磷酸焦磷酸铁钠正极材料。本发明的磷酸焦磷酸铁钠正极材料的制备方法,通过在砂磨过程中动态、逐渐地加入弱酸刻蚀剂,有效减少杂相的产生。

一种高纯碳纳米管的制备方法与装置

NºPublicación:  CN121735249A 27/03/2026
Solicitante: 
甬江实验室
CN_121735249_PA

Resumen de: CN121735249A

本发明提供一种高纯碳纳米管的制备方法与装置。利用流化床技术制备碳纳米管,将生长段得到的长碳的催化剂在脱气阶段通入惰性气体与氢气进行脱气还原,能够提高在纯化段对催化剂表面碳杂质的去除率,从而能够提高碳纳米管纯度。本发明的装置结构简单,在生长段、脱气段与纯化段均采用流化床技术,能够通过控制温度、气速等工艺条件调控催化剂在流化床反应器中的流化状态,并且可实现碳纳米管的连续化制备,降低了生产成本。

一种5-甲基山奈酚碳量子点制备方法及其应用

NºPublicación:  CN121736746A 27/03/2026
Solicitante: 
福建医科大学
CN_121736746_PA

Resumen de: CN121736746A

本发明提供一种5‑甲基山奈酚碳量子点的制备方法,该方法具有采用绿色合成工艺,安全性高,生物相容性良好的优势;本发明制备的5‑甲基山奈酚的碳量子点作为高效ROS清除剂的作用,其抗氧化和抗炎效果显著,可显著降低肺上皮细胞氧化损伤,并能有效促进急性肺损伤的的肺损伤修复;并且本发明所制备出来的5‑甲基山奈酚的碳量子点相对于普通山奈酚具有更高的抗炎活性且具有更好的胞内递送效率,对急性肺损伤的修复效果更好。

一种离子液体-水混合基石墨烯纳米流体及其制备方法

NºPublicación:  CN121736831A 27/03/2026
Solicitante: 
昆明理工大学
CN_121736831_PA

Resumen de: CN121736831A

本发明涉及纳米功能流体材料技术领域,具体涉及一种离子液体‑水混合基石墨烯纳米流体及其制备方法,所述纳米流体包括由离子液体EMIMBF4与去离子水按质量比1:9至4:6构成的混合基液、质量分数0.01‑0.5%的1‑3层石墨烯纳米粒子以及PVP和/或阿拉伯树胶分散剂。其制备方法包括:将基液混合搅拌;加入石墨烯与分散剂进行第一搅拌;再进行第二搅拌与探头式脉冲超声处理。所得纳米流体通过离子液体与石墨烯的协同作用,在宽温域内表现出显著提升的导热系数与卓越的减摩抗磨性能,且分散稳定性好,能有效解决超精密切削中的热管理与界面磨损问题。

一种鼠尾草酸碳量子点制备方法及其应用

NºPublicación:  CN121736745A 27/03/2026
Solicitante: 
福建医科大学
CN_121736745_PA

Resumen de: CN121736745A

本发明提供一种鼠尾草酸碳量子点的制备方法,该方法具有采用绿色合成工艺,安全性高,生物相容性良好的优势;本发明制备的鼠尾草酸碳量子点的碳量子点作为高效ROS清除剂的作用,其抗氧化和抗炎效果显著,可显著降低肺上皮细胞氧化损伤,并能有效促进急性肺损伤的的肺损伤修复;并且本发明所制备出来的鼠尾草酸碳量子点的碳量子点相对于鼠尾草酸具有更高的抗炎活性且具有更好的胞内递送效率,对急性肺损伤的修复效果更好。

一种新型生物质碳点的制备方法及应用

NºPublicación:  CN121735246A 27/03/2026
Solicitante: 
河北科技师范学院邯郸学院
CN_121735246_PA

Resumen de: CN121735246A

本发明公开了一种新型生物质碳点的制备方法及应用。前述制备方法包括以下步骤:S1取苹果树枝粉末加入水中,混合均匀得到混合液。S2将经S1得到的混合液置于微波炉中进行微波处理,得到反应物。S3取出反应物,待其冷却至室温后,加水进行离心过滤处理。S4收集经S3处理得到的上清液,对上清液进行纯化。S5对经S4得到的纯化产物进行干燥,得到生物质碳点,制得的生物质碳点放置于恒温4℃环境中储存备用。本发明以苹果树枝作为前驱体,采用微波法合成生物质碳点,生物相容性好、毒性低、可实现Cr6+及核黄素的高选择性和高灵敏度检测,且合成过程经济环保、快速简便,为环境友好型检测技术提供了新方案。

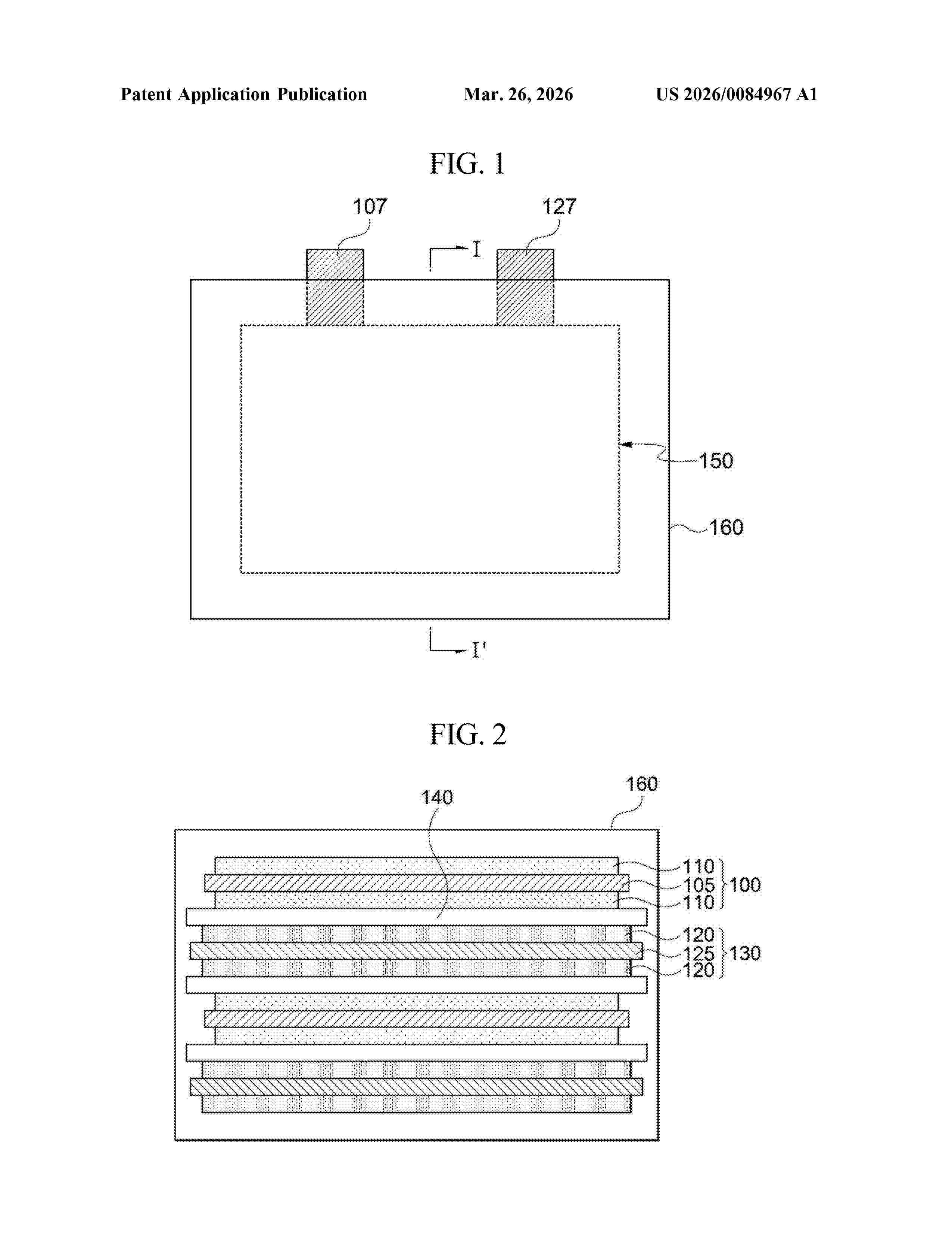
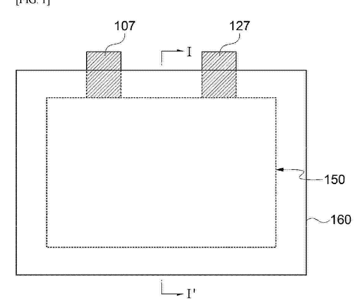
导电材料分散液、包含该导电材料分散液的电极浆料及包含该电极浆料的锂二次电池

NºPublicación:  CN121748037A 27/03/2026
Solicitante: 
SK\u65B0\u6280\u672F\u682A\u5F0F\u4F1A\u793E
CN_121748037_PA

Resumen de: US20260084967A1

A conductive material dispersion liquid according to embodiments of the present disclosure includes a conductive material including carbon nanotubes; a first dispersant including a cellulose polymer, and a second dispersant including a polyethylene oxide polymer. The dispersibility of a conductive material dispersion liquid including both the first dispersant and the second dispersant may be improved, and resistance characteristics of a secondary battery may be improved.

CONDUCTIVE MATERIAL DISPERSION LIQUID, ELECTRODE SLURRY INCLUDING THE SAME, AND LITHIUM SECONDARY BATTERY INCLUDING THE SAME

NºPublicación:  US20260084967A1 26/03/2026
Solicitante: 
SK INNOVATION CO LTD [KR]
SK INNOVATION CO., LTD
US_20260084967_A1

Resumen de: US20260084967A1

A conductive material dispersion liquid according to embodiments of the present disclosure includes a conductive material including carbon nanotubes; a first dispersant including a cellulose polymer, and a second dispersant including a polyethylene oxide polymer. The dispersibility of a conductive material dispersion liquid including both the first dispersant and the second dispersant may be improved, and resistance characteristics of a secondary battery may be improved.

CARBON NANOTUBE DISPERSION AND METHOD FOR PREPARING THE SAME

NºPublicación:  US20260084966A1 26/03/2026
Solicitante: 
LG CHEM LTD [KR]
LG CHEM, LTD
US_20260084966_A1

Resumen de: US20260084966A1

The present invention relates to a carbon nanotube dispersion comprising carbon nanotubes, a dispersant and a dispersion medium, wherein the dispersant comprises a first dispersant and a second dispersant in a weight ratio of 100:10 to 100:115, the first dispersant is a dispersant comprising an N atom, the second dispersant comprises a compound comprising one aromatic ring and two or more hydroxyl groups in a molecular structure, and a weight ratio of the carbon nanotubes and the dispersant is 100:50 to 100:500, thereby having a small size of particles contained in the carbon nanotube dispersion.

CARBON NANOTUBE DISPERSION AND METHOD FOR PREPARING THE SAME

NºPublicación:  US20260084965A1 26/03/2026
Solicitante: 
LG CHEM LTD [KR]
LG CHEM, LTD
US_20260084965_A1

Resumen de: US20260084965A1

The present invention relates to a carbon nanotube dispersion comprising carbon nanotubes, a dispersant and a dispersion medium, wherein the dispersant comprises a first dispersant and a second dispersant in a weight ratio of 100:10 to 100:90, the first dispersant is a dispersant comprising an N atom, the second dispersant is a compound comprising a sulfonic acid group, a hydroxyl group and an aromatic ring in a molecular structure, and a weight ratio of the carbon nanotubes and the dispersant is 100:50 to 100:500, thereby having low viscosity and a little change in viscosity over time.

低成本碳纳米管/钴基复合氧化物正极材料及其制备方法与应用

NºPublicación:  CN121717358A 24/03/2026
Solicitante: 
阳江市交投倬粤新能源科技有限公司
CN_121717358_PA

Resumen de: CN121717358A

本发明涉及电池制备技术领域,尤其涉及一种低成本碳纳米管/钴基复合氧化物正极材料及其制备方法与应用。该方法包括:将钴源、掺杂金属源、催化剂及分散剂与水混合,分散均匀,得到分散液,加入碳源,得到混合物,进行加热处理,离心取沉淀,干燥,得到前驱体;将前驱体升温进行还原反应,得到所述低成本碳纳米管/钴基复合氧化物正极材料。该方法通过三元复合相掺杂、碳纳米管原位生长及温和工艺设计,制备的正极材料兼具高比容量、长循环及高倍率性能。同时实现钴用量减少15%‑20%、综合成本降低30%以上,工艺适配规模化生产,有效破解钴基材料“高性能与高成本”矛盾,为水系锌钴电池产业化提供关键支撑。

一种三维介孔石墨烯/氧化锡复合材料及其制备方法

NºPublicación:  CN121717397A 24/03/2026
Solicitante: 
国家能源投资集团有限责任公司北京低碳清洁能源研究院
CN_121717397_PA

Resumen de: CN121717397A

本发明涉及一种制备三维介孔石墨烯/氧化锡复合材料的方法,所述方法包括以下步骤:(1)获得二氧化锡纳米颗粒;(2)在所述二氧化锡纳米颗粒表面生成金属碳酸盐,得到所述金属碳酸盐包覆所述二氧化锡纳米颗粒的复合物;煅烧,使所述金属碳酸盐热分解生成金属氧化物,得到介孔复合物;(3)在所述介孔复合物的表面和介孔内沉积石墨烯,得到石墨烯包覆的介孔复合物;(4)所述石墨烯包覆的介孔复合物经过酸洗除去所述金属氧化物,得到三维介孔石墨烯/氧化锡复合材料。本发明的三维介孔石墨烯/氧化锡复合材料具有优异的电化学性能,可以用于提升锂/钠离子电池负极材料的充放电循环的稳定性。

一种包覆改性高电压钴酸锂正极材料及其制备方法和应用

NºPublicación:  CN121726347A 24/03/2026
Solicitante: 
中国科学院物理研究所
CN_121726347_PA

Resumen de: CN121726347A

本发明涉及一种包覆改性高电压钴酸锂正极材料及其制备方法和应用。包覆改性的高电压钴酸锂正极材料为核壳结构,包括钴酸锂基体以及包覆结构层;钴酸锂基体的化学通式为LixCo1‑yM1yO2‑δ;包覆结构层包括第一包覆层以及第二包覆层;其中,第一包覆层完整均匀地包覆于钴酸锂基体表面,第二包覆层呈点状包覆和/或线状包覆和/或局部面包覆,并均匀分布于第一包覆层的外表面;第一包覆层包括具有岩盐结构的镍基材料,化学通式为LiaNibCocOd;第一包覆层与钴酸锂基体之间形成有尖晶石结构过渡层,尖晶石结构过渡层的化学通式为LieNifCogOh;第二包覆层包括纳米磷酸钒锂/碳复合材料;其中,纳米磷酸钒锂的化学通式为Li3V2‑zM2z(PO4)3,M2为Fe、Mn、Co、Ni中的一种或多种;纳米磷酸钒锂的粒径为10‑500nm。

正极活性材料及其制备方法、正极极片、电池单体、电池装置以及用电装置

NºPublicación:  CN121726312A 24/03/2026
Solicitante: 
江苏时代新能源科技有限公司江苏力泰锂能科技有限公司
CN_121726312_PA

Resumen de: CN121726312A

本公开涉及一种正极活性材料及其制备方法、正极极片、电池单体、电池装置以及用电装置。正极极片包括正极集流体以及设置在所述正极集流体至少一侧的正极膜层,所述正极膜层包括正极活性材料,所述正极活性材料包括内核和包覆层,所述包覆层包覆于所述内核的至少部分表面;所述内核包括磷酸盐材料,所述包覆层包括非石墨化碳、多孔石墨化碳和过渡金属元素,所述包覆层中过渡金属元素的含量为0.1%‑1.5%。本公开提供的正极活性材料能够提升电池单体的容量和倍率性能。

一种水体抗生素检测用复合纳米材料、制备方法及应用

NºPublicación:  CN121718946A 24/03/2026
Solicitante: 
四川大学
CN_121718946_PA

Resumen de: CN121718946A

本发明公开了一种水体抗生素检测用复合纳米材料、制备方法及应用,属于复合纳米材料技术领域,包括碳基导电基底、金属纳米线网络、二维碳化物片层和金属氧化物纳米颗粒;金属氧化物纳米颗粒由二维碳化物经原位可控氧化生成,各组分形成具有多级孔隙结构和多种活性位点的三维网络,通过π‑π堆积作用、配位键合作用和特异性化学吸附作用的多位点协同,识别不同结构的抗生素分子;本发明将碳基导电基底、金属纳米线网络、二维碳化物片层和原位生成的金属氧化物纳米颗粒进行复合,构建了具有多级孔隙结构和多种活性位点的三维网络体系;碳基导电基底与金属纳米线网络形成高效电子传输通道,保障了优异的导电性能。

用于冷阴极的碳纳米管材料及其制备方法、电子发射装置

NºPublicación:  CN121717359A 24/03/2026
Solicitante: 
新鸿电子有限公司清华大学
CN_121717359_PA

Resumen de: CN121717359A

本申请提供一种用于冷阴极的碳纳米管材料及其制备方法、电子发射装置,该碳纳米管材料的制备方法包括:利用过渡金属制备得到催化剂;将所述催化剂置于高温反应腔中,在第一温度下对所述催化剂进行还原;向所述高温反应腔中通入碳源气体,在第二温度下使所述碳源气体在所述催化剂的作用下进行裂解,并生长得到第一碳纳米管混合物;升高所述高温反应腔中的温度,在第三温度下使所述第一碳纳米管混合物进行高温纯化,选取所得产物的一部分,得到第二碳纳米管混合物;对所述第二碳纳米管混合物进行提纯和干燥后,得到碳纳米管材料。

一种光驱动分解甲烷同时产生氢气和碳纳米管的方法

NºPublicación:  CN121717326A 24/03/2026
Solicitante: 
中国科学技术大学
CN_121717326_PA

Resumen de: CN121717326A

本发明公开了一种光驱动分解甲烷同时产生氢气和碳纳米管的方法,属于新能源与纳米材料制备技术领域。本方法利用二维镍纳米片作为催化剂,通过聚焦光束照射引发局域表面等离激元共振(LSPR)效应,产生热电子辅助C‑H键断裂,从而在远低于传统热催化的温度当量下实现高效甲烷转化,在温和条件下高效分解甲烷同时制取绿氢和高附加值碳纳米管。

一种美洲大蠊药渣衍生的氮掺杂碳量子点及其制备方法和应用

NºPublicación:  CN121718342A 24/03/2026
Solicitante: 
大理大学
CN_121718342_PA

Resumen de: CN121718342A

本发明公开了一种美洲大蠊药渣衍生的氮掺杂碳量子点及其制备方法和应用,属于氮掺杂碳量子点技术领域。本发明以美洲大蠊药渣为原料采用一步水热法制备了氮掺杂碳量子点,并通过实验优化合成条件得到最佳合成参数,所制备的氮掺杂碳量子点具有优异的光学特性和稳定性;本发明还提供了氮掺杂碳量子点用于Ag+的检测的应用,所述氮掺杂碳量子点对Ag+具有较好选择性、灵敏度和抗干扰性,检测机制为内过滤效应和光诱导电子转移,所述氮掺杂碳量子点能够作为Ag+荧光传感器的优选的荧光材料。本发明所合成的氮掺杂碳量子点不仅具有Ag+传感功能,还实现药渣的高值化利用,也为杂原子的自掺杂提供了新思路。

利用废旧光伏组件制备硅碳负极材料的方法

NºPublicación:  CN121726387A 24/03/2026
Solicitante: 
河北工业大学
CN_121726387_PA

Resumen de: CN121726387A

本发明提供利用废旧光伏组件制备硅碳负极材料的方法,包括以下步骤:(1)拆解与破碎,得到硅/银/铝/EVA混合粉料;(2)碱刻蚀,得到刻蚀后的硅/银/EVA粉料;(3)协同碳化包覆,在硅颗粒表面原位构建“内层硬碳‑外层软碳”的双层碳包覆结构,得到硅碳复合材料;(4)湿热处理,使得催化活性组分稳定锚定于材料表面,过渡金属盐分解为金属氧化物,得到石墨/硅碳材料;(5)在石墨/硅碳材料原位催化生长碳纳米管,得到具有“多孔硅‑碳管‑双碳层”三维导电网络结构的硅碳负极材料。本发明所得硅碳负极材料具有高比容量、优异循环稳定性和倍率性能。

一种基于电热真空升华的材料的处理方法及其应用

NºPublicación:  CN121714944A 24/03/2026
Solicitante: 
嘉庚创新实验室
CN_121714944_PA

Resumen de: CN121714944A

本发明提供了一种基于电热真空升华的材料的处理方法及其应用,涉及材料合成与处理技术的技术领域。所述处理方法包括:对含水物料依次进行冷冻处理、抽真空处理和电加热处理,得到处理后的物料。本发明所述基于电热真空升华的材料的处理方法通过“冷冻‑真空‑电加热”三阶段协同控制,首次实现四大功能在单一装置内的集成化操作:可高效制备硅、铂、镍、氯化钠等多种纳米颗粒;可驱动碳与水反应原位合成一氧化碳和氢气;可实现氧化石墨烯等材料的含氧官能团去除;可完成石墨烯气凝胶、MXene气凝胶等脆弱多孔材料的快速低损干燥;该一体化设计极大提升了设备的功能密度与工艺兼容性,适用于实验室研发及规模化生产的多功能需求。

一种内嵌金属富勒烯及其制备方法

NºPublicación:  CN121698331A 20/03/2026
Solicitante: 
上海芯源创新中心南京大学
CN_121698331_PA

Resumen de: CN121698331A

本发明提供一种内嵌金属富勒烯及其制备方法,制备方法包括:将金属源与石墨粉混合填装于空心石墨棒制成阳极;将其安装于电弧炉阳极端,在惰性气氛下通过阳极与阴极短路电流进行在线活化;随后在特定气压和电流下进行电弧放电,收集生成的碳灰;使用有机溶剂进行超声提取得到富勒烯粗提取液;最后通过高效液相色谱法进行多级分离纯化,依次采用制备型和半制备型色谱柱进行初级与精细分离,获得高纯度产物。该方法通过集成在线活化与气氛精确调控的合成工艺以及多级梯度色谱纯化策略,形成了一条能够高效、可控制备超高纯度内嵌金属富勒烯的完整技术路径,为原子级精准材料在量子器件等前沿领域的应用奠定了坚实基础。

一种碳纳米管阵列制备系统及方法

NºPublicación:  CN121698334A 20/03/2026
Solicitante: 
北京科技大学
CN_121698334_PA

Resumen de: CN121698334A

本发明提供了一种碳纳米管阵列制备系统及方法,该系统包括:多通道反应模块,其包括至少两个反应腔室,每个反应腔室用于容纳基底并提供独立的工艺环境;物料转移模块,用于将基底装载至各反应腔室、以及将完成处理的基底从各反应腔室移出;气路供给模块,与多通道反应模块连接,用于向各反应腔室独立供给反应所需的工艺气体;监测模块,用于对每个反应腔室内的材料生长过程进行监测;以及控制模块,与多通道反应模块、物料转移模块、气路供给模块以及监测模块通信连接,以接收监测模块采集的数据并独立控制每个反应腔室的工艺参数。本发明实现了碳纳米管阵列的高效、可控制备,研发效率和产品合格率均得到了提升,满足快速迭代与产业化需求。

一种高分散性改性石墨烯的制备方法

NºPublicación:  CN121698353A 20/03/2026
Solicitante: 
中国兵器装备集团西南技术工程研究所
CN_121698353_PA

Resumen de: CN121698353A

本发明提供一种高分散性改性石墨烯的制备方法,涉及石墨烯材料领域,包括:步骤一、纳米二氧化硅改性:通过3‑氨丙基三甲氧基硅烷、甲基三甲氧基硅烷、苯基三甲氧基硅烷的复合体系对纳米二氧化硅颗粒进行改性;步骤二、石墨烯纳米片改性:先采用苯乙烯基三甲氧基硅烷对石墨烯纳米片进行一次改性,再采用γ‑缩水甘油醚氧丙基三甲氧基硅烷与异丁基三甲氧基硅烷进行二次改性;步骤三、复合材料制备:将改性石墨烯纳米片与改性纳米二氧化硅混合,获得复合材料。该方法利用二氧化硅层在石墨烯纳米片表面形成物理屏障,减少片层间的直接接触、抑制石墨烯纳米片的团聚,提升石墨烯纳米片的分散性和稳定性。

一种磁场辅助等离子体CVD制备单壁碳纳米管的系统、方法、单壁碳纳米管及电池

NºPublicación:  CN121698335A 20/03/2026
Solicitante: 
溧阳紫宸新材料科技有限公司
CN_121698335_PA

Resumen de: CN121698335A

本发明公开了一种磁场辅助等离子体CVD制备单壁碳纳米管的系统、方法、单壁碳纳米管及电池,涉及材料技术领域。系统包括依次连通设置的等离子体蒸发单元、磁场筛选单元和CVD生长单元,其中,磁场筛选单元包括磁场筛选腔体、温度调控组件和磁场发生组件;在等离子体蒸发单元和CVD生长单元之间设置磁场筛选单元,通过施加磁场并协同温度控制筛选催化剂颗粒,该单元选择性筛除大粒径催化剂颗粒,保留小粒径催化剂颗粒,可精准调控催化剂颗粒的粒径分布,从源头上降低单壁碳纳米管的缺陷密度与灰分含量,突破了传统工艺在宏量制备单壁碳纳米管中的瓶颈,显著提升产物纯度与结构一致性。

一种利用电沉积镍催化剂实现螺旋碳生长的新方法

NºPublicación:  CN121698336A 20/03/2026
Solicitante: 
电子科技大学长三角研究院(湖州)
CN_121698336_PA

Resumen de: CN121698336A

本发明一种利用电沉积镍催化剂实现螺旋碳生长的新方法,包括以下步骤:(1)将铜箔切割成所需尺寸后,依次在乙醇和丙酮中进行超声清洗,获得样品;(2)将样品在镀镍电解液中进行电沉积;(3)将镀有Ni薄膜的Cu箔样品放置于石英舟上,并置于水平管式炉的中心位置,加热前,通入氩气;(4)将炉温升高,当温度稳定后,引入乙炔作为碳源,同时维持氩气流量,反应持续数分钟,在Ni催化剂表面生成碳微/纳米线圈,沉积结束后停止乙炔供气,样品在持续通入Ar气氛下自然冷却至室温,以避免氧化。本发明方法实现了可扩展、可重复和高产率的碳微/纳米线圈合成,为高性能电磁波吸收及多功能复合材料的制备提供了新的技术途径。

三重发射碳点及其制备方法和在槲皮素响应型比率探针中的应用

NºPublicación:  CN121699601A 20/03/2026
Solicitante: 
扬州大学
CN_121699601_PA

Resumen de: CN121699601A

三重发射碳点及其制备方法和在槲皮素响应型比率探针中的应用,将3,4‑二氨基苯甲酸、硝酸钆六水合物和间苯二胺溶于无水乙醇与超纯水的混合溶剂中,形成混合溶液;对所述混合溶液进行水热反应,反应结束后冷却、离心、取上清液,经透析纯化后冷冻干燥,得到所述具有内源性三重特征碳点。本发明成功合成的TE‑CDs在350 nm、415 nm和485 nm处呈现三个荧光发射峰。当与槲皮素作用时,三者表现出差异化的猝灭效应,此特性是构建高精度比率传感策略的基础。通过计算三通道荧光强度的比值进行定量,该方法有效克服了单一信号探针易受环境、仪器及浓度因素干扰的固有问题,具备了内在的自校准能力,从而大幅提升了检测的准确度与可靠性。

石墨烯增强型硅碳负极材料及其制备方法

NºPublicación:  CN121709578A 20/03/2026
Solicitante: 
青岛龙迪碳材料科技有限公司
CN_121709578_A

Resumen de: CN121709578A

本发明石墨烯增强型硅碳负极材料及其制备方法,其中,石墨烯增强型硅碳负极材料包括以下质量占比的组分:80‑90%的石墨烯基底及10‑20%的硅量子点,所述石墨烯基底表面具有缺陷孔径及三维梯度孔道结构,所述硅量子点原位生长于缺陷孔径内。石墨烯增强型硅碳负极材料的制备方法包括以下步骤:S1石墨烯基底的预处理,S2硅量子点的沉积,S3界面共价键合强化,S4三维梯度孔道的构建。本发明通过石墨烯基底预处理、硅量子点原位生长、界面共价键合强化、三维梯度孔道构建技术的有机耦合,形成“结构设计‑界面调控‑性能优化”的协同体系,解决了石墨烯与硅颗粒的尺寸失配、界面作用力弱、分散性差的问题。

一种石墨烯表面生长碳纳米管的复合材料的制备方法

NºPublicación:  CN121700356A 20/03/2026
Solicitante: 
电子科技大学长三角研究院(湖州)
CN_121700356_PA

Resumen de: CN121700356A

本发明公开了一种石墨烯表面生长碳纳米管复合材料的制备方法,步骤如下:首先对石墨烯进行氧化改性并形成均匀浆料,在其中添加EDTA‑Fe和乙酰丙酮钼进行配位耦合,通过微波辅助加热还原技术形成纳米化分散的催化剂颗粒,而后在850℃‑1000℃的条件下以气态碳源进行化学气相沉积,制得石墨烯表面生长碳纳米管的复合材料。本发明采用含氧官能团氧化石墨烯与金属有机化合物配位,结合微波加热还原锚定金属纳米颗粒,催化超细碳纳米管的在石墨烯的缺陷位置生长形成化学键稳定连接的复合结构。本发明综合了石墨烯二维和碳纳米管一维的导电导热特性,为纳米级碳基复合材料发展奠定基础。

一种基于官能化碳点自组装的低电导率泡沫碳及其气相诱导制备方法

NºPublicación:  CN121698328A 20/03/2026
Solicitante: 
中国计量大学
CN_121698328_PA

Resumen de: CN121698328A

本发明公开了一种低电导率泡沫碳及其气相诱导制备方法和应用。该泡沫碳由表面富含羧基与氨基的水溶性碳点,通过分子间相互作用自组装而成,形成三维连通多孔结构,其电导率可低至1.27×10‑7S/m,孔径分布在200‑500μm。制备时,将所述碳点与尿素或氨水配成溶液,在100‑150℃下干燥;水蒸气与氨气共同作用,驱动碳点在气‑液界面自组装并固化成泡沫碳。该方法工艺简单、条件温和,所得材料在绝缘、吸附等领域具有应用潜力。

ARAGONITE COMPOSITIONS, METHODS, AND USES THEREOF

NºPublicación:  US20260076881A1 19/03/2026
Solicitante: 
NANT HOLDINGS IP LLC [US]
Nant Holdings IP, LLC
US_20260076881_A1

Resumen de: US20260076881A1

Compositions, methods, and uses of calcium carbonate-based composition are presented. The calcium carbonate-based composition includes a plurality of restructured calcium carbonate particles that has an average size of equal or less than 10 microns in diameter. Preferably, the calcium carbonate-based composition is generated by unstructuring the aragonite using an acid and a chelator and recrystallizing the unstructured aragonite in a customized form. Exemplary aragonite-based compositions include pavement compositions.

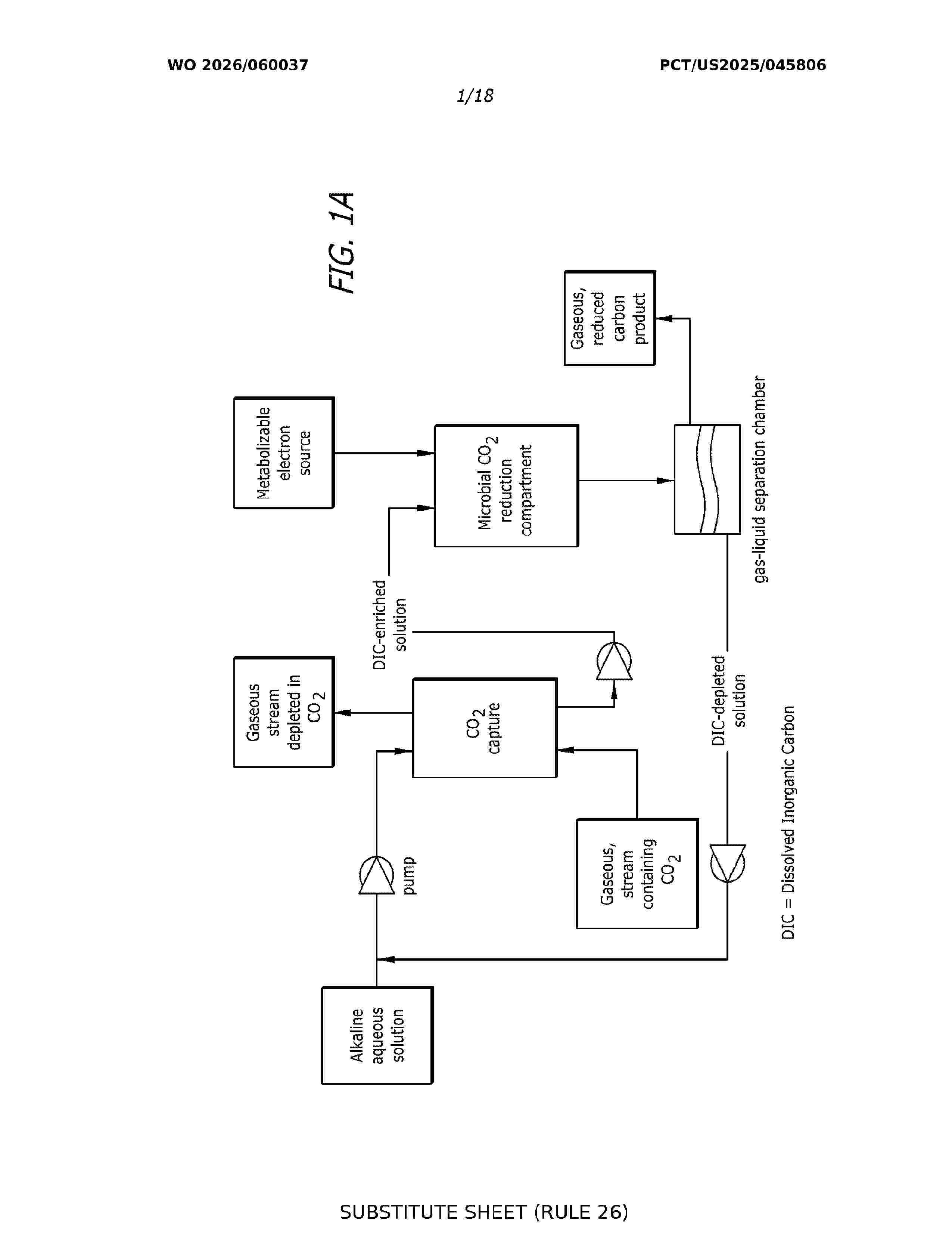
PRODUCTION OF CARBON MATERIAL FROM LOW CONCENTRATION CO2 VIA MICROBIAL CO2 REDUCTION AND PYROLYSIS

NºPublicación:  WO2026060037A1 19/03/2026
Solicitante: 
THE BOARD OF TRUSTEES OF THE LELAND STANFORD JUNIOR UNIV [US]
THE BOARD OF TRUSTEES OF THE LELAND STANFORD JUNIOR UNIVERSITY
WO_2026060037_A1

Resumen de: WO2026060037A1

A system and method for sequestration and reduction of carbon dioxide (CO2) to a carbon material via an integrated microbial and chemical catalytic processes are described. The system and method comprise a bioreactor in gas communication with a pyrolysis reactor, wherein the microbes of the bioreactor uptake CO2 dissolved in aqueous solution and convert it to a volatile organic carbon compound, such as, for example, methane, which, in turn is fed into the pyrolysis reactor for catalytic conversion to a carbon material, wherein the carbon material may include crystalline carbon. The thus obtained carbon material is easily collectable for various high end uses or for CO2 storage.

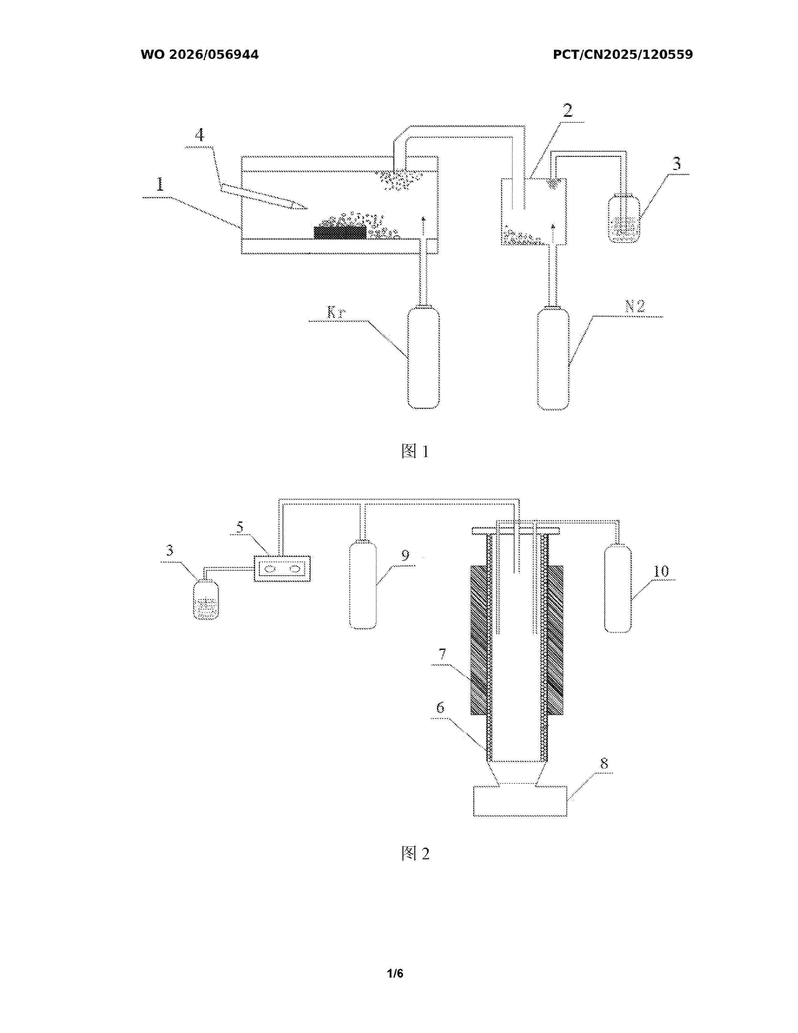
PREPARATION METHOD AND CONTINUOUS PRODUCTION SYSTEM FOR SINGLE-WALLED CARBON NANOTUBES

NºPublicación:  WO2026056944A1 19/03/2026
Solicitante: 
SUZHOU JERNANO CARBON CO LTD [CN]
\u82CF\u5DDE\u6377\u8FEA\u7EB3\u7C73\u79D1\u6280\u6709\u9650\u516C\u53F8
WO_2026056944_A1

Resumen de: WO2026056944A1

Provided are a preparation method and continuous production system for single-walled carbon nanotubes. The preparation method for single-walled carbon nanotubes comprises the following steps: catalyst pretreatment: using a microwave plasma generator (4) to excite a catalyst to form nanoscale particles, then sequentially using gases having decreasing densities to perform gradient screening on the nanoscale catalyst particles, and forming a catalyst dispersion from the screened nanoscale catalyst particles together with a liquid carbon source and a promoter; and catalytic growth: atomizing the catalyst dispersion by means of an atomizer (5), then bringing the atomized catalyst dispersion into a reactor (6) by means of a carrier gas, and heating the reactor (6) to 1000-1500°C to grow single-walled carbon nanotubes. In the provided preparation method for single-walled carbon nanotubes, the microwave plasma generator (4) is used to excite the catalyst, so that the catalyst forms nanoscale particles, and gas screening is then performed on the nanoscale particles to obtain a catalyst having a smaller size and a narrower particle size, so that the purity of the finally obtained single-walled carbon nanotubes is high.

一种氮掺杂碳纳米管基电极材料的制备工艺及其生物质醇类高效转化应用

NºPublicación:  CN121675004A 17/03/2026
Solicitante: 
中山大学·深圳
CN_121675004_PA

Resumen de: CN121675004A

本发明属于电化学新能源转换技术领域,具体涉及一种氮掺杂碳纳米管基电极材料的制备工艺及其生物质醇类高效转化应用。本发明采用研磨和程序温控退火工艺,实现NH2‑CNT的氮掺杂可控调节,然后配置分散液,使用喷涂协同红外灯照干的方式负载于碳纸上制备电极,首次应用于电催化生物质醇氧化体系中,氮掺杂的氨基化多壁碳纳米管可实现优异的催化活性和生物质醇氧化能力,高于商业铂碳与氮掺杂CNTs材料。反应起始电位低至1.1 V vs.RHE,1.6 V vs.RHE电位下氧化电流可达80 mA/cm2。制备工艺简单,生产成本低,易于工业规模化生产,在能源、环保、电催化等领域有广阔的应用前景。

一种同时制备石墨烯和二维金刚石的方法

NºPublicación:  CN121672504A 17/03/2026
Solicitante: 
浙江工业大学
CN_121672504_A

Resumen de: CN121672504A

本发明公开了一种同时制备石墨烯和二维金刚石的方法,包括:将单晶鳞片石墨粉、高聚物加入球磨罐中,球磨混合均匀,所得混合粉末压片后置于六面顶压机中压制,得到石墨烯和二维金刚石;该方法获得了稳定的尺寸较大的石墨烯和二维金刚石,且制得的石墨烯和二维金刚石中不含杂质,纯度较高,对于开展石墨烯和二维金刚石的物理化学性质的研究并实现其应用具有重要意义。

一种通过带缺陷碳纳米管束提高储氢效率的方法

NºPublicación:  CN121672499A 17/03/2026
Solicitante: 
重庆文理学院
CN_121672499_PA

Resumen de: CN121672499A

本发明涉及氢能存储材料技术领域,公开了一种通过带缺陷碳纳米管束提高储氢效率的方法,包括以下步骤:S1,制备单壁碳纳米管束,所述单壁碳纳米管束由多个单壁碳纳米管以六方阵列排列组成;S2,在所述单壁碳纳米管的管壁上引入空位缺陷,所述空位缺陷的尺寸不小于临界尺寸NV=8;S3,调节单壁碳纳米管束中相邻单壁碳纳米管的管间距离为5.1Å至9Å;S4,将所述具有空位缺陷的单壁碳纳米管束置于含氢气氛中,在设定的温度与压强条件下进行氢气的物理吸附。本发明通过空位缺陷的引入,减小了碳纳米管的质量,结合单壁碳纳米管束的管内空腔与管间间隙双吸附位点,储氢效率远超孤立完美的单壁碳纳米管。

一种高效可控缺陷碳纳米管及其制备方法与应用

NºPublicación:  CN121672500A 17/03/2026
Solicitante: 
江苏天奈科技股份有限公司
CN_121672500_PA

Resumen de: CN121672500A

本发明提供了一种高效可控缺陷碳纳米管及其制备方法与应用,所述制备方法将碳纳米管与金属氧化物混合均匀后,依次进行碳热还原反应、刻蚀反应、酸洗、水洗、干燥,既可以通过金属氧化物的尺寸、添加量来控制缺陷位点数量,又可以借助碳热还原得到的金属单质比热容较高,提高刻蚀位点的热能,加速刻蚀速度,可以通过控制刻蚀温度、时间来控制缺陷位点的缺陷程度;本发明所述制备方法通过两步关键控制,就可以绿色高效可控地制备所需缺陷碳纳米管,可以提高碳纳米管在应用时的分散效率。

一种单壁碳纳米管及其制备方法

NºPublicación:  CN121672498A 17/03/2026
Solicitante: 
常州聚碳晟材科技有限公司
CN_121672498_PA

Resumen de: CN121672498A

本发明涉及纳米材料技术领域,尤其涉及一种单壁碳纳米管及其制备方法,所述制备方法包括如下步骤:将气态原料混合后,于800‑1350℃反应后,得到单壁碳纳米管;所述气态原料包括气态催化剂与气态碳源。本发明提供的单壁碳纳米管的制备方法,通过将气态的催化剂与气态的碳源混合后通过高温裂解来进行单壁碳纳米管的原位生长,使得催化剂与碳源以原子级别进行混合,从而在使得单壁碳纳米管均匀生长的同时,避免寡壁碳纳米管以及多壁碳纳米管的生长,提高产品质量。

一种共价功能化石墨烯纳米片及其制备方法

NºPublicación:  CN121672509A 17/03/2026
Solicitante: 
东华工程科技股份有限公司青岛科技大学
CN_121672509_PA

Resumen de: CN121672509A

本发明属于石墨烯改性技术领域,具体涉及一种共价功能化石墨烯纳米片及其制备方法。该技术方案利用羧甲基壳聚糖(CMCS)辅助球磨对石墨烯进行分散和改性,同步实现石墨烯的共价功能化与物理剥离。此方法有效解决了石墨烯因层间强范德华力及表面化学惰性导致的难以大规模剥离和功能化的技术难题,克服了传统方法工艺复杂、条件苛刻或环境不友好的缺陷。所产生的技术效果显著:工艺绿色高效,功能化石墨烯产率高达72.3%,其在水中的分散浓度可达14.8 mg/mL且稳定性优异,为拓展石墨烯在热管理等领域的实际应用提供了重要的理论与实验依据。

一种基于玫瑰石斛的碳量子点的制备方法及应用

NºPublicación:  CN121672495A 17/03/2026
Solicitante: 
浙江理工大学绍兴生物医药研究院有限公司宁波易中禾药用植物研究院有限公司
CN_121672495_PA

Resumen de: CN121672495A

本申请提供一种基于玫瑰石斛的碳量子点的制备方法及应用,属于液体绷带技术领域。将玫瑰石斛干粉置于蒸馏水中,反应所得溶液冷却至室温,离心,上清液膜过滤后,所得滤液冷冻干燥,得到固体即为基于玫瑰石斛的碳量子点。本申请制备的碳量子点DCQDs具有较强的抗菌、抗生物膜、抗氧化和抗炎活性,与水凝胶基质结合后的CMCS‑CMC‑DCQDs水凝胶具有良好的血液相容性和细胞相容性,在促进体外伤口愈合、控制氧化和炎症应激方面表现优异。

基于石墨同时制备石墨烯和二维金刚石的方法

NºPublicación:  CN121672505A 17/03/2026
Solicitante: 
浙江工业大学
CN_121672505_A

Resumen de: CN121672505A

本发明公开了一种基于石墨同时制备石墨烯和二维金刚石的方法:将单晶鳞片石墨粉置于粉体ALD设备中进行氧化钽沉积,得到ALD处理后的单晶鳞片石墨粉,将其与高聚物混合,置于球磨罐中机械混合均匀,得到混合料;利用压片设备将混合料制成压片样品,将压片样品组装进六面顶压机的合成块中压制,获得石墨烯和二维金刚石;本发明方法可获得稳定的尺寸较大的二维金刚石和石墨烯,具有制备工艺简单,参数可调节范围广,不受限于衬底技术等优势,对于开展二维金刚石和石墨烯的研究并实现其应用有重要意义。

基于超临界流体协同萃取的单壁碳纳米管纯化方法

NºPublicación:  CN121672501A 17/03/2026
Solicitante: 
无锡东恒新能源科技有限公司
CN_121672501_PA

Resumen de: CN121672501A

本发明公开了一种基于超临界流体协同萃取的单壁碳纳米管纯化方法,包括将过氧化氢水溶液与单壁碳纳米管混合,通入CO2后在一定压力下加热,打开UV灯并搅拌,降温泄压;将弱酸与金属螯合剂混合均匀后加入到上述反应釜中,通入CO2后在一定压力下加热,搅拌反应完成后降温并泄压的步骤。本发明在对单壁碳纳米管进行纯化时,先使用H2O2在CO2超临界流体的高压环境下对单壁碳纳米管进行处理,通过UV光激发H2O2分解产生‑OH自由基,将单壁碳纳米管中无定形碳、石墨片壳和金属杂质氧化;再利用超临界CO2流体、酸和金属螯合剂使剩余金属单质先转变为金属盐溶液,再生成中性的、有机分子型的金属螯合物,以达到高效除杂的目的。

一种金属碳化物修饰的碳材料及其制备方法和应用

NºPublicación:  CN121672527A 17/03/2026
Solicitante: 
哈尔滨工业大学信和新材料股份有限公司
CN_121672527_PA

Resumen de: CN121672527A

本发明涉及复合碳材料技术领域,尤其涉及一种金属碳化物修饰的碳材料及其制备方法和应用。本发明提供的制备方法包括将碳材料与修饰元素前驱体混合,得到混合粉体;在保护气氛或真空环境中,将所述混合粉体进行煅烧处理,得到所述金属碳化物修饰的碳材料;所述修饰元素前驱体中的修饰元素包括钪、钛、钒、铬、锰、铁、钴、镍、钇、锆、铌、钼、锝、钌、铑、钯、铪、钽、钨、铱和铼一种或几种;所述碳材料为未修饰的碳材料或三维结构石墨烯修饰的碳材料。所述制备方法能够显著提高金属碳化物和碳材料之间的耦合与粘附能力使其具有优异的结构稳定性,在热管理材料、高强高导金属基复合材料、高导电高导热树脂基复合材料和抛光剂磨料领域中应用。

一种梯度复合包覆型磷酸铁锂材料的制备方法

NºPublicación:  CN121651314A 13/03/2026
Solicitante: 
湖北三峡实验室湖北兴发化工集团股份有限公司
CN_121651314_PA

Resumen de: CN121651314A

本发明提供了一种梯度复合包覆型磷酸铁锂材料的制备方法,该材料由磷酸铁锂内核及依次包覆的Li3PO4‑Al2O3复合离子导电层、氮掺杂多孔碳层和功能化含氟聚合物修饰层构成。通过水热法合成磷酸铁锂基体后,首先采用用原子层沉积(ALD)法在磷酸铁锂表面生长纳米级Li3PO4‑Al2O3复合层,随后通过原位聚合‑碳化法在离子导电层外构建连续氮掺杂多孔碳层网络,最后利用电喷雾沉积技术在碳层表面形成含氟聚合物修饰层,通过三层协同作用解决单一包覆材料局限性。该材料具备优越的锂离子传输性能和电子导电性能,能量密度高,低温性能好,采用该材料制备的锂离子电池具备优异的循环性能和更高的电池容量。

一种二氧化碳制备碳纳米管的方法及系统

NºPublicación:  CN121651343A 13/03/2026
Solicitante: 
三瑞新材料(淄博)有限公司
CN_121651343_PA

Resumen de: CN121651343A

本发明涉及碳纳米管制备技术领域,提供一种二氧化碳制备碳纳米管的方法及系统。方法包括原料混合物制备、催化剂制备、二氧化碳转化制备一氧化碳、一氧化碳气体净化与储存、碳纳米管催化合成以及产物后处理与纯化等步骤。系统包括原料预处理单元、催化剂制备单元、一氧化碳生成单元、气体净化储存单元、碳纳米管合成单元和产物处理单元,各单元协同配合实现连续稳定生产。本发明实现了二氧化碳的高效资源化利用,生产的碳纳米管具有纯度高、结构均匀、结晶质量好的特点,同时具备生产过程绿色环保、原料适应性广、产品质量稳定可控的优势。

碳纳米管的纯化方法

NºPublicación:  CN121651345A 13/03/2026
Solicitante: 
湖南京舟股份有限公司
CN_121651345_PA

Resumen de: CN121651345A

本申请涉及一种碳纳米管的纯化方法,包括以下步骤:提供待处理碳纳米管物料,待处理碳纳米管物料包括碳纳米管、金属催化剂和不定型碳;将待处理碳纳米管物料进行热处理,制得第一处理物料;热处理的温度为300℃~600℃;在保护性气氛下,通入还原性气体与第一处理物料进行还原反应,制得第二处理物料;通入气态氯源与第二处理物料进行氯化反应,制得第三处理物料;将第三处理物料进行水洗。本申请提供的碳纳米管的纯化方法,可有效去除金属催化剂,提升碳纳米管的纯度,且可避免传统纯化方法中高温处理对碳纳米管导电性能的影响,保证碳纳米管的导电性能。

一种基于苯基多面体低聚倍半硅氧烷交联的硅碳复合负极材料及其制备方法和应用

NºPublicación:  CN121662780A 13/03/2026
Solicitante: 
宁波杉杉硅基材料有限公司
CN_121662780_PA

Resumen de: CN121662780A

本发明公开一种基于苯基多面体低聚倍半硅氧烷交联的硅碳复合负极材料及其制备方法和应用,制备方法包括以下步骤:S1、将苯基多面体低聚倍半硅氧烷加入1,2‑二氯乙烷溶液中,在搅拌下加热并加入AlCl3和交联剂,反应后过滤、洗涤获得交联聚合物;S2、将交联聚合物放入高温设备中,惰性气氛下加热碳化得到SiOx@C微球;S3、将无水AlCl3加入熔融1‑丁基‑3‑甲基咪唑氯化物中,搅拌下加入镁粉和SiOx@C微球,惰性气氛反应,产物经二氯甲烷和稀盐酸洗涤、干燥得到初级硅碳材料;S4、将初级硅碳材料置于反应器中,惰性气氛下通入碳源气进行碳包覆,得到基于苯基多面体低聚倍半硅氧烷交联的硅碳复合负极材料。

一种高性能树状银与碳基材料复合材料及其制备方法和应用

NºPublicación:  CN121649385A 13/03/2026
Solicitante: 
福建信息职业技术学院
CN_121649385_PA

Resumen de: CN121649385A

本发明提供一种高性能树状银与碳基材料复合材料及其制备方法和应用,所述复合材料的原料包括树状银粉末和碳基材料,其中,树状银与碳基材料的质量比例为0.2‑0.7:1,且所述树状银粉末粒径为1‑10 μm。本发明通过将树状银粉末与碳基材料(如石墨烯或碳纳米管)以特定比例混合,经分散、涂膜和热处理工艺制备而成。本发明的复合材料实现了高导电性(约1.2×10⁵ S/cm)、高导热性(>1400 W/mK)、优异电磁屏蔽效能(>40 dB)、高柔性(弯曲半径<5 mm)和长期稳定性(分散稳定性相对值>0.95),相比现有技术显著提升了综合性能,适用于高效导电、导热、电磁屏蔽和柔性电子器件领域。

一种丁酸梭菌衍生碳点船样纳米颗粒及其制备方法和应用

NºPublicación:  CN121651346A 13/03/2026
Solicitante: 
南开大学
CN_121651346_A

Resumen de: CN121651346A

本发明属于新型碳纳米材料技术领域,公开了一种丁酸梭菌衍生碳点船样纳米颗粒及其制备方法和应用,制备方法包括以下步骤:步骤1,将丁酸梭菌培养至对数期,然后置于预处理溶液进行混悬孵育以调控丁酸梭菌细胞的结构完整性与表面化学组成,所述预处理溶液为EDTA、NaCl或PEG‑8000的水溶液,孵育结束后,离心收集沉淀,清洗,重悬于超纯水中;步骤2,将经过步骤1处理的丁酸梭菌置于高压反应釜中进行水热反应,得到粗产物体系;步骤3,将粗产物体系过滤纯化,冷冻干燥得到丁酸梭菌衍生碳点船样纳米颗粒。本发明制备的纳米颗粒粒径均一,具有良好的水溶性、分散性及生物相容性,具有显著的免疫调控功能。

A 2D CARBON QUANTUM DOT PRODUCTION MACHINE WITH A CONTINUOUS AUTOMATIC SYSTEM

NºPublicación:  WO2026054719A1 12/03/2026
Solicitante: 
KING MONGKUTS INSTITUTE OF TECH LADKRABANG [TH]
KING MONGKUT'S INSTITUTE OF TECHNOLOGY LADKRABANG
WO_2026054719_PA

Resumen de: WO2026054719A1

The two-dimensional carbon quantum dot production machine with an automatic continuous system is designed for synthesizing two-dimensional carbon quantum dots, namely graphene oxide quantum dots or reduced graphene oxide quantum dots, within a single integrated device, using graphene oxide or reduced graphene oxide as the precursor material. The primary structure of the carbon quantum dot production machine comprises an external main frame for placing synthesis equipment, shaped as a tall rectangular box, with wheels installed at all four bottom corners for mobility. The machine includes a control cabinet and an operating control system powered by a processing unit, along with a wet air filtration system. The external main frame is equipped with various components including a deionized water tank used in the production process, a chemical oxidation reaction tank with temperature control and a magnetic stir bar for agitation during the reaction, a pH monitoring system, and a condenser unit to condense vapors from the reaction back into liquid. It also includes a high- frequency ultrasonic reaction tank with temperature control via water flow through coiled tubing wrapped around the container, a dual-stage filtration system consisting of a coarse filter and a fine filter, and a purification system using a dialysis membrane bag. The machine is equipped with a water valve system for flow control, a stirring system with paddle blades, and a product storage tank for collecting the

POSITIVE ELECTRODE ACTIVE MATERIAL, AND PREPARATION METHOD THEREFOR AND USE THEREOF

NºPublicación:  WO2026051476A1 12/03/2026
Solicitante: 
NINGBO RONBAY NEW ENERGY TECH CO LTD [CN]
\u5B81\u6CE2\u5BB9\u767E\u65B0\u80FD\u6E90\u79D1\u6280\u80A1\u4EFD\u6709\u9650\u516C\u53F8
WO_2026051476_PA

Resumen de: WO2026051476A1

Provided in the present application are a positive electrode active material, and a preparation method therefor and the use thereof. The positive electrode active material comprises an LiMnxFe1-xPO4 inner core and a carbon coating layer covering at least part of the surface of the inner core, wherein 0≤x<1. The compaction density of the positive electrode active material is not lower than 2.28 g/cm3; and the impedance of the positive electrode active material is not higher than 1,500 Ω. The compaction density and impedance of the positive electrode active material provided in the present application are defined, such that the positive electrode active material has a relatively high compaction density and good rate capability; and when the positive electrode active material is applied to a lithium-ion battery, the specific capacity, energy density and rate capability of the lithium-ion battery can be improved.

GRAPHENE-METAL COMPOSITE

NºPublicación:  WO2026053206A1 12/03/2026
Solicitante: 
2D GENERATION LTD [IL]
BAR ILAN UNIV [IL]
2D GENERATION LTD,
BAR-ILAN UNIVERSITY
WO_2026053206_PA

Resumen de: WO2026053206A1

A graphene-metal composite comprising at least two graphene layers and at least one metal layer in between the two graphene layers. The metal layer)s) are essentially free of residuals (e.g., water, organic solvents, metal oxides, metal halides, halides, halogen molecules, and organo-metallic compounds), have a layer normalized spatial thickness deviation lower than 10%, cover at least 90% of an adjacent one of the at least two graphene layers and/or at least one of the graphene layers defect density is lower than 1e11 defects per cm2.

PURIFICATION METHOD OF NANOPARTICLE, NANOPARTICLE COMPOSITION, AND MANUFACTURING METHOD OF NANOPARTICLE COMPOSITION

NºPublicación:  US20260071075A1 12/03/2026
Solicitante: 
CANON KK [JP]
CANON KABUSHIKI KAISHA
US_20260071075_PA

Resumen de: US20260071075A1

A method includes a step of preparing a nanoparticle that has a perovskite-type crystal structure as an allotrope and includes multiple crystal structures, a step of preparing a ligand solution containing a solvent that has a relative dielectric constant of a prescribed value or less and an associative ligand that includes a main chain having a plurality of carbon atoms and a polar group having a higher polarity than the main chain and self-associates in the solvent, and a step of preparing a nanoparticle dispersion by bringing the nanoparticle and the ligand solution into contact with each other, wherein the step of preparing a nanoparticle dispersion includes a step of selectively increasing the ratio of the content of a prescribed crystal structure in the multiple crystal structures.

TUNABLE AND SWITCHABLE MID-INFRARED PERFECT ABSORBERS AND METHODS OF USE THEREOF

NºPublicación:  US20260072203A1 12/03/2026
Solicitante: 
THE BOARD OF REGENTS OF THE UNIV OF OKLAHOMA [US]
The Board of Regents of the University of Oklahoma
US_20260072203_PA

Resumen de: US20260072203A1

An aperiodic absorber nanostructure, comprising a substrate; a first semiconductor absorber layer in contact with a planar surface of the support substrate; a plurality of dielectric layers; a plurality of graphene layers alternated with the plurality of dielectric layers to form a stack ending with a last dielectric layer; and a second semiconductor absorber layer in contact with the last dielectric layer; and wherein the thickness of each of the plurality of layers is configured such that the nanostructure achieves a desired absorption level of a mid-infrared wavelength. A method of constructing the nanostructure. A method of using the nanostructure as a perfect absorber by exposing the aperiodic absorber nanostructure to a mid-IR source.

CARBON NANOTUBE DISPERSION AND PREPARATION METHOD THEREFOR

NºPublicación:  EP4707236A1 11/03/2026
Solicitante: 
LG CHEMICAL LTD [KR]
LG Chem, Ltd
EP_4707236_A1

Resumen de: EP4707236A1

The present invention relates to a carbon nanotube dispersion exhibiting low viscosity and little change in viscosity over time, which includes carbon nanotubes, a dispersant, and a dispersion medium, wherein the dispersant contains a first dispersant and a second dispersant in a weight ratio of 100:10 to 90, the first dispersant is a dispersant containing an N atom, the second dispersant is a compound containing a sulfonic group, a hydroxyl group, and an aromatic ring in a molecular structure, and the carbon nanotubes and the dispersant are present in a weight ratio of 100:25 to 500.

CARBON NANOTUBE-TO-METAL ASSEMBLIES

NºPublicación:  EP4705234A1 11/03/2026
Solicitante: 
WOOTZ INC [US]
Wootz, Inc
TW_202509950_PA

Resumen de: TW202509950A

The present disclosure provides carbon nanotube (CNT)-to-metal assemblies comprising a carbon nanotube (CNT) component connected to a metal component, and methods for preparing them. The assemblies may be connected through a CNT-to-metal connector that may comprise a CNT connector pad.

一种基于基因编辑的蔬菜种子种苗培育方法

NºPublicación:  CN121628957A 10/03/2026
Solicitante: 
湖北瑞谷香农业科技有限公司
CN_121628957_PA

Resumen de: CN121628957A

本发明属于生物育种技术领域,具体的说是一种基于基因编辑的蔬菜种子种苗培育方法,包括构建负载基因编辑核糖核蛋白(RNP)的靶向性纳米递送载体,该载体由表面修饰聚乙烯亚胺和茎尖分生组织归巢肽(MHP)的碳纳米点组成,通过微液滴原位渗透法将RNP递送至蔬菜幼苗茎尖分生组织,实现对目标基因的瞬时编辑,并经有性生殖获得纯合、无外源基因残留的编辑种子。通过上述方案,本申请实现了无需遗传转化与组织培养的非转基因基因编辑,具有操作简便、周期短、效率高、适用性广的优点,适用于番茄、菠菜、黄瓜等多种蔬菜的性状改良。

一种粉体电极材料的表面改性方法及粉体电极材料

NºPublicación:  CN121641888A 10/03/2026
Solicitante: 
嘉兴中科微电子仪器与设备工程中心
CN_121641888_A

Resumen de: CN121641888A

本申请属于锂离子电池电极材料技术领域,尤其涉及一种粉体电极材料的表面改性方法及粉体电极材料。该表面改性方法,包括:将粉体电极材料保持在80℃~180℃的温度区间;向所述粉体电极材料表面交替脉冲供应金属源前驱体与反应源前驱体,使所述金属源前驱体与所述反应源前驱体在所述粉体电极材料表面进行自限制反应,以生成连续包覆在所述粉体电极材料的整个外表面的金属氧化物层,得到表面改性粉体电极材料;其中,所述金属氧化物层的厚度为1nm~20nm,所述金属氧化物层中金属氧化物为氧化锌或氧化铌。解决低温条件下粉体电极材料表面改性的均匀性与结构完整性难题。

一种氮掺杂碳纳米管类材料及其制备方法

NºPublicación:  CN121626976A 10/03/2026
Solicitante: 
中研复材(上海)科技开发有限责任公司
CN_121626976_PA

Resumen de: CN121626976A

本发明公开了属于氮掺杂碳纳米管类材料领域的一种氮掺杂碳纳米管类材料及其制备方法,具体为利用含氮有机聚合物聚氨酯为碳源,采用化学气相沉积法,经催化剂高温催化制备氮掺杂碳纳米管类材料;本发明制备的碳纳米管类材料为由同轴管壁组成的多壁碳纳米管、中心被分割成密闭腔室的竹节状碳纳米管、鳞状碳纳米管、枝杈状碳纳米管等;可作为增强材料,储能材料,新型电子探针及电子器件、传感器材料,隐身材料,催化剂及催化剂载体等。

一种Ti3C2TxMXene-GQD纳米复合材料及其制备方法和应用

NºPublicación:  CN121626991A 10/03/2026
Solicitante: 
成都医学院第一附属医院
CN_121626991_PA

Resumen de: CN121626991A

本发明公开了一种Ti3C2Tx MXene‑GQD纳米复合材料及其制备方法和应用,涉及复合材料制备技术领域。该方法包括以下步骤:将LiF溶解于盐酸溶液中,加入Ti3AlC2粉末,制得胶体溶液;将柠檬酸溶于去离子水中,然后水热碳化,制得GQD溶液;将胶体溶液和GQD溶液混合,搅拌,制得纳米复合材料。本发明利用Ti3C2Tx MXene二维片层结构,稳定GQD纳米颗粒,使其分散均匀且不易团聚,保证长期均一性;利用Ti3C2Tx MXene光热效应及GQD光动力效应,实现双重光响应抗菌效能,可高效抑制耐药菌感染,为治疗耐药菌提供非抗生素途径,在实践中有效控制感染问题及相关性术后疼痛问题。

一种超长碳纳米管的连续制备方法

NºPublicación:  CN121626977A 10/03/2026
Solicitante: 
清华大学
CN_121626977_PA

Resumen de: CN121626977A

本发明属于纳米材料制备技术领域,具体涉及一种超长碳纳米管的连续制备方法。本发明提供的一种超长碳纳米管的连续制备方法,包括以下步骤:(1)向反应器内通入惰性气体,升温至反应温度;(2)向反应器内通入碳源气体、氢气、惰性气体和水蒸气的混合气,同时注入多组分催化剂,进行超长碳纳米管的生长;(3)生长结束后,将反应器冷却;其中,反应器是长度为5~110 m,管径为0.05~10 m的直管反应器或长度为2~50m,匝数为5~500,小直径为0.04~0.5 m,大直径为0.5~2 m的螺旋状管式反应器,反应器的进料口设置长度为0.1~0.5 m,管径为0.01~0.1 m进料管,反应器中不设置基底。该方法使超长碳纳米管直接在反应器内的三维空间中生长,产率比以往报道的产率提高了至少一千万倍以上。

基于纳米硅复合多孔碳基基体的材料及其制备方法和应用

NºPublicación:  CN121641875A 10/03/2026
Solicitante: 
溧阳天目先导电池材料科技有限公司
CN_121641875_PA

Resumen de: CN121641875A

本发明实施例涉及一种基于纳米硅复合多孔碳基基体的材料及其制备方法和应用。基于纳米硅复合多孔碳基基体的材料包括内核和外壳;内核包含多孔碳基基体和嵌入该基体中的纳米硅颗粒;多孔碳基基体由耐高温聚合物与由耐高温聚合物热分解生成的碳基导电材料复合组成,纳米硅颗粒填充于多孔碳基基体的孔隙中,形成纳米硅复合多孔碳基基体内核;外壳包覆于内核之外,形成包覆结构;其中,耐高温聚合物包括聚苯并咪唑及其衍生物:外壳为碳包覆层;多孔碳基基体的粒径D50在20nm‑100um之间;多孔碳基基体的孔径在0.4nm‑200nm之间;多孔碳基基体的比表面积为300m2/g‑3000m2/g;多孔碳基基体的孔容为0.1cm3/g‑6.0cm3/g。

一种硅碳复合材料及其制备方法与应用

NºPublicación:  CN121641893A 10/03/2026
Solicitante: 
合肥国轩高科动力能源有限公司
CN_121641893_A

Resumen de: CN121641893A

本发明提供一种硅碳复合材料及其制备方法与应用,涉及锂离子电池负极材料技术领域。一种硅碳复合材料的制备方法,包括以下步骤:S1、将硅源与镁源球磨混合,热处理,得到混合物,将混合物进行酸处理、刻蚀,得到多孔硅;S2、将多孔硅浸渍在含磷源、碳源的混合溶液中水热反应,得到前驱体;S3、将前驱体进行煅烧、活化,得到硅碳复合材料。本发明制得的硅碳复合材料可以提升锂离子电池的循环稳定性,并且有效缓解体积膨胀。

单壁碳纳米管膜及其制造方法和设备

NºPublicación:  CN121626974A 10/03/2026
Solicitante: 
阿汤姆有限责任公司
CN_121626974_PA

Resumen de: US2023227313A1

Disclosed herein is an apparatus and method for fabrication of large diameter single-walled carbon nanotube films. Advantageously, large diameter single-walled carbon nanotube films may be useful as transparent electrodes with high transparency and lower sheet resistance. In one embodiment, the method includes supplying carrier carbon monoxide and catalyst precursor through a first inlet at a temperature below the reaction temperature of the catalyst precursor; supplying heated carbon monoxide through a second inlet such that the heated carbon monoxide mixes with the carrier carbon monoxide and the catalyst an aerosol; reacting the aerosol in a reaction chamber to form a composite aerosol of single walled carbon nanotubes, metal nanoparticles, carbon monoxide, and carbon dioxide. In this embodiment, the heated carbon monoxide heats the catalyst precursor which reacts with the carbon monoxide to form carbon nanotubes.

正极材料及其制备方法、电池单体、电池装置、用电装置

NºPublicación:  CN121642076A 10/03/2026
Solicitante: 
宁德时代新能源科技股份有限公司
CN_121642076_PA

Resumen de: CN121642076A

本申请公开了一种正极材料及其制备方法、电池单体、电池装置、用电装置,电池单体包括包括正极极片,正极极片包括正极集流体和位于正极集流体至少一侧的正极膜层,正极膜层包括正极材料,正极材料包括:内核,包括正极活性材料,正极活性材料包括含锂磷酸盐;碳包覆材料,覆盖内核的至少部分表面,碳包覆材料的拉曼图谱具有G峰和D峰,且ID/IG小于等于0.9。本申请实施例可以减少正极材料对电解液的催化氧化,改善电池单体的高温存储性能。

一种rGO纳米片及其制备方法和应用

NºPublicación:  CN121626978A 10/03/2026
Solicitante: 
中南大学
CN_121626978_PA

Resumen de: CN121626978A

本发明属于电池领域,具体涉及一种rGO纳米片的制备方法,将氧化石墨烯分散液经冷冻干燥处理,得到冷冻GO;再将冷冻GO预先在温度T1下进行第一段保温处理,再升温至温度T2并进行第二段保温处理,制得rGO纳米片;其中,温度T1为500~700℃;所述的温度T2为750~1500℃。本发明还包括所述的制备方法制得的rGO纳米片及其在制备集流体中的应用。本发明创新地将氧化石墨烯分散后进行冷冻干燥处理,随后进行后续的两段梯度热处理,如此能够可控地调控其缺陷程度,此外,还能够规避处理阶段的结构的大范围损伤,如此可以制备兼顾高比表面积、高导电、片层且缺陷可控的rGO材料,且所述的制备方法制得的所述材料用作集流体,可以表现出优异的性能。

一种锂硫电池用镍掺杂氧化铈/碳纳米管功能隔膜及其制备方法

NºPublicación:  CN121642438A 10/03/2026
Solicitante: 
合肥工业大学
CN_121642438_PA

Resumen de: CN121642438A

本发明公开了一种锂硫电池用镍掺杂氧化铈/碳纳米管功能隔膜及其制备方法。以常规商业电池隔膜为基体,在其一侧表面铺设镍掺杂氧化铈/碳纳米管(Ni‑CeO2‑x/CNT)复合材料为功能层。其中,交织网状结构的碳纳米管具备质轻、导电性高和机械性能优异等特性,不仅能够对多硫化物发挥物理阻挡作用,还可为电池系统提供良好的电子传导路径。镍掺杂进入氧化铈晶格后,丰富了极性Ni‑CeO2‑x中氧空位缺陷,从而促使其高效吸附多硫化物,并加速催化多硫化物转化,有效抑制锂硫电池的“穿梭效应”。因此,基于Ni‑CeO2‑x/CNT功能隔膜所组装的锂硫电池呈现出高比容量、优异的倍率性能和循环稳定性。

一种具有酶样活性的碳点材料及其制备方法和应用

NºPublicación:  CN121626973A 10/03/2026
Solicitante: 
江苏省人民医院(南京医科大学第一附属医院)
CN_121626973_A

Resumen de: CN121626973A

本发明公开一种具有酶样活性的碳点材料及其制备方法和应用,具有酶样活性的碳点材料采用水热法构建,包括以下元素:碳、氮、氧、硫、铁、氯,以下表面官能团:羟基、氨基、羧基、巯基、C‑N键、Fe‑O/Fe‑N键。本发明专利的具有酶样活性的碳点材料应用在有代谢相关性脂肪性肝病(MASLD)的小鼠能显著改善小鼠的表型、生化、血清学指标。对MASLD有显著的保护作用,具有广泛的应用前景。

一种基于奎宁掺杂荧光碳点的复合材料及其制备方法和用途

NºPublicación:  CN121628226A 10/03/2026
Solicitante: 
上海朗亿功能材料有限公司
CN_121628226_PA

Resumen de: CN121628226A

本发明属于荧光功能材料技术领域,具体涉及一种基于奎宁掺杂荧光碳点的复合材料及其制备方法和用途。复合材料包括聚合物基体和碳点,碳点为基于奎宁衍生物掺杂强化荧光碳点,基于奎宁衍生物掺杂强化荧光碳点的制备方法为:将有机碳源、氮源和掺杂剂溶解在溶剂中进行水热反应,掺杂剂为奎宁衍生物;水热反应前还进行微波反应,使得有机碳源和氮源发生预缩聚形成碳点预聚体,同时奎宁衍生物吸附掺杂在碳点预聚体中。复合材料的制备方法是将基于奎宁衍生物掺杂强化荧光碳点与聚合物基体混合均匀后加工成膜。本发明的复合材料具有优异的紫外吸收性能、荧光性能以及抗老化性能,可用于光伏、塑料、涂料等材料领域。

一种用于制备导电增强长碳链尼龙的石墨烯及其制备方法

NºPublicación:  CN121626979A 10/03/2026
Solicitante: 
山东东辰瑞森新材料科技有限公司
CN_121626979_A

Resumen de: CN121626979A

本发明涉及一种用于制备导电增强长碳链尼龙的石墨烯及其制备方法,其特征在于:将石墨作为阳极,铂片作为阴极,低共熔溶剂作为电解质,通过施加动态电压触发剥离过程,成功制备出少层石墨烯,产率高达85%。将剥离后的样品进行抽滤、收集、干燥,得到石墨烯填料。使用动态电位调控技术制备石墨烯,该方法高效环保,得到的石墨烯填料与尼龙和玻璃纤维均具有良好的相容性,开发出一种兼具高导电性、低吸湿性和优异力学性能的石墨烯增强尼龙复合材料。

纯化碳纳米管的方法

NºPublicación:  CN121646564A 10/03/2026
Solicitante: 
株式会社化学
CN_121646564_PA

Resumen de: WO2026010053A1

The present invention relates to a method for purifying carbon nanotubes, capable of obtaining high-purity purified carbon nanotubes in a high yield by heating crude carbon nanotubes containing a high content of metal oxides as impurities under a gas atmosphere and simultaneously supplying a halogen material and an oxygen removing material to the heated crude carbon nanotubes to induce a reaction.

전자 스핀 함유 재료 및 그 재료의 제조 방법

NºPublicación:  KR20260033528A 10/03/2026
Solicitante: 
아처머티리얼즈리미티드
KR_20260033528_PA

Resumen de: AU2024286636A1

The invention generally relates to new electron spin containing materials and in particular methods of preparing such materials in order to spatially separate electron spins from atmospheric oxygen and moisture.

一种基于水热法回收废旧生物质基树脂制备碳微球的方法

NºPublicación:  CN121609323A 06/03/2026
Solicitante: 
常州大学
CN_121609323_PA

Resumen de: CN121609323A

本发明公开了一种基于水热法回收废旧生物质基树脂制备碳微球的方法,属于废旧树脂回收与碳微球制备合成领域。本发明以双环戊二烯苯酚树脂代替部分间苯二酚,利用树脂分子量大的特点从而控制微球大小,最后使用回收树脂改性的从而制备的碳微球具有相对较好的球型度与更小的粒径,且其制备方法简单、反应条件温和。

一种单壁碳纳米管的纯化方法、高纯单壁碳纳米管及应用

NºPublicación:  CN121609327A 06/03/2026
Solicitante: 
江西紫宸科技有限公司
CN_121609327_PA

Resumen de: CN121609327A

本发明涉及碳纳米管除杂技术领域,尤其是涉及一种单壁碳纳米管的纯化方法、高纯单壁碳纳米管及应用。本发明的高纯单壁碳纳米管中的金属含量≤0.5wt%,结晶度W结晶为95%~98%;W结晶=100%‑W挥发‑W非晶‑MA·W灰分/(MA+x·MO);其中,W挥发、W非晶和W灰分分别为高纯单壁碳纳米管的热重曲线中0~300℃范围内纵轴衰减值,300~500℃范围内纵轴衰减值和纵轴极小值;MA为高纯单壁碳纳米管中含量最高的金属元素的相对原子质量;MO为氧元素的相对原子质量;x为高纯单壁碳纳米管中含量最高的金属元素的氧化物中的氧元素与金属元素的原子比。该高纯单壁碳纳米管纯度高、结晶度高、导电性好。

一种易去除聚合物提纯碳纳米管的方法

NºPublicación:  CN121609328A 06/03/2026
Solicitante: 
苏州烯晶半导体科技有限公司
CN_121609328_A

Resumen de: CN121609328A

本发明公开了一种易去除聚合物提纯碳纳米管的方法,属于半导体材料技术领域。该方法包括:将粗制碳纳米管原料与聚(2‑(甲基丙烯酰氧基)苯甲酸十二烷基酯)加入有机溶剂中混合;采用非接触式超声对混合液进行分散处理,利用聚合物分散剂对碳纳米管进行非共价包覆;对分散后的混合液进行离心沉降分离,去除含有杂质的上清液,收集沉淀物;利用良溶剂对沉淀物进行洗涤,溶解并去除碳纳米管表面的聚合物分散剂,获得提纯后的碳纳米管。本发明利用特定聚合物的易溶特性,无需酸处理即可通过溶剂洗涤彻底去除包覆剂,避免了化学残留和对碳纳米管结构的破坏,获得结构完整且极高纯度的碳纳米管。

一种低磁导率碳纳米管催化剂及其制备方法和低磁导率碳纳米管

NºPublicación:  CN121607163A 06/03/2026
Solicitante: 
深圳市飞墨科技有限公司曲靖市飞墨科技有限公司
CN_121607163_PA

Resumen de: CN121607163A

一种低磁导率碳纳米管催化剂及其制备方法和低磁导率碳纳米管,旨在克服现有技术中碳纳米管存在磁性催化剂颗粒残留,且不易去除,应用于电芯影响其性能的缺陷,该低磁导率碳纳米管催化剂包括:质量比为(2‑45):(0.5‑15)的催化活性组分和抗磁性固溶组分;抗磁性固溶组分能够改变催化活性组分的磁畴排列方式并降低其磁性;制备方法:将催化活性组分和抗磁性固溶组分的金属盐进行固溶处理,得到低磁导率碳纳米管催化剂;固溶处理使抗磁性固溶组分进入到催化活性组分中;抗磁性固溶组分的加入,改变了原催化活性组分的磁畴排列方式,得到了低磁导率的碳纳米管催化剂;制备得到低磁导率碳纳米管,相对磁导率远低于常规碳纳米管。

一种碳纳米管负载超小铂-稀土单原子合金纳米颗粒电催化剂的制备方法及应用

NºPublicación:  CN121610817A 06/03/2026
Solicitante: 
闽都创新实验室
CN_121610817_PA

Resumen de: CN121610817A

本发明提供了一种碳纳米管负载超小铂‑稀土单原子合金纳米颗粒电催化剂的制备方法及应用。所述方法包括:步骤(1):稀土氢氧化物/氧化物纳米棒的合成;步骤(2):通过多巴胺包覆再刻蚀制备含有稀土单原子的衍生碳纳米管载体;步骤(3):铂活性中心的负载与精准合金化。本发明合成方法普适性强,所需设备简单,所制备的铂‑稀土单原子合金纳米颗粒平均粒径小于4 nm,且其甲醇电氧化活性相较于20wt.%商业PtC提升十数倍,为制备负载型超小铂‑稀土单原子合金催化剂和高活性的甲醇电氧化催化材料提供了新的合成方案与设计思路。

BIFUCTIONAL ELECTROCATALYST, ITS PROCESS OF PREPARATION AND APPLICATION IN METAL AIR BATTERIES

NºPublicación:  WO2026047718A1 05/03/2026
Solicitante: 
COUNCIL OF SCIENT AND INDUSTRIAL RESEARCH [IN]
COUNCIL OF SCIENTIFIC AND INDUSTRIAL RESEARCH
WO_2026047718_A1

Resumen de: WO2026047718A1

The present invention relates to a solid-state rechargeable zinc-air battery featuring a novel bifunctional electrocatalyst, a dual-crosslinked polyacrylic acid hydrogel electrolyte, and a stannate-based additive for in situ zinc anode modification. The cathode comprises a gas diffusion layer coated with ruthenium-ruthenium oxide core-shell nanoparticles supported on nitrogen-doped graphene, providing enhanced bifunctional catalytic activity and stability. The anode consists of zinc metal modified in situ by a stannate-based additive to form a solid electrolyte interphase layer, effectively suppressing dendrite formation. The electrolyte membrane is a polyacrylic acid hydrogel, covalently and ionically cross-linked, and soaked in an aqueous solution containing potassium hydroxide, zinc acetate, and a stannate-based additive, resulting in improved mechanical strength, ionic conductivity, and battery safety. The integrated system delivers high power density, specific capacity, and robust cycling stability, offering a significant advancement in the field of solid-state zinc-air batteries.

ALUMINIUM-GRAPHENE NANOCOMPOSITES WITH HIGH ELECTRICAL AND THERMAL CONDUCTIVITY, AND METHODS FOR OBTAINING SAME VIA MICROSTRUCTURAL CONTROL

NºPublicación:  WO2026044373A1 05/03/2026
Solicitante: 
DELPHYS PARTNERS S/A [BR]
DELPHYS PARTNERS S/A
WO_2026044373_PA

Resumen de: WO2026044373A1

The present patent of invention relates to aluminium-graphene nanocomposites with high electrical and thermal conductivity, and methods for obtaining same via microstructural control, and more specifically to the incorporation of multilayer graphene nanoplatelets (mGNP or few-layer graphene), comprising up to 10 layers, into pure commercial aluminium or aluminium alloys, using electric furnaces. The nanocomposites obtained comprise an aluminium matrix with dispersed graphene as the reinforcing phase, in proportions ranging from 0.1 wt% to 3 wt%. In order to obtain the nanocomposites, gravity casting techniques were employed in resistive and induction furnaces, with adaptations to prevent oxidation through the use of an inert gas atmosphere. The methodology employed enables a significant increase in electrical conductivity, ranging from 45% to 95% relative to the as-received commercial material, depending on the amount of graphene added. The thermal diffusivity of the nanocomposites also increased by 15% to 50%, with a possible maximum of around 0.5 wt% to 1 wt% of graphene. Similarly, the general physical properties exhibited marked improvements, although the rate of improvement decreased for nanocomposites containing more than 2 wt% of graphene.

Carbon Nanotube Hybrid Materials and Methods of Producing the Hybrid Materials

NºPublicación:  US20260062300A1 05/03/2026
Solicitante: 
CHASM ADVANCED MAT INC [US]
Chasm Advanced Materials, Inc
US_20260062300_PA

Resumen de: US20260062300A1

Carbon nanotube (CNT) hybrid materials and methods of making such materials. A carbon nanotube (CNT) hybrid powder material includes a mesh of CNTs intimately interspersed with particles of a second material. In an example the material includes a blend that itself includes particles of a metal oxide supported catalyst and particles of a second material, and a mesh of CNTs is grown on the supported catalyst in the blend. The mesh of CNTs is effective to disperse the particles of the second material.

BIPOLAR PLATE FOR FUEL CELLS AND METHOD FOR MANUFACTURING SAME

Nº publicación: EP4704195A1 04/03/2026

Solicitante:

MCD TECH S A R L [LU]
MCD Technologies S.a.r.l

EP_4704195_PA

Resumen de: EP4704195A1

The invention relates to electrically conductive composite materials based on thermoplastic polymers containing carbon nanotubes, and to methods for manufacturing the same. The invention further relates to electrically conductive thin plates for use as bipolar plates in fuel cells, including, proton exchange membrane fuel cells. The present invention proposes a method for producing thin electrically conductive plates, and further proposes a thin bipolar plate with a thickness of less than 1 mm for a high-temperature fuel cell, said plate having gas transport channels on the surface thereof and containing a composite material comprised of a thermoplastic polymer and single-walled and/or double-walled carbon nanotubes, wherein the composite material contains connected regions having a carbon nanotube concentration of more than 1 wt.%, and domains having a size of less than 200 µm and a local concentration of carbon nanotubes of less than 1 wt.%.

traducir