Ministerio de Industria, Turismo y Comercio LogoMinisterior
 

Alerta

Resultados 20 resultados
LastUpdate Última actualización 12/03/2026 [07:04:00]
pdfxls
Solicitudes publicadas en los últimos 30 días / Applications published in the last 30 days
Resultados 1 a 20  

METHOD FOR DEVATTING THE GRAPE HARVEST

NºPublicación:  EP4707374A2 11/03/2026
Solicitante: 
PRODUCTOS AGROVIN S A [ES]
Productos Agrovin S.A
EP_4707374_PA

Resumen de: EP4707374A2

The invention relates to a method for devatting the grape harvest and a means for devatting a grape harvest via the pressurised injection of air or other gases in a controlled manner into self-emptying wine making vats or similar, for the purpose of emptying the grape harvest once the maceration thereof has been completed, after the homogenisation of the mixture, transferring the liquid portion to another tank and the crushed grape pulp to the press, thereby obtaining a solid phase (pomace) as a waste product which can be used to produce associated products.

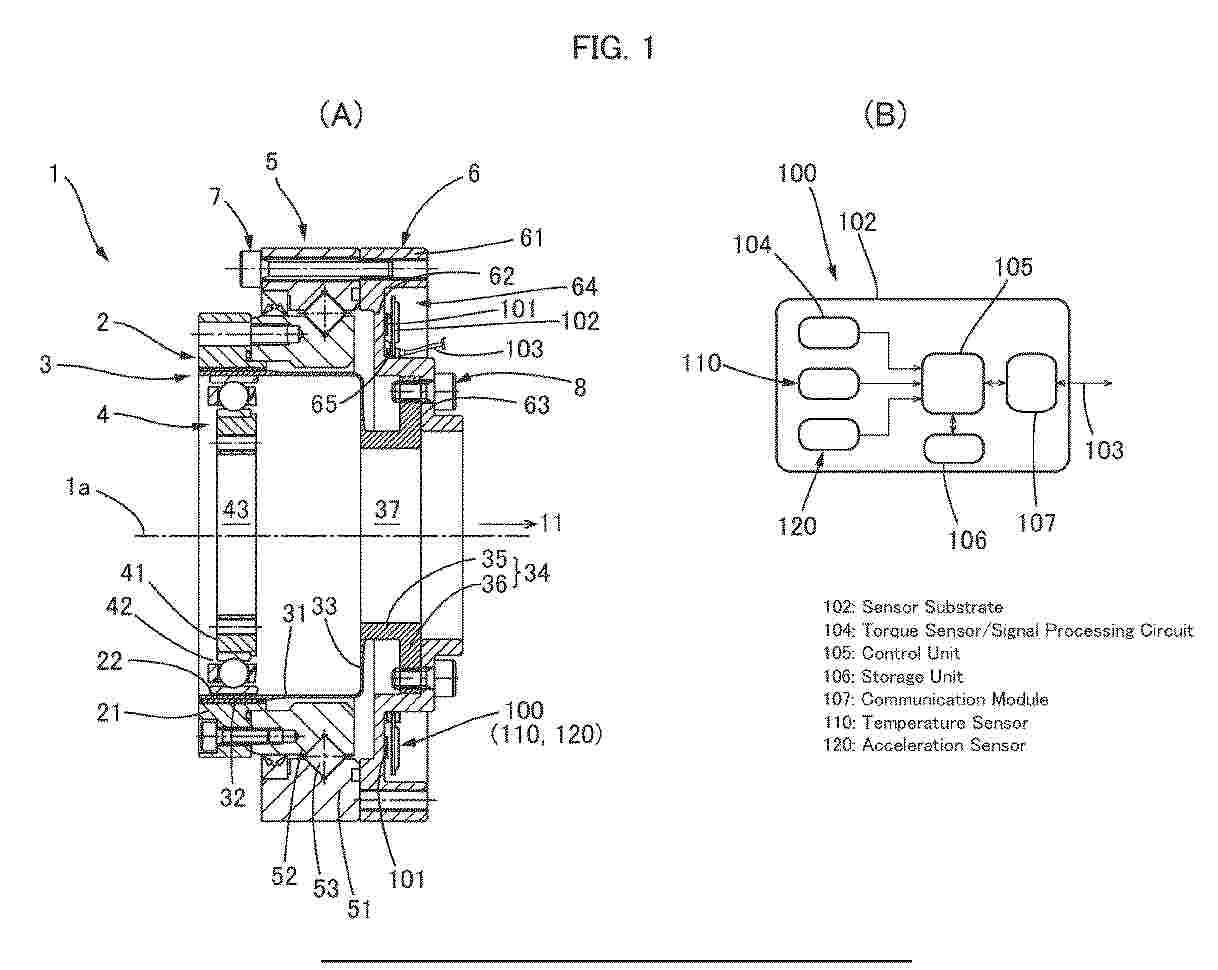
Heat-Shrinkable Tamper-Evident Seal with Integrated Environmental Sensors for Wine Bottles

NºPublicación:  US20260062189A1 05/03/2026
Solicitante: 
PARNESS MICHAEL [US]
KOVAL DOUGLAS [US]
Parness Michael,
Koval Douglas
US_20260062189_PA

Resumen de: US20260062189A1

A tamper-evident wine packaging system comprises a transparent, shrink-wrapped polymeric material that conforms tightly to a wine bottle, integrating irreversible thermochromic temperature indicators to signal exposure to temperatures outside preset thresholds. Additional sensors for shock, humidity, and RFID tracking may be incorporated. This innovative approach combines anti-tampering and environmental monitoring features into a sleek package, ensuring the authenticity, provenance, and optimal storage conditions of fine wines throughout the supply chain. The system streamlines quality assurance processes and facilitates trustworthy and efficient commerce in premium and collectable wines, representing a significant advancement in wine storage and authentication technology.

Tamper-Evident Container with Integrated Environmental Sensors for Storing and Monitoring Fine Wines

NºPublicación:  US20260062187A1 05/03/2026
Solicitante: 
KOVAL DOUGLAS [US]
PARNESS MICHAEL [US]
Koval Douglas,
Parness Michael
US_20260062187_PA

Resumen de: US20260062187A1

A tamper-evident container for storing and monitoring fine wines includes a receptacle portion for receiving a wine bottle or case, a lid portion that engages the receptacle to seal the contents, and integrated sensors for detecting temperature extremes, humidity, and shock. The container may include thermochromic temperature indicators, a tamper-evident locking mechanism, a humidity indicator, and a shock sensor. The invention comprehensively assures a wine's authenticity and ideal storage conditions throughout its lifecycle, enabling verification that the wine has not been subjected to tampering or improper storage. The unique integration of anti-tampering and environmental monitoring features enhances quality assurance and facilitates trustworthy and efficient commerce in collectable wines.

WINE GLASS COVER DEVICE

NºPublicación:  US20260060458A1 05/03/2026
Solicitante: 
DICUS BRETT [US]
Dicus Brett
US_20260060458_PA

Resumen de: US20260060458A1

A wine glass cover device for automatically opening and closing a wine glass includes a sleeve comprised of a resiliently stretchable material thereby enabling the sleeve to be positioned around the wine glass. A lid is pivotally disposed on the sleeve and the lid is biased into a closed position to inhibit insects from entering the wine glass. The lid is urgeable into an open position to enable the user to drink from the wine glass. An opening mechanism is movably attached to the sleeve and is in mechanical communication with the lid. The lid is urged into the open position when the trigger is depressed to enable to the user to drink from the wine glass. The opening mechanism biases the lid into the closed position when the trigger is not depressed.

METHOD FOR PREVENTING MOUSE TAINT IN FERMENTED BEVERAGES

NºPublicación:  WO2026047311A1 05/03/2026
Solicitante: 
LESAFFRE ET CIE [FR]
LESAFFRE ET COMPAGNIE
WO_2026047311_A1

Resumen de: WO2026047311A1

The present invention relates to the use of yeast hulls to treat the defect known as "mouse taint" in fermented beverages such as wine. The invention also relates to a method for preparing a fermented beverage comprising a step during which a fermented and/or fermentable beverage is brought into contact with yeast hulls. Treatment with yeast hulls makes it possible to reduce the concentration of molecules known to be responsible for the occurrence of mouse taint in wine.

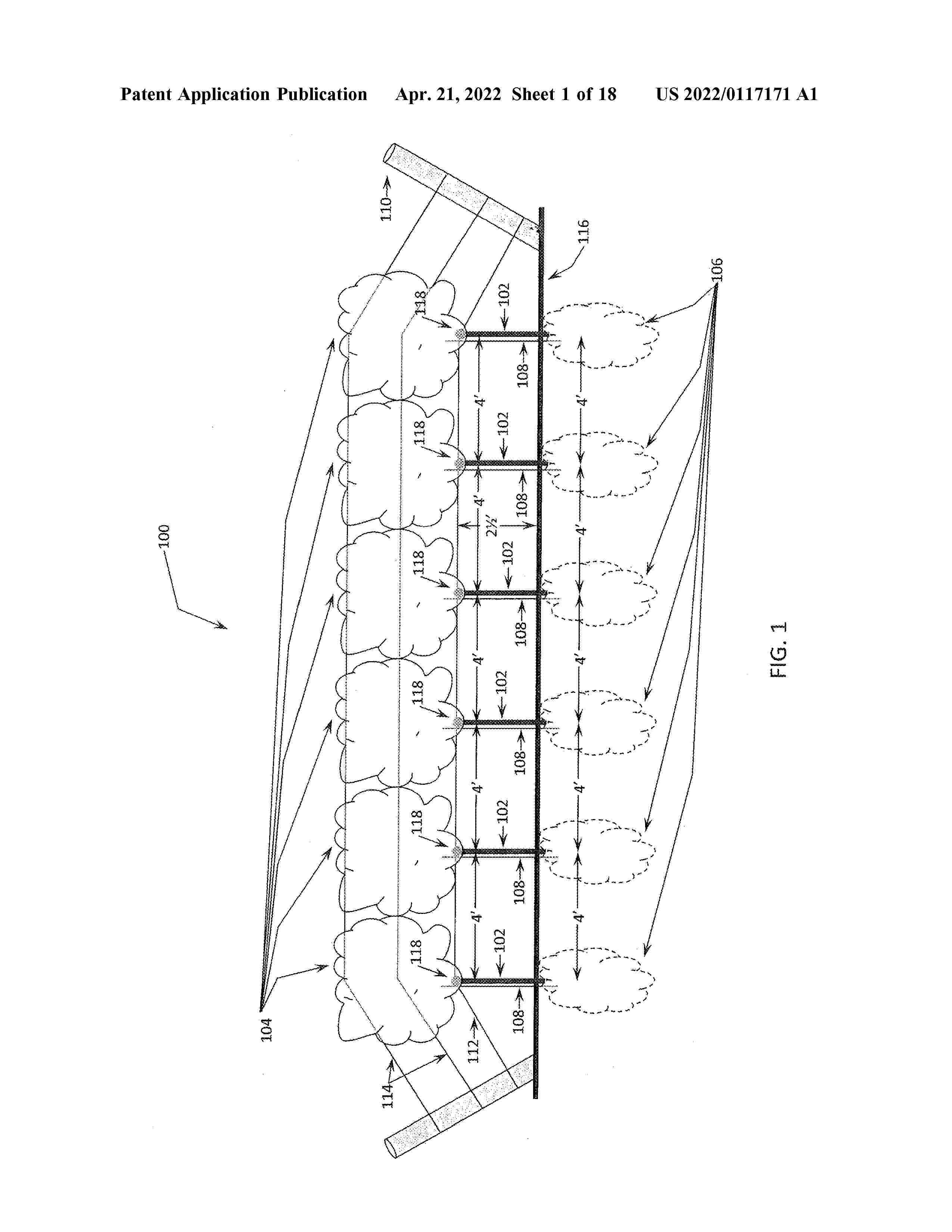
WINE BOTTLE TRACKING AND TEMPERATURE MONITORING APPARATUS

NºPublicación:  WO2026050336A1 05/03/2026
Solicitante: 
GREEN ALEX [SG]
GREEN, Alex
WO_2026050336_PA

Resumen de: WO2026050336A1

A wine bottle tracking and temperature monitoring label and methods of use thereof. The label can passively monitor temperature and other environmental conditions and provide a visual indication of proper or improper storage and handling. The label also includes or comprises an element enabling communication with a blockchain that stores, tracks, and records information about the labelled product. During a transaction, ownership information can be updated and a validated using the blockchain to verify authenticity and value. Similar, storage conditions can be validated through the visual indication provided by the label, providing further proof of product quality, safety, and value.

LONG SHELF LIFE SINGLE-SERVE PACKAGED WINE

NºPublicación:  WO2026041766A1 26/02/2026
Solicitante: 
ECOSIP SOLUTIONS LTD [GB]
ECOSIP SOLUTIONS LIMITED
WO_2026041766_A1

Resumen de: WO2026041766A1

A method of making a long shelf-life package containing wine is described, enabling it to have a long shelf-life and to remain indistinguishable from the same wine kept in a bottle. The method comprises encapsulating single-serve amounts of the wine into a series of flexible-walled containers, and sealing the amount therein substantially to fill each container, placing the filled containers into a holding container, placing the holding container into a pressure vessel, altering the pressure in the tank for a time period sufficient essentially to create a differential between any microbial organisms and their surrounding environment within each filled container in order to inactivate them, removing the filled containers from the holding container, and packaging them for shipping.

BIOMARKERS FOR CHRONIC FATIGUE SYNDROME AND LONG COVID AND USES THEREOF

NºPublicación:  US20260056211A1 26/02/2026
Solicitante: 
BRISTOL MYERS SQUIBB COMPANY [US]
BRISTOL-MYERS SQUIBB COMPANY
US_20260056211_PA

Resumen de: US20260056211A1

The present disclosure provides methods and kits using certain biomarkers in predicting and monitoring post-viral syndromes (for instance, chronic fatigue syndrome (CFS) and/or long CO VID), selectively treating such syndromes, and assessing clinical sensitivity and therapeutic response to treatments. Wherein determining an expression level of a biomarker in a sample from the subject is disclosed.

SURFACE LIGHT SOURCE MOUNTING STRUCTURE AND WINE CABINET

NºPublicación:  WO2026040279A1 26/02/2026
Solicitante: 
GUANGDONG CANDOR INTELLIGENT TECH CO LTD [CN]
\u5E7F\u4E1C\u51EF\u5F97\u667A\u80FD\u79D1\u6280\u80A1\u4EFD\u6709\u9650\u516C\u53F8
WO_2026040279_PA

Resumen de: WO2026040279A1

The present utility model relates to the technical field of light source mounting, and specifically relates to a surface light source mounting structure and a wine cabinet. The surface light source mounting structure comprises: an upper mounting member, a surface light source, side mounting members, side slots and lower support plates; the upper mounting member is provided with an upper retaining slot; the top end of the surface light source is located in the upper retaining slot; the side mounting members are located below the upper mounting member, and the side mounting members are arranged on two sides of the surface light source; the side slots are located on the two sides of the surface light source, and the side slots are fixedly connected to the surface light source, the side slots being lower than the upper retaining slot; the lower support plates are located below the side slots. In the present utility model, by means of providing the upper retaining slot and the lower support plates, the surface light source can be fixed, allowing the mounting process to be simpler and more efficient; moreover, the lower support plates protrude from the surface light source, such that there is no need to worry about the interference between the lower support plates and wine cabinet shelves during mounting, and there is also no need to perform complex adjustment, thereby improving working efficiency.

METHOD OF PRODUCING NON-ALCOHOLIC WINE

NºPublicación:  UA162143U 25/02/2026
Solicitante: 
USPALENKO OLHA VASYLIVNA [UA]
LIMITED LIABILITY COMPANY RES AND PRODUCTION CENTRE UKRANIAN WINE INSTITUTE [UA]
\u0423\u0441\u043F\u0430\u043B\u0435\u043D\u043A\u043E \u041E\u043B\u044C\u0433\u0430 \u0412\u0430\u0441\u0438\u043B\u0456\u0432\u043D\u0430,
\u0422\u041E\u0412\u0410\u0420\u0418\u0421\u0422\u0412\u041E \u0417 \u041E\u0411\u041C\u0415\u0416\u0415\u041D\u041E\u042E \u0412\u0406\u0414\u041F\u041E\u0412\u0406\u0414\u0410\u041B\u042C\u041D\u0406\u0421\u0422\u042E \"\u041D\u0410\u0423\u041A\u041E\u0412\u041E-\u0412\u0418\u0420\u041E\u0411\u041D\u0418\u0427\u0418\u0419 \u0426\u0415\u041D\u0422\u0420 \"\u0423\u041A\u0420\u0410\u0407\u041D\u0421\u042C\u041A\u0418\u0419 \u0406\u041D\u0421\u0422\u0418\u0422\u0423\u0422 \u0412\u0418\u041D\u0410\"
UA_162143_U

Resumen de: UA162143U

Method of producing non-alcoholic wine includes grape selection, fermentation of the must, and dealcoholization. To preserve the organoleptic properties of wine, vacuum distillation is used at a pressure of 50-60 mbar and a temperature of 40-60 °C. After dealcoholization, cryoconcentrate is added in an amount of 20-30 g/dm³, cooling to 0 °C, clarification, and stabilization are carried out before bottling.

Process for producing long-life single-serve wine portions through use of high differential pressure

NºPublicación:  GB2643556A 25/02/2026
Solicitante: 
ECOSIP SOLUTIONS LTD [GB]
ALEXANDER DAVID NICHOLAS TAYLOR [GB]
ecoSIP Solutions Limited,
Alexander David Nicholas Taylor
GB_2643556_A

Resumen de: GB2643556A

A process for producing long-life single-serve wine portions using high differential pressure to extend shelf life comprises applying high differential hydrostatic pressure to sealed winecontainers, effectively inactivating spoilage microorganisms without altering the wine's flavour and aroma characteristics. The process involves transferring the wine into a smallcontainer with minimal oxygen contact, sealing it, and subjecting it to high differential pressure for a specified period. This method has been shown to extend the shelf life of various wine styles, including those with low alcohol content, for up to 365 days at ambient temperature, overcoming limitations of existing packaging methods such as cans, bag-in-box, and plastic bottles.

WINE COOLER CONVENIENT FOR ADJUSTMENT OF SHELF SPACINGS

NºPublicación:  WO2026036706A1 19/02/2026
Solicitante: 
GUANG DONG VINOPRO APPLIANCES CO LTD [CN]
\u5E7F\u4E1C\u7EF4\u8BFA\u7535\u5668\u6709\u9650\u516C\u53F8
WO_2026036706_A1

Resumen de: WO2026036706A1

A wine cooler convenient for adjustment of shelf spacings, comprising: a housing (1), a liner (2), a box body (3) having a side opening, a foam thermal insulation layer, connecting members (4), three-section drawer slide rails (5), and shelves (6). At least two columns of longitudinally-arranged hole groups (21) are provided on each of two side walls of the liner (2); the connecting members (4) each comprise a longitudinal base plate (41), a bottom horizontal plate (421) and a bottom pin plate (422) which are provided at the lower end, and a top horizontal plate (43) and a fitting plate (44) which are provided at the upper end; the box body (3) is fitted with the outer surface of the side wall plate of the liner (2) and covers the longitudinally-arranged hole groups (21); the foam thermal insulation layer covers the box body (3); the shelves (6) are fixed to sliding rails (51) of the three-section drawer slide rails (5), and the longitudinal base plates (41) are fixed to fixed rails (53); each bottom pin plate (422) is inserted into a corresponding insertion hole (22), and each fitting plate (44) is fitted with the side wall plate portion above the corresponding insertion hole (22); a free end of each bottom pin plate (422) is located in the box body (3); and a plurality of insertion holes (22) are formed in the side wall plate portion between each top horizontal plate (43) and each bottom horizontal plate (421).

PHYTOLOGICAL COMPOSITION FOR THE TREATMENT OF SKIN CANCER

NºPublicación:  WO2026033009A1 12/02/2026
Solicitante: 
BOGONI SEBASTIANO STEFANO GIUSEPPE [AT]
PHYTOHEAL MEDTECH INT [AE]
BOGONI, Sebastiano Stefano Giuseppe,
PHYTOHEAL MEDTECH INTERNATIONAL
WO_2026033009_A1

Resumen de: WO2026033009A1

The present invention relates to a phytological composition for use in the treatment and/or prevention of skin cancer, in particular melanoma and non melanoma skin cancer. The phytological composition consists of a polysaccharide of Tremella fuciformis, an extract of leaves of Vitis vinifera, an extract of leaves of Astragalus membranaceus, an extract of Medicago sativa, an extract of Fucus vesiculosus, a powder of Spirulia platensis, an extract of root of Beta Vulgaris and an extract of Polygonum cuspidatum. The present invention also relates to pharmaceutical formulations comprising the phytological composition and suitable pharmaceutically acceptable excipients.

PHYTOLOGICAL COMPOSITION FOR THE TREATMENT OF NON-SKIN INFLAMMATORY DISEASES

NºPublicación:  WO2026033011A1 12/02/2026
Solicitante: 
BOGONI SEBASTIANO STEFANO GIUSEPPE [AT]
PHYTOHEAL MEDTECH INT [AE]
BOGONI, Sebastiano Stefano Giuseppe,
PHYTOHEAL MEDTECH INTERNATIONAL
WO_2026033011_A1

Resumen de: WO2026033011A1

The present invention relates to a phytological composition for topical use in the treatment of non-skin inflammatory diseases and associated chronic pain. The phytological composition consists of a polysaccharide of Tremella fuciformis, an extract of leaves of Vitis vinifera, an extract of leaves of Astragalus membranaceus, an extract of Medicago sativa, an extract of Fucus vesiculosus, a powder of Spirulia platensis, an extract of root of Beta vulgaris and an extract of Polygonum cuspidatum. The present invention also relates to pharmaceutical formulations compositions comprising the phytological composition together with suitable pharmaceutically acceptable excipients.

GLASS RACK AND DISHWASHER INCLUDING SAME

NºPublicación:  WO2026035047A1 12/02/2026
Solicitante: 
LG ELECTRONICS INC [KR]
\uC5D8\uC9C0\uC804\uC790 \uC8FC\uC2DD\uD68C\uC0AC
WO_2026035047_PA

Resumen de: WO2026035047A1

The present disclosure relates to a glass rack. The glass rack of the present disclosure comprises: a base frame; a lower part including a first holding rib which is disposed in the base frame and on which one side of a wine glass is disposed, and a second holding rib which is disposed in the base frame and spaced apart from the first holding rib and on which one side of a wine glass is disposed; a first upper part including a first upper frame which is fixed to the base frame and extends upward, and a first holder frame which protrudes from the first upper frame in a direction in which the first holding rib is disposed, and supports the other side of the wine glass disposed on the first holding rib; and a second upper part including a second upper frame which is fixed to the base frame and extends upward, and a second holder frame which protrudes from the second upper frame in a direction in which the second holding rib is disposed, and supports the other side of the wine glass disposed on the second holding rib, wherein the first upper frame and the second upper frame are inserted into one side of the base frame in a state in which the first and the second upper frame are coupled to each other.

PHYTOLOGICAL COMPOSITION AS A HEMOSTATIC AGENT

NºPublicación:  WO2026033010A1 12/02/2026
Solicitante: 
BOGONI SEBASTIANO STEFANO GIUSEPPE [AT]
PHYTOHEAL MEDTECH INT [AE]
BOGONI, Sebastiano Stefano Giuseppe,
PHYTOHEAL MEDTECH INTERNATIONAL
WO_2026033010_A1

Resumen de: WO2026033010A1

The present invention relates to a phytological composition as a hemostatic agent, for example for use in the treatment of wounds and/or bleeding lesions of the skin and/or mucous membranes. The phytological composition consists of a polysaccharide of Tremella fuciformis, an extract of leaves of Vitis vinifera, an extract of leaves of Astragalus membranaceus, an extract of Medicago sativa, an extract of Fucus vesiculosus, a powder of Spirulia platensis, an extract of root of Beta vulgaris and an extract of Polygonum cuspidatum. The present invention also relates to pharmaceutical formulations comprising said phytological composition together with suitable pharmaceutically acceptable excipients.

Method of manufacturing rice wine using barley

NºPublicación:  KR20260020815A 12/02/2026
Solicitante: 
농업회사법인주식회사교동양조장

Resumen de: KR20260020815A

본 발명은 보리를 이용하여 막걸리와 증류식 약주의 조성물과 그 제조 방법에 관한 것이며, 본 발명의 제조방법에 따라 제조된 막걸리는 보리 유래의 베타글루칸 및 안토시아닌 성분의 함량이 우수하여 혈중콜레스테롤을 저하시킬 수 있고 항산화력이 우수할 뿐만 아니라, 기존의 시판되는 막걸리에 비해 그 풍미와 관능미가 절대적으로 우수하여 건강지향적이면서 기호도가 증진된 보리막걸리 또는 약주의 제조방법에 관한 것이다.

UV-C SYSTEM AND METHOD FOR PRESERVING WINE IN VATS UNDER EMPTYING

NºPublicación:  EP4692294A1 11/02/2026
Solicitante: 
SAS OENOPROTECT [FR]
SAS OENOPROTECT
EP_4692294_PA

Resumen de: EP4692294A1

La présente invention concerne un nouveau procédé de conservation des liquides alimentaires (1) en cuve (2) tel que le vin, ledit procédé comportant une étape de stockage d'un liquide alimentaire (1) dans une cuve (2) partiellement vidangée ou remplie, et dans laquelle on réalise :-une étape de désinfection d'un espace de tête (3) de ladite cuve par irradiation de lumière UV au moyen d'un système UV-C (10), et dans laquelle l'espace de tête (3) est irradié en continu et sensiblement tout au long d'une durée de ladite étape de stockage.Ce procédé permet de conserver efficacement le vin en présence d'air et en absence de produits chimiques lors de son stockage temporaire en attente de stockage optimale. L'invention concerne également un système UV-C spécialement conçu pour ce procédé.

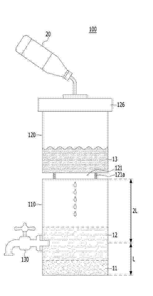
VINEGAR WITH NATURAL SWEETENER AND PRODUCTION METHOD THEREOF

NºPublicación:  EP4692295A1 11/02/2026
Solicitante: 
ROIG LORENZO IGNACIO [ES]
ROIG PEDROLA EMILIO [ES]
ROIG PEDROLA JOSEP [ES]
Roig Lorenzo, Ignacio,
Roig Pedrola, Emilio,
Roig Pedrola, Josep
EP_4692295_A1

Resumen de: EP4692295A1

Vinegar with natural sweetener, characterized by comprising a mixture of one liter of wine vinegar combined with between 20 and 30 grams of leaves of Stevia Rebaudiana Bertoni, which allows it to develop a product with new characteristic notes in terms of flavor. The method of obtaining the product comprises a first stage of filling barrels by mixing wine vinegar with the Stevia leaves until the barrel is filled to three-quarters of its capacity, with a proportion of between twenty and thirty grams of Stevia per liter of vinegar; a second stage in which a film known as the "mother of vinegar" is formed; and a third stage of emptying the product and refilling with wine or vinegar; all carried out at a constant temperature between 20°C and 40°C.

METHOD FOR SELECTIVELY CONTROLLING WEEDS

Nº publicación: EP4691241A1 11/02/2026

Solicitante:

BASF SE [DE]
BASF SE

EP_4691241_A1

Resumen de: EP4691241A1

A method for selectively controlling weeds, which comprises applying to the crop cultivation area an effective amount of a herbicide A or a herbicidal mixture comprising as a component 1) a herbicide A and as component 2) at least one further compound selected from compounds B to the cultivation area of the crops which are selected from the group comprising: almond (Prunus dulcis), apple (Malus spec.), apricot (Prunus armeniaca), asparagus (Asparagus officinalis), banana (Musa spec.), bean (Phaseolus spp.), bermudagras (Cynodon dactylon), black mustard (Brassica nigra), cabbage (Brassica oleracea), canola (Brassica napus var. napus), carot (Daucus carota), castor bean (Ricinus communis), centipede grass (Eremochloa ophiuroides), cherry (sour) (Prunus cerasus), cherry (sweet) (Prunus avium), cocoa (Theobroma cacao), coffe liberica (Coffea liberica), coffee arabica (Coffea arabica), coffee robusta (Coffea canephora), creeping bent grass (Agrostis stolonifera), cucumber (Cucumis sativus), faba bean (Vicia faba), flax (Linum usitatissimum), fodder beet (Beta vulgaris spec. rapa), grape vine (Vitis vinifera), hop (Humulus lupulus), kentucky blue grass (Poa pratensis), lemon (Citrus limon), lentils (Lens culinaris), millet (Sorghum bicolor), millet (Sorghum vulgare), nectarine (Prunus persica var. nucipersica), oil palm (Elaeis guineensis), oilseed trunip (Brassica rapa var. Silvestris), olive (Olea europaea), onion (Allium cepa), orange (Citrus sinensis), pea (Pisum sativum), peac

traducir