Ministerio de Industria, Turismo y Comercio LogoMinisterior
 

Alerta

Resultados 94 resultados
LastUpdate Última actualización 22/11/2025 [07:41:00]
pdfxls
Solicitudes publicadas en los últimos 30 días / Applications published in the last 30 days
Resultados 1 a 25 de 94 nextPage  

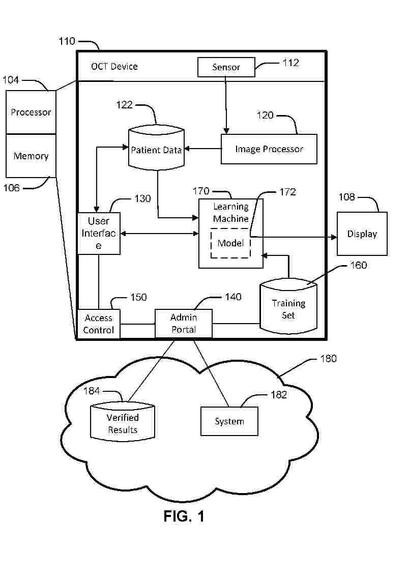
SYSTEMS, APPARATUS AND METHODS FOR TREATMENT OF RETINAL AND MACULAR DISEASES USING ARTIFICIAL INTELLIGENCE

NºPublicación:  AU2024267218A1 20/11/2025
Solicitante: 
LADAS JOHN GREGORY
LADAS, John Gregory
AU_2024267218_PA

Resumen de: AU2024267218A1

An optical coherence tomography (OCT) device includes artificial intelligence for recommending a treatment plan for a patient with a retinal or macular disease such as age-related macular degeneration (AMD). The OCT device includes a sensor configured to quantify an initial level of macular edema or retinal exudation. The OCT device receives treatment information for a series of anti-vascular endothelial growth factor (anti-VEGF) injections to the patient. The OCT device performs OCT on the patient subsequent to each anti-VEGF injection to determine subsequent levels of edema or retinal exudation. The OCT device collects a set of training data including: the initial and subsequent levels of edema or exudation, patient information, and treatment information. The OCT device applies the training data to a machine-learning model trained on training data for a plurality of patients to determine a treatment plan for the retinal or macular disease of the patient.

AI/ML POSITIONING TRAINING AND INFERENCE CONSISTENCY USING DATASET INDEXING

NºPublicación:  WO2025240170A1 20/11/2025
Solicitante: 
QUALCOMM INCORPORATED [US]
QUALCOMM INCORPORATED
WO_2025240170_PA

Resumen de: WO2025240170A1

Aspects presented herein may enable a consistency between multiple network entities in artificial intelligence (AI) or machine learning (ML) (AI/ML) related positioning training and inference. In one aspect, a first network entity transmits, to a second network entity, a request for an identifier (ID) to be used for indexing a set of datasets associated with at least one AI/ML model related to positioning. The first network entity receives, from the second network entity based on the request, the ID to be used for indexing the set of datasets associated with the at least one AI/ML model related to positioning. The first network entity stores, based on the ID, at least one of a set of positioning configurations or a set of radio statistics associated with the first network entity. The first network entity indexes the set of datasets with the ID.

EXPERIMENTAL CONTENT GENERATION LEARNING MODEL FOR RAPID MACHINE LEARNING IN A DATA-CONSTRAINED ENVIRONMENT

NºPublicación:  WO2025240061A1 20/11/2025
Solicitante: 
STATSKETCH INC [US]
STATSKETCH INC
WO_2025240061_PA

Resumen de: WO2025240061A1

Various embodiments are directed to an example apparatus, computer-implemented method, and computer program product for rapid machine learning in a data-constrained environment. Such embodiments may include using a decision space generation model to generate candidate content data objects based on content generation objectives. Such embodiments may further include generating a first plurality of rated content data objects for a first target client based on a first experimental classification group and generating a second plurality of rated content data objects for a second target client based on a second experimental classification group. Such embodiments may further generate, based on a learning model, the first experimental classification group, and the second experimental classification group, a custom output content set including one or more of the first plurality of rated content data objects and one or more of the second plurality of rated content data objects.

RETRIEVAL AUGMENTED GENERATION IN ARTIFICIAL INTELLIGENCE MODELS

NºPublicación:  WO2025239978A1 20/11/2025
Solicitante: 
QUALCOMM INCORPORATED [US]
QUALCOMM INCORPORATED
WO_2025239978_PA

Resumen de: WO2025239978A1

Certain aspects of the present disclosure provide techniques and apparatus for improved machine learning. In an example method, an input prompt for machine learning is received, and the input prompt is decomposed to generate a set of sub-prompts. A sequence of requests for sub-prompts of the set of sub-prompts that have sequential dependency is generated, and a parallel request for sub-prompts of the set of sub-prompts that do not have sequential dependency is generated. Based on evaluating the sequence of requests and the parallel request, an execution plan for using one or more machine learning models to generate a response to the input prompt is generated. The response to the input prompt is output according to the execution plan.

UTILIZING MACHINE-LEARNING MODELS TO GENERATE IDENTIFIER EMBEDDINGS AND DETERMINE DIGITAL CONNECTIONS BETWEEN DIGITAL CONTENT ITEMS

NºPublicación:  US2025355960A1 20/11/2025
Solicitante: 
DROPBOX INC [US]
Dropbox, Inc
US_2024320288_PA

Resumen de: US2025355960A1

The present disclosure relates to systems, methods, and non-transitory computer-readable media that utilize machine learning models to generate identifier embeddings from digital content identifiers and then leverage these identifier embeddings to determine digital connections between digital content items. In particular, the disclosed systems can utilize an embedding machine-learning model that comprises a character-level embedding machine-learning model and a word-level embedding machine-learning model. For example, the disclosed systems can combine a character embedding from the character-level embedding machine-learning model and a token embedding from the word-level embedding machine-learning model. The disclosed systems can determine digital connections between the plurality of digital content items by processing these identifier embeddings for a plurality of digital content items utilizing a content management model. Based on the digital connections, the disclosed systems can surface one or more digital content suggestions to a user interface of a client device.

ADAPTIVE NAVIGATION AND CONTENT-FIRST DYNAMIC SYSTEM

NºPublicación:  US2025355683A1 20/11/2025
Solicitante: 
BRAIN TECH INC [US]
Brain Technologies, Inc
WO_2025179287_PA

Resumen de: US2025355683A1

A system displays a first set of generative interfaces in a user interface. Each generative interface includes user interface elements that contain content specifying information of the generative interface. Responsive to receiving a user interaction with a user interface element, the system activates a dynamic input phase that dynamically generates responses during runtime of receiving user inputs to the user interface. The system receives a second user input and applies a machine learning model to the generative interface comprising the interacted user interface element, the content contained in the interacted user interface element and the content from the second user input. The system receives content as an output and updates the user interface to display a second set of generative interfaces. The second set of generative interfaces may include one or more runtime-determined user interface elements, and each runtime-determined user interface element include information associated with the received content.

HOMOMORPHICALLY ENCRYPTED DATA SYNTHESIS

NºPublicación:  WO2025237802A1 20/11/2025
Solicitante: 
BUNDESDRUCKEREI GMBH [DE]
BUNDESDRUCKEREI GMBH
WO_2025237802_PA

Resumen de: WO2025237802A1

Disclosed is a method for training a machine learning model for generating synthetic data, the method comprising: Providing an encrypted data set, resulting from encryption of an original data set, to a server, the encrypted data set comprising a set of entries, wherein each entry of the encrypted data set comprises values for a set of attributes; application of a homomorphic machine learning algorithm for data synthesis comprising a set of homomorphic group operations on the encrypted data set, such a homomorphic algorithm as understood herein encompasses any algorithm the execution of which causes the decrypted results to coincide with the results of applying the same homomorphic group operations on the original data set.

SYSTEMS AND METHODS FOR EVALUATING DATA FOR TRAINING MACHINE-LEARNING MODELS

NºPublicación:  WO2025237631A1 20/11/2025
Solicitante: 
ASML NETHERLANDS B V [NL]
ASML NETHERLANDS B.V
WO_2025237631_PA

Resumen de: WO2025237631A1

Improved systems and methods for constructing a machine-learning model associated with lithography are disclosed. The method may include accessing a first set of data comprising metrology data, training a machine-learning model iteratively based on the first set of data, the machine-learning model associated with a lithography process, obtaining information generated by the machine- learning model from each of multiple iterations during the training, and identifying outlier data from the first set of data based on the obtained information.

AI/ML POSITIONING TRAINING AND INFERENCE CONSISTENCY USING DATASET INDEXING

NºPublicación:  US2025358769A1 20/11/2025
Solicitante: 
QUALCOMM INCORPORATED [US]
QUALCOMM Incorporated
WO_2025240170_PA

Resumen de: US2025358769A1

Aspects presented herein may enable a consistency between multiple network entities in artificial intelligence (AI) or machine learning (ML) (AI/ML) related positioning training and inference. In one aspect, a first network entity transmits, to a second network entity, a request for an identifier (ID) to be used for indexing a set of datasets associated with at least one AI/ML model related to positioning. The first network entity receives, from the second network entity based on the request, the ID to be used for indexing the set of datasets associated with the at least one AI/ML model related to positioning. The first network entity stores, based on the ID, at least one of a set of positioning configurations or a set of radio statistics associated with the first network entity. The first network entity indexes the set of datasets with the ID.

IDENTIFYING SEPARATION-RELATED PROBLEMS IN PETS

NºPublicación:  WO2025238443A1 20/11/2025
Solicitante: 
SOC DES PRODUITS NESTLE SA [CH]
SOCIETE DES PRODUITS NESTLE SA
WO_2025238443_PA

Resumen de: WO2025238443A1

The present disclosure relates to systems, methods, and program applications for identifying separation-related problems in a pet. The methods, for example, can include identifying the presence or absence of multiple behavioral signs exhibited by a pet where each of the multiple behavioral signs are given a sign score based on binary annotations representing either the presence or the absence of each of the behavioral signs, and grouping subsets of the multiple behavioral signs into one of multiple principal component behavioral groupings using the binary annotations to generate principal component scores for each of the multiple principal component behavioral groupings. Methods can also include using one or more machine-learning algorithms under the control of at least one processor for accessing and correlating the principal component scores for each of the multiple principal component behavioral groupings with a population cluster associated with a type of separation-related problem.

SYSTEMS AND METHODS FOR MITIGATING TRAVEL-RELATED TRANSACTION FRAUD RISK USING MACHINE LEARNING MODEL.

NºPublicación:  US2025348879A1 13/11/2025
Solicitante: 
EXPEDIA INC [US]
Expedia, Inc

Resumen de: US2025348879A1

A computing system for automated fraud risk reduction for travel-related transactions, the computing system including at least one processing circuit including at least one processor and at least one memory, the at least one memory storing instructions therein that, when executed by the at least one processor, cause the at least one processor to: receive data corresponding to a first travel-related transaction, process, using a first machine learning model, the data to automatically generate an output data set comprising a plurality of characteristics relating to the first travel-related transaction, the first machine learning model configured to generate the output data set by identifying the plurality of characteristics to include responsive to determining the plurality of characteristics are potentially relevant to a determination of whether the first travel-related transaction is fraudulent, and provide the generated output data set for use in analyzing whether the first travel-related transaction is fraudulent.

SYSTEMS AND METHODS FOR MITIGATING TRAVEL-RELATED TRANSACTION FRAUD RISK USING MACHINE LEARNING MODEL

NºPublicación:  WO2025235501A1 13/11/2025
Solicitante: 
EXPEDIA INC [US]
EXPEDIA, INC
WO_2025235501_PA

Resumen de: WO2025235501A1

A computing system for automated fraud risk reduction for travel-related transactions, the computing system including at least one processing circuit including at least one processor and at least one memory, the at least one memory storing instructions therein that, when executed by the at least one processor, cause the at least one processor to: receive data corresponding to a first travel -related transaction, process, using a first machine learning model, the data to automatically generate an output data set comprising a plurality of characteristics relating to the first travel-related transaction, the first machine learning model configured to generate the output data set by identifying the plurality of characteristics to include responsive to determining the plurality of characteristics are potentially relevant to a determination of whether the first travel -related transaction is fraudulent, and provide the generated output data set for use in analyzing whether the first travel -related transaction is fraudulent.

MACHINE LEARNING APPROACH FOR DESCRIPTIVE, PREDICTIVE, ANDPRESCRIPTIVE FACILITY OPERATIONS

NºPublicación:  US2025348062A1 13/11/2025
Solicitante: 
CHEVRON U S A INC [US]
Chevron U.S.A. Inc
JP_2025517124_PA

Resumen de: US2025348062A1

A digital twin of a facility defines relationships between different components of the facility and a system of record for the facility. Information from different monitoring systems for the facility are related to events by the digital twin of the facility. Historical operation information for the facility is used to train a machine learning model. The trained machine learning model facilitates operations at the facility by providing descriptive information, predictive information, and/or prescriptive information on the operations at the facility.

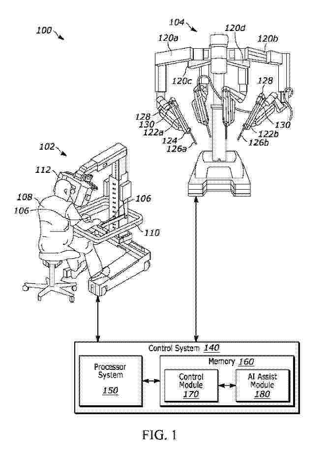
ROBOTIC MEDICAL SYSTEM WITH MACHINE LEARNING PREDICTED PROCEDURE OUTCOMES FOR SCENARIOS

NºPublicación:  WO2025235630A1 13/11/2025
Solicitante: 
INTUITIVE SURGICAL OPERATIONS INC [US]
INTUITIVE SURGICAL OPERATIONS, INC
WO_2025235630_PA

Resumen de: WO2025235630A1

Machine learning predicted outcomes for scenarios of a procedure performed with a robotic medical system is provided. A system can identify state information related to a medical procedure to be performed by a robotic medical system. The system can generate, using the state information and with one or more models trained by machine learning, scenarios of operation of the robotic medical system to perform the medical procedure. The system can determine, using the one or more models, performance metrics for the scenarios. The system can select, based on a comparison of the performance metrics for the scenarios, a scenario of the scenarios for operation. The system can provide an indication of the selected scenario to cause the robotic medical system to perform at least a portion of the medical procedure in accordance with the selected scenario.

GENERATION OF TOY CONSTRUCTION MODELS

NºPublicación:  WO2025233314A1 13/11/2025
Solicitante: 
LEGO AS [DK]
LEGO A/S
WO_2025233314_PA

Resumen de: WO2025233314A1

A computer-implemented method of creating a digital representation of a toy construction model, the method comprising: receiving a user prompt to create a digital representation of a toy construction model, the user prompt including one or more desired attributes of the toy construction model; using a generative machine-learning model to create, based on the user prompt, a structured representation of a toy construction model, the toy construction model being constructed from a set of mutually interconnected toy construction elements, the structured representation being indicative of the toy construction elements of said set and of the mutual interconnections between respective ones of said toy construction elements; translating the created structured representation into a digital 2D or 3D representation of a visual appearance of the toy construction model and/or into a set of building instructions for creating the toy construction model.

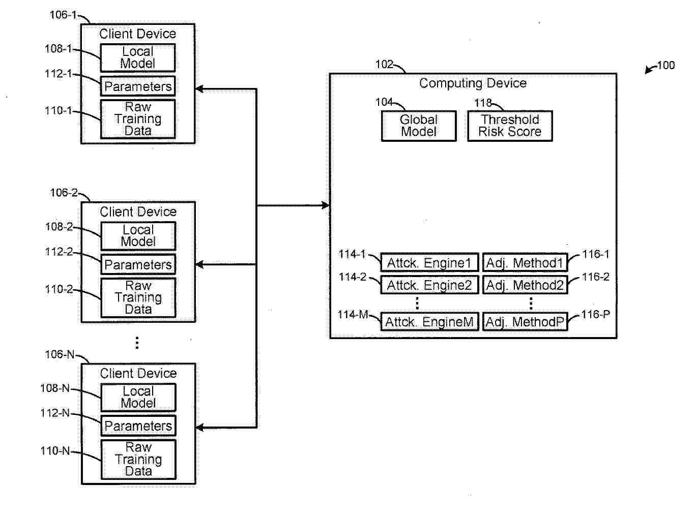
System and Method for Surfacing Cyber-Security Threats with a Self-Learning Recommendation Engine

NºPublicación:  US2025350634A1 13/11/2025
Solicitante: 
GOOGLE LLC [US]
Google LLC
US_2023336586_PA

Resumen de: US2025350634A1

Techniques for performing cyber-security alert analysis and prioritization according to machine learning employing a predictive model to implement a self-learning feedback loop. The system implements a method generating the predictive model associated with alert classifications and/or actions which automatically generated, or manually selected by cyber-security analysts. The predictive model is used to determine a priority for display to the cyber-security analyst and to obtain the input of the cyber-security analyst to improve the predictive model. Thereby the method implements a self-learning feedback loop to receive cyber-security alerts and mitigate the cyberthreats represented in the cybersecurity alerts.

SYSTEM AND METHOD FOR MEMORY CREATION

NºPublicación:  US2025350815A1 13/11/2025
Solicitante: 
APPLE INC [US]
Apple Inc
CN_120935315_PA

Resumen de: US2025350815A1

The present disclosure generally relates to generating a video corresponding to a memory (e.g., an event or context) from media assets on a device. In some embodiments, the device receives user inputs requesting a video based on a natural language description of a memory. The device sends information of the natural language description to a first machine-learning (ML) model, and receives query tokens, which are used to find media items on the device that match the query tokens. The device sends information representing the found media items to another ML model that determines traits from the media items. These traits are sent to a third ML model to generate a story outline, and the video is generated by comparing the descriptions of shots in the story outline to visual embeddings of the found media assets to curate and arrange them into the video consistent with the story outline.

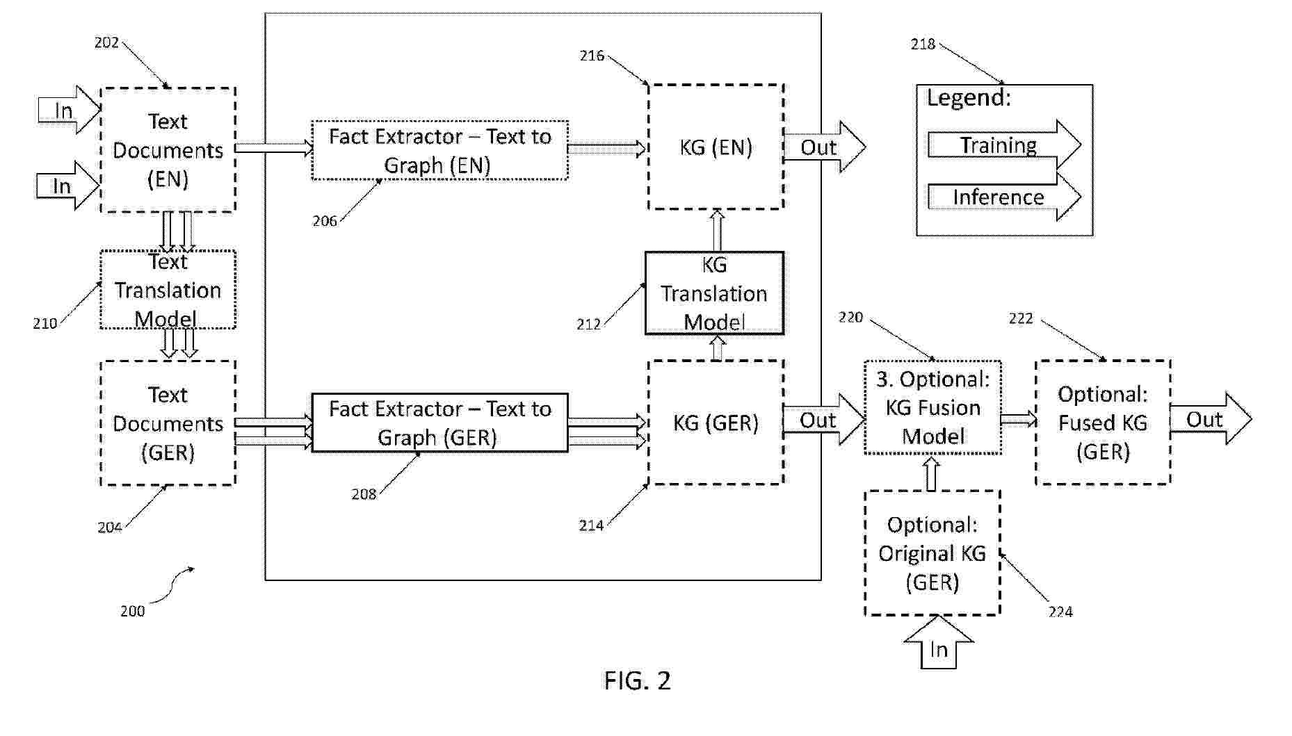
UNIFORM ANALYSIS OF MULTILINGUAL RECORDS VIA KNOWLEDGE GRAPH TRANSLATION AND TRANSFER LEARNING

NºPublicación:  WO2025233668A1 13/11/2025
Solicitante: 
NEC LABORATORIES EUROPE GMBH [DE]
NEC LABORATORIES EUROPE GMBH
WO_2025233668_PA

Resumen de: WO2025233668A1

A computer-implemented method includes receiving input text documents in a majority language and training a plurality of models using the input text documents. Training the plurality of models using the input text documents includes conjunctively training a text to knowledge graph model in the majority language and a text to knowledge graph model in the minority language and conjunctively training a text translation model and a knowledge graph translation model, wherein one or more weights from the text to text translation model is shared with the knowledge graph translation model. The method has applications including, but not limited to, use cases in machine learning and medicine / healthcare, e.g., performing uniform analysis of multilingual records of a patient via knowledge graph translation and transfer learning, and improving text to knowledge graph extraction and knowledge graph translation for medical records in multiple languages, which can help optimize decision making.

METHODS AND SYSTEMS FOR OPTIMIZING SUPPLEMENT DECISIONS

NºPublicación:  US2025349438A1 13/11/2025
Solicitante: 
KPN INNOVATIONS LLC [US]
KPN Innovations LLC
US_2021166818_A1

Resumen de: US2025349438A1

A system for optimizing supplement decisions is disclosed. The system includes a computing device configured to receive a longevity inquiry from a remote device. The system retrieves a biological extraction pertaining to a user and identifies a longevity element associated with a user. The system selects an ADME model utilizing a biological extraction. The system generates a machine-learning algorithm utilizing the selected ADME model to input a longevity element associated with a user as an input and output an ADME factor. The system identifies a second longevity element compatible with the ADME factor as a function of the first longevity element. The system selects the second longevity element as a tolerant longevity element. A method for optimizing supplement decisions is also disclosed.

SYSTEMS AND METHODS FOR ANALYZING AND MITIGATING COMMUNITY-ASSOCIATED RISKS

NºPublicación:  US2025348967A1 13/11/2025
Solicitante: 
STATE FARM MUTUAL AUTOMOBILE INSURANCE COMPANY [US]
State Farm Mutual Automobile Insurance Company
US_2024127385_PA

Resumen de: US2025348967A1

A computer system for analyzing and mitigating risks associated with a building is provided. The computer system is configured to: (i) receive environment data from the at least one sensor; (ii) receive building data from the at least one database; (iii) utilize a trained machine learning model to determine at least one potential risk associated with the building based upon the environment data and the building data; (iv) generate a building risk profile that includes the at least one potential risk associated with the building; and/or (v) generate a risk mitigation output based upon at least one of the building risk profile and the at least one potential risk, wherein the risk mitigation output includes at least one of a risk alert, a risk mitigation recommendation, and risk mitigation instructions. Computer systems for analyzing and mitigation risks associated with a city, a user, and an event are also provided.

METHODS AND SYSTEMS FOR DETERMINING DENTAL CARIES

NºPublicación:  US2025349433A1 13/11/2025
Solicitante: 
J CRAIG VENTER INST INC [US]
J. Craig Venter Institute, Inc
WO_2023220080_PA

Resumen de: US2025349433A1

A sequencing module configured to provide metatranscriptomic reads from an oral sample from a subject; metatranscriptomic reads from the sequencing of oral sample and identify and cluster microbes identified in the oral sample into taxon clusters (TCs) using the metatranscriptomic reads mapped to a metagenomic library; generate TC-specific orthogroups for each of the TCs via protein clustering; determine KEGG orthology for each of the TC-specific orthogroups, or genes directly; generate phylogenomic functional categories (PGFCs) from grouping of gene expression counts by the KEGG modules for each of the TCs; retain the PGFCs having an MCR above an MCR threshold to obtain input data; and identify or predict, using a classifier model including variables selected by a feature selection machine learning algorithm, dental caries in said subject based on the input data.

MACHINE LEARNING MODEL FOR DETERMINING A TIME INTERVAL TO DELAY BATCHING DECISION FOR AN ORDER RECEIVED BY AN ONLINE CONCIERGE SYSTEM TO COMBINE ORDERS WHILE MINIMIZING PROBABILITY OF LATE FULFILLMENT

NºPublicación:  US2025348921A1 13/11/2025
Solicitante: 
MAPLEBEAR INC [US]
Maplebear Inc
CA_3240777_PA

Resumen de: US2025348921A1

An online concierge identifies orders to shoppers, allowing shoppers to select orders for fulfillment. The online concierge system may generate batches that include multiple orders, allowing a shopper to select a batch to fulfill multiple orders. As orders are continuously being received, delaying identification of orders to shoppers may allow greater batching of orders. To allow greater opportunities for batching, the online concierge system estimates a benefit for delaying identification of an order by different time intervals and predicts an amount of time to fulfill the order. The online concierge system then delays assigning orders for which there is a threshold benefit for delaying and selects a time interval for delaying identification of the order that does not result in greater than a threshold likelihood of a late fulfillment of the order.

ENTERPRISE NETWORK THREAT DETECTION

NºPublicación:  US2025348819A1 13/11/2025
Solicitante: 
SOPHOS LTD [GB]
Sophos Limited
US_2025328845_PA

Resumen de: US2025348819A1

In a threat management platform, a number of endpoints log events in an event data recorder. A local agent filters this data and feeds a filtered data stream to a central threat management facility. The central threat management facility can locally or globally tune filtering by local agents based on the current data stream, and can query local event data recorders for additional information where necessary or helpful in threat detection or forensic analysis. The central threat management facility also stores and deploys a number of security tools such as a web-based user interface supported by machine learning models to identify potential threats requiring human intervention and other models to provide human-readable context for evaluating potential threats.

SYSTEM FOR VISUALIZING CARBON EMISSIONS OF MACHINE LEARNING MODEL

NºPublicación:  WO2025234546A1 13/11/2025
Solicitante: 
UNIV OF SEOUL INDUSTRY COOPERATION FOUNDATION [KR]
\uC11C\uC6B8\uC2DC\uB9BD\uB300\uD559\uAD50 \uC0B0\uD559\uD611\uB825\uB2E8
WO_2025234546_PA

Resumen de: WO2025234546A1

The present invention discloses a system for visualizing carbon emissions. More specifically, the present invention relates to a system for calculating and visualizing carbon emissions generated by applying a machine learning model to various technical fields. According to an embodiment of the present invention, a developer accesses a system online to obtain information on carbon emissions for various ML models, selects a model to be reviewed among a plurality of registered ML models, and uploads prepared query data, and the system converts and inputs the query data into the ML model, and provides, in a graph form, carbon emissions for each inference process generated by performing analysis, so that the developer can easily check the carbon emissions of the ML model being developed thereby.

Secure Messaging in a Machine Learning Blockchain Network

Nº publicación: US2025348617A1 13/11/2025

Solicitante:

LEDGERDOMAIN INC [US]
LedgerDomain Inc

US_2024104243_PA

Resumen de: US2025348617A1

Multi-layer ensembles of neural subnetworks are disclosed. Implementations can classify inputs indicating various anomalous sensed conditions into probabilistic anomalies using an anomaly subnetwork. Determined probabilistic anomalies are classified into remedial application triggers invoked to recommend or take actions to remediate, and/or report the anomaly. Implementations can select a report type to submit, or a report recipient, based upon the situation state, e.g., FDA: Field Alert Report (FAR), Biological Product Deviation Report (BPDR), Medwatch, voluntary reporting by healthcare professionals, consumers, and patients (Forms 3500, 3500A, 3500B, Reportable Food Registry, Vaccine Adverse Event Reporting System (VAERS), Investigative Drug/Gene Research Study Adverse Event Reports, Potential Tobacco Product Violations Reporting (Form 3779), USDA: APHIS Center for Veterinary Biologics Reports, Animal and Plant Health Inspection Service: Adverse Event Reporting, FSIS Electronic Consumer Complaints, DEA Tips, Animal Drug Safety Reporting, Consumer Product Safety Commission Reports, State/local reports: Health Department, Board of Pharmacy.

traducir