Ministerio de Industria, Turismo y Comercio LogoMinisterior
 

Alerta

Resultados 140 resultados
LastUpdate Última actualización 22/10/2025 [08:05:00]
pdfxls
Solicitudes publicadas en los últimos 30 días / Applications published in the last 30 days
Resultados 1 a 140  

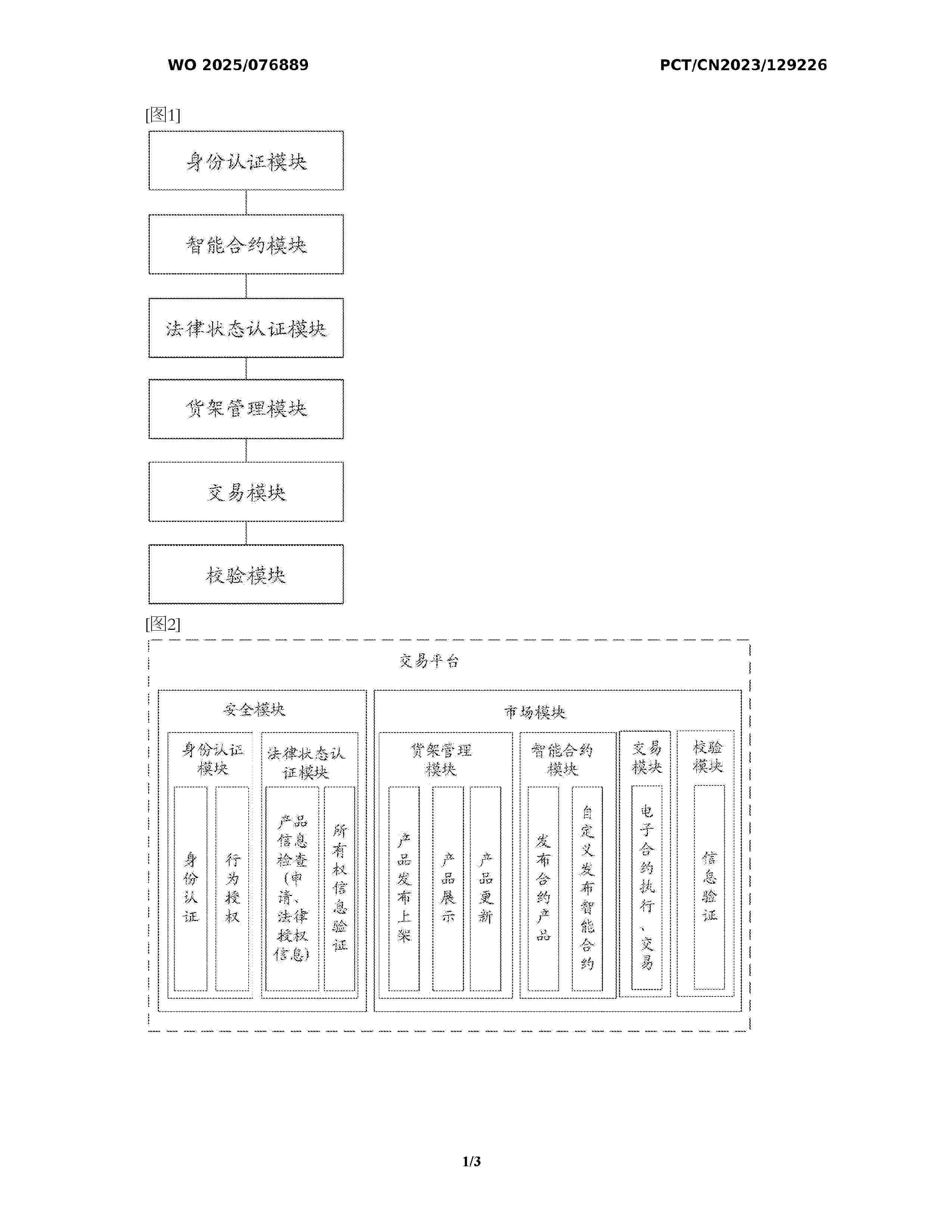
METHODS, ARCHITECTURES, APPARATUSES AND SYSTEMS DIRECTED TO BLOCKCHAIN-ENABLED COLLABORATIVE APPLICATION DEPLOYMENT AND OPERATION

NºPublicación:  WO2025217178A1 16/10/2025
Solicitante: 
INTERDIGITAL PATENT HOLDINGS INC [US]
INTERDIGITAL PATENT HOLDINGS, INC
WO_2025217178_PA

Resumen de: WO2025217178A1

Procedures, methods, architectures, apparatuses, systems, devices, and computer program products directed to blockchain-enabled collaborative application deployment and operation in wired and/or wireless communications are provided. Among the methods is a method that may include transmitting a request to join a collaboration group associated with a set of collaborative applications; receiving, based on the request, a response including information indicating a proposal of a smart contract; transmitting feedback based on the proposal of the smart contract; and receiving an acknowledgement notification indicating status information of the smart contract and that one or more devices have joined the collaboration group.

SYSTEM AND METHOD FOR DETERMINING VOTER ELIGIBILTY AND FACILITATING SECURE ELECTRONIC VOTING

NºPublicación:  US2025322708A1 16/10/2025
Solicitante: 
JPMORGAN CHASE BANK N A [US]
JPMorgan Chase Bank, N.A
US_2024078859_PA

Resumen de: US2025322708A1

A method for performing a determination of voter eligibility and facilitation of secure electronic voting is provided. The method includes authenticating a voter according to security setting and displaying a voting page for a jurisdiction corresponding to the voter's residence. The method then transmits to an adjudicating entity, voter information for determination of voter eligibility, and stores the voter information in a non-public blockchain. The method further includes determining whether the voter is eligible to vote based on the voter information stored in the non-public blockchain, generating a unique voter specific ballot for the voter in response to a determination that the voter is eligible to vote, and transmitting, to the adjudicating entity, a ballot selection received from the voter. The ballot selection is then stored on a public blockchain, and made available for release.

A MPC SYSTEM FOR CROSS-CHAIN COMMUNICATION BETWEEN MPC GROUPS

NºPublicación:  WO2025215021A1 16/10/2025
Solicitante: 
PARTISIA INFRASTRUCTURE APS [DK]
PARTISIA INFRASTRUCTURE APS
WO_2025215021_PA

Resumen de: WO2025215021A1

A MPC system and a method is provided to reduce the total costs of a multi-party computation using pre-processed data in a secure manner and ensure a high quality and validity of the computation when using pre-processed data in the MPC, such that the MPC protocol can perform the required computation in an easy and rapid manner. The MPC system for cross-chain communication between MPC groups comprises a plurality of servers to execute programs related to MPC or blockchains. The MPC system comprises MPC computing groups comprising at least two servers, wherein the MPC computing group is configured to perform MPC using MPC pre-processed data, wherein said MPC computing group is configured to be in communication with a first blockchain. One or more MPC pre-processing groups comprising at least two servers, wherein the MPC pre-processing group is configured to generates MPC pre-processed data, wherein said MPC pre-processing group is configured to be in communication with a second blockchain. At least one first server supports the first blockchain and at least one second server supports the second blockchain. The MPC computing group generates an order for MPC pre-processed data in the first blockchain. The first blockchain deploys the order for the MPC pre-processed data into the second blockchain. The second blockchain is configured to selects MPC pre-processing group or groups to provide the MPC pre-processed data. The selected MPC pre-processing group provides the MPC pre-proce

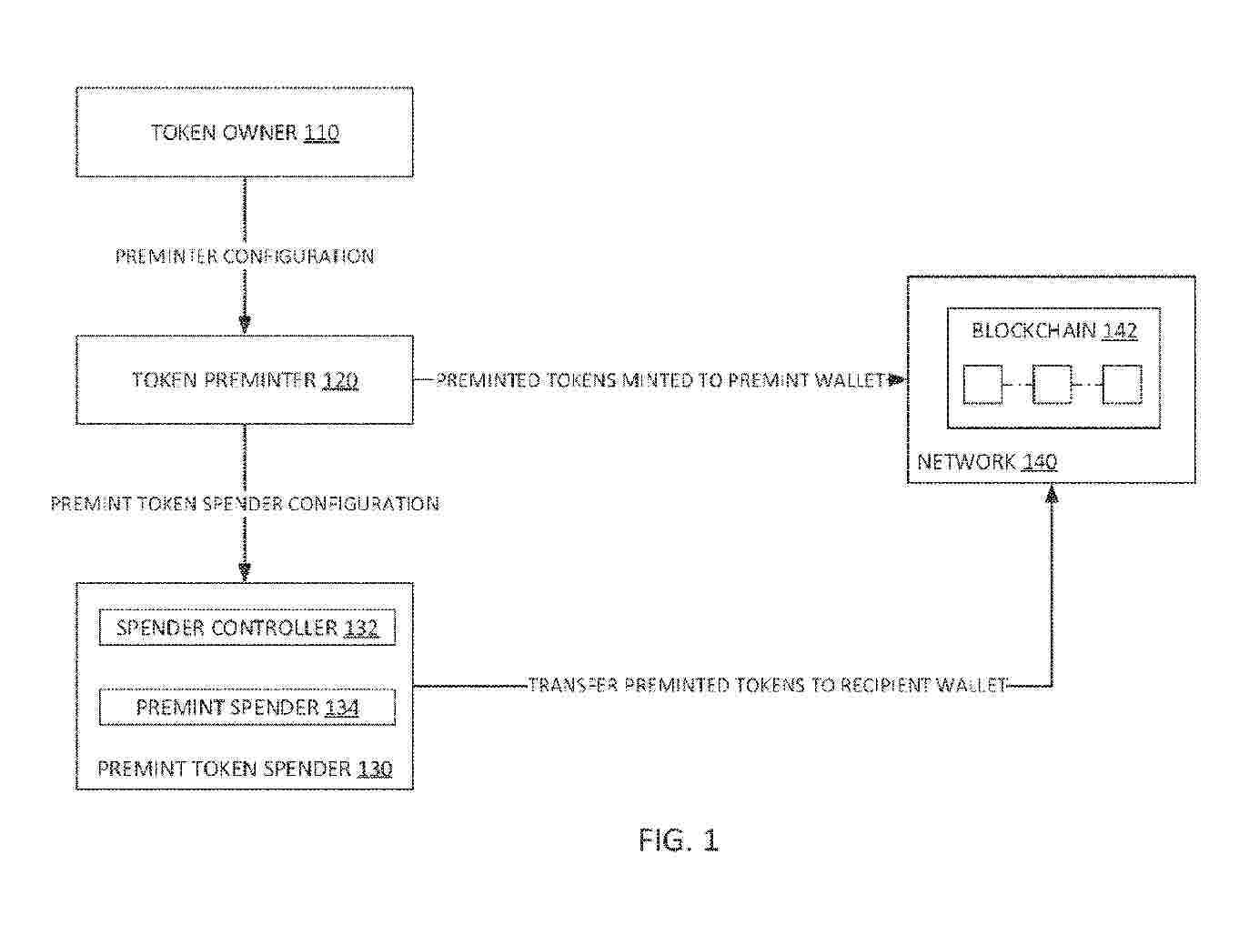
SECURE TOKEN PREMINTING IN BLOCKCHAIN SYSTEMS

NºPublicación:  WO2025216808A1 16/10/2025
Solicitante: 
CIRCLE INTERNET FINANCIAL LTD [IE]
ALIWEH KHALID [US]
CIRCLE INTERNET FINANCIAL, LTD,
ALIWEH, Khalid
WO_2025216808_PA

Resumen de: WO2025216808A1

Certain aspects of the present disclosure provide techniques for securely minting and distributing tokens on a blockchain. An example method generally includes configuring, by an owner of a token deployed on a blockchain, a premint wallet smart contract associated with a token preminter that generates preminted tokens for the token. The token preminter and premint token spenders are configured by the owner of the premint wallet smart contract. A plurality of tokens are minted by the token preminter to the premint wallet. At one of the premint token spenders, a request to spend an amount of preminted tokens from the premint wallet is received. The requested amount of preminted tokens is compared to a spending allowance defined for the token premint spender, and based on the comparing, the requested amount of preminted tokens are transferred by the token premint spender from a premint wallet to a destination wallet.

IDENTITY AUTHENTICATION METHOD BASED ON BUILDING INTERNET OF THINGS

NºPublicación:  WO2025214178A1 16/10/2025
Solicitante: 
GD MIDEA HEATING & VENTILATING EQUIPMENT CO LTD [CN]
UNIV OF ELECTRONIC SCIENCE AND TECHNOLOGY OF CHINA [CN]
\u5E7F\u4E1C\u7F8E\u7684\u6696\u901A\u8BBE\u5907\u6709\u9650\u516C\u53F8,
\u7535\u5B50\u79D1\u6280\u5927\u5B66
WO_2025214178_PA

Resumen de: WO2025214178A1

An identity authentication method based on a building Internet of Things. The method comprises: a client sending a first request message for acquiring an anonymous identifier to a server; when the first request message passes verification against a real user information table previously uploaded to a private blockchain, the server generating an anonymous identifier on the basis of a user authentication identifier, uploading anonymous user information comprising the anonymous identifier to an anonymous user information table of a consortium blockchain, and returning the anonymous identifier to the client; the client sending a second request message for acquiring an anonymous credential to a first management node; and when it is verified on the basis of the anonymous user information table that a user corresponding to the anonymous identifier has permission to access a target building device, the first management node generating an anonymous credential corresponding to the anonymous identifier, and returning the anonymous credential to the client.

ELEVATING OPTIMISTIC CONCURRENCY CONTROL IN PERMISSIONED BLOCKCHAINS WITH EXECUTE-ORDER-VALIDATE DESIGN PARADIGM

NºPublicación:  WO2025213464A1 16/10/2025
Solicitante: 
HUAWEI CLOUD COMPUTING TECH CO LTD [CN]
HUAWEI CLOUD COMPUTING TECHNOLOGIES CO., LTD
WO_2025213464_PA

Resumen de: WO2025213464A1

A method for handling blockchain transaction where a client transmits a request to endorse a transaction with a special indication that such transaction should be batched with other transactions to one or more endorsing peers. Moreover, each endorsing peer simulates persisting the transaction invocation request to the ledger and, if the simulation is successful, adds an identifier for the transaction, TxID and invocation parameters to a WriteSet and sends a response to the client. In addition, the client sends an order request for the transaction to an ordering service for the inclusion of the transaction in a block, such as a gossip message received by each peer, which validates and commits the transaction. Moreover, a coordinator invokes a transaction that triggers the batch execution of a group of such pending transactions, such as all transactions of the batch are executed as one transaction representing the impact of all batched transactions.

METHODS AND SYSTEMS FOR FORENSIC INVESTIGATIONS IN CONTRACT NETWORKS

NºPublicación:  US2025322394A1 16/10/2025
Solicitante: 
MADISETTI VIJAY [US]
Madisetti Vijay
US_2025182106_PA

Resumen de: US2025322394A1

A system and method for generating risk assessment scores for blockchain addresses and smart contracts, including constructing a graph representation having nodes representing one of a blockchain address or a smart contract address on a blockchain and edges representing a transaction between an externally-owned blockchain account on the blockchain network and a smart contract address on the blockchain network, applying pattern recognition algorithms to the graph representation to identify sub-graphs having nodes indicating relationship structures indicative of potential fraudulent activity, executing filtering that analyze transaction flows, logic patterns, and behavioral characteristics of nodes within each sub-graph, and determining a risk score for each blockchain account address and smart contract address associated with each sub-graph.

DECENTRALIZED CUSTODIAL WALLETS FOR SECURE BLOCKCHAIN TRANSACTIONS

NºPublicación:  US2025322392A1 16/10/2025
Solicitante: 
SIMBA CHAIN INC [US]
Simba Chain, Inc

Resumen de: US2025322392A1

Devices and systems for implementing decentralized custodial wallets are described. The described embodiments advantageously provide private key management, decentralization, and privacy. Embodiments of the disclosed technology further provide an example method that includes receiving, from a user, an input indicative of an instruction that creates a decentralized identifier (DID) associated with a public/private key pair of the user that includes a user public key and a user private key. The method further includes transmitting, to a data registry on a blockchain, public information associated with the user and the user public key, generating (a) a verifiable credential (VC) data structure comprising the DID, a plurality of attributes, and a first plurality of proofs, and (b) a verifiable presentation (VP) data structure comprising the VC data structure and a second proof. Herein, each proof of the first plurality of proofs verifies a veracity of a corresponding attribute of the plurality of attributes, each proof is signed by the DID, and the VC data structure is signed by a VC-generation key.

STORING GENERATED DIGITAL OBJECTS ON A DISTRIBUTED LEDGER

NºPublicación:  US2025322007A1 16/10/2025
Solicitante: 
SONOS INC [US]
Sonos, Inc
US_2025278429_PA

Resumen de: US2025322007A1

Generative media content (e.g., generative audio) can be dynamically generated based on various inputs, which can include blockchain data. A playback device accesses blockchain data stored via a distributed ledger and generates media content based at least in part on the blockchain data. The playback device can access a library of pre-existing media segments and arrange a selection of pre-existing media segments from the library for playback according to a generative media content model and based at least in part on the blockchain data. The generated media content can then be played back via the playback device.

Blockchain Network Supplier Verification

NºPublicación:  US2025322412A1 16/10/2025
Solicitante: 
RESEARCH BLOCKS TECH INC DBA AMNI INC [US]
Research Blocks Technologies, Inc. dba AMNI, Inc
US_2022253870_PA

Resumen de: US2025322412A1

A supplier verification system includes a processing system and a non-transitory, computer-readable storage medium having encoded thereon, machine instructions for implementing and managing a blockchain network. A processor executes the machine instructions to receive a raw materials supplier identity and a description of a batch of raw materials from the supplier, receive material test results from a specified number of independent entities analyzing compliance of the raw materials with given quality specifications, store the material test results in a block chain that includes a smart contract for confirming the first material test results, and execute the smart contract to generate determine a satisfactory variation in the confirmation scores, and, based on a satisfactory variation, execute a block validation routine.

SYSTEM AND METHOD FOR TOKENIZED EVENT MANAGEMENT

NºPublicación:  US2025322433A1 16/10/2025
Solicitante: 
DATAVAULT AI INC [US]
Datavault AI Inc
US_2022309540_PA

Resumen de: US2025322433A1

A system, method, device, and data platform for tokenizing an event. A signal marking an event as important is received. Event metadata is retrieved from one or more data sources associated with the event. A token representing the event is generated. The token is minted to a blockchain ledger to ensure verifiability and uniqueness. Usage of the token is tracked across one or more digital or physical transactions.

SYSTEMS, DEVICES, AND METHODS FOR TRACKING CREATION AND MODIFICATION OF DIGITAL RECORDS

NºPublicación:  US2025321950A1 16/10/2025
Solicitante: 
IMAGERIGHTS INT INC [US]
IMAGERIGHTS INTERNATIONAL, INC
US_2024311365_PA

Resumen de: US2025321950A1

Systems and methods for tracking creation and modification of digital records using consensus-driven semi-private blockchain. The present disclosure combines the benefits of Blockchain-like technology with traditional authentication by providing a verifiable immutable link between a low-delay Blockchain-like inscription and a highly trustworthy but delayed confirmation.

METHODS FOR GROUPING TRANSACTIONS IN BLOCKCHAIN, AND BLOCKCHAIN NODES

NºPublicación:  US2025322393A1 16/10/2025
Solicitante: 
ANT BLOCKCHAIN TECH SHANGHAI CO LTD [CN]
Ant Blockchain Technology (Shanghai) Co., Ltd
WO_2024221912_A1

Resumen de: US2025322393A1

Described is grouping, by a blockchain node, transactions in a blockchain. A plurality of transactions is obtained that invoke a same contract and that include a plurality of first transactions, where execution of each of the first transactions includes access to one or more first variables of the same contract, and where the one or more first variables correspond to mapping relationships in the same contract. A mapping relationship identity corresponding to the one or more first variables that are to be accessed in the execution of each of the first transactions is obtained, where a storage position of each of the one or more first variables in a state database is determined based on the mapping relationship identity corresponding to the one or more first variables. The plurality of first transactions are grouped based on the mapping relationship identity corresponding to each of the first transactions.

FRAMEWORK FOR HIGH PERFORMANCE BLOCKCHAINS

NºPublicación:  US2025321777A1 16/10/2025
Solicitante: 
AVA LABS INC [US]
Ava Labs, Inc
WO_2024238947_A2

Resumen de: US2025321777A1

A method for blockchain management includes receiving a first definition for a custom blockchain on a blockchain platform, the first definition including definitions for default data structures. The method further includes initializing a virtual machine and configuring the virtual machine using the first definition. The method further includes receiving a second definition for the custom blockchain, the second definition including definitions for user-defined data structures. The method further includes further configuring the virtual machine using the second definition and executing the custom blockchain on the virtual machine.

SYSTEMS AND METHODS FOR TRANSMITTING INFORMATION

NºPublicación:  US2025322468A1 16/10/2025
Solicitante: 
QUARTER INC [US]
QUARTER, INC

Resumen de: US2025322468A1

The disclosed system and method can manage real-time transactions using a blockchain ledger. A processor can create a fractionalized risk pool for a property, comprising asset tokens and an occupancy token. The processor can receive title information and can update the blockchain ledger with this information, a timestamp, and/or a property valuation. Upon receiving a transaction from a credit card network and/or issuing bank, the processor can determine a user's real-time equity.

FEATURES EXTRACTION FOR BLOCKCHAIN TRANSACTIONS AND PROGRAM PROTOCOLS

NºPublicación:  US2025323929A1 16/10/2025
Solicitante: 
CUBE SECURITY INC [US]
CUBE Security Inc
US_2025007936_PA

Resumen de: US2025323929A1

An access control server may receive state information of an autonomous program protocol that is recorded on a blockchain. The access control server may generate a trace log associated with one or more transactions executed by the autonomous program protocol, the trace log comprising machine events executed by the blockchain, the machine actions associated with the one or more transactions. The access control server may extract a set of features from the trace log, wherein a feature in the set comprises a summary of a machine event executed by the blockchain. The access control server may input the set of features to a machine learning model to determine a threat nature associated with the transactions of the autonomous program protocol. The access control server may perform a responsive action to address the threat nature.

Scalable Cluster Based Scoring with Multi-Queue Dynamic Scheduling Consensus Mechanism in Blockchain

NºPublicación:  US2025323805A1 16/10/2025
Solicitante: 
BANK OF AMERICA CORP [US]
Bank of America Corporation

Resumen de: US2025323805A1

Systems and methods are disclosed to revolutionize blockchain consensus mechanisms by introducing a novel, inclusive framework that enhances efficiency, scalability, and environmental sustainability. Central to this breakthrough are a cluster-based scoring system and a multi-queue dynamic scheduling mechanism, designed to replace resource-intensive consensus models like Proof of Work and Proof of Stake. This approach allows nodes to participate based on merit, determined through an iterative scoring process within clusters, democratizing access, and participation across the blockchain network. The system dynamically adjusts mining complexity as the blockchain evolves, ensuring scalability and reducing energy consumption. A key innovation is the introduction of cooldown periods to prevent dominance by any single node, promoting fairness and security. This decentralized, efficient, and scalable solution paves the way for broader blockchain adoption, maintaining the technology's foundational principles while addressing its traditional limitations.

NEURAL NETWORK CLASSIFIERS FOR BLOCK CHAIN DATA STRUCTURES

NºPublicación:  US2025323782A1 16/10/2025
Solicitante: 
LEDGERDOMAIN INC [US]
LedgerDomain Inc
US_2024163097_PA

Resumen de: US2025323782A1

Disclosed is a neural network enabled interface server and blockchain interface establishing a blockchain network implementing event detection, tracking and management for rule based compliance, with significant implications for anomaly detection, resolution and safety and compliance reporting.

METHOD FOR IRREFUTABLY IDENTIFYING PHYSICAL ITEMS

NºPublicación:  US2025323779A1 16/10/2025
Solicitante: 
RADY MAX ADEL [FR]
RADY MAX ADEL
US_2025023711_PA

Resumen de: US2025323779A1

There is provided a framework to record to a blockchain unique identification (signatures) of physical items which have unique, random properties. Physical items are analysed using spectral imaging to determine the unique identifications. Hardware is shown to perform the analysis and various nodes of a peer-to-peer network are shown and described, which nodes may be configured to provide proof of location, privacy, trust and authentication. The solution can work even if the item is modified in some way if a subset of the unique properties remain.

ATTESTATION SERVICE FOR USE WITH A BLOCKCHAIN NETWORK

NºPublicación:  US2025323796A1 16/10/2025
Solicitante: 
NCHAIN LICENSING AG [CH]
nChain Licensing AG
JP_2025120180_PA

Resumen de: US2025323796A1

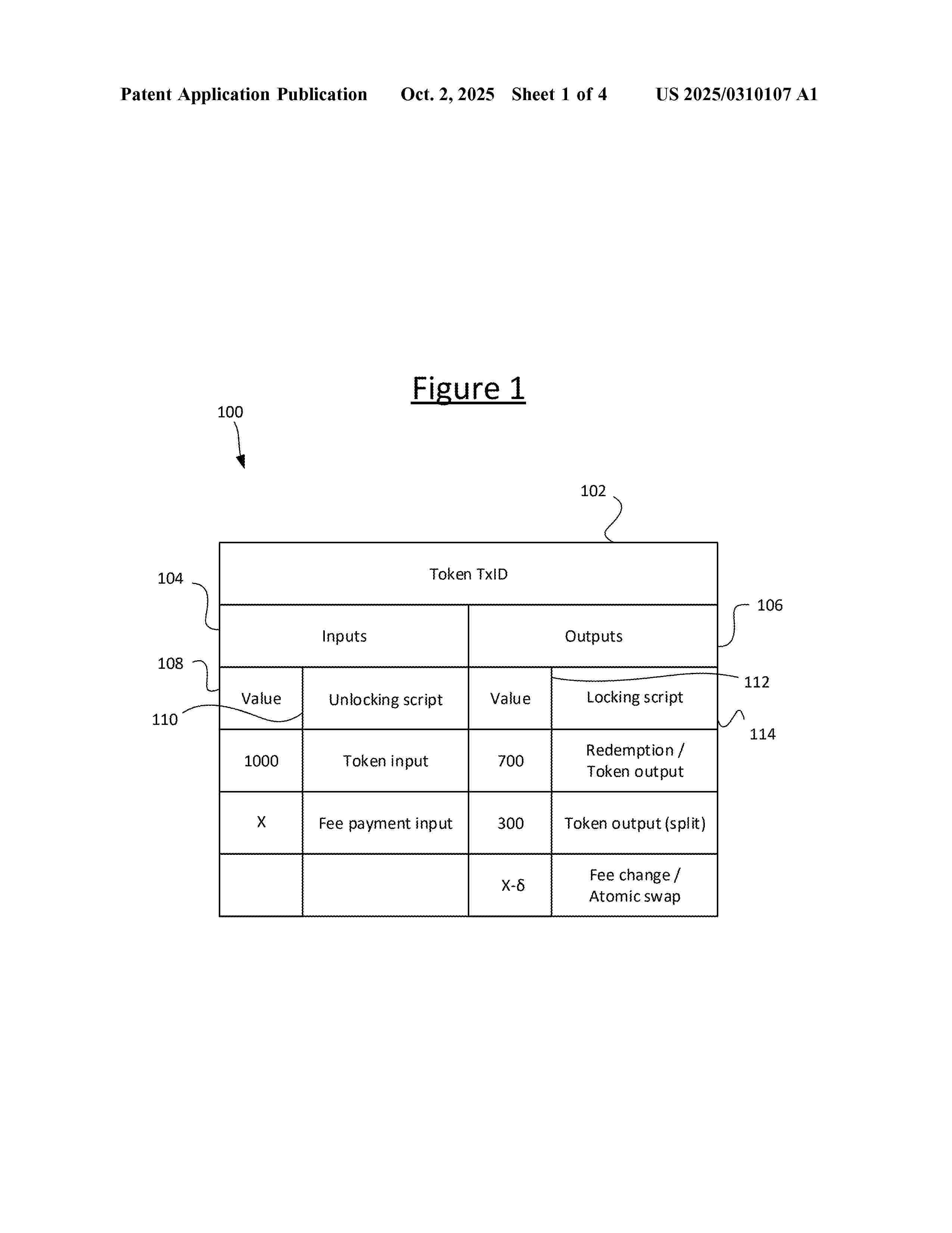
A method comprising, at an attesting node of a network: receiving a sequence of data items from one or more client nodes of the network, determining an order of the sequence of data items, and attesting to the order by: including an indication of a respective set of one or more of the data items in each of a series of blockchain transactions. Each successive transaction comprises a respective input pointing to an output of the respective preceding transaction, wherein the output of the respective preceding transaction comprises a locking script, and the input of the respective successive transaction includes an unlocking script comprising a respective signature based on a respective key in a series of keys. The respective signature in each successive transaction signs a portion of the respective successive transaction including at least the indication of the respective set of data items.

FAST SMART CONTRACT PROCESSING AND VALIDATION

NºPublicación:  US2025323795A1 16/10/2025
Solicitante: 
C3N TECH INC [US]
C3N Technologies, Inc
WO_2023230265_PA

Resumen de: US2025323795A1

Techniques for fast smart contract processing and validation. A C3N smart contract may be written in a high-level programming language such as Go rather than a domain-specific language (DSL) for smart contracts that is difficult to learn and utilize correctly. The smart contract may support a predefined list of C3N libraries, including APIs for accessing components within a C3N containerized environment. The smart contract may natively support access to oracles and data external to the C3N blockchain. The C3N smart contact may be deployed as source code or executable code for one or more target architectures. Such executable code may be run directly on the target architectures without additional compilation or interpretation. Validator nodes can verify correct execution of C3N smart contracts through unit tests.

SYSTEM AND METHOD FOR DECENTRALIZED REAL-TIME COMMUNICATION

NºPublicación:  WO2025214856A1 16/10/2025
Solicitante: 
CHROMAWAY AB [SE]
CHROMAWAY AB
WO_2025214856_PA

Resumen de: WO2025214856A1

System (100) for real-time communication over a communication network (10), the system (100) comprising resource servers (210), a blockchain (140) and a decentralized network coordinator, DNC, (130) defined in terms of one or several smart contracts (142) defined on the blockchain (140). The DNC (130) is configured to process blockchain transactions from the resource servers (210); store, on the blockchain (140), updated routing information (143) and status information regarding individual resource servers (210); execute an automated voting, resulting in an updated set of rating scores for one or several of the resource servers (210); and allow each of a plurality of peers (20) to access communication information from the blockchain (140), allowing the peer (20) to initiate communication over the transport layer protocol and using non-blockchain communication transactions, with a selected resource server (210). The selected resource server (210) routes the non-blockchain communication and receives remuneration from the DNC (130).

WEARABLE DEVICE FOR SECURE SIGNING OF BLOCKCHAIN TRANSACTIONS

NºPublicación:  EP4632649A1 15/10/2025
Solicitante: 
TANGEM AG [CH]
Tangem AG
EP_4632649_PA

Resumen de: EP4632649A1

Disclosed herein a wearable authentication device of a user for secure signing of blockchain transactions and methods for use thereof. The wearable authentication device includes a tamper-resistant chipset comprising: a transceiver configurable to receive, from a mobile device (e.g., a smartphone), a request for a digital signature for a blockchain transaction, the request including a transaction data; a memory configurable to store one or more cryptographic keys of the user; a secure processor configurable to execute a hardware wallet application that generates the digital signature for the blockchain transaction using a cryptographic key; and the transceiver further configurable to transmit, to the mobile device, the generated digital signature to be used by the mobile device to sign the blockchain transaction.

ELECTRONIC VOTING PLATFORM AND METHOD THEREOF

NºPublicación:  EP4632702A1 15/10/2025
Solicitante: 
NET SERVICE SPA [IT]
Net Service SpA
EP_4632702_PA

Resumen de: EP4632702A1

The present invention concerns the topic of electronic voting; that is, a voting method in which each voter can express his vote, even remotely, via an IT platform. This is a topic in which the interest is due to the fact that many electoral consultations represent quite complex events, because they mobilize a large number of people and must offer very high standards of security; consequently, they are significantly costly events.Electronic voting represents a way to reduce the costs of electoral consultations, to make them more efficient, and therefore also an instrument that can potentially be used more frequently. Moreover, an electoral consultation can be seen as a particular case of information management (a rather complex case, moreover) which, as such, should represent an almost natural, albeit challenging, field of application for information technologies.The proposed solution involves using at least a pair of servers configured to manage the voters and their votes separately, so as to allow, through an "Anonymous Kerberos" type approach, both the certain and reliable identification of the voters and the the anonymity of their vote: the latter is an essential guarantee to protect the freedom of voting.The voting platform indicated in the invention is configured to support a series of IT services combined in an original and complex way. In particular, the main state-of-the-art information technologies used by the invention concern encryption services as well as service

BLOCKCHAIN CONSENSUS

NºPublicación:  EP4632614A1 15/10/2025
Solicitante: 
SELF TECH PTY LTD [AU]
Self Technology Pty Ltd
EP_4632614_PA

Resumen de: EP4632614A1

A consensus method for adding blocks to a blockchain comprises Al-based block builders that form blocks of transactions; a voting algorithm that organises voting for candidate blocks to be added to the blockchain; and validators that participate in voting for candidate blocks and thereby determines the block to be added to the blockchain.

DETERMINING A COMMON SECRET FOR THE SECURE EXCHANGE OF INFORMATION AND HIERARCHICAL, DETERMINISTIC CRYPTOGRAPHIC KEYS

NºPublicación:  EP4633082A1 15/10/2025
Solicitante: 
NCHAIN LICENSING AG [CH]
nChain Licensing AG
EP_4633082_PA

Resumen de: EP4633082A1

A method (300) and system (1) of determining a common secret for two nodes (3, 7). Each node (3, 7) has a respective asymmetric cryptography pair, each pair including a master private key and a master public key. Respective second private and public keys may be determined based on the master private key, master public key and a deterministic key. A common secret may be determined at each of the nodes based on the second private and public keys. In one example, a node (3, 7) may determine the common secret based on (i) a second private key based on the node's own master private key and the deterministic key; and (ii) a second public key based on the other node's master public key and the deterministic key. The invention may be suited for use with, but not limited to, digital wallets, blockchain (e.g. Bitcoin) technologies and personal device security.

Shopping mall integrated management system using blockchain technology

NºPublicación:  KR20250148137A 14/10/2025
Solicitante: 
주식회사제이엠아이씨박지훈
KR_20250148137_PA

Resumen de: KR20250148137A

본 발명에 따른 쇼핑몰 통합 관리 시스템은 온라인 쇼핑몰을 운영하는 사업자의 관리 하에 있으며, 유무선 통신망 상에서 내 상품이 판매되는 적어도 하나 이상의 오픈 마켓 웹사이트 상의 웹페이지 주소와 상품 정보를 등록하고, 각 오픈 마켓에서의 재고 모니터링 결과를 수신하는 클라이언트 단말기; 상기 클라이언트 단말기를 조작하여 입력되는 적어도 하나 이상의 오픈 마켓 웹사이트 상의 웹페이지 주소와 상품정보를 데이터베이스에 등록하고, 상품의 총 재고수량을 적어도 하나 이상의 오픈 마켓에서 판매되는 상품의 재고수량으로 분배하거나 통합하여 등록하는 재고등록서버; 상기 재고등록서버에서 등록된 오픈 마켓의 웹페이지 주소에 접속하여 소스코드를 획득한 후, 사용자가 등록한 내 상품에 매치되어 있는 재고수량의 감소여부를 모니터링하고, 각 오픈 마켓에서 감소된 재고를 통합 재고수량에 반영한 재고 모니터링 결과를 사용자에게 통지하는 재고 모니터링 서버; 및 상기 재고 모니터링 서버의 모니터링 상황에 따라 기준치 이하로 재고가 소진되는 경우 자동화된 리오더링을 수행하는 리오더링 모듈(320);을 포함하고, 상기 재고등록 서버 및 상기 리오더링 모듈은 블록체인 기술을 이용하는 쇼핑몰 통합 �

QUALIFICATION ACQUISITION MANAGEMENT SERVER AND SYSTEM FOR CERTIFICATING QUALIFICATION ACQUISITION USING BLOCKCHAIN INCLUDING THE SAME

NºPublicación:  KR20250145571A 13/10/2025
Solicitante: 
주식회사한국이러닝교육원
KR_20250145571_PA

Resumen de: KR20240007404A

A qualification acquisition management server of the present invention comprises: a qualification certification exam management module that provides users with questions on a qualification certification exam, grades answers provided by users within a given time, and grants a passing qualification to users who obtain a score higher than a given score on the qualification certification exam; an incorrect answer analysis module that analyzes the answers of a user who has obtained a score lower than the standard score and determines the learning scope corresponding to each test item corresponding to the incorrect answer; an explanation answer editing module that selects lecture videos related to the learning scope from among the previously stored lecture videos, creates a time stamp in a video section containing the explanation of the learning scope among the selected lecture videos, and creates an explanation answer including an explanation of the incorrect answer and a hyperlink to the time stamp; a lecture material editing module that extracts videos corresponding to the video section selected by the time stamp to the user, creates an integrated lecture video composed of a single video, and extracts the contents of the lecture document corresponding to the integrated lecture video from the entire lecture document composed of text and pictures to create an integrated lecture document; and a communication module that performs communication with a user terminal of the user and pr

Battery LCA management system based on block chain

NºPublicación:  KR20250146818A 13/10/2025
Solicitante: 
이동욱
KR_20250146818_PA

Resumen de: KR20250146818A

본 발명은 배터리 제조부터 폐기까지 전주기에 대하여 체계적인 이력관리를 할 수 있으며, 이에 따른 배터리의 평가 및 탄소배출량 관리를 할 수 있는 디지털트윈 및 블록체인기반 배터리 전주기 관리시스템에 관한 것이다. 이를 위하여, 본 발명은 배터리 생산, 유통, 재활용 및 폐기를 포함한 전주기에 걸쳐 배터리 상태정보를 입력받는 배터리상태입력부; 상기 배터리 상태에 기초하여 탄소배출량을 계산하는 탄소배출량산출부; 상기 배터리상태입력부 및 탄소배출량산출부에 의해 전송된 데이터를 저장하는 데이터베이스부; 배터리 상태를 평가하기 위한 배터리평가부; 배터리에 대한 정보를 조회하기 위한 배터리조회입력부; 상기 배터리조회입력부에 의한 정보에 기초하여 상기 데이터베이스부를 검색하고 검색된 결과를 표시하여 주는 배터리정보표시부를 포함하여 구성되는 배터리 전주기 관리시스템을 제공한다. 따라서, 본 발명에 의하면, 배터리 생애주기의 생산, 가공 및 재활용을 포함한 전과정에서 배터리의 상태를 정확하게 평가하여 효율적인 배터리 사용이 될 수 있도록 관리할 수 있다.

IoT SYSTEM FOR ENHANCING SECURITY OF BLOCKCHAIN-BASED ACCESS CONTROL TOKEN IN MULTI-DOMAIN IOT ENVIRONMENT

NºPublicación:  KR20250147364A 13/10/2025
Solicitante: 
이화여자대학교산학협력단
KR_20250147364_PA

Resumen de: KR20250147364A

다중 도메인 IoT 환경에서 블록체인 기반 접근제어 토큰 보안 강화 시스템을 개시한다. 다중 도메인 IoT 환경에서 블록체인 기반 접근제어 토큰 보안 강화방법은 제1 접근제어 도메인의 게이트웨이가, 상기 제1 접근제어 도메인에 속한 요청 IoT 기기로부터 제2 접근제어 도메인의 대상 IoT 기기에 접근하기 위한 토큰 발급 요청을 수신하는 단계와, 상기 관리자 블록체인 네트워크에 토큰 발급 요청을 전달하는 단계와, 상기 관리자 블록체인 네트워크를 통해 발급된 토큰에 대한 정보를 리턴 받는 단계 및 상기 토큰에 대한 정보를 상기 컨소시엄 블록체인 네트워크에 전달한 후, 상기 요청 IoT 기기에 상기 토큰에 대한 정보를 제공하는 단계를 포함한다.

IPFS METHOD AND APPARTUS FOR SECURING MEDIA CONTENT USING LAZY MINTING OF BLOCKCHAIN AND IPFS AND DIGITAL WATERMARKING

NºPublicación:  KR20250147003A 13/10/2025
Solicitante: 
에이팟플랫폼스주식회사
KR_20250147003_PA

Resumen de: US2025317310A1

A method of securing media content by using lazy minting of a blockchain, an interplanetary file system (IPFS), and a digital watermark, performed by a computing device, includes uploading content to an IPFS-based shared network, obtaining content identification information according to IPFS uploading of the content, applying the content identification information to the content, and determining non-fungible token (NFT) address information by minting the content to which the content identification information is applied.

Blockchain-based Content Rewards System

NºPublicación:  KR20250146311A 13/10/2025
Solicitante: 
주식회사두허브
KR_20250146311_PA

Resumen de: KR20250146311A

블록체인 기반 콘텐츠 리워드 제공 방법이 제공된다. 상기 블록체인 기반 콘텐츠 리워드 제공 방법은, 콘텐츠 제 공자의 단말로부터 대상 콘텐츠를 수신하는 단계, 상기 대상 콘텐츠에 대한 가치 평가 결과를 획득하는 단계, 상 기 획득된 가치 평가 결과에 기초하여 상기 대상 콘텐츠에 대한 리워드(reward)를 산정하는 단계 및 상기 산정된 리워드를 상기 콘텐츠 제공자에게 제공하는 단계를 포함할 수 있다. 이때, 상기 산정된 리워드의 제공 내역은 상 기 복수의 블록체인 노드에 의해 공유되는 블록체인 상에 기록되고, 상기 리워드는 상기 블록체인을 통해 발행되 는 암호화 화폐에 기초하여 산정될 수 있다.

Exchange Rewards Points Based on Blockchain

NºPublicación:  KR20250146310A 13/10/2025
Solicitante: 
주식회사두허브
KR_20250146310_PA

Resumen de: KR20250146310A

본 발명은, 사용자 단말기에서 사용자로부터 포인트의 교환을 요청 받으면, 포인트를 송금하는 제1 포인트 관리 서버로 교환 신청 정보를 포함하는 교환 요청을 송신하고, 상기 제1 포인트 관리 서버에서 상기 사용자 단말기가 요청하는 교환 요청을 검증하고, 검증결과 이상이 없으면 예약 토큰 송금 컨트랙트에 해당하는 트랜잭션을 블록체인 네트워크로 송신하고, 상기 제1 포인트 관리 서버에서 상기 블록체인 네트워크로부터 상기 예약 토큰 송금 컨트랙트에 대한 송금 확인값을 수신하면, 상기 제1 포인트 관리 서버에서 관리하는 상기 사용자의 포인트를 변 경하고, 상기 송금 확인값을 포함하는 송금 확인 정보를 상기 사용자 단말기로 송신하고, 상기 사용자 단말기에 서 상기 송금 확인 정보를 수신하면 포인트를 수령하는 제2 포인트 관리 서버로 상기 송금 확인 정보를 송신하 고, 상기 제2 포인트 관리 서버에서 상기 송금 확인 정보를 수신하면 상기 송금 확인 정보를 검증하고, 검증결 과 이상이 없으면 예약 토큰 수령 컨트랙트에 해당하는 트랜잭션을 상기 블록체인 네트워크로 송신하고, 상기 제2 포인트 관리 서버에서 상기 블록체인 네트워크로부터 상기 예약 토큰 수령 컨트랙트에 대한 수령 확인값을 수신하면, 상

COMPUTER-IMPLEMENTED METHODS AND SYSTEMS FOR SECURE DIGITAL ASSET TOKENIZATION AND TRANSFER USING DISTRIBUTED LEDGER TECHNOLOGY

NºPublicación:  US2025315894A1 09/10/2025
Solicitante: 
WEB3 FREEDOM CLUB DAO LLC [US]
Web3 Freedom Club DAO LLC
US_2025315894_PA

Resumen de: US2025315894A1

A method for creating and exchanging tokenized assets combines a dual ownership structure with a tiered exchange system. The method involves issuing membership non-fungible tokens to cooperative members, creating a tokenized asset through a legal entity and property ownership non-fungible token, and implementing a smart contract to generate property tokens representing fractional ownership. The exchange system for these property tokens implements sequential buying windows, providing initial exclusive access to non-token holders, followed by access to regional cooperative members, then global cooperative members, and finally institutional buyers. This approach may promote progressive decentralization of ownership while maintaining secure blockchain-based transfers within the cooperative framework. The method may enable fractional ownership of various assets, automated distribution of benefits, and a controlled secondary market structure that balances liquidity provision with ownership diversification.

INDUSTRY GIFT VOUCHER WITH FENCE NETWORK: SYSTEM AND METHOD

NºPublicación:  US2025315858A1 09/10/2025
Solicitante: 
ECKER MATTHEW [US]
TUCKER DAVID [US]
ECKER MATTHEW,
TUCKER DAVID
US_2025315858_PA

Resumen de: US2025315858A1

A method and a system is provided for secure transaction processing of an Industry Gift Voucher (IGV) in a blockchain network. The method includes receiving, by a processor of a blockchain node, a request to obtain ownership of the IGV from a terminal device associated with a first entity. The request includes data related to the IGV and unidentified data of the first entity. The processor identifies relevant data, transforms it into a concatenated data string, and generates a cryptographic hash value using a set of machine-readable instructions. The hash value, along with IGV and entity data, is stored on a distributed blockchain ledger. Ownership of the IGV is assigned to the first entity through execution of a smart contract that validates the hash and records updated ownership information on the ledger.

SYSTEM AND METHOD FOR STORING, TRADING, CRAFTING DIGITAL TOKENS, AND PLAYING GAMES USING SAID DIGITAL TOKENS

NºPublicación:  US2025315816A1 09/10/2025
Solicitante: 
M LEAGUE LTD [SG]
M-LEAGUE LTD
US_2025315816_PA

Resumen de: US2025315816A1

A system, including an online platform which is configured or built with a blockchain network, allows users to store, trade and craft in-game assets as digital tokens and allows users to play online games using the tokens over a computer network. The platform includes a registration module configured to register a plurality of users and a user account module configured to manage accounts associated with the users. The accounts include a wallet that stores the digital tokens and information pertaining to the tokens. The tokens being minted are recorded on the blockchain network. The platform includes a trading module configured to facilitate the plurality of users to trade the tokens across the games between the users. The platform includes a crafting module configured to facilitate the users to craft/create/modify/combine/upgrade the tokens. The system further includes one or more computing devices to access the platform.

SYSTEM FOR INTERNATIONAL GOODS AND COMMODITIES TRADING AND MANAGEMENT AND RELATED METHODS

NºPublicación:  US2025315774A1 09/10/2025
Solicitante: 
SECRO INC [US]
Secro Inc
US_2025315774_PA

Resumen de: US2025315774A1

A system and related methods for executing and managing international trades, particularly in goods, makes use of blockchain- or other security-based architecture. The system architecture is able to be implemented so as to be compliant with regulations and regulatory authority to minimize potential fraud, forgery, or other security breaches which may affect the integrity of the associated trading transactions. The computer-implemented system, programming, and associated methods process data related to all phases of international goods trades, including drafting, negotiation, and execution of contracts as digitally negotiated instruments or electronic transferable records, as well as electronic bills of lading. The system include features to limit access, verify and authenticate users, and provides limited access to databases and various templates to facilitate the generation, execution, and management of trading transactions from inception to completion.

SYSTEMS AND METHODS FOR ANONYMOUS, PERSISTENT, AND PERMISSIONED NETWORK-BASED PAYMENTS

NºPublicación:  US2025315825A1 09/10/2025
Solicitante: 
ASA TECH CORPORATION [US]
ASA TECHNOLOGIES, CORPORATION
US_2025315825_PA

Resumen de: US2025315825A1

Disclosed herein are system, method, and computer program product embodiments for anonymous, persistent, and permissioned payments. Embodiments comprise: receiving a request from a device, wherein the request includes an amount of funds, a payor identifier, and a payee identifier; obtaining permission for the request using the payor identifier; performing a first transfer in which the amount of funds is transferred from an account associated with the payor identifier to an account associated with a centralized server system; recording the amount of funds to a first blockchain node associated with the payor identifier, wherein the blockchain is managed by the centralized server system; performing a second transfer wherein the amount of funds is transferred from the account associated with the central server system to an account associated with the payee account identifier; and recording the amount of funds to a second blockchain node associated with the payee identifier.

CONSTRAINING INJECTION OF UNLOCKING TRANSACTION BYTECODE

NºPublicación:  US2025315822A1 09/10/2025
Solicitante: 
NCHAIN LICENSING AG [CH]
nChain Licensing AG
US_2025315822_PA

Resumen de: US2025315822A1

Methods and systems are provided for causing an injection of a serialized set of field values of an unlocking transaction into a locking script are described. The methods and systems are implemented using a blockchain network. A first transaction to validate is received at a node in the blockchain network. The first transaction includes a first script that includes a set of field values of the first transaction and, as a result of being executed, causes the node to obtain a set of field values. A second transaction is obtained, with the second transaction having been validated. The second transaction includes a second script that, as a result of being executed, causes the node to generate a signature based at least in part on the set of field values supplied as a result of execution of the first script.

METHOD, SYSTEM AND APPARATUS FOR VERIFYING IDENTITIES OF PARTICIPANTS IN BLOCKCHAIN TRANSACTIONS

NºPublicación:  US2025315831A1 09/10/2025
Solicitante: 
LYON DENNIS [US]
Lyon Dennis
US_2025315831_PA

Resumen de: US2025315831A1

A method, system and apparatus for verifying an identity of a participant of an intended blockchain transaction. Prior to sending a blockchain transaction, a personal communication device generates and transmits a verification request to a third-party trust manager, requesting that the third-party trust manager verify the identity of a participant of the intended blockchain transaction. The third-party trust manager verifies whether the participant is who the participant claims to be, and sends a verification response to the personal communication device indicating such. The personal communication device transmits the intended blockchain transaction to a blockchain network only when the participant's identity was verified by the third-party trust manager.

BLOCKCHAIN BASED SYSTEM AND METHOD FOR MANAGING TRANSACTION TO TRANSFER OWNERSHIP OF VEHICLES

NºPublicación:  US2025315827A1 09/10/2025
Solicitante: 
MILES PER HOUR INC [US]
MILES PER HOUR INC

Resumen de: US2025315827A1

The present invention discloses a et.blockchain based system and method for managing transaction to transfer ownership of vehicles. The system is configured to establish a smart contract between a first user and a second user. The smart contract comprises terms to manage transaction to transfer ownership of vehicle. The system is further configured to execute the smart contract between the first user and the second user. The system is further configured to provide a payment code to transfer payment between the first user and the second user. The system is further configured to instantly transfer ownership of the vehicle on completion of transfer of payment amount. The system is further configured to create a digital certificate comprising information related to the transaction of payment amount and transfer of ownership between the first user and the second user.

METHODS, ARCHITECTURES, APPARATUSES AND SYSTEMS DIRECTED TO BLOCKCHAIN-ENABLED COLLABORATIVE APPLICATION DEPLOYMENT AND OPERATION

NºPublicación:  US2025317496A1 09/10/2025
Solicitante: 
INTERDIGITAL PATENT HOLDINGS INC [US]
InterDigital Patent Holdings, Inc

Resumen de: US2025317496A1

Procedures, methods, architectures, apparatuses, systems, devices, and computer program products directed to blockchain-enabled collaborative application deployment and operation in wired and/or wireless communications are provided. Among the methods is a method that may include transmitting a request to join a collaboration group associated with a set of collaborative applications; receiving, based on the request, a response including information indicating a proposal of a smart contract; transmitting feedback based on the proposal of the smart contract; and receiving an acknowledgement notification indicating status information of the smart contract and that one or more devices have joined the collaboration group.

SECURE TOKEN PREMINTING IN BLOCKCHAIN SYSTEMS

NºPublicación:  US2025315817A1 09/10/2025
Solicitante: 
CIRCLE INTERNET FINANCIAL LTD [IE]
Circle Internet Financial, LTD

Resumen de: US2025315817A1

Certain aspects of the present disclosure provide techniques for securely minting and distributing tokens on a blockchain. An example method generally includes configuring, by an owner of a token deployed on a blockchain, a premint wallet smart contract associated with a token preminter that generates preminted tokens for the token. The token preminter and premint token spenders are configured by the owner of the premint wallet smart contract. A plurality of tokens are minted by the token preminter to the premint wallet. At one of the premint token spenders, a request to spend an amount of preminted tokens from the premint wallet is received. The requested amount of preminted tokens is compared to a spending allowance defined for the token premint spender, and based on the comparing, the requested amount of preminted tokens are transferred by the token premint spender from a premint wallet to a destination wallet.

SELECTING A CONTINGENT ACTION TOKEN

NºPublicación:  US2025315899A1 09/10/2025
Solicitante: 
2BC INNOVATIONS LLC [US]
2BC Innovations, LLC
US_2022277398_PA

Resumen de: US2025315899A1

A method executed by a computing device includes identifying a non-fungible token (NFT) of an object distributed ledger that meets obtained minimum NFT requirements. The method further includes determining whether to select the NFT based on an evaluation of the NFT with regards to an evaluation profile. When selecting the NFT the method further includes to producing a selected NFT and determining reassignment information for the selected NFT. The method further includes facilitating taking control of the selected NFT of a blockchain of the object distributed ledger and updating the selected NFT utilizing the reassignment information for the NFT to produce an updated NFT. The method further includes causing generation of a new block affiliated with the updated NFT via the blockchain of the object distributed ledger, where the new block includes the updated NFT.

DIGITAL CONTENT AND RIGHTS MANAGEMENT

NºPublicación:  US2025315506A1 09/10/2025
Solicitante: 
BESSETT MARK [US]
Bessett Mark

Resumen de: US2025315506A1

Systems and methods for real-time micro-licensing of digital content (e.g., real estate listings, real estate records, ads, articles) are provided that comprise evolving documents and which use blockchains of cryptographic technology to employ smart contracts for the automatic issuance of micro-licenses upon digital content distribution, aligning with user subscription criteria and dynamically adjusting upon digital content revisions. Instantaneous, secure transactions and access rights adjustments in real-time are facilitated as content updates occur, ensuring continuous alignment with user preferences and legal compliance through transparent, auditable, blockchain records.

USE OF BLOCKCHAIN BASED DISTRIBUTED CONSENSUS CONTROL

NºPublicación:  US2025315022A1 09/10/2025
Solicitante: 
LO3 ENERGY INC [US]
LO3 Energy Inc
US_2025044756_PA

Resumen de: US2025315022A1

A system for the cryptographically-secure, autonomous control of devices comprising, connected to or remotely operating devices in an electrically powered network and the transaction of the benefits, costs or value created by or transacted through the devices in this electrically powered network.

METHODS AND DEVICES FOR AUTOMATED PUBLIC KEY VERIFICATION

NºPublicación:  US2025317309A1 09/10/2025
Solicitante: 
NCHAIN LICENSNG AG [CH]
nChain Licensng AG
JP_2025100652_PA

Resumen de: US2025317309A1

A public key may be recorded on the blockchain by a certificate authority in such a manner that any third party may quickly and easily verify that the public key is certified by the certificate authority and that the certification has not been revoked. The certificate authority may be able to revoke the certification nearly instantaneously, and/or may be able to simultaneously certify a new key for the same entity while revoking the old key. The verification may be incorporated into a new transaction so that there is no gap between reliance on the certificate and the verification of its validity. In some cases, each transaction in which the certificate is used may also serve as linked certificate transaction that renews the certificate to enable a subsequent use.

PROVING TOP LEVEL DOMAIN NAME CONTROL ON A BLOCKCHAIN

NºPublicación:  US2025317307A1 09/10/2025
Solicitante: 
VERISIGN INC [US]
Verisign, Inc
US_2023370284_PA

Resumen de: US2025317307A1

Systems, methods, and computer products for associating a top level network identifier with a blockchain address on a blockchain enable operations that may include: obtaining, from a root network segment file, an identification of a server that stores network infrastructure records associating network identifiers under the top level network identifier with network addresses and a signature on the identification of the server; obtaining, based on a first network infrastructure record, an association of the top level network identifier with the blockchain address; obtaining information sufficient to validate a trust chain, wherein the trust chain extends from a trusted authority to the association; and sending the association and the information sufficient to validate the trust chain to an executable program on the blockchain. The trust chain may be validatable by the executable program, and the association may be storable on the blockchain by the executable program.

WIRELESS COMMUNICATION NETWORK SERVICE USING AN APPLICATION PROGRAMMING INTERFACE (API)

NºPublicación:  US2025317299A1 09/10/2025
Solicitante: 
T MOBILE INNOVATIONS LLC [US]
T-MOBILE INNOVATIONS LLC
US_2023318842_PA

Resumen de: US2025317299A1

In some examples, a data system comprises a processing system, blockchain, and accounting system. The processing system provides Application Programming Interface (API) services in response to API calls. The blockchain stores API information that characterizes the API services. The accounting system generates a charge for the API services based on the API information in the blockchain.

EVENTUALLY GUARANTEED PROTOCOL FOR DISTRIBUTED LEDGER

NºPublicación:  US2025317304A1 09/10/2025
Solicitante: 
YEDA RES AND DEVELOPMENT CO LTD [IL]
TECHNION RES & DEVELOPMENT FOUNDATION LIMITED [IL]
Yeda Research and Development Co. Ltd,
Technion Research & Development Foundation Limited
JP_2025515827_PA

Resumen de: US2025317304A1

A system and a method for efficient, safe, and eventually guaranteed block registration on distributed ledgers, using a protocol family named Cordial Miners is disclosed. The disclosure comprises three exemplary embodiments of a distributed ledger block registration protocol. The disclosed protocol may be used as a blockchain consensus protocols that shares a partially-ordered data structure and an ordering algorithm. The data structure may be a generalization of the totally-ordered blockchain, and referred to as blocklace. The ordering algorithm may convert the partially-ordered blocklace into a totally-ordered sequence of blocks, while excluding non-valid blocks such as equivocations.

VERIFYING AUTHENTICITY OF CONTENT TO PRODUCE KNOWLEDGE

NºPublicación:  US2025317306A1 09/10/2025
Solicitante: 
ENTIGENLOGIC LLC [US]
entigenlogic LLC
US_2024039735_PA

Resumen de: US2025317306A1

A method includes a computing device verifying authenticity of a blockchain-encoded record representing a statement of words and an entigen group to produce an authenticity indicator where a set of identigens is determined utilizing a knowledge database for each word to produce sets of identigens and where the sets of identigens is interpreted to produce the entigen group. When the authenticity indicator indicates an authentic status, the method further includes interpreting, based on an updated knowledge database, updated sets of identigens to produce an updated entigen group. The method further includes updating the blockchain-encoded record to represent the statement and the updated entigen group to facilitate subsequent utilization of an updated validated interpretation of the statement as the updated entigen group.

METHOD AND APPARTUS FOR SECURING MEDIA CONTENT USING LAZY MINTING OF BLOCKCHAIN, IPFS AND DIGITAL WATERMARKING

NºPublicación:  US2025317310A1 09/10/2025
Solicitante: 
APOT PLATFORMS INC [KR]
APOT Platforms Inc

Resumen de: US2025317310A1

A method of securing media content by using lazy minting of a blockchain, an interplanetary file system (IPFS), and a digital watermark, performed by a computing device, includes uploading content to an IPFS-based shared network, obtaining content identification information according to IPFS uploading of the content, applying the content identification information to the content, and determining non-fungible token (NFT) address information by minting the content to which the content identification information is applied.

PROOF OF LOCATION AND VELOCITY BLOCKCHAIN CONSENSUS MECHANISM SYSTEM AND METHOD

NºPublicación:  US2025317744A1 09/10/2025
Solicitante: 
SPACE TELECOMMUNICATIONS INC [US]
Space Telecommunications, Inc
US_2025031049_PA

Resumen de: US2025317744A1

A system and method providing Proof of Location or Proof of Location and Velocity consensus in a blockchain network using radio frequency (RF) signals. Nodes validate the location of other nodes in the network using PING-PONG round trip signal propagation time to determine maximum distances to other nodes. These maximum distances are then shared between nodes, whereupon the nodes use computational techniques to resolve validated, geospatial location of the other nodes. The sharing of measured maximum distances to local nodes is a form of Proof of Location consensus. The validated geospatial locations (and velocities) of local nodes are then written to the blockchain, creating a time history for each node. This information may be used by the blockchain operating rules to implement any number of security and other operational functions. The ability of the invention to operate without need for time synchronization between nodes is an advantage of the system.

METHOD AND SYSTEM FOR QUANTUM KEY DISTRIBUTION (QKD) WITHIN BLOCKCHAIN PLATFORMS

NºPublicación:  US2025317279A1 09/10/2025
Solicitante: 
MASTERCARD INT INCORPORATED [US]
Mastercard International Incorporated

Resumen de: US2025317279A1

A method for improved security in blockchains using quantum key distribution includes: storing a first cryptographic key; establishing a first communication channel with an external device; generating a second cryptographic key over the first communication channel using quantum key distribution; encrypting a data set using the second cryptographic key; generating a blockchain data entry including at least the encrypted data set; and transmitting the blockchain data entry to a blockchain node in a blockchain network causing the blockchain node to verify the blockchain data entry and add the blockchain data entry into a new block added to a blockchain associated with the blockchain network.

BLOCKCHAIN APPARATUS AND METHOD FOR MOBILE EDGE COMPUTING

NºPublicación:  US2025317312A1 09/10/2025
Solicitante: 
POSTECH RES AND BUSINESS DEVELOPMENT FOUNDATION [KR]
POSTECH RESEARCH AND BUSINESS DEVELOPMENT FOUNDATION
KR_20230101442_PA

Resumen de: US2025317312A1

Disclosed is a blockchain apparatus and method for mobile edge computing, the blockchain method comprising: receiving a user transaction from clients associated with a first edge chain, determining an execution order for transactions, processing the transactions according to the transaction processing order, reading and updating data on the first edge chain or reading and updating the data on a main chain of the main network depending on presence or absence of locality in the user transaction, creating an edge chain block by collecting the results of a batch of processed transaction, propagating the edge chain block to all local BSP auditor nodes associated with the first edge chain and all BSP servers in the main network.

SYSTEMS AND METHODS FOR DYNAMIC OPTIMIZATION OF PROCUREMENT OPERATIONS

NºPublicación:  WO2025209958A1 09/10/2025
Solicitante: 
HALLEWELL RICHARD [ES]
HALLEWELL, Richard

Resumen de: WO2025209958A1

Disclosed is a procurement optimization approach that integrates real-time reinforcement learning and blockchain-based compliance checks for dynamic, transparent decision-making. Initial procurement specifications and weightings are automatically generated using AI analysis of historical procurement data, followed by supplier evaluations using multiple criteria decision analysis with buyer-defined weightings, while a reinforcement learning module continuously refines these weightings based on observed procurement outcomes or feedback. Each updated weighting is automatically verified against predefined procurement rules encoded on a distributed ledger, ensuring that no unauthorized criteria change bypass regulatory thresholds. If found compliant, the system immutably stores the refined weighting and resulting supplier evaluation as a ledger transaction, creating an unalterable audit trail. Optional modules handle anomaly detection, predictive risk analytics, duplication detection across departments, automated tender generation, quantum-resistant cryptography, and ERP integration. This modular design addresses persistent procurement challenges: static weighting, delayed or incomplete compliance checks, and limited traceability. By unifying adaptive AI logic with an immutable ledger, the disclosed system offers robust, real-time improvements in cost efficiency and governance.

PROCESSING A BLOCKCHAIN TRANSACTION OVER A PEER-TO-PEER NETWORK

NºPublicación:  WO2025209817A1 09/10/2025
Solicitante: 
BSV ASS [CH]
BSV ASSOCIATION
EP_4629121_PA

Resumen de: WO2025209817A1

The present disclosure relates to a computer-implemented method of processing a blockchain transaction over a peer-to-peer network including an originator device, an originator server, a beneficiary device, a beneficiary server, and a non-custodial wallet hosted on the beneficiary server. The method comprises: sending a linked key associated with the blockchain transaction and blockchain transaction information from the originator device to the non-custodial wallet on the beneficiary server via the originator server, the linked key derived from a secret shared between the originator device and the beneficiary device; performing verification of the linked key, by the beneficiary device, using the secret and the blockchain transaction information; and performing one of pre-authorising the blockchain transaction and rejecting the blockchain transaction at the non-custodial wallet in response to performing the verification by the beneficiary device.

SUPPLY CHAIN TRACKING AND DELIVERY SYSTEM AND METHOD

NºPublicación:  WO2025212143A1 09/10/2025
Solicitante: 
MROCZEK KENNETH [US]
MROCZEK, Kenneth

Resumen de: WO2025212143A1

A system that monitors supply chain inventory includes at least one computing device that receives sensor data from a sensor apparatus on a transport, where the sensor data indicates real-time information associated with a cargo on the transport. The at least one computing device also encrypts the sensor data on a blockchain ledger, or stores the sensor data in a hash table. The at least one computing device also maintains a database of stored credentials associated with the sensor data or information associated with the sensor data. The at least one computing device also receives entered credentials from a user interface, and indicates the sensor data or information associated with the sensor data through the user interface based on the entered credentials matching at least one of the stored credentials.

CRYPTOCURRENCY ARTIFACT DETECTION FOR RECOVERING CRYPTOCURRENCY ASSETS

NºPublicación:  WO2025212117A1 09/10/2025
Solicitante: 
CAT LABS INC [US]
CAT LABS, INC

Resumen de: WO2025212117A1

Automatically searching for cryptocurrency artifacts to recover cryptocurrency assets. Digital data suspected to contain unknown cryptocurrency artifacts may be searched to detect candidate seed phrases, each comprising a permutation of words from a single predetermined seed phrase library consecutively listed in a sequence having a fixed length predetermined according to a cryptocurrency standard. A multi-pass seed phrase validation test may be executed for each candidate seed phrase to determine if it is a valid seed phrase by: executing a first pass comprising verifying a checksum of the candidate seed phrase, and upon verifying the first pass, executing a second pass comprising verifying in a blockchain if there has been activity using a cryptocurrency asset encrypted using a public key in a key pair recovered from the candidate seed phrase. Upon verifying the valid seed phrase, cryptocurrency assets may be recovered using a private key in the key pair.

CONTROL METHOD, DEVICE, AND PROGRAM

NºPublicación:  WO2025211265A1 09/10/2025
Solicitante: 
PANASONIC INTELLECTUAL PROPERTY MAN CO LTD [JP]
\u30D1\u30CA\u30BD\u30CB\u30C3\u30AF\uFF29\uFF30\u30DE\u30CD\u30B8\u30E1\u30F3\u30C8\u682A\u5F0F\u4F1A\u793E

Resumen de: WO2025211265A1

This control method is executed by a device, and acquires transaction data including a digital signature of a type that cannot be verified by the device (S104), transmits the transaction data to an information terminal (300) storing one or more programs for verifying transaction data by using a digital signature of an unverifiable type in order for verification of the transaction data using the digital signature included in the transaction data (S105), receives one or more verification results generated by the one or more programs from the information terminal (300) (S107), and generates a block which is to be stored in a blockchain and which includes the transaction data on the basis of the one or more verification results (S108).

CONTROL METHOD, DEVICE, AND PROGRAM

NºPublicación:  WO2025211252A1 09/10/2025
Solicitante: 
PANASONIC INTELLECTUAL PROPERTY MAN CO LTD [JP]
\u30D1\u30CA\u30BD\u30CB\u30C3\u30AF\uFF29\uFF30\u30DE\u30CD\u30B8\u30E1\u30F3\u30C8\u682A\u5F0F\u4F1A\u793E

Resumen de: WO2025211252A1

This control method is executed by a device and: transmits (S102) related information related to data included in transaction data scheduled to be stored in a blockchain to an information terminal in which a program for determining the type of digital signature to be assigned to the transaction data on the basis of the related information is stored; receives (S104) the type of digital signature determined by the program from the information terminal; generates transaction data including the digital signature assigned according to the type of the digital signature; and transmits (S106) the transaction data to a blockchain system managing the blockchain in order to store the transaction data in the blockchain.

INFORMATION PROCESSING METHOD, INFORMATION PROCESSING DEVICE, AND PROGRAM

NºPublicación:  WO2025211395A1 09/10/2025
Solicitante: 
PANASONIC INTELLECTUAL PROPERTY MAN CO LTD [JP]
\u30D1\u30CA\u30BD\u30CB\u30C3\u30AF\uFF29\uFF30\u30DE\u30CD\u30B8\u30E1\u30F3\u30C8\u682A\u5F0F\u4F1A\u793E

Resumen de: WO2025211395A1

This information processing method is executed by one node among a plurality of nodes constituting a distributed ledger system. The information processing method: acquires transaction data including a first electronic signature generated by a first signature method (S20); acquires performance information indicating performance of a computer for decrypting the electronic signature (S50); determines whether or not transaction data including the first electronic signature is to be included in a block of a blockchain, on the basis of a mining reward obtained by mining the transaction data including the first electronic signature, the mining reward having been changed from a predetermined mining reward in accordance with the performance information (S60); and generates a block including the transaction data when it is determined that the transaction data is to be included (S70, S90).

CONTROL METHOD, DEVICE, AND PROGRAM

NºPublicación:  WO2025211308A1 09/10/2025
Solicitante: 
PANASONIC INTELLECTUAL PROPERTY MAN CO LTD [JP]
\u30D1\u30CA\u30BD\u30CB\u30C3\u30AF\uFF29\uFF30\u30DE\u30CD\u30B8\u30E1\u30F3\u30C8\u682A\u5F0F\u4F1A\u793E

Resumen de: WO2025211308A1

A control method according to the present invention is a control method which is executed by a device, wherein: transaction data scheduled for storage in a block chain is acquired (S104); relevant information related to data included in the transaction data is transmitted, on the basis of the relevant information, to an information terminal in which is stored a program for determining the type of consensus algorithm to be used for the transaction data (S105); the type of consensus algorithm determined by the program is received from an information terminal (300) (S107); and a consensus algorithm corresponding to the type of consensus algorithm is executed to thereby generate a block for storage in the block chain, the block including the transaction data (S108).

BLOCKCHAIN-BASED CARBON MARKETPLACE

NºPublicación:  WO2025210465A1 09/10/2025
Solicitante: 
KESHRI VIRESH [IN]
KESHRI, Viresh

Resumen de: WO2025210465A1

The present invention relates to a block chain based method of providing emission mitigating strategies for sustainability and environment protection from carbon emissions, wherein, the system evaluates the client's goals based on historical customer data and a set of customized predefined questions in order to discover the areas of relevance on the basis of operations and relevant greenhouse gas (GHG) emissions, wherein, the system also identifies the most efficient offsetting patterns for the client, highlighting where investments should be made as well as while offset purchases are being made, it will make specific carbon credit recommendations that align with the client's sustainability objectives and efforts toward meeting the SDGs relevant to customers thereby maximizing their overall sustainability strategy.

SYSTEM FOR MINTING AND MONETIZING OF A DIGITAL ASSET

NºPublicación:  US2025315886A1 09/10/2025
Solicitante: 
BITON MORAN [IL]
Biton Moran
US_2025315886_PA

Resumen de: US2025315886A1

A system and method for minting, trading, obtaining ownership, renting conducting NFT lotteries, running a business that provides utility NFT and airdrops of a physical product of a blueprint or other digital representation of a Part, Component, Product or Project or its associated rights developed on the basis of an idea, as a NFT via Blockchain Technology and Artificial Intelligence. The idea is given via three channels-upload ready blueprint; text, video, audio, or a combination of these data; and blueprint designed by user. The present invention aims to revolutionize the existing traditional product development procedure through ideation, development and validation. The NFT minted on the platform can further be categorized into Private and Public NFT. Further, the NFT can be minted as Main NFT, Physical NFT and Virtual NFT.

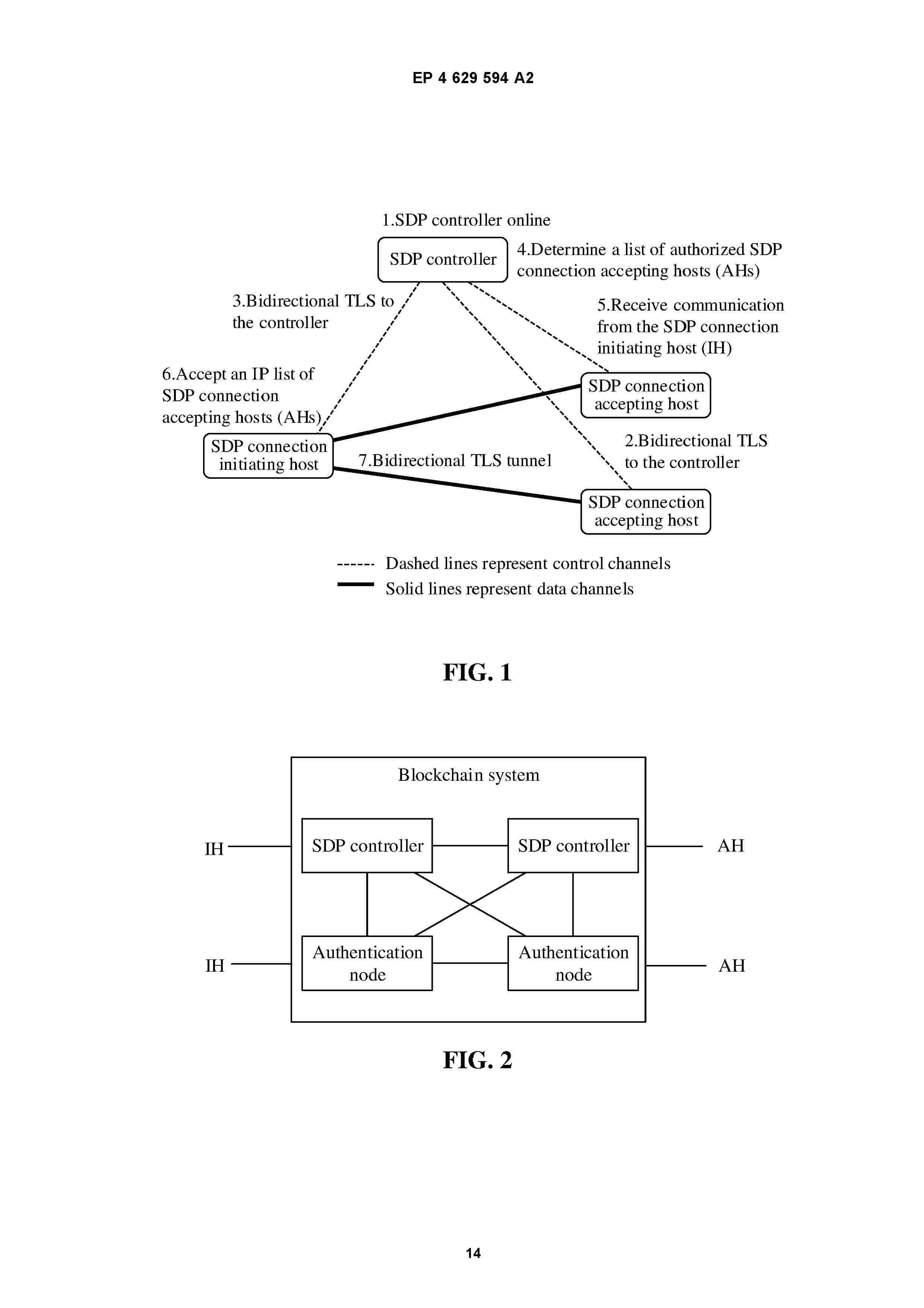
BLOCKCHAIN-BASED SDP ACCESS CONTROL METHOD AND APPARATUS

NºPublicación:  EP4629594A2 08/10/2025
Solicitante: 
CHINA MOBILE COMM CO LTD RES INST [CN]
CHINA MOBILE COMMUNICATIONS GROUP CO LTD [CN]
CHINA MOBILE COMMUNICATION CO., LTD RESEARCH INSTITUTE,
CHINA MOBILE COMMUNICATIONS GROUP CO., LTD
EP_4629594_A2

Resumen de: EP4629594A2

A blockchain-based SDP access control method and apparatus. An SDP connection initiation host submits identity authentication request information to a blockchain system node, and an authentication result after verification is fed back to the SDP connection initiation host; the SDP connection initiation host sends, to the blockchain system node, a query request for an SDP connection accepting host list that can be accessed, wherein the query request comprises an authentication result of the blockchain system node for the SDP connection initiation host; after verifying the query request, the blockchain system node queries the SDP connection accepting host list that can be accessed by the SDP connection initiation host, and records the SDP connection accepting host list to a blockchain ledger; the SDP connection initiation host initiates a connection request to the SDP connection accepting host, queries the SDP connection accepting host list that can be accessed by the SDP connection initiation host; and if an SDP connection accepting host to be accessed exists, then access service is provided, thereby avoiding DDoS attacks on an SDP controller, and preventing the SDP controller from implementing incorrect authorization.

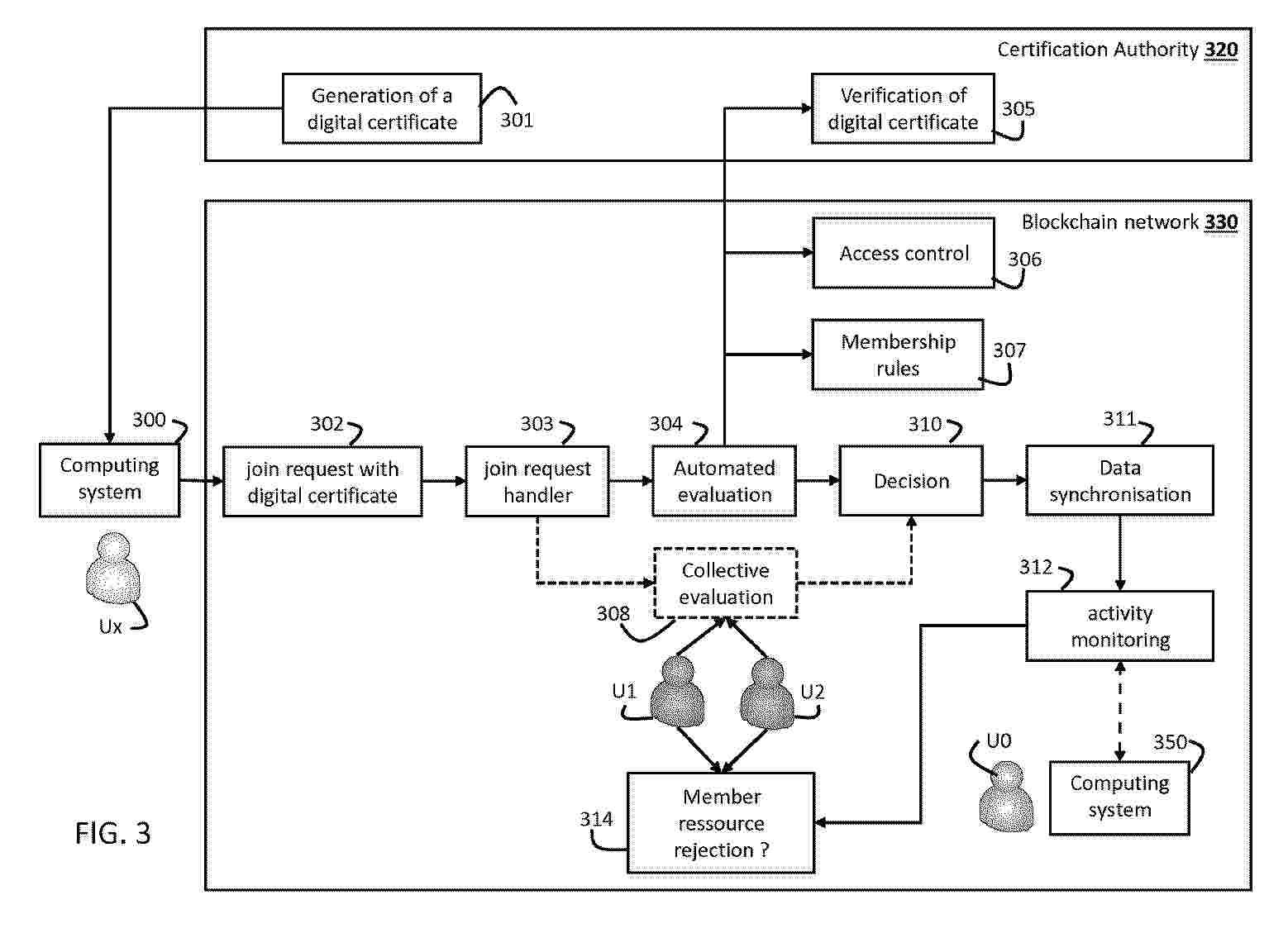
METHODS AND COMPUTER SYSTEMS FOR JOINING A BLOCKCHAIN NETWORK

NºPublicación:  EP4629561A1 08/10/2025
Solicitante: 
NOKIA SOLUTIONS & NETWORKS OY [FI]
Nokia Solutions and Networks Oy
EP_4629561_PA

Resumen de: EP4629561A1

A computing system configured for implementing at least one node of a blockchain network based on a permissioned blockchain. The computer system may: receives a join request from an entity requesting to join the blockchain network by connecting a new node to the blockchain network; triggers an evaluation process of the join request, wherein the evaluation process includes an automated evaluation performed using at least one smart contract registered in the permissioned blockchain and configured to verify compliance of the join request with membership rules; provides a response to the join request based on results of the evaluation process.

DATA PROCESSING METHOD, SYSTEM AND APPARATUS FOR BLOCKCHAIN, AND COMPUTER DEVICE

NºPublicación:  EP4629597A1 08/10/2025
Solicitante: 
TENCENT TECH SHENZHEN CO LTD [CN]
Tencent Technology (Shenzhen) Company Limited
EP_4629597_PA

Resumen de: EP4629597A1

This application relates to a data processing method and apparatus for a blockchain, a computer device, a storage medium, and a computer program product. The method may be applied to technical fields such as cloud technologies, cloud storage, and blockchain. The method includes: reading (operation 202) transaction data from a transaction message queue, the transaction data being transmitted by a service node in a service network to the transaction message queue through a proxy node; generating (operation 204) proposal information for a target block based on the transaction data, and transmitting the proposal information to a consensus message queue to cause second consensus nodes of the consensus network to read the proposal information from the consensus message queue, the proposal information being configured for instructing consensus nodes in the consensus network to perform consensus on the target block, and the consensus nodes performing consensus data interaction through the consensus message queue in a consensus process; and transmitting (operation 206), in a case that the consensus nodes reach consensus concerning the target block, the target block to a data message queue to cause the service node to read the target block from the data message queue.

BLOCKCHAIN-BASED NETWORK ADDRESS

NºPublicación:  EP4627760A1 08/10/2025
Solicitante: 
NCHAIN LICENSING AG [CH]
nChain Licensing AG
KR_20250116686_PA

Resumen de: WO2024115335A1

A computer-implemented method of generating a network address, wherein the method comprises: generating a first blockchain transaction, wherein the first transaction comprises a first data item based on a public key; and generating a first network address based on one or more second data items related to the first blockchain transaction.

COMPUTER-IMPLEMENTED METHODS AND SYSTEMS

NºPublicación:  EP4629150A1 08/10/2025
Solicitante: 
NCHAIN LICENSING AG [CH]
nChain Licensing AG
EP_4629150_PA

Resumen de: EP4629150A1

Embodiments of the disclosure provide solutions for facilitating exchanges of blockchain tokens between users. In a preferred embodiment a computing platform is provided which matches exchange-related instructions (orders) that are received from respective users. Each user establishes at least one payment channel with the platform and funds it with tokens of the type specified in their exchange-related instructions. When matching instructions are identified by the platform, the exchange is performed via the payment channels. A multi-party atomic swap can be used for implementing the token exchange, in which spending of a first transaction reveals a secret that can be used to spend a further transaction.

PROCESSING A BLOCKCHAIN TRANSACTION OVER A PEER-TO-PEER NETWORK

NºPublicación:  EP4629121A1 08/10/2025
Solicitante: 
BSV ASS [CH]
BSV Association
EP_4629121_PA

Resumen de: EP4629121A1

The present disclosure relates to a computer-implemented method of processing a blockchain transaction over a peer-to-peer network including an originator device, an originator server, a beneficiary device, a beneficiary server, and a non-custodial wallet hosted on the beneficiary server. The method comprises: sending a linked key associated with the blockchain transaction and blockchain transaction information from the originator device to the non-custodial wallet on the beneficiary server via the originator server, the linked key derived from a secret shared between the originator device and the beneficiary device; performing verification of the linked key, by the beneficiary device, using the secret and the blockchain transaction information; and performing one of pre-authorising the blockchain transaction and rejecting the blockchain transaction at the non-custodial wallet in response to performing the verification by the beneficiary device

SYSTEM AND METHOD FOR SHARING A DISTRIBUTED REVOCATION LIST ON A BLOCKCHAIN

NºPublicación:  EP4627503A1 08/10/2025
Solicitante: 
NAGRAVISION SARL [CH]
Nagravision Sarl
CN_120303678_PA

Resumen de: CN120303678A

A system for sharing a distributed revocation list on a blockchain includes circuitry that identifies access attempts of a wallet on a first blockchain network and adds the wallet to a blacklist. And the blacklist identifies the wallet as a suspicious wallet. The circuit system generates a soul binding token, and the soul binding token is air-dropped into the wallet. And the soul binding token identifies that the wallet belongs to the distributed revocation list and identifies that the wallet is a suspicious wallet to a block chain network.

BLOCKCHAIN-BASED ASSET AUTHENTICATION METHODS AND SYSTEMS

NºPublicación:  EP4627448A1 08/10/2025
Solicitante: 
STEEL AMERICAN LUXURY LLC [US]
STEEL NICOLE [US]
Steel American Luxury LLC,
Steel, Nicole
KR_20250138176_PA

Resumen de: AU2023406258A1

Systems and methods for blockchain-based asset authentication are described. The disclosed embodiments leverage the traceability and immutability of blockchains (or distributed ledgers, in general) to enable the authentication and ownership of assets, e.g., luxury goods. In an example, this is achieved by first pairing an authentication chip with a physical product, and writing a transaction correlated with the first pairing to a blockchain. The product being acquired (reacquired) results in the blockchain being updated (e.g., an updated transaction being written to the blockchain) and the (subsequent) owner being provided with a digital passport that can be added to the owner's digital Web3 wallet. The described embodiments advantageously enable digital identities to be associated with physical goods, which adds value for customers making a long-term investment in a luxury good, and promotes sustainability and transparency in manufacturing and retail processes.

SENSOR DATA ATTESTATION AND TRUSTWORTHINESS MANAGEMENT

NºPublicación:  WO2025207090A1 02/10/2025
Solicitante: 
INTEL CORP [US]
INTEL CORPORATION

Resumen de: WO2025207090A1

Disclosed herein are systems, devices, and apparatuses for a trust platform for managing sensor data from automated vehicles. The trust platform includes a key manager configured to provision a trust platform asset (e.g., an autonomous agent content key) to a participating node for encoding sensor data of the participating node. The trust platform also includes a content manager configured to determine an attestation score for an external sensor data of a second participating node and to record the attestation score and the external sensor data encoded with the trust platform asset in a blockchain network.

DATA SHARING SYSTEM, METHOD AND APPARATUS, COMPUTER DEVICE AND STORAGE MEDIUM

NºPublicación:  WO2025200555A1 02/10/2025
Solicitante: 
SUZHOU METABRAIN INTELLIGENT TECH CO LTD [CN]
\u82CF\u5DDE\u5143\u8111\u667A\u80FD\u79D1\u6280\u6709\u9650\u516C\u53F8
CN_117993017_PA

Resumen de: WO2025200555A1

The present application relates to the technical field of block chains. Disclosed are a data sharing system, method and apparatus, a computer device and a nonvolatile readable storage medium. The system comprises: a first data sharing agent, used for creating an asymmetric key, receiving an object to be shared sent by a data providing end, acquiring image digest declaration content of said object, and sending to a target authentication service node a public key in the asymmetric key, access interface information of the first data sharing agent and the image digest declaration content of said object; and the target authentication service node, used for generating a digital identity and a digital identity document of the first data sharing agent and an image digest credential of said object on the basis of the public key, the access interface information of the first data sharing agent and the image digest declaration content of said object, and storing the digital identity document of the first data sharing agent and the image digest credential of the said object to a block chain. The present application can effectively protect shared data, and save the overhead of block chain nodes.

METHOD AND SYSTEM FOR TRANSMITTING MESSAGE BETWEEN DIFFERENT BLOCKCHAINS

NºPublicación:  WO2025206732A1 02/10/2025
Solicitante: 
SOOHO IO INC [KR]
\uC8FC\uC2DD\uD68C\uC0AC \uC218\uD638\uC544\uC774\uC624

Resumen de: WO2025206732A1

The present invention provides a method for transmitting a message between different blockchains and a system using same, the method comprising: a first step in which a first blockchain system receives a message transmission request signal from a user system; a second step in which the first blockchain system transmits a message verification request signal to a verification system; a third step in which the verification system verifies a block; a fourth step in which the verification system transmits a block information storage request signal to a second blockchain system, and the second blockchain system stores block header information; a fifth step in which the first blockchain system transmits a message occurrence notification signal to a relay system; a sixth step in which the relay system generates message information and transmits the message information to the second blockchain system; a seventh step in which the second blockchain system verifies the message; and an eighth step in which the second blockchain system transmits the message to a recipient's address.

BLOCKCHAIN TOKENS

NºPublicación:  US2025310107A1 02/10/2025
Solicitante: 
TAAL DIT GMBH [CH]
TAAL DIT GMBH
US_2025310107_A1

Resumen de: US2025310107A1

A token transaction comprising a first token output, the first token output comprising a first token locking script and a first token amount, wherein the first token locking script comprises a variable component and a constant component, wherein the variable component comprises a first payment address, embedded in a payment template, and wherein the constant component comprises a token mechanics sub-component.

SYSTEM AND METHOD FOR COMPOSITE CRYPTOGRAPHIC TRANSACTIONS

NºPublicación:  US2025307787A1 02/10/2025
Solicitante: 
ROYAL BANK OF CANADA [CA]
ROYAL BANK OF CANADA
US_2025307787_A1

Resumen de: US2025307787A1

A composite cryptographic data structure is described, and corresponding methods, systems, and computer readable media. The composite cryptographic data structure is instantiated based on an underlying set of cryptographic tokens (e.g., blockchain/distributed ledger tokens) that, in some embodiments, are transferrable through on-chain transactions established on one or more distributed ledger networks. Identity validation, in some embodiments, may occur at one of composite cryptographic data structure instantiation or composite cryptographic data structure redemption, or both, through the use of a whitelist or a blacklist data structure.

COMPUTER-IMPLEMENTED SYSTEMS AND METHODS FOR SERIALISATION OF ARITHMETIC CIRCUITS

NºPublicación:  US2025306923A1 02/10/2025
Solicitante: 
NCHAIN LICENSING AG [CH]
nChain Licensing AG
US_2025306923_A1

Resumen de: US2025306923A1

Techniques described herein may be utilized to serialise and de-serialise arithmetic circuits that are utilized in the execution of computer programs. The arithmetic circuit may be utilized to build a Quadratic Arithmetic Problem (QAP) that is compiled into a set of cryptographic routines for a client and a prover. The client and prover may utilize a protocol to delegate execution of a program to the prover in a manner that allows the client to efficiently verify the prover correctly executed the program. The arithmetic circuit may comprise a set of symbols (e.g., arithmetic gates and values) that is compressed to produce a serialised circuit comprising a set of codes, wherein the set of symbols is derivable from the set of codes in a lossless manner. Serialisation and de-serialisation techniques may be utilized by nodes of a blockchain network.

SCRIPT BASED BLOCKCHAIN INTERACTION

NºPublicación:  US2025307811A1 02/10/2025
Solicitante: 
NCHAIN LICENSING AG [CH]
nChain Licensing AG
KR_20250096722_PA

Resumen de: US2025307811A1

A computer-implemented method includes: i) receiving, at a node in a blockchain network, a first transaction associated with a digital asset, the first transaction specifying at least: a) a first set of constraints on a second transaction to transfer control of the digital asset, the first set of constraints including one or more constraints that cause the second transaction to contain a set of data from the blockchain network; and b) a second set of constraints on the second transaction, the second set of constraints including a constraint that the set of data includes a block that includes the first transaction, the block included in a blockchain associated with the blockchain network; ii) verifying that the first set of constraints and the second set of constraints are satisfied; and iii) transferring control of the digital asset based at least in part on the verifying.

INFORMATION PROCESSING SYSTEM AND INFORMATION PROCESSING METHOD

NºPublicación:  US2025307801A1 02/10/2025
Solicitante: 
HITACHI LTD [JP]
Hitachi, Ltd

Resumen de: US2025307801A1

In an information processing system that provides a function for issuing or verifying a verifiable credential and a verifiable presentation, which is implemented between a plurality of organizations by a self-sovereign identity (SSI) technology, a creation request of extraction information specifying storage or non-storage, for information in the verifiable credential, in a blockchain (BC) of a distributed ledger system is received from a node, an approval or non-approval of information specifying storage or non-storage in creation request information generated based on the creation request is determined by consensus formation in the distributed ledger system, and the extraction information is created based on the creation request information when consensus is reached. BC storage information to be stored in a distributed ledger is created based on a schema or a credential definition and the extraction information.

DELEGATED CERTIFICATE AUTHORITY SYSTEM AND METHOD

NºPublicación:  US2025307804A1 02/10/2025
Solicitante: 
VISA INT SERVICE ASSOCIATON [US]
VISA INTERNATIONAL SERVICE ASSOCIATON
US_2024330911_PA

Resumen de: US2025307804A1

A method is disclosed. The method includes determining, by a delegated certificate authority computer, a tier from a plurality of tiers for a digital wallet provider based on a list of qualifying criteria. The method also includes generating a digital certificate based on the tier, where the digital certificate is used by a digital wallet application computer associated with the digital wallet provider to complete interactions using a digital currency maintained by a blockchain network. The method further includes transmitting, by the delegated certificate authority computer to a digital wallet application computer, the digital certificate.

TRANSACTION PLATFORM FOR INTELLECTUAL PROPERTY BASED ON BLOCKCHAIN

NºPublicación:  US2025307930A1 02/10/2025
Solicitante: 
YANG ZIYAN [CN]
YANG Ziyan
WO_2025076889_A1

Resumen de: US2025307930A1

A transaction platform for intellectual property based on blockchain includes an identity authentication module, a smart contract module, a legal status authentication module and a contract verification module. The identity authentication module is configured to authenticate a user's identity and authorize user's behavior. The smart contract module is configured to allow a user to publish intellectual property products and customizably publish smart contracts, where the smart contracts provide basic information and transaction contract information, and the intellectual property products comprise ungranted products and granted product. The legal status authentication module is configured to authenticate authenticity and consistency of ownership information and legal status information of the intellectual property products published by the user. The contract verification module is configured to verify the basic information and the transaction contract information in the smart contracts during the transaction processes of the intellectual property products.

SYSTEM AND METHOD FOR AUTHENTICATING A PRODUCT

NºPublicación:  US2025307846A1 02/10/2025
Solicitante: 
STMICROELECTRONICS INT N V [CH]
STMicroelectronics International N.V
EP_4625873_PA

Resumen de: US2025307846A1

The present description concerns a method of recording a link between a radio frequency tag and a token comprising data associated with a product. An example method comprising: sending, by near-field communication or radio identification, of data of a transaction by an electronic device to the tag; generating of a signature by the tag based on a private key of an asymmetric pair of keys further comprising a public key, the signature being configured to enable a recording on a blockchain; transmitting by the tag of the signed transaction to the electronic device by NFC or RFID; and immutable recording of the link between the tag and the token by the transmission, by the electronic device, of the signed transaction to a server implementing the blockchain.

DIGITAL CUSTODY TRANSACTIONS

NºPublicación:  US2025307831A1 02/10/2025
Solicitante: 
VAULTABO INC [US]
Vaultabo Inc
WO_2024127208_PA

Resumen de: US2025307831A1

Systems and methods of initiating an asset receive transaction on a biometrically enabled receiving security device are provided. One exemplary method includes receiving an encrypted initiate receive transaction message from a remote initiator, the remote initiator being the holder of a biometrically enabled security device, receiving at least one encrypted authorize/verify receive transaction message from a remote authorizer, executing a receive transaction in accordance with the encrypted initiate and authorize/verify receive transaction message on a biometrically enabled receiving security device in the blockchain custody system and completing the receive transaction on the biometrically enabled receiving security device in the blockchain custody system.

SYSTEM AND METHOD FOR SECURE KNOWLEDGE EXCHANGE AND PRIVACY-PRESERVING VALIDATION IN DECENTRALIZED AI APPLICATIONS

NºPublicación:  US2025307436A1 02/10/2025
Solicitante: 
DOYLE MICHAEL DAVID [US]
RUAN YUXIN [US]
DOYLE PAUL F [US]
Doyle Michael David,
Ruan Yuxin,
Doyle Paul F

Resumen de: US2025307436A1

A decentralized artificial intelligence platform is disclosed that enables secure sharing and execution of AI modules in sensitive application domains. The platform comprises a knowledge module registry for discovering specialized AI modules, a security framework enforcing structural integrity of AI modules, a zero-knowledge proof validation service for verifying usage conditions without exposing private data, and a blockchain-based value chain for managing smart contracts and payments. In operation, an AI agent can fetch a required AI module from the knowledge module registry, prove the right to use it, execute the AI module on local data, and automatically pay the AI module's provider through a blockchain transaction.

METHOD TO ENABLE ADAPTABLE OPERATION AND SERVICE PROVISION OF A MOBILE NETWORK

NºPublicación:  US2025310752A1 02/10/2025
Solicitante: 
LENOVO SINGAPORE PTE LTD [SG]
Lenovo (Singapore) Pte. Ltd
WO_2023217398_PA

Resumen de: US2025310752A1

Various aspects of the present disclosure relate to enabling adaptable operation and service provision of a mobile network. A network entity comprising a first network function is configured to receive blockchain information associated with a user equipment (UE), the blockchain information indicating a blockchain address; identify a second network function based on the blockchain information; send, to the identified second network function, a request for identifying a blockchain asset associated with the blockchain address; receive, from the second network function, and in response to the request, blockchain asset information corresponding to the identified blockchain asset; and update subscription data of the UE based on the blockchain asset information.

COMPUTER-IMPLEMENTED SYSTEMS AND METHODS FOR COMBINING BLOCKCHAIN TECHNOLOGY WITH DIGITAL TWINS

NºPublicación:  US2025310108A1 02/10/2025
Solicitante: 
NCHAIN LICENSING AG [CH]
nChain Licensing AG
JP_2025100651_PA

Resumen de: US2025310108A1

A computer implemented method and system is described which uses blockchain technology as a storage system for data acquired from a digital twin. The blockchain can be used to generate an immutable transaction history of data produced by the digital twin. In the case of an error, failure, incident, or accident, parties of interest can then access and analyse an immutable set of data. The blockchain network can also execute a digital smart contract based on the data received from a digital twin. The invention may be used in conjunction with the Bitcoin blockchain or another blockchain protocol.

DATA COLLECTION WITH CUSTOMIZABLE BLOCKCHAIN PROCESSING

NºPublicación:  US2025310134A1 02/10/2025
Solicitante: 
INTERDIGITAL PATENT HOLDINGS INC [US]
InterDigital Patent Holdings, Inc
WO_2023220015_PA

Resumen de: US2025310134A1

Systems and methods are described herein for data collection customizable blockchain processing. An apparatus may be configured to set up and configure a customizable blockchain, for example, for a data collection request. The apparatus may receive a data collection request (DCR) from a data consuming (DC) device (e.g., associated with an application). The apparatus may send an identification request (e.g., data provider identification request) to one or more devices (e.g., data providers). The apparatus may receive an indication indicating qualified devices (e.g., qualified data providers). The apparatus may send a blockchain request (e.g., custom blockchain request) to a blockchain system. The blockchain request may indicate the data collection request (e.g., parameters associated with the DCR) and the qualified devices. The apparatus may receive configuration information from the blockchain system, for example, that may be an operating guideline.

BLOCKCHAIN DATA COMPRESSION AND STORAGE

NºPublicación:  US2025310081A1 02/10/2025
Solicitante: 
PAYPAL INC [US]
PayPal, Inc
CN_116888583_PA

Resumen de: US2025310081A1

Methods and systems described herein improve blockchain storage operations in a variety of environments. A blockchain compression system may determine that a blockchain compression condition associated with a blockchain having a first plurality of blocks has been satisfied. In response, the system compresses the first plurality of blocks using a first hash tree into a first root hash value and stores the first plurality of blocks in a first database. The blockchain compression system generates a first new era genesis block that includes the first root hash value and a first database address of the first database at which the first plurality of blocks are stored. The blockchain compression system stores the blockchain at one or more nodes in a blockchain network. The blockchain includes the first new era genesis block and any previous new era genesis blocks. This may effectively reduce storage requirements for the blockchain, in various embodiments.

WEARABLE JEWELRY BEAD CONNECTED TO METADATA SAVED ON DLT, WHICH CAN BE USED FOR ISSUANCE OF UNIQUE DIGITAL ASSETS

NºPublicación:  WO2025202675A1 02/10/2025
Solicitante: 
WENTZEL DE OLIVEIRA MARINA [CH]
HAFNER MARIA CAROLINA [DE]
WENTZEL DE OLIVEIRA, Marina,
HAFNER, Maria Carolina

Resumen de: WO2025202675A1

The present invention provides a wearable signature jewellery bead, (Beads-C TM), with at least two physical markings denoting authenticity and connection to a unique metadata repository on Distributed Ledger Technology (DLT) which can contain information, which might be used to give genesis to a dedicated digital asset. Such asset can be constituted of any kind of blockchain token, including a non-fungible token (NFT), a soul bounded token (SBT) or any digital representations of tangible or intangible value. The token derived of the metadata information is freely exchangeable but the underlying information is immutable, only updatable upon the interaction with decentralised oracles.

BLOCKCHAIN CONSENSUS METHOD AND APPARATUS

NºPublicación:  US2025310135A1 02/10/2025
Solicitante: 
TSINGHUA UNIV [CN]
DIGITAL CURRENCY INST THE PEOPLES BANK OF CHINA [CN]
Tsinghua University,
Digital Currency Institute, the People's Bank of China
EP_4529080_PA

Resumen de: US2025310135A1

Disclosed by the present disclosure are a blockchain consensus method and apparatus, in which the method comprises: broadcasting, by each blockchain replica node in an asynchronous network, a proposal message corresponding to the blockchain replica node in a current epoch corresponding to the blockchain replica node, forming a weak certificate corresponding to the blockchain replica node in the current epoch after collecting signature voting information fed back by f+1 blockchain replica nodes based on the proposal message, and entering a next epoch after collecting the proposal messages broadcasted by 2f+1 blockchain replica nodes in the current epoch; and performing a blockchain consensus for each blockchain replica node in the asynchronous network after receiving the weak certificates of the same epoch broadcasted by 2f+1 blockchain replica nodes. The present disclosure can effectively improve the consensus efficiency and the transaction throughput.

FAST ROBUST ORACLES VIA DECENTRALIZED AUTONOMOUS ORGANIZATIONS

NºPublicación:  US2025310136A1 02/10/2025
Solicitante: 
GOLDMAN SACHS & CO LLC [US]
Goldman Sachs & Co. LLC
WO_2023073678_PA

Resumen de: US2025310136A1

An oracle that is fast enough to publish data to the blockchain in a timely manner while remaining decentralized and robust to the failure of any one part. A blockchain node may receive data to introduce to the blockchain from the oracle, determine whether the data was provided by a primary party or parties designated as an oracle by a DAO. If so, the node may process the data from the one or more primary parties and introduce the processed data to the blockchain.

INFORMATION PROCESSING SYSTEM, INFORMATION PROCESSING METHOD, AND PROGRAM

NºPublicación:  US2025310133A1 02/10/2025
Solicitante: 
PAYCLE INC [JP]
PAYCLE Inc
KR_20240170968_PA

Resumen de: US2025310133A1

The purpose of the present invention is to improve the convenience of managing rights related to content. An information processing system executes control allowing a client to use content linked to the smart contact on a blockchain while an owner retains ownership of the smart contact. A first control unit executes control to encrypt and store the content using a private key and also save a first key. A second control unit executes control to set content usage rights for a client who has satisfied an authorization to pay a rental fee. A third control unit, upon receiving a content usage request from the client, executes control to transmit the encrypted content to a media player to be operated by the client. A fourth control unit executes control to transmit, for example, a sub-key corresponding to the private key to the media player on the condition of confirming that the client has usage rights.

METHODS AND COMPUTER SYSTEMS FOR JOINING A BLOCKCHAIN NETWORK

NºPublicación:  US2025310127A1 02/10/2025
Solicitante: 
NOKIA SOLUTIONS AND NETWORKS OY [FI]
Nokia Solutions and Networks Oy

Resumen de: US2025310127A1

A computing system configured for implementing at least one node of a blockchain network based on a permissioned blockchain. The computer system may: receives a join request from an entity requesting to join the blockchain network by connecting a new node to the blockchain network; triggers an evaluation process of the join request, wherein the evaluation process includes an automated evaluation performed using at least one smart contract registered in the permissioned blockchain and configured to verify compliance of the join request with membership rules; provides a response to the join request based on results of the evaluation process.

ACTIVE-ACTIVE REPLICATION IN BLOCKCHAIN TABLES WITH PRIMARY KEY CONSTRAINTS

NºPublicación:  US2025310132A1 02/10/2025
Solicitante: 
ORACLE INT CORPORATION [US]
Oracle International Corporation

Resumen de: US2025310132A1

Disclosed herein are various approaches for supporting active-active replication in a blockchain table having a primary key constraint. A blockchain database object may be stored in a first database, the blockchain database object comprising a field defined as a primary key for the database object and a visibility field. A first row may be inserted in the database object, the first row comprising a particular value for the field designated as the primary key. A primary key value conflict may be detected between the first row and a second row from a second database, the second row comprising the particular value for the field defined as the primary key. A conflict resolution procedure may be implemented to determine that the first row is a winning row of the primary key value conflict between the first row and the second row. A visibility field may be stored within the second row to indicate that the second row does not represent a valid row with respect to the primary key.

COMPUTER-IMPLEMENTED METHOD AND SYSTEM FOR TRANSFERRING ACCESS TO A DIGITAL ASSET

NºPublicación:  US2025310124A1 02/10/2025
Solicitante: 
NCHAIN LICENSING AG [CH]
nChain Licensing AG
EP_4576660_PA

Resumen de: US2025310124A1

A method of transferring access to a digital asset is disclosed. The method comprises receiving a first blockchain transaction from a first participant by each of a plurality of second participants. The first participant has a first private key of a first private-public key pair of a cryptography system, and each participant has a respective first share of a second private key of a second private-public key pair of the cryptography system, and the first blockchain transaction is signed with the first private key. Signature of the first blockchain transaction with the first private key is verified by each second participant. A respective first share is applied to the first blockchain transaction to generate a respective second share of a second blockchain transaction signed with the second private key. Signature with the second private key is possible by means of a first threshold number of second shares.

BLOCKCHAIN WALLET-BASED 24-HOUR CURRENCY EXCHANGE SERVICE METHOD

NºPublicación:  US2025307929A1 02/10/2025
Solicitante: 
SWITCHWON CO LTD [KR]
SWITCHWON CO., LTD
KR_20240092800_PA

Resumen de: US2025307929A1

An embodiment relates to a method for providing a 24-hour currency exchange service based on a blockchain wallet, executed by a main server. The method comprises: (a) generating a wallet account linked to a first national currency bank account of a user in response to a request from a user terminal; (b) receiving a currency exchange request from the user terminal and determining an exchange rate; and (c) verifying whether the requested amount of the first national currency has been deposited into the wallet account, and if deposited, recording the corresponding amount of the second national currency in the wallet account and distributing and storing the exchange transaction between the first and second national currencies across a blockchain network.

GENERATING DIGITAL MEDIA BASED ON BLOCKCHAIN DATA

NºPublicación:  MX2025011029A 01/10/2025
Solicitante: 
SONOS INC [US]
SONOS, INC
US_2025278429_PA

Resumen de: MX2025011029A

Generative media content (e.g., generative audio) can be dynamically generated based on various inputs, which can include blockchain data. A playback device accesses blockchain data stored via a distributed ledger and generates media content based at least in part on the blockchain data. The playback device can access a library of pre-existing media segments and arrange a selection of pre-existing media segments from the library for playback according to a generative media content model and based at least in part on the blockchain data. The generated media content can then be played back via the playback device.

ECO-FRIENDLY BUSINESS SYSTEM AND BUSINESS METHOD FOR CARBON REDUCTION USING MICROALGAE

NºPublicación:  EP4625305A1 01/10/2025
Solicitante: 
FORNATURES CO LTD [KR]
FORNATURES CO., LTD
EP_4625305_PA

Resumen de: EP4625305A1

The disclosed carbon reduction eco-friendly business system utilizing microalgae comprises: a microalgae cultivation device that is equipped for each of a plurality of consumers to capture carbon and cultivate microalgae; a consumer terminal that is interconnected with the microalgae cultivation device by establishing a wireless communication network and calculates carbon reduction information based on at least one of a change in carbon concentration, a change in carbon dioxide concentration, and a harvest amount of microalgae received from the microalgae cultivation device; and a business server that provides a reward to the consumer terminal based on the carbon reduction information received through the consumer terminal and stores the carbon reduction information in a blockchain; wherein, when a business operating the business server harvests microalgae from the microalgae cultivation devices of the plurality of consumers and produces an eco-friendly microalgae product using the same, the plurality of consumers are equipped to purchase the microalgae product using the reward provided to the consumer terminal to establish a virtuous cycle business structure.

SYSTEM AND METHOD FOR ENHANCING SECURITY OF BIG DATA SYSTEMS USING BLOCKCHAIN TECHNOLOGIES

NºPublicación:  EP4625233A1 01/10/2025
Solicitante: 
UNIV OF NATIONAL AND WORLD ECONOMY [BG]
University of National and World Economy
EP_4625233_A1

Resumen de: EP4625233A1

The patent is in the field of information technology, enhancing the security of Big Data Systems using Blockchain technologies and it consists of the following blocks:Block 1 - Big Data System,Block 2 - Data transmission networks,Block 3 - Data Collector, Data Cleaning and Enrichment,Block 4 - Data Allocator,Block 5 - Management of Primary Data Repository for real-time processing,Block 6 - Application Transaction Creator,Block 7 - Blockchain ledger block generator with encryption, masking and editing,Block 8 - Blockchain Ledger Verifier Part 1,Block 9 - Blockchain Ledger Verifier Part 2,Block 10 - Blockchain Ledger Verifier part 3,Block 11 - Obtaining Consent,Block 12 - Recording in the User Audit Register,Block 13 - Recording in Blockchain Ledger,Block 14 - Managing a User Blockchain ledger for data analytics, quality and security,Block 15 - Defect Recorder in the Blockchain Ledger,Block 16 - Creating a correction for the Blockchain ledger,Block 17- User system,Block 18 - Integrating Blockchain Authentication and Kerberos/Hadoop Authentication, Implementing User Keys and Roles,Block 19 - Data sharing between authenticated users,Block 20 - Business Rules Processor for Blockchain Ledgers,Block 21 - Managing the life cycle of a User Blockchain ledger. Basically, in Big Data Systems based on Hadoop, data security.The patent proposes a System and Method for enhancing the security of Big Data Systems using Blockchain technologies, adding to their architecture blocks implementing i

SYSTEM AND METHOD FOR SECURITY SUITE CONCATENATING VALIDATION ELEMENTS FOR BLOCKCHAIN BINDING OPERATIONS

NºPublicación:  EP4623377A1 01/10/2025
Solicitante: 
REAL TITLE BLOCK LLC [US]
Real Title Block, LLC
US_2025272418_PA

Resumen de: US2025272418A1

A system comprises a server system including at least one processor. The at least one processor is configured to receive a request to generate a digital secured document, generate a unique identifier of the digital secured document, and embed a plurality of security data in at least one of the one or more defined areas of the digital secured document. The plurality of security data includes a scannable code. The scannable code has embedded therein an encrypted message that, when decrypted by the server system, validates an authenticity of the digital secured document. The at least one processor is also configured to mint the digital secured document on a blockchain, including generate metadata on the blockchain associated with the digital secured document, and store the metadata and one or more images associated with the digital secured document permanently with an on-chain permaweb protocol.

NODE, DATA SHARING METHOD, AND PROGRAM

NºPublicación:  EP4625299A1 01/10/2025
Solicitante: 
RICOH CO LTD [JP]
NGK INSULATORS LTD [JP]
Ricoh Company, Ltd,
NGK Insulators, Ltd
EP_4625299_PA

Resumen de: EP4625299A1

A node for sharing, in a blockchain network, first electricity amount data indicating an amount of produced electricity and first consumption amount data indicating an amount of consumed electricity in an electricity transaction from production to consumption is provided. The node includes a data processing unit configured to perform, in a case where a storage battery is used in the electricity transaction, a process of generating second consumption amount data indicating an amount of electricity consumed in association with charging of the storage battery; and a transmitting unit configured to transmit the second consumption amount data to a particular node in the blockchain network.

The reliable method of data storage and manage using blockchain

NºPublicación:  KR20250142177A 30/09/2025
Solicitante: 
연세대학교산학협력단
KR_20250142177_PA

Resumen de: KR20250142177A

본 발명은 블록체인을 활용한 신뢰성 있는 바이오 데이터의 저장 및 관리 방법에 관한 것으로, 보다 상세하게는 바이오 데이터를 블록체인 기술을 이용하여 저장 및 관리하여 저장된 데이터의 위조 및 변조를 방지함으로써 시간에 대한 막강한 신뢰성을 확보할 수 있도록 하는 바이오 데이터 저장 및 관리 방법에 관한 것이다.

METHOD FOR DIGITAL CURRENCY INTRA-CHAIN AND CROSS-CHAIN OFF-CHAIN PAYMENTS BASED ON TRUSTED HARDWARE

NºPublicación:  US2025299186A1 25/09/2025
Solicitante: 
ZHEJIANG UNIV [CN]
ZHEJIANG UNIVERSITY
CN_118333623_PA

Resumen de: US2025299186A1

A method for digital currency intra-chain and cross-chain off-chain payments based on trusted hardware. By creating and transferring a public-private key pair saved and managed by a trusted hardware system to replace the on-chain payment, the trusted hardware ensures the security of the transaction, avoids complicated on-chain transaction steps, reduces the long on-chain transaction time and high on-chain transaction cost, and neglects the differences among blockchain systems to support cross-chain transactions, thus greatly improving the intra-chain and cross-chain off-chain payment efficiency in digital currency and greatly reducing the payment cost in digital currency. In addition, on the basis of the above payment method, the corresponding rescue object generation process of different digital currency types and the process of using the rescue object to retrieve digital currency are further proposed, which avoids the problem of asset loss caused by the damage or loss of trusted hardware.

HEAT PUMPS AND OTHER MACHINES HAVING A MINING COMPONENT

NºPublicación:  WO2025199313A1 25/09/2025
Solicitante: 
DALRADA FINANCIAL CORP [US]
DICICCO NICOLA
DALRADA FINANCIAL CORPORATION,
DICICCO, Nicola

Resumen de: WO2025199313A1

In one embodiment, a system includes a machine that includes one or more electrical components. The system also includes a mining component electrically coupled to the machine, the mining component includes one or more processors. The system also includes a mining component electrically coupled to the machine, the mining component includes a non-transitory computer-readable medium storing instructions that, when executed by the one or more processors, causes the one or more processors to generate operational data of the machine, receive power source data, determine a carbon utility equivalent from the operational data and the power source data, generate a carbon utility token from the carbon utility equivalent, and record the carbon utility token on a blockchain.

BLOCKCHAIN-BASED BLACK BOX VIDEO INTEGRITY VERIFICATION SYSTEM AND METHOD

NºPublicación:  KR20250140262A 25/09/2025
Solicitante: 
이화여자대학교산학협력단

Resumen de: KR20250140262A

블록체인 기반의 블랙박스 영상 무결성 검증 시스템 및 방법을 개시한다. 블록체인 기반의 블랙박스 영상 무결성 검증 방법은, 블랙박스가 실시간으로 수집한 영상의 검증 정보 및 적어도 하나의 지각 해시(Perceptual Hash, PH) 값을 서버에 전송하는 단계와, 상기 서버가 상기 검증 정보와 상기 적어도 하나의 PH 값을 블록체인에 기록하는 단계와, 소유자가 검증 요청 영상 및 검증 관련 정보를 상기 서버에 전송하는 단계와, 상기 서버가 상기 검증 정보에 기반하여 상기 검증 관련 정보를 검증하고 업데이트하는 단계를 포함한다.

METHOD AND SYSTEM FOR DETECTING THE UNAUTHORIZED USE OF A PERSONAL DEVICE

NºPublicación:  WO2025196281A1 25/09/2025
Solicitante: 
SONY GROUP CORP [JP]
SONY EUROPE B V [GB]
SONY GROUP CORPORATION,
SONY EUROPE B.V

Resumen de: WO2025196281A1

A method and system for detecting an unauthorized usage of a personal device are provided. A user of a set of personal devices registers the set of personal devices with a smart contract on a blockchain. Each personal device includes a software module configured to detect an activation or usage of a host personal device on which the software module is installed. The software module installed on a personal device detects an activation or usage of the host personal device. The software module invokes the smart contract upon detection of the activation or usage of the first personal device. The smart contract determines whether the activation or usage of the first personal device is authorized or not. A warning is sent to the user if it is determined that the activation or usage of the first personal device is unauthorized.

SYSTEMS AND METHODS FOR BLOCKCHAIN-ENABLED END-TO-END ENCRYPTION

NºPublicación:  WO2025196675A1 25/09/2025
Solicitante: 
EL MAJDOUBI DRISS [MA]
EL MAJDOUBI, Driss
US_12341910_PA

Resumen de: WO2025196675A1

A system is provided to leverage blockchain for a Multi-Signed Certificate-To- Identity (MSC-To-IT) system using a distributed approach to allow end users to have greater control over their digital identities and cryptographic keys. The system can manage cryptographic keys in a distributed network. The system can include a plurality of nodes configured to participate in a blockchain network. The system can include a key generation module, operable on at least one of the nodes, to distribute generation of cryptographic keys using a threshold scheme, where the cryptographic keys can include a public key and a private key share for each participating node.

APPARATUS, METHOD, AND PROGRAM FOR OBTAINING AUTHENTICATED FEEDBACK USING NON-TRANSFERABLE NON-FUNGIBLE TOKENS

NºPublicación:  WO2025196139A1 25/09/2025
Solicitante: 
SONY GROUP CORP [JP]
SONY EUROPE B V [GB]
SONY GROUP CORPORATION,
SONY EUROPE B.V

Resumen de: WO2025196139A1

The present disclosure relates to a method for obtaining authenticated feedback from a first digital identity regarding published content of a second digital identity. The method includes receiving feedback of the first digital identity regarding the published content and a reference identification of the published content. The method further includes receiving a cryptographic proof including a verifiable credential of the first digital identity, as well as receiving a digital address of the second digital identity. Furthermore, the method includes minting a non-transferable non-fungible token, NFT, on a blockchain network, wherein the non-transferable NFT comprises the verifiable credential of the first digital identity and the reference identification, as well as issuing the non-transferable NFT to the digital address of the second digital identity.

BUSINESS PROCESSING METHOD AND APPARATUS FOR BLOCKCHAIN NETWORK, PRODUCT, DEVICE, AND MEDIUM

NºPublicación:  US2025300839A1 25/09/2025
Solicitante: 
TENCENT TECH SHENZHEN COMPANY LIMITED [CN]
Tencent Technology (Shenzhen) Company Limited
WO_2024234595_PA

Resumen de: US2025300839A1

A method, apparatus, and computer-readable storage medium for transaction processing in a blockchain network. The method includes receiving a first transaction from a client via a target processing node, and extracting information of a target type that is not needed during consensus processing or post-consensus execution. A local contract deployed in the target processing node processes this extracted information to obtain a processing result. A transition transaction is generated based on the processing result and remaining information from the first transaction, and transmitted to the client. The transition transaction is signed cooperatively using private key fragments stored in both the client and processing node to obtain a transaction signature. A second transaction is then generated based on this signature and the transition transaction, and transmitted to the consensus network for consensus processing.

GENERATIVE ADVERSARIAL NETWORK MODEL TRAINING USING DISTRIBUTED LEDGER

NºPublicación:  US2025299095A1 25/09/2025
Solicitante: 
DOCUSIGN INTERNATIONAL EMEA LTD [IE]
DocuSign International (EMEA) Limited
US_2023004868_PA

Resumen de: US2025299095A1

Embodiments are directed to the tracking of data in a generative adversarial network (GAN) model using a distributed ledger system, such as a blockchain. A learning platform implementing a classification model receives, from a third party, a set of data examples generated by a generator model. The set of data examples are processed by the classification model, which outputs a prediction for each data example indicating whether each data example is true or false. The distributed ledger keeps a record of data examples submitted to the learning platform, as well as of predictions determined by the classification model on the learning platform. The learning platform analyzes the records of the distributed ledger, and pairs the records corresponding to the submitted data examples and the generated predictions determined by the classification model, and determines if the predictions were correct. The classification model may then be updated based upon the prediction results.

Automated Smart Contract Lifecycle Management Platform for Global Intercompany Agreements

NºPublicación:  US2025299136A1 25/09/2025
Solicitante: 
MALUCHNIK J OSHUA M [US]
Maluchnik J oshua M

Resumen de: US2025299136A1

This invention presents a comprehensive platform designed for the generation, management, and execution of intercompany agreements through an automated, blockchain-based system. It employs AI and NLP technologies to assist in drafting customized agreements, taking into account international laws and corporate policies. The platform converts these agreements into immutable, transparent smart contracts deployed on a blockchain network, serving as a single source of truth. It ensures real-time compliance, automatic enforcement, and efficient dispute resolution by continuously monitoring contract performance. This integration streamlines financial processes, enhances regulatory compliance, and increases operational efficiency in managing complex intercompany relationships.

HEAT PUMPS AND OTHER MACHINES HAVING A MINING COMPONENT

NºPublicación:  US2025299203A1 25/09/2025
Solicitante: 
DALRADA FINANCIAL CORP [US]
DALRADA FINANCIAL CORPORATION

Resumen de: US2025299203A1

In one embodiment, a system includes a machine that includes one or more electrical components. The system also includes a mining component electrically coupled to the machine, the mining component includes one or more processors. The system also includes a mining component electrically coupled to the machine, the mining component includes a non-transitory computer-readable medium storing instructions that, when executed by the one or more processors, causes the one or more processors to generate operational data of the machine, receive power source data, determine a carbon utility equivalent from the operational data and the power source data, generate a carbon utility token from the carbon utility equivalent, and record the carbon utility token on a blockchain.

HARDWARE WALLET FOR DIFFERENT HOST DEVICES TO PERFORM DIGITAL PAYMENTS

NºPublicación:  US2025299179A1 25/09/2025
Solicitante: 
SOLANA MOBILE INC [US]
Solana Mobile Inc
WO_2024123368_PA

Resumen de: US2025299179A1

A hardware wallet can enable management of digital assets. The hardware wallet includes a microcontroller and a non-volatile flash memory. The hardware wallet can authorize an electronic device to perform electronic payments with digital assets on a blockchain associated with keys of a digital wallet stored on the non-volatile flash memory. The electronic device is authorized to perform electronic payments in response to user input and while the electronic device hosts the hardware wallet. The hardware wallet can also enable a payment card to perform electronic payments with the digital assets while the hardware wallet is disposed on the payment card. As such, electronic payments are authorized based on a communication exchange between the hardware wallet and a remote server of a payment system via a point-of-sale (POS) system that accepts the payment card.

BLOCKCHAIN SYSTEM FOR DISTRIBUTING FUNDS FROM TOURISTS TO LOCAL RESIDENTS

NºPublicación:  US2025299166A1 25/09/2025
Solicitante: 
HEPPLE CAMERON [CA]
Hepple Cameron

Resumen de: US2025299166A1

The invention is a blockchain based digital currency for nations with a high rate of foreign tourism that allows for visitors to buy in to the local economy by directing the visitors to purchase the digital currency before they travel to the nation. The digital currency is divided up between the local population of the nation and a fund that is set up to directly offset the economic and environmental impacts of the tourists. The local residents have the ability to vote on how the funds are distributed to various local and national projects. This digital currency would enable visitors to feel positive about their visit, and allow locals to have a say in how the money is spent in their nation.

Systems And Methods For Decreasing Counterparty Settlement Risk

NºPublicación:  US2025299167A1 25/09/2025
Solicitante: 
MARA HOLDINGS INC [US]
MARA Holdings, Inc
US_2023376913_PA

Resumen de: US2025299167A1

Apparatus, systems and methods improve efficiency in transacting a swap or other futures based financial instrument, by using time-weighted index averages to decrease counterparty settlement risk. In preferred embodiments related to Bitcoin and several other cryptocurrencies, the swaps are based upon a time-weighted index average (Dwa) of multiple instances of difficulty (Dx to Dy) of mining the cryptocurrency over multiple time periods (Px to Py) where both Ds and Ps are available from the decentralized public blockchain. Traders can use these time-weighted index averages in conjunction with the anticipated values of Ds and Ps for the remainder of the duration of the index, to calculate the index value at any given time.

Zero Trust Enable Intelligent Apparatus To Register IoT Devices For Payment Leveraging Non Fungible

NºPublicación:  US2025299191A1 25/09/2025
Solicitante: 
BANK OF AMERICA CORP [US]
Bank of America Corporation
US_2024311825_PA

Resumen de: US2025299191A1

Systems and methods are disclosed for validating transactions executed by Internet of Things (IoT) devices leveraging non fungible tokens (NFTs) stored on a blockchain. The system generates a first NFT paired with metadata associated with an IoT device, a second NFT paired with metadata associated with a transaction requested by the IoT device, and a third NFT merging the first and second NFTs together. The NFTs are used in validation processes to ensure an IoT device and/or a transaction requested by an IoT device are valid. The NFTs are bound to smart contracts assigned one or more rules related to validating an IoT device and/or transaction requested by an IoT device. A transaction requested by an IoT device executes based on the validation processes.

OPTIMISTIC RECEIPT OF NON-FUNGIBLE TOKENS IN A BLOCKCHAIN ADDRESS APPLICATION

NºPublicación:  US2025299189A1 25/09/2025
Solicitante: 
COINBASE INC [US]
Coinbase, Inc

Resumen de: US2025299189A1

Methods, systems, and devices for data management are described. A blockchain address application may receive information indicating that a device supporting the blockchain address application accesses a first link associated with the blockchain address application, where the information indicates a non-fungible token (NFT). The blockchain address application may display, via a user interface, a first indication of the NFT and a second indication that the NFT is transferred to a first blockchain address associated with the blockchain address application. The blockchain address application may initiate execution of an on-chain transfer the NFT from a second blockchain address associated with an NFT collection including the NFT to the first blockchain address after receiving the information. The blockchain address application may display the first indication of the NFT and a status associated with the on-chain transfer, where the status is pending until confirmation of the on-chain transfer via a blockchain network.

SYSTEMS AND METHODS FOR GENERATING, MANAGING, AND DISPLAYING NON-FUNGIBLE DIGITAL REPRESENTATIONS OF LIVING, BIOLOGICAL, AND/OR EUKARYOTIC ORGANISMS

NºPublicación:  US2025300846A1 25/09/2025
Solicitante: 
SCHMELZLE LAURIE [US]
Schmelzle Laurie
WO_2023114476_PA

Resumen de: US2025300846A1

The present invention generally relates to systems (100) and methods for generating, managing, and displaying non-fungible digital representations (102) of living, biological, and/or eukaryotic organisms (104). More specifically, the systems (100) and methods for generating, managing, and displaying non-fungible digital representations (102) include genetic material (106), such as single nucleotide polymorphisms. The systems (100) and methods can record genetic data from the genetic material (106) on a blockchain (114) and can generate and display the non-fungible digital representation (102) of the living, biological, and/or eukaryotic organisms (104) that are based on the genetic data on the blockchain (114).

COMPUTING TECHNOLOGIES FOR ENABLING BLOCKCHAIN-BASED DIGITAL TOKENS WITH ASSET-SPECIFIC ATTRIBUTES

NºPublicación:  US2025300834A1 25/09/2025
Solicitante: 
NORTHERN TRUST CORP [US]
Northern Trust Corporation
CN_119213730_PA

Resumen de: US2025300834A1

This disclosure enables a digital token with a set of asset-specific attributes. where the set of asset-specific attributes is modifiable or enabled to receive a new asset-specific attribute at least after the digital token with the set of asset-specific attributes is issued on a blockchain-based tokenization platform. Such functionality may be enabled via the digital token containing an attribute component with a set of key-value pairs populated with a subset of the set of asset-specific attributes. where the set of key-value pairs is programmed to be modified or have a new key-value pair being added thereto after the digital token is issued on the blockchain-based tokenization platform.

SYSTEMS AND METHODS FOR BLOCKCHAIN-ENABLED END-TO-END ENCRYPTION IN INSTANT MESSAGING APPLICATIONS

NºPublicación:  US2025300841A1 25/09/2025
Solicitante: 
EL MAJDOUBI DRISS [MA]
El Majdoubi Driss
US_12341910_PA

Resumen de: US2025300841A1

A system is provided to leverage blockchain for a Multi-Signed Certificate-To-Identity (MSC-To-IT) system using a distributed approach to allow end users to have greater control over their digital identities and cryptographic keys. The system can manage cryptographic keys in a distributed network. The system can include a plurality of nodes configured to participate in a blockchain network. The system can include a key generation module, operable on at least one of the nodes, to distribute generation of cryptographic keys using a threshold scheme, where the cryptographic keys can include a public key and a private key share for each participating node.

AUTHENTICATING A USER INTERACTING WITH A WIRELESS TELECOMMUNICATION NETWORK VIA A NON-INTERNET CONNECTED PHONE

NºPublicación:  US2025300843A1 25/09/2025
Solicitante: 
T MOBILE USA INC [US]
T-Mobile USA, Inc
US_2024146544_PA

Resumen de: US2025300843A1

The system receives a call at a unique telephone number associated with a wireless telecommunication network and establishes a communication channel with a UE of a user. The system requests and receives a voice sample from the user and a PIN associated with the user. Using the voice sample and the PIN, the system performs a multi-factor authentication. Upon authenticating the user using the voice sample and the PIN, the system authorizes the user to make the modification to a blockchain. Upon failing to authenticate the user using the voice sample and the PIN, the system refuses to authorize the user to make the modification to the blockchain.

Blockchain Incorporated System for Verifying Ingredients in Agricultural Products and Byproducts

NºPublicación:  US2025300836A1 25/09/2025
Solicitante: 
RESEARCH BLOCKS TECH INC DBA AMNI INC [US]
Research Blocks Technologies, Inc. dba AMNI, Inc
US_11770257_PA

Resumen de: US2025300836A1

A blockchain incorporated system for verifying ingredients in products includes a processor and a non-transient computer-readable storage medium having machine instructions encoded thereon. The processor executes the machine instructions to generate and maintain a blockchain directory that includes verification documents for the products and for product ingredients, and a hash structure with hashes that correlate to the verification documents. The processor provides through the hash structure, a single point of access to the verification documents. The hash structure includes batch hashes that correlate to multiples of the products and an ingredients hashes that correlate to individual ingredients of the products. The processor receives a scan of a batch hash applied to a product and based on the scan, provides access to the multiples of the products and corresponding individual ingredients for each of the individual ingredients of the products.

SYSTEM AND METHOD FOR WATER TREATMENT INCENTIVE

NºPublicación:  US2025299270A1 25/09/2025
Solicitante: 
ORIGINCLEAR INC [US]
ORIGINCLEAR, INC
KR_20230010270_PA

Resumen de: US2025299270A1

A water treatment system includes a water treatment station having a water input and a water output, an input sensor measuring an input flow and an output sensor measuring an output flow, and a connection through a network to a computer. A blockchain includes a plurality of user's terminals, a ledger for registering peer to peer transactions and a program enabling peer to peer transactions between the terminals by exchanging tokens through a consensus mechanism. The computer having access to the blockchain. The information issued by the input sensor and by the output sensor are transmitted to the computer. The computer associates a given number of the tokens based on the information supplied by the sensors. Preferably, the tokens can be associated with revenue streams as dividends and through transferability, create a financial marketplace.

METHOD AND SYSTEM FOR KEY RECOVERY USING GROUP STRUCTURE

NºPublicación:  WO2025198909A1 25/09/2025
Solicitante: 
VISA INT SERVICE ASSOCIATION [US]
VISA INTERNATIONAL SERVICE ASSOCIATION

Resumen de: WO2025198909A1

A method includes a user device generating a key recovery message comprising a public key or an identifier thereof associated with an account. The public key corresponding to a first private key associated with the user device. The user device can provide the key recovery message to a smart contract on a blockchain. The user device can receive a recovery detected message from a server computer that monitors the smart contract. After providing the key recovery message to the smart contract, the user device can generate a new private key to replace the first private key.

INFORMATION PROCESSING SYSTEM, INFORMATION PROCESSING METHOD, AND COMPUTER PROGRAM

NºPublicación:  WO2025197365A1 25/09/2025
Solicitante: 
YAMANE YUTA [JP]
\u5C71\u6839\u3000\u4F51\u592A
JP_7717881_B1

Resumen de: WO2025197365A1

Provided are an information processing system, an information processing method, and a computer program that allow setting control to be easily performed for a paywall by using a blockchain technology. The information processing system comprises: a server device that receives content creation and editing; a first client device for a content poster; a second client device for a content viewer; and a blockchain system. The first client device embeds the script of a paywall in an arbitrary portion of created content. In accordance with the script, the smart contract of the blockchain system performs the process for cost payment from the wallet address of the viewer to the wallet address of the poster. When the record of success in the process for payment performed by the smart contract has been confirmed, the server device transmits data on the content of interest after the cancellation of the paywall to the second client device.

CARBON ACCOUNT DATA MANAGEMENT SYSTEM, METHOD AND APPARATUS, DEVICE, AND MEDIUM

NºPublicación:  WO2025194911A1 25/09/2025
Solicitante: 
CHINA UNIONPAY CO LTD [CN]
\u4E2D\u56FD\u94F6\u8054\u80A1\u4EFD\u6709\u9650\u516C\u53F8
CN_118115337_PA

Resumen de: WO2025194911A1

The present application discloses a carbon account data management system, method and apparatus, a device, and a medium. A carbon account application management device acquires, for respective carbon account applications of organizations, low-carbon transaction data collected by the carbon account applications, and sends the low-carbon transaction data to a transaction deduplication management device; the transaction deduplication management device acquires carbon account identifiers, transaction information, and low-carbon behavior information carried in the low-carbon transmission data, determines a repeated cumulative transaction identification result of the low-carbon transaction data on the basis of the carbon account identifiers, transaction information, and low-carbon behavior information carried in the low-carbon transmission data, calculates, on the basis of the identification result, carbon emission reduction amounts corresponding to the low-carbon transaction data, and sends the carbon emission reduction amounts to the carbon account application management device; and the carbon account application management device bundles the carbon emission reduction amounts on the basis of the carbon account identifiers to obtain a bundled carbon emission reduction amount, determines a bundled transaction on the basis of the carbon account identifiers and the bundled carbon emission reduction amount, and sends the bundled transaction to a corresponding blockchain node. A soluti

FULL-PROCESS DATA PROTECTION METHOD AND SYSTEM FOR PROCUREMENT MANAGEMENT

NºPublicación:  WO2025194529A1 25/09/2025
Solicitante: 
SHANGHAI HANDPAL INFORMATION TECH SERVICE CO LTD [CN]
\u4E0A\u6D77\u701A\u4E4B\u53CB\u4FE1\u606F\u6280\u672F\u670D\u52A1\u6709\u9650\u516C\u53F8
CN_118037197_PA

Resumen de: WO2025194529A1

The present invention relates to the technical field of data security. Disclosed are a full-process data protection method and system for procurement management. The method comprises: acquiring a target access request, wherein the target access request refers to a data access request made by a target user under a target role thereof; determining whether the target access request complies with a predetermined access logic; if the target access request complies with the predetermined access logic, constructing a target digital middle platform for a procurement management full-process database by combining the target user and the target role, wherein the procurement management full-process database is stored on a blockchain information chain; performing indexing in the target digital middle platform on the basis of target object information in the target access request to obtain a target object code; retrieving and downloading an order from the blockchain information chain on the basis of the target object code to obtain a target object order; and sending the target object order to the target user. The technical effects of enhancing full-process data security and also ensuring data calling responsiveness are achieved.

SECURE DIGITAL CURRENCY SERVICE UNIT

NºPublicación:  US2025299182A1 25/09/2025
Solicitante: 
GIESECKE DEVRIENT ADVANCE52 GMBH [DE]
Giesecke+Devrient advance52 GmbH
EP_4621683_PA

Resumen de: US2025299182A1

A secure digital currency service unit includes a digital currency wallet for a digital currency of a digital currency system; a creation unit configured to create a smart contract in a separate blockchain structure. The separate blockchain structure includes a smart contract for a digital asset, and the digital asset is assignable to a blockchain account of the separate blockchain structure. A digital currency asset management unit of the secure digital currency service unit manages a digital currency asset type in the blockchain structure. The smart contract includes one or more of the digital currency assets of the digital currency asset type, and the digital currency wallet is a collateral digital currency wallet holding the digital currency of the digital currency system as collateral for one or more digital currency assets in the smart contract.

DEVICES AND METHODS FOR AUTHENTICATING PROPERTIES OF PHYSICAL OBJECTS

NºPublicación:  AU2024238847A1 25/09/2025
Solicitante: 
CAPITAL ONE SERVICES LLC
CAPITAL ONE SERVICES LLC
AU_2024238847_PA

Resumen de: AU2024238847A1

Systems, methods, apparatuses, and computer-readable media for management of physical object authentication are described. For example, a system may include a physical object and an authentication device coupled to the physical object. The authentication device may include an antenna, a processor, a secure enclave comprising a private key uniquely associated with the physical object via a public key stored in a blockchain; and memory comprising instructions that, when executed by the processor, cause the processor to receive signals comprising a challenge element via the antenna, identify the challenge element as corresponding to a verification request, sign the challenge element with the private key to produce a verification token for authentication of the physical object, transmit signals comprising the verification token via the antennae, wherein the verification token enables authentication of the physical object via the public key stored in the blockchain. Other embodiments are described.

SYSTEMS AND METHODS FOR BLOCKCHAIN-BASED CYBER THREAT MANAGEMENT

NºPublicación:  US2025301005A1 25/09/2025
Solicitante: 
THE TRAVELERS INDEMNITY COMPANY [US]
The Travelers Indemnity Company
US_2024022584_PA

Resumen de: US2025301005A1

Systems, apparatus, methods, and articles of manufacture for blockchain-based cyber threat management, such as the generation and management of cyber risk insurance policies with automatic cyber threat assessment, remediation, and/or claim payment.

SECURE DIGITAL CURRENCY SERVICE UNIT

NºPublicación:  EP4621683A1 24/09/2025
Solicitante: 
GIESECKE DEVRIENT ADVANCE52 GMBH [DE]
Giesecke+Devrient advance52 GmbH
EP_4621683_PA

Resumen de: EP4621683A1

A secure digital currency service unit (2), comprising- a digital currency wallet (21) for a digital currency of a digital currency system (1);- a creation unit (29) configured to create a smart contract in a separate blockchain structure (3),wherein the separate blockchain structure includes a smart contract (32) for a digital asset, andwherein the digital asset is assignable to a blockchain account (38; 39) of the separate blockchain structure (3).A digital currency asset management unit (25) of the secure digital currency service unit (2) manages a digital currency asset type in the blockchain structure (3), a digital currency asset (30) of the digital currency asset type representing in a one-to-one relationship the digital currency of the digital currency system (1) in the blockchain structure (3),wherein the smart contract (32) includes one or more of the digital currency assets (30) of the digital currency asset type, andwherein the digital currency wallet (21) is a collateral digital currency wallet holding digital currency of the digital currency system (1) as a collateral for the one or more digital currency assets (30) in the smart contract (32).

SYSTEMS AND METHODS TO ENSURE ASSET AND SUPPLY CHAIN INTEGRITY

NºPublicación:  EP4621681A2 24/09/2025
Solicitante: 
STOLLMAN JEFF [US]
MATEEV MARTIN [BG]
Stollman, Jeff,
Mateev, Martin
EP_4621681_A2

Resumen de: EP4621681A2

A system for tracking and recording the chain-of-custody for assets within a supply chain that creates a non-repudiatableelectronic log of each custody transfer at each transfer point from initial creation, to final transfer or disposal. In oneembodiment, the system uses encryption technology to register assets that are to be transferred and whose chain ofcustody is to be ensured. Through use of encryption key pairs and blockchain encryption technology, an electronicdocument is created in an encrypted transaction log updated at each change of custody point. At each such change ofcustody point, the new custodians who receive the product are provided with the information generated by the originator.By way of one example, because the system tracks all inputs and outputs to the system at each change of custody point,any alteration in product quantities are immediately identified, and a chain-of-custody integrity problem is identified.

SYSTEMS AND METHODS FOR A BLOCKCHAIN INTEROPERABILITY PLATFORM

NºPublicación:  EP4620183A1 24/09/2025
Solicitante: 
COINBASE INC [US]
Coinbase, Inc
CN_120226334_PA

Resumen de: CN120226334A

The methods and systems described herein relate to an improved platform that provides support for the deposit and/or withdrawal of multi-network assets between two levels of a blockchain network. More specifically, the methods and systems provide such an improved platform by introducing additional flowability pools that allow transfer without having to bridge between two levels.

Blockchain-enhanced proof of identity

NºPublicación:  GB2639487A 24/09/2025
Solicitante: 
ONESPAN CANADA INC [CA]
Onespan Canada Inc
GB_2639487_PA

Resumen de: GB2639487A

In an embodiment, a method of blockchain-enhanced proof of identity (POI) includes receiving identity information of a user in connection with a POI request. The method also includes generating a first cryptographic hash using at least a portion of the identity information and storing the first cryptographic hash on a public blockchain in a first blockchain transaction. The method also includes establishing a request identifier based on the first blockchain transaction. The method also includes receiving a digital image that depicts the user together with a POI document, the digital image including the request identifier. The method also includes creating a POI digital document comprising at least a portion of the digital image. The method also includes generating a second cryptographic hash using at least a portion of the POI digital document and storing the second cryptographic hash on the public blockchain in a second blockchain transaction.

AUTHENTICATED MODIFICATION OF BLOCKCHAIN-BASED DATA

NºPublicación:  EP4619892A1 24/09/2025
Solicitante: 
KANOVITZ MICHAEL IRA [US]
LOEVY JON ISAAC [US]
Kanovitz, Michael Ira,
Loevy, Jon Isaac
WO_2024137428_PA

Resumen de: WO2024137428A1

Example implementations may include: obtaining a first identifier relating to a first entity, wherein the first identifier uniquely identifies the first entity within a backwardly- immutabie cryptographic sequence of data blocks: exchanging, between the first entity and a second, entity; a set of conditions, wherein a second identifier uniquely identifies the second entity within the data blocks; receiving, from the first entity and the second entity, acceptances of tiie set of conditions; generating a self-executing unit of program logic that contains the first identifier, the second identifier, a representation of the set of conditions, and a third identifier that uniquely identifies a third entity having authority to suspend, modify, or override execution of the program logic; adding, as a new data block, the self-executing unit of program logic on the data blocks; and notifying one or more of the first entity or second entity of the self¬ executing unit of program logic.

System and method for security suite concatenating validation elements for blockchain binding operations

NºPublicación:  GB2639491A 24/09/2025
Solicitante: 
REAL TITLE BLOCK LLC [GB]
Real Title Block, LLC
GB_2639491_PA

Resumen de: GB2639491A

A system comprises a server system including at least one processor. The at least one processor is configured to receive a request to generate a digital secured document, generate a unique identifier of the digital secured document, and embed a plurality of security data in at least one of the one or more defined areas of the digital secured document. The plurality of security data includes a scannable code. The scannable code has embedded therein an encrypted message that, when decrypted by the server system, validates an authenticity of the digital secured document. The at least one processor is also configured to mint the digital secured document on a blockchain, including generate metadata on the blockchain associated with the digital secured document, and store the metadata and one or more images associated with the digital secured document permanently with an on-chain permaweb protocol.

METHOD AND SYSTEM FOR REGULATION OF BLOCKCHAIN TRANSACTIONS

NºPublicación:  KR20250139402A 23/09/2025
Solicitante: 
마스터카드인터내셔날인코포레이티드
KR_20250139402_PA

Resumen de: JP2024138258A

To provide a method and system that facilitates compliance with regulation requirements via appropriate data storage and notification in order to assist a wallet provider in complying a regulation of block chain transaction.SOLUTION: A method includes: receiving, at a processing server and by a receiver, a transaction of a new block chain containing a destination address associated with a block chain wallet from a first computing device as a recipient; generating, by a processor, a reference identifier for the new block chain transaction; identifying, by the processor, a profile of the block chain wallet on the basis of the destination address; transmitting, by a transmitter, the reference identifier to the first computing device; and transmitting, by the transmitter, a notification message to a second computing device.SELECTED DRAWING: Figure 4

BLOCKCHAIN-BASED PLATFORM AND SYSTEM FOR INVESTING IN VARIOUS FORMS OF REAL OBJECT RIGHTS PIESCES

Nº publicación: KR20250138598A 22/09/2025

Solicitante:

주식회사페어스퀘어랩

KR_20250138598_PA

Resumen de: KR20250138598A

통신 장치; 하나 이상의 명령어를 저장하는 메모리; 및 상기 메모리에 저장된 상기 하나 이상의 명령어를 실행하는 프로세서;를 포함하고, 상기 프로세서는, 상기 하나 이상의 명령어를 실행함으로써, 지정된 객체를 기반으로 하는 복수의 권리를 블록체인 상에서 발행하고, 상기 발행된 복수의 권리에, 상기 지정된 객체의 상태 정보를 업데이트하고, 상기 상태 정보가 업데이트된 복수의 권리가 상기 블록체인 상에서 거래되는 것을 관리하고, 상기 프로세서는, 상기 권리가 거래되는 것을 관리하는 경우,상기 복수의 권리 중 적어도 하나의 권리를 거래하기 위해 상기 블록체인 상에서 매칭된 복수의 계약을 확인하고 - 상기 복수의 계약 각각은 지정된 조건을 포함함 - , 상기 복수의 계약에 포함된 조건 및 상기 복수의 권리에 업데이트된 상태 정보에 기초하여, 상기 확인된 복수의 계약에 의한 거래를 승인하는, 객체 기반 투자 플랫폼 서버가 개시된다. 이 외에도 명세서를 통해 파악되는 다양한 실시 예가 가능하다.

traducir