Ministerio de Industria, Turismo y Comercio LogoMinisterior
 

Alerta

Resultados 56 resultados
LastUpdate Última actualización 24/04/2026 [07:48:00]
pdfxls
Solicitudes publicadas en los últimos 30 días / Applications published in the last 30 days
Resultados 1 a 25 de 56 nextPage  

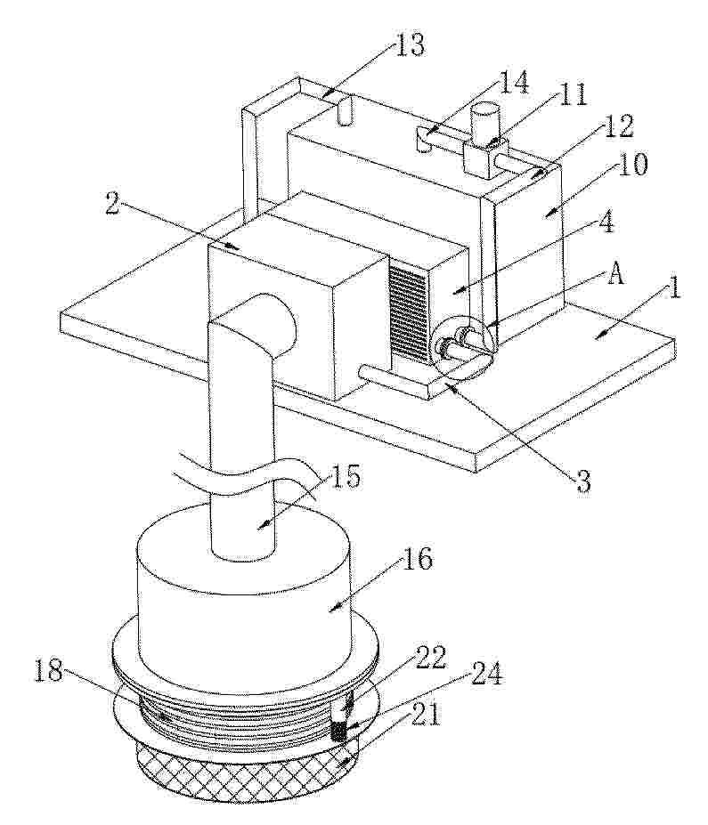
一种用于观测地热井回灌率的系统

NºPublicación:  CN121875712A 17/04/2026
Solicitante: 
河北省地质环境监测院
CN_121875712_PA

Resumen de: CN121875712A

本发明属于地热资源监测技术领域,公开一种用于观测地热井回灌率的系统,包括主控单元及与其连接的数据采集、人机交互和通信模块。数据采集模块同步采集开采井与回灌井的流量、温度和压力数据。主控单元首先通过分析压力‑流速长时协变、温度‑流速中时响应及流速瞬时稳定性,综合计算流量数据的可靠性指数;并执行物理规则校验,当监测值与压力、温度反映的趋势相悖时判定为设备故障。基于高可靠性数据计算阶段回灌率,若不达标,则进行智能诊断:若数据可靠性低或存在设备故障,则报警指示测量异常;若数据均可靠,则报警指示疑似违规开采或回灌井堵塞。本发明提高了数据可信度与监管准确性,实现了异常根源的智能定位。

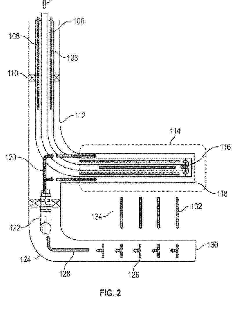
一种基于复合热交换管的建筑自然换热方法

NºPublicación:  CN121876598A 17/04/2026
Solicitante: 
东莞市捷旌实业有限公司
CN_121876598_PA

Resumen de: CN121876598A

本发明涉及建筑节能与通风换热技术领域,公开了一种基于复合热交换管的建筑自然换热方法,采用包括金属管件和隔热管件的复合热交换管;金属管件和隔热管件的横截面均呈中空的圆环状结构;金属管件与隔热管件之间形成环形换热腔,环形换热腔用于实现不同气流之间的间接换热;复合热交换管具有以下两种结构配置形式,热交换结构甲:金属管件设置于隔热管件的外部;热交换结构乙:金属管件设置于隔热管件的内部;在建筑物顶部设置若干个热交换结构乙,其中包括:第一个热交换结构乙,其一端与建筑物内部连通,另一端与外界连通;第二个热交换结构乙,其离地设置于建筑物外侧,一端与室外空气连通,另一端与第一复合热交换管连通。

GEOTHERMAL ENERGY SYSTEM

NºPublicación:  AU2024355495A1 16/04/2026
Solicitante: 
STOIC TRANSITIONAL RESOURCES INC
AU_2024355495_PA

Resumen de: AU2024355495A1

A system for geothermal heating, the system comprising a forced geothermal circuit disposed in a well bore. The system also comprise a well bore heat exchanger and an pump. The system may further comprise a circulation fluid and flux co-inverter. A method for geothermal heating, the method comprising passing a fluid into a thermal circulation system; passing the fluid into a well bore heat exchanger; passing reservoir fluid into an annulus space; and passing the reservoir fluid through a sub-surface formation.

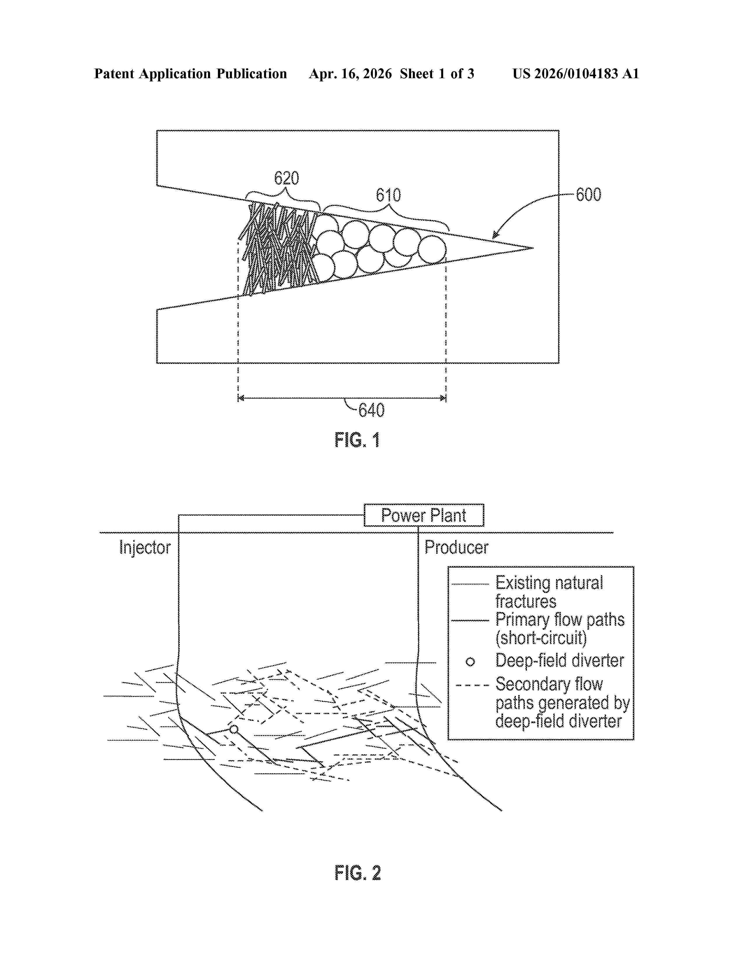
GEOTHERMAL WELL DIVERSION

NºPublicación:  US20260104183A1 16/04/2026
Solicitante: 
SCHLUMBERGER TECH CORPORATION [US]
US_20260104183_A1

Resumen de: US20260104183A1

Techniques for controlling tortuosity of fluid flow through a subterranean formation include introducing a diversion fluid into a wellbore, introducing a first fluid into the wellbore, collecting a second fluid from the wellbore or a second wellbore, and recovering heat from the second fluid. Techniques for increasing the likelihood that a fluid will absorb heat as it flows through rock fractures include introducing a first fluid into a first wellbore, introducing a particulate fluid into the first wellbore, collecting a second fluid from a second wellbore, and recovering heat from the second fluid. Techniques for recovering heat from a subterranean formation include observing a first parameter of a first fluid introduced into a first wellbore, observing a second parameter of a second fluid

SYSTEMS FOR GENERATING ENERGY FROM GEOTHERMAL SOURCES AND METHODS OF OPERATING AND CONSTRUCTING SAME

NºPublicación:  EP4724747A1 15/04/2026
Solicitante: 
RODA ENERGY CORP [CA]
US_12305621_B2

Resumen de: US12305621B2

The present disclosure describes a system and a method for generating energy from geothermal sources. The system includes an insulated injection pipe and a common well segment, an injection well and a production well, a first lateral section connected to the injection well and a second lateral section connected to the production well, a multilateral connector joining the first and second lateral sections, the insulated injection pipe coinciding with the common well segment, defining a pressure-tested loop within the rock formation and in a heat transfer arrangement therewith. The loop cased in steel and cemented in place. The loop to receive working fluid capable of undergoing phase change within the downhole well loop as a result of heat transferred from the rock formation. The system also includes a pump to circulate working fluid, a turbine system to convert the flow of working fluid into electricity, and a cooler.

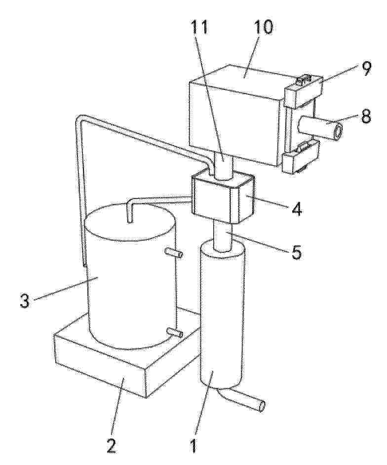
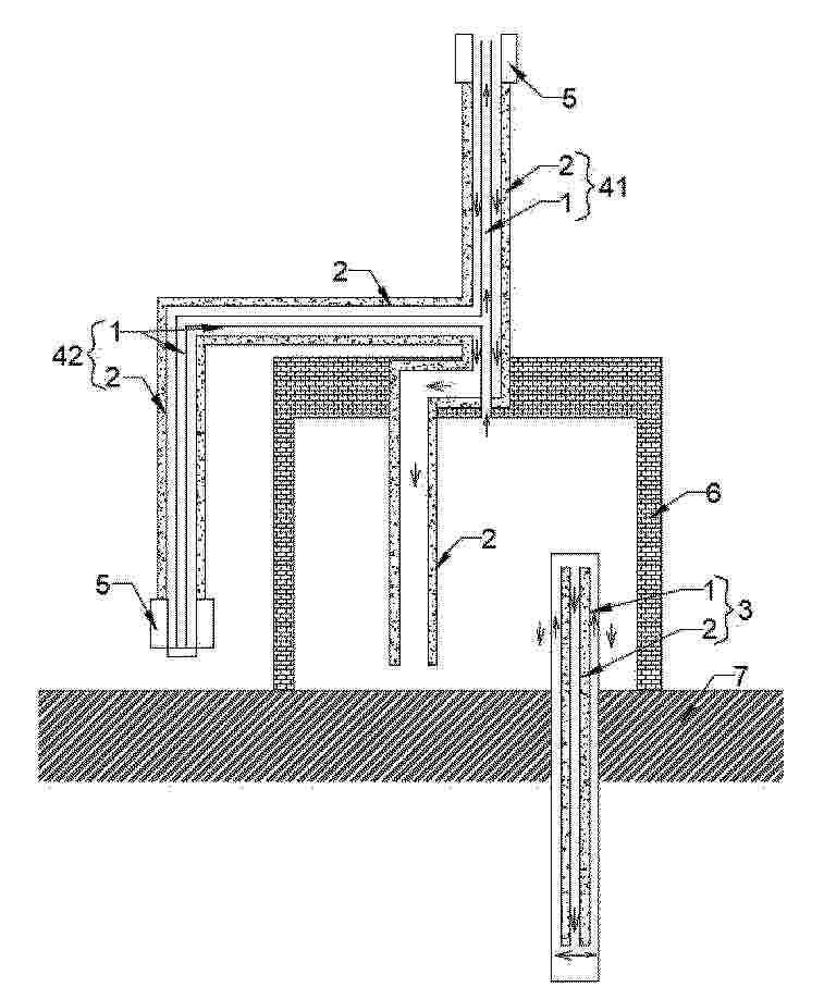
一种土壤储冷热系统换热元器件套管机

NºPublicación:  CN121855296A 14/04/2026
Solicitante: 
台州长天能源技术有限公司
CN_121855296_PA

Resumen de: CN110307657A

The invention discloses a soil cold and heat storage system which comprises a U-shaped well pipe heat exchange element going deep into soil, a mother pipe connected with the heat exchange element andsoil. The heat exchange element is filled with a heating medium and exchanges heat with the soil through the heating medium. The soil cold and heat storage system is characterized in that a heat insulation layer is arranged on the topmost section of the heat exchange element; a soil layer where a heat insulation casing pipe is located does not participate in cold and heat storage; then an isolation layer is formed between the soil cold and heat storage system and the ground surface; and the isolation layer is used for reducing heat conduction of the soil cold and heat storage system on the ground surface. By means of the soil cold and heat storage system, due to the existence of the isolation layer, heat losses of the soil cold and heat storage system are reduced, and the heat insulation effect similar to that of a heat insulation material layer laid above the soil cold and heat storage system is achieved; and in addition, the isolation layer is arranged for obtaining the heat insulation capability, the earthwork on the soil cold and heat storage system does not need to be excavated, backfilling of the earthwork is then conducted after laying of a heat insulation material, and bothof the work amount and the material cost of the system are saved by 90% or higher.

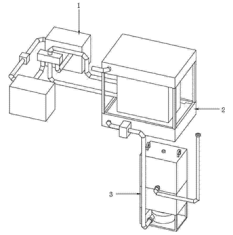
一种地热能和冷凝水耦合的供冷供热节能利用装置

NºPublicación:  CN121854961A 14/04/2026
Solicitante: 
中建三局第二建设安装有限公司中建三局第二建设工程有限责任公司
CN_121854961_PA

Resumen de: CN121854961A

本发明公开了一种地热能和冷凝水耦合的供冷供热节能利用装置,涉及到空调冷凝水循环利用技术领域,包括供冷供热组件与用于收集供冷供热组件冷凝水的升温冷凝水收集组件,所述升温冷凝水收集组件的输出端连接有埋于地下的地埋组件,所述地埋组件内部设置有过滤净化组件与排污组件,所述排污组件两侧均连接有用于清理过滤净化组件的清理组件;所述排污组件包括通过轴承转动设置于下壳体内侧的旋转轴,所述旋转轴顶端固定连接有通过轴承转动设置于上壳体内侧的往复螺杆。本发明可以在地下完成升温冷凝水的过滤净化,以避免在过滤过程中,室外空气使升温冷凝水降温,同时可以在清理完成后实现主动排污,避免清理与排污不便等缺陷。

一种以深浅地热能为主的多能源热水全年供应系统及方法

NºPublicación:  CN121854922A 14/04/2026
Solicitante: 
中国煤炭地质总局水文地质局
CN_121854922_PA

Resumen de: CN121854922A

本发明公开了一种以深浅地热能为主的多能源热水全年供应系统及方法,涉及供热技术领域,系统中,设置蓄热水箱、热水循环泵、水水板式换热器、热回收式地源热泵机组、空气源热水机组及三只电动开关阀,板式换热器一次侧接入中深层地热供水管路与尾水管路,热水侧由蓄热水箱经分配管路并联接入板换二次侧、热回收器和空气源机组并回流。控制器依据季节工况信息确定运行模式,互锁开启对应阀门驱动热水经目标支路循环换热/加热,并在蓄热水箱内温度低于预设阈值时切换至备用支路补偿加热。通过本发明的技术方案,实现了多能源协同与尾水梯级利用,保证供水温度稳定与全年连续供应,降低了能耗与运维成本,提升了系统集成度与可靠性。

一种天然气水合物新型开发方法

NºPublicación:  CN121853988A 14/04/2026
Solicitante: 
吉林大学
CN_121853988_PA

Resumen de: CN121853988A

本发明提供了一种天然气水合物新型开发方法,利用地热储层作为天然、低成本热源,将作为载热流体的CO2充分加热后注入水合物储层底部,同时在上部实施降压开采,从而将地热激发、CO2置换与降压驱动三种机理在时间和空间上深度耦合、同步实施。这不仅为系统提供了持续稳定的热补给,有效抵消了降压分解导致的储层冷却效应,杜绝了冰堵风险,确保了开采的连续性;而且,注入的高温CO2与储层中建立的稳定压差协同作用,极大地加速了CO2与CH4的置换反应动力学过程,并驱动流体(热CO2、CH4、水)在储层内有效运移,显著扩大了反应波及体积和天然气水合物开采效率。

一种跨季节蓄热的地热能综合开发利用系统

NºPublicación:  CN121855304A 14/04/2026
Solicitante: 
万江新能源股份有限公司北京新能源科技分公司万江新能源股份有限公司中国建筑科学研究院有限公司
CN_121855304_PA

Resumen de: CN121855304A

一种跨季节蓄热的地热能综合开发利用系统,涉及能源开发利用领域,在该系统中,本申请采用“地埋管‑相变套筒‑岩土体”的三层嵌套结构,其中相变套筒通过环形弹性骨架层提供结构支撑,通过柔性密封层与地埋管紧密贴合,通过柔性连接端实现分段连接。本申请的结构设计使得相变套筒能够有效适应相变材料在相变过程中的体积变化,避免结构失效;同时,柔性密封层与地埋管外壁形成密封接触,减小了传热接触电阻,提高了换热效率;此外,相变套筒沿轴向分段布置的模块化设计,便于系统在地热井中的安装和后期维护。

一种电热交互式盾构隧道抗沉降能量桩系统及其施工方法

NºPublicación:  CN121853607A 14/04/2026
Solicitante: 
中国水利水电第五工程局有限公司重庆大学
CN_121853607_PA

Resumen de: CN121853607A

本发明涉及地铁隧道领域,尤其涉及一种电热交互式盾构隧道抗沉降能量桩系统及其施工方法。设置于地铁隧道中,包括埋设于地铁隧道的盾构管片外部的供热部,在供热部上设置有位于盾构管片内部的第一连接管道,在第一连接管道上连接有与供热部相连通的热泵部,在地铁隧道内设置有空调部,在空调部上设置有循环回路管路,在热泵部上连接有冷水连接管路和热水连接管路,冷水连接管路和热水连接管路均与循环回路管路相连通,在热泵部和空调部上共同连接有控制部;有效提高了地铁隧道、盾构隧道的抗沉降能力,并且建立了电能和地热能协调互补的能源供应体系,进而有效的利用了丰富的地热资源。

一种基于CO2工质的热电联供系统及其实现方法

NºPublicación:  CN121827973A 10/04/2026
Solicitante: 
北京大学
CN_121827973_PA

Resumen de: EP1000000A1

The invention relates to an apparatus (1) for manufacturing green bricks from clay for the brick manufacturing industry, comprising a circulating conveyor (3) carrying mould containers combined to mould container parts (4), a reservoir (5) for clay arranged above the mould containers, means for carrying clay out of the reservoir (5) into the mould containers, means (9) for pressing and trimming clay in the mould containers, means (11) for supplying and placing take-off plates for the green bricks (13) and means for discharging green bricks released from the mould containers, characterized in that the apparatus further comprises means (22) for moving the mould container parts (4) filled with green bricks such that a protruding edge is formed on at least one side of the green bricks.

一种节能型地源热泵

NºPublicación:  CN121828948A 10/04/2026
Solicitante: 
山东鲁辰能源发展股份有限公司
CN_121828948_PA

Resumen de: EP1000000A1

The invention relates to an apparatus (1) for manufacturing green bricks from clay for the brick manufacturing industry, comprising a circulating conveyor (3) carrying mould containers combined to mould container parts (4), a reservoir (5) for clay arranged above the mould containers, means for carrying clay out of the reservoir (5) into the mould containers, means (9) for pressing and trimming clay in the mould containers, means (11) for supplying and placing take-off plates for the green bricks (13) and means for discharging green bricks released from the mould containers, characterized in that the apparatus further comprises means (22) for moving the mould container parts (4) filled with green bricks such that a protruding edge is formed on at least one side of the green bricks.

用于中深层地热开采的同轴套管换热器及其加工方法

NºPublicación:  CN121829155A 10/04/2026
Solicitante: 
上海交通大学
CN_121829155_PA

Resumen de: EP1000000A1

The invention relates to an apparatus (1) for manufacturing green bricks from clay for the brick manufacturing industry, comprising a circulating conveyor (3) carrying mould containers combined to mould container parts (4), a reservoir (5) for clay arranged above the mould containers, means for carrying clay out of the reservoir (5) into the mould containers, means (9) for pressing and trimming clay in the mould containers, means (11) for supplying and placing take-off plates for the green bricks (13) and means for discharging green bricks released from the mould containers, characterized in that the apparatus further comprises means (22) for moving the mould container parts (4) filled with green bricks such that a protruding edge is formed on at least one side of the green bricks.

一种中深层地热供热系统与蓄热系统的配置方法和装置

NºPublicación:  CN121828802A 10/04/2026
Solicitante: 
中国能源建设集团湖南省电力设计院有限公司
CN_121828802_PA

Resumen de: EP1000000A1

The invention relates to an apparatus (1) for manufacturing green bricks from clay for the brick manufacturing industry, comprising a circulating conveyor (3) carrying mould containers combined to mould container parts (4), a reservoir (5) for clay arranged above the mould containers, means for carrying clay out of the reservoir (5) into the mould containers, means (9) for pressing and trimming clay in the mould containers, means (11) for supplying and placing take-off plates for the green bricks (13) and means for discharging green bricks released from the mould containers, characterized in that the apparatus further comprises means (22) for moving the mould container parts (4) filled with green bricks such that a protruding edge is formed on at least one side of the green bricks.

一种基于地热利用的地热转换设备

NºPublicación:  CN121828920A 10/04/2026
Solicitante: 
西安石油大学
CN_121828920_PA

Resumen de: EP1000000A1

The invention relates to an apparatus (1) for manufacturing green bricks from clay for the brick manufacturing industry, comprising a circulating conveyor (3) carrying mould containers combined to mould container parts (4), a reservoir (5) for clay arranged above the mould containers, means for carrying clay out of the reservoir (5) into the mould containers, means (9) for pressing and trimming clay in the mould containers, means (11) for supplying and placing take-off plates for the green bricks (13) and means for discharging green bricks released from the mould containers, characterized in that the apparatus further comprises means (22) for moving the mould container parts (4) filled with green bricks such that a protruding edge is formed on at least one side of the green bricks.

一种水工环类液体矿产地热储层采灌调控方法

NºPublicación:  CN121827755A 10/04/2026
Solicitante: 
山东省物化探勘查院
CN_121827755_A

Resumen de: EP1000000A1

The invention relates to an apparatus (1) for manufacturing green bricks from clay for the brick manufacturing industry, comprising a circulating conveyor (3) carrying mould containers combined to mould container parts (4), a reservoir (5) for clay arranged above the mould containers, means for carrying clay out of the reservoir (5) into the mould containers, means (9) for pressing and trimming clay in the mould containers, means (11) for supplying and placing take-off plates for the green bricks (13) and means for discharging green bricks released from the mould containers, characterized in that the apparatus further comprises means (22) for moving the mould container parts (4) filled with green bricks such that a protruding edge is formed on at least one side of the green bricks.

一种通过人造地层裂缝储能和释能并获取地热能的方法

NºPublicación:  CN121828919A 10/04/2026
Solicitante: 
绍兴远西能源科技有限公司
CN_121828919_PA

Resumen de: EP1000000A1

The invention relates to an apparatus (1) for manufacturing green bricks from clay for the brick manufacturing industry, comprising a circulating conveyor (3) carrying mould containers combined to mould container parts (4), a reservoir (5) for clay arranged above the mould containers, means for carrying clay out of the reservoir (5) into the mould containers, means (9) for pressing and trimming clay in the mould containers, means (11) for supplying and placing take-off plates for the green bricks (13) and means for discharging green bricks released from the mould containers, characterized in that the apparatus further comprises means (22) for moving the mould container parts (4) filled with green bricks such that a protruding edge is formed on at least one side of the green bricks.

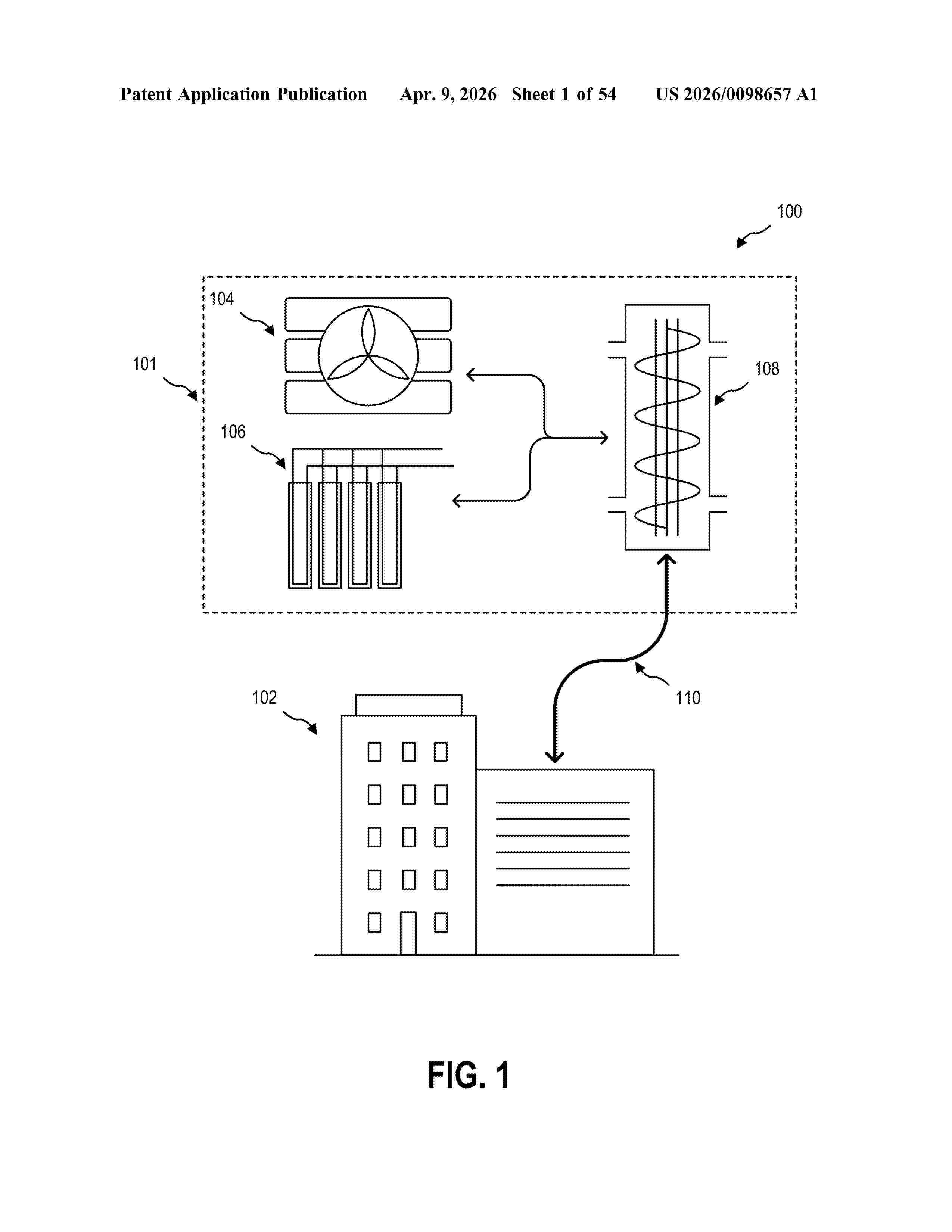
DUAL SOURCE HEAT PUMP SYSTEM

NºPublicación:  US20260098657A1 09/04/2026
Solicitante: 
SCHLUMBERGER TECH CORPORATION [US]
US_20260098657_A1

Resumen de: US20260098657A1

A thermal system for a facility includes a facility fluid circuit, a ground-source heat pump, and an air-source heat pump. The ground-source heat pump and the air-source heat pump each include a fluid circuit connected to the facility fluid circuit in parallel via a common facility heat exchanger. The ground-source heat pump includes a ground-source heat exchanger for transferring heat between a ground-source working fluid and a downhole fluid of a downhole fluid circuit. The air-source heat pump includes an air-source heat exchanger for transferring heat between an air-source working fluid and an ambient air. Heat can be transferred, at the facility heat exchanger, between the facility fluid and one or more of the ground-source working fluid or the air-source working fluid in order to provide thermal heating, cooling, or both to the facility.

Hypogeal Electricity Generator Using Sandy Al-Air Fuel Cells

NºPublicación:  US20260098664A1 09/04/2026
Solicitante: 
LAFE OLURINDE EBENEZER [US]
FUEL CELLS GLOBAL LTD [US]
US_20260098664_A1

Resumen de: US20260098664A1

0000 A method and apparatus for generating electricity using ensemble electrochemical cells each comprising a tubular anodic inner chamber mesh, an anodic aluminum wire, a sandy anolyte medium, an anolyte based on a solution of sodium hydroxide or potassium hydroxide, a membrane separator, a carbonized cellulosic air-cathode doused in a catholyte, and an exterior mesh enclosure. The invention teaches the use of inexpensive materials and simple assembling of sandy fuel cells into a hypogeal electricity generator.

UNDERGROUND PIPELINE INSTALLATION FOR GEOTHERMAL

NºPublicación:  WO2026076217A1 09/04/2026
Solicitante: 
FERVO ENERGY COMPANY [US]
WO_2026076217_A1

Resumen de: WO2026076217A1

The present disclosure relates to systems and methods for geothermal energy systems utilizing underground geothermal fluid transmission and distribution pipelines. In some examples, underground geothermal fluid transmission and distribution pipelines may be installed with underground expansion loops and a central anchor block that allows for controlled thermal expansion without exceeding the strength of the pipe material used for the pipelines.

Method of controlling tensile-splitting and hydro-shearing parameters during completion of enhanced geothermal system wells

NºPublicación:  GB2644405A 08/04/2026
Solicitante: 
MICHAEL ROY CHAMBERS [US]
TIMOTHY DAVID GRAY HILLESDEN LINES [GB]
CARL BRADLEY PATE [US]
ROBERT MANSELL PEARSON [CA]
ABDELL WADOOD M EI RABAA [US]
GB_2644405_PA

Resumen de: GB2644405A

Methods and systems for geothermal energy production wherein fluids pass through the Earth between wells 140, 150 through induced cracks, splits, fractures, conduits, or channels in the rock. Such methods and systems include controlling tensile-split conduits in a subterranean geothermal formation by providing an injection well, providing a production well, configuring the injection well for injection of a tensile-splitting fluid into a production zone, configuring the production well to produce a heated fluid from the production zone, applying pressure to the production well, creating a plurality of tensile-split conduits, raising or lowering the pressure in the production well, establishing fluid communication between the injection well and the production well, injecting proppants into the tensile split conduits and bleeding the pressure to just below a shear splitting extension pressure but still above a hydro-shearing pressure, maintaining the tensile-split conduits in an open position.

GEOTHERMAL SYSTEM COMPRISING AN ENERGY PRODUCTION SYSTEM

NºPublicación:  EP4720584A1 08/04/2026
Solicitante: 
ABSOLAR [FR]
EP_1000000_PA

Resumen de: EP1000000A1

The invention relates to an apparatus (1) for manufacturing green bricks from clay for the brick manufacturing industry, comprising a circulating conveyor (3) carrying mould containers combined to mould container parts (4), a reservoir (5) for clay arranged above the mould containers, means for carrying clay out of the reservoir (5) into the mould containers, means (9) for pressing and trimming clay in the mould containers, means (11) for supplying and placing take-off plates for the green bricks (13) and means for discharging green bricks released from the mould containers, characterized in that the apparatus further comprises means (22) for moving the mould container parts (4) filled with green bricks such that a protruding edge is formed on at least one side of the green bricks.

一种非饱和土边坡的多源温控与分级强化加固抗滑桩的加固系统

NºPublicación:  CN121802866A 07/04/2026
Solicitante: 
河海大学
CN_121802866_PA

Resumen de: CN121802866A

本发明公开了一种非饱和土边坡的多源温控与分级强化加固抗滑桩的加固系统,属于岩土工程边坡加固和绿色清洁能源技术领域。本发明包括扩底抗滑桩、地热泵循环系统、太阳能集热系统和监控系统。扩底抗滑桩布置于边坡潜在滑动面区域,地热泵循环系统的换热管深入至地热层;太阳能集热系统用于将太阳能转化为热能储存,作为地热泵循环系统的补充热源;监控系统实时监测边坡状态与调节温控参数。该系统利用清洁能源主动温控调节抗滑桩和桩周土体状态,并根据不同深度的土拱效应所传递的推力通过控制温度使得温度相变材料发生变化以分级给土体提供反向推力,有效维持并增强土拱效应,构成“以桩阻滑,土拱协同”的桩‑土共同抗滑体系。

一种自带防冻节能机房空调及控制方法

Nº publicación: CN121804122A 07/04/2026

Solicitante:

珠海格力电器股份有限公司

CN_121804122_PA

Resumen de: CN121804122A

一种自带防冻节能机房空调及方法,包括室内侧单元、室外侧单元和土壤源侧单元;室外侧单元分别与室内侧单元和土壤源侧单元连接;室内侧单元包括蒸发器;室外侧单元包括室外机;土壤源侧单元包括地埋管;室外机分别与蒸发器和地埋管连接;蒸发器用于与机房内空气进行换热制冷,地埋管用于与土壤换热提供冷却水源;室外机用于蒸发器与地埋管之间的换热。本发明采用水冷与风冷的机房空调室外机,土壤源侧单元的冷却水直接喷淋到冷凝器换热盘管上进行换热带走热量,同时也有室外风机进行风冷换热带走热量。风冷和水冷进行最佳的切换,解决在夏季高温恶劣天气时风冷机房空调机组的能效低的问题;全年做到冷源的最佳选择使得机组高效运行。

traducir