Ministerio de Industria, Turismo y Comercio LogoMinisterior
 

Alerta

Resultados 174 resultados
LastUpdate Última actualización 04/04/2026 [07:48:00]
pdfxls
Solicitudes publicadas en los últimos 120 días / Applications published in the last 120 days
previousPage Resultados 125 a 150 de 174 nextPage  

Flat plate photobioreactor for culturing microalgae which is not resistant to high temperature

NºPublicación:  CN121427649A 30/01/2026
Solicitante: 
HUBEI ZAOLAN BIOTECHNOLOGY CO LTD
\u6E56\u5317\u85FB\u84DD\u751F\u7269\u79D1\u6280\u6709\u9650\u516C\u53F8
CN_121427649_PA

Resumen de: CN121427649A

The invention discloses a flat plate photobioreactor for culturing microalgae which is not resistant to high temperature, which comprises a transparent plastic bag which is unfolded and fixed in a flat plate net rack and is used as the flat plate photobioreactor, and a cooling water pipe and an inflating pipe which are positioned in the flat plate photobioreactor, inflation pipes are attached to the two ends of the cooling water pipe respectively and penetrate through the two connector pipes at the upper end of the plastic bag respectively, sealing and binding of the external water pipe are combined with protection of the waterproof cover as the core, and algae in rainwater and dew can be effectively prevented from being mixed into the reactor to compete with target algae to grow; the problem that a traditional flat plate photobioreactor is easily polluted by foreign algae under outdoor rain and dew conditions is solved.

Device for refitting closed container into high-density cell bioreactor

NºPublicación:  CN223852610U 30/01/2026
Solicitante: 
UNIV NANCHANG
\u5357\u660C\u5927\u5B66
CN_223852610_U

Resumen de: CN223852610U

The utility model discloses a device for refitting a closed container into a high-density cell bioreactor, and relates to the technical field of water body ecological restoration. The device comprises a permeation part, a filtering part and a fixing part which are detachably connected, the permeation part comprises a semi-permeable membrane fixing disc and a first connecting part which are of an integrated structure, the semi-permeable membrane fixing disc is arranged in a closed container, and the first connecting part is connected with the fixing part and the filtering part outside the closed container through a through hole of the closed container. According to the device for refitting the closed container into the high-density cell bioreactor disclosed by the utility model, the closed container has a high-density cell culture function by arranging the filtering and permeation-permitting additional component in the closed container; the problems that an existing traditional microalgae culture device is poor in adaptability, and the algal bloom treatment technology is high in cost, low in efficiency, high in energy consumption and the like can be solved.

MICROALGAE CULTIVATION PHOTOBIOREACTOR WITH THE ABILITY TO CLASSIFY THE CULTIVATED ALGAE AND REFINE THE FINAL PRODUCT FOR USE IN ANIMAL AND POULTRY FOOD COMPOUNDS AND HUMAN FOOD ADDITIVES

NºPublicación:  US20260028564A1 29/01/2026
Solicitante: 
HAJIBARATI MAJID [IR]
Hajibarati Majid
US_20260028564_PA

Resumen de: US20260028564A1

The present invention relates to a photobioreactor designed for the cultivation of microalgae, specifically the microalga Chlorella, with applications in animal and poultry feed as well as human food additives. This invention falls within the fields of microbiology, food preparation, human and animal nutrition, and agricultural industry practices. The photobioreactor is engineered to enable cost-effective mass production of microalgae by incorporating systems for injecting micronutrients into the culture medium. Additionally, the invention includes a classification system for sorting the produced microalgae and a refinement process for preparing the classified microalgae as a final product suitable for use in various nutritional compounds.

Microalgae harvesting method and equipment based on membrane filtration

NºPublicación:  CN121406449A 27/01/2026
Solicitante: 
ANHUI ZHONGKE MICROALGAE BIOTECHNOLOGY CO LTD
\u5B89\u5FBD\u4E2D\u79D1\u5FAE\u85FB\u751F\u7269\u79D1\u6280\u6709\u9650\u516C\u53F8
CN_121406449_PA

Resumen de: CN121406449A

The invention discloses a microalgae harvesting method and equipment based on membrane filtration, and relates to the field of microalgae cultivation. A microalgae harvesting method based on membrane filtration mainly comprises the following steps: step 1, pH value adjustment: adding an alkaline solution into a microalgae culture solution according to the type of microalgae, monitoring in real time by means of a pH sensor, regulating the pH of the microalgae culture solution to 6.5-8.5, maintaining good physiological activity and growth state of most microalgae in the pH range, and after the initial pH adjustment is completed, collecting the microalgae in the microalgae culture solution; removing high-valence ions in the microalgae culture solution by adopting an electrodialysis or cation exchange resin technology; the microalga culture solution is used for accurately adjusting pH, removing high valence ions and enhancing negative charges on the surface of the microalga, and the principle of homopolar repulsion with the ultrafiltration membrane with negative charges is utilized, so that the adsorption and deposition of the microalga on the surface of the membrane are effectively prevented, the membrane pollution degree is greatly reduced, the service life of a membrane assembly is prolonged, the membrane cleaning and replacing frequency is reduced, and the cost is reduced. And the operation cost is reduced.

Microalgae intelligent photo-biological skylight control system suitable for cold region illumination adjustment

NºPublicación:  CN121406428A 27/01/2026
Solicitante: 
THE ARCHITECTURAL DESIGN AND RESEARCH INSTITUTE OF HARBIN INSTITUTE OF TECH
\u54C8\u5C14\u6EE8\u5DE5\u4E1A\u5927\u5B66\u5EFA\u7B51\u8BBE\u8BA1\u7814\u7A76\u9662\u6709\u9650\u516C\u53F8
CN_121406428_PA

Resumen de: CN121406428A

The invention discloses a microalgae intelligent photo-biological skylight control system suitable for cold region illumination adjustment, and belongs to the technical field of building skylights and environment adjustment. The problems that an existing skylight control system cannot achieve intelligent adjustment of indoor illumination and cannot actively absorb carbon dioxide to improve the building energy efficiency and the carbon emission reduction capacity are solved. A culture cavity is formed between an upper group of double-layer light-transmitting glass and a lower group of double-layer light-transmitting glass of a skylight unit, microalgae and a culture solution are contained in the culture cavity, and a lower dimming film is arranged on the lower surface of the lower-layer glass in the lower group of double-layer light-transmitting glass; in the cold region environment, automatic adjustment and optimization of indoor illumination can be preferentially achieved through intelligent regulation and control, carbon dioxide is fixed and biomass energy is produced through photosynthesis of microalgae, and finally the energy efficiency and the carbon emission reduction capacity of a building are improved. The method is mainly applied to intelligent adjustment of indoor illumination.

Building sewage purification and energy production system based on microalgae photo-biological reaction

NºPublicación:  CN121405313A 27/01/2026
Solicitante: 
HOHAI UNIV
\u6CB3\u6D77\u5927\u5B66
CN_121405313_PA

Resumen de: CN121405313A

The invention discloses a building sewage purification and energy production system based on microalgae photobiological reaction, and belongs to the field of urban domestic sewage microalgae treatment and biomass energy collaborative production. A main body of the system is composed of an underground three-stage septic tank, a transfer sewage tank, a spherical microalgae self-mixing photo-biological reaction wall, an algae-water separator and a water storage tank. The septic tank collects sewage and feces discharged by a building, after precipitation and layering, upper-layer sewage flows into the transfer sewage tank and then is pumped into the spherical microalgae self-mixing photobiological reaction wall, pollutant degradation and microalgae biomass accumulation are completed in the photobiological reaction process, algae liquid obtained after reaction is subjected to algae-water separation through the separator, and effluent flows into the water storage tank to be recycled. Part of the separated microalgae biomass flows back to the reaction wall to maintain the efficiency stability of the system, and the other part of the separated microalgae biomass is discharged into the septic tank for co-fermentation capacity. According to the system, the sewage collection unit, the microalgae metabolism unit, the algae-water separation unit, the fermentation productivity unit and the like are integrated, so that in-situ purification and resource utilization of building sewage are rea

Construction method of microalgae-in-situ bacteria strengthening system for degrading naphthenic acid

NºPublicación:  CN121406482A 27/01/2026
Solicitante: 
LIAONING NORMAL UNIV
\u8FBD\u5B81\u5E08\u8303\u5927\u5B66
CN_121406482_PA

Resumen de: CN121406482A

The invention is applicable to the technical field of industrial wastewater treatment, and provides a construction method of a microalgae-in-situ bacteria strengthening system for degrading naphthenic acid, which comprises the following steps: separating and identifying two strains of in-situ bacteria from a discharge port of an oil-producing wastewater treatment plant, and constructing a three-strain typical stain-resistant green alga-in-situ bacteria co-culture system. The strengthening system can highly tolerate and efficiently degrade naphthenic acid, can effectively remove nitrogen and phosphorus, and has higher biomass and high-value compound yield. The microalgae-in-situ bacterium strengthening system can reduce pollutant discharge and improve the microalgae resource utilization rate, and the microalgae-in-situ bacterium strengthening system can be used as a biological strengthening degradation technology of naphthenic acid and can be suitable for purification treatment of oil production wastewater and petroleum polluted water areas.

Method for promoting growth of nostoc by efficiently utilizing nitrogen source through solid-liquid culture

NºPublicación:  CN121406481A 27/01/2026
Solicitante: 
TONGWEI AGRICULTURAL DEV CO LTD
\u901A\u5A01\u519C\u4E1A\u53D1\u5C55\u6709\u9650\u516C\u53F8
CN_121406481_PA

Resumen de: CN121406481A

The invention belongs to the technical field of microalgae biological culture, discloses a method for promoting growth of nostoc by efficiently utilizing a nitrogen source through solid-liquid culture, and aims to solve the problems of low nitrogen source utilization rate and slow biomass accumulation in the conventional culture technology. The method is based on a closed photobioreactor with gas-liquid circulation, and comprises the following steps: preparing a nitrogen-free BG11 culture medium; coating nostoc on the surface of the sterilized porous hydrophilic sponge; placing the sponge in a reactor, and adding the culture medium until no accumulated water is infiltrated; after closing the reactor, controlling the temperature, lighting and other conditions, continuously/intermittently supplementing nitrogen and maintaining certain positive pressure, and circulating the culture medium to supplement nutrition; and taking the sponge after the culture is finished. The utilization rate of a nitrogen source is remarkably increased, the biomass obtained through culture is remarkably increased, culture conditions are stable, and the method is suitable for large-scale development of nostoc and development of high-added-value products.

Microalgae culture method and application thereof

NºPublicación:  CN121406450A 27/01/2026
Solicitante: 
GUANGDONG ENERGY GROUP SCIENCE AND TECH RESEARCH INSTITUTE CO LTD
\u5E7F\u4E1C\u80FD\u6E90\u96C6\u56E2\u79D1\u5B66\u6280\u672F\u7814\u7A76\u9662\u6709\u9650\u516C\u53F8
CN_121406450_A

Resumen de: CN121406450A

The invention provides a microalgae culture method and application thereof, in the microalgae culture method, a nitrogen source comprises industrial ammonium sulfate; the nitrogen source is continuously added into the culture medium at a fixed rate; alkali liquor wrapped by a semipermeable membrane is arranged in the culture medium. According to the method provided by the invention, industrial ammonium sulfate is adopted as a nitrogen source, so that the culture cost is remarkably reduced, and the problems of culture medium acidification and excessive heavy metal caused by one-time feeding of ammonium sulfate are relieved while sufficient nitrogen source is ensured by adopting a specific adding mode; the semi-permeable membrane coated alkali liquor dynamically responds to H < + > release caused by microalgae ammonium sulfate assimilation, so that the process steps are simplified, the process automation level is improved, the yield of microalgae carbon sequestration biomass is improved by 30% compared with sodium nitrate culture, the nutritive salt cost is reduced by 70%, and the quality of algae powder, including protein content, heavy metal components and the like, meets the standard; the operation cost of the microalgae carbon sequestration industry is greatly reduced, and the development of the microalgae carbon sequestration industry is promoted.

Novel xylitol biological preparation method

NºPublicación:  CN121406719A 27/01/2026
Solicitante: 
GUANGZHOU INST OF ENERGY CONVERSION CHINESE ACADEMY OF SCIENCES
\u4E2D\u56FD\u79D1\u5B66\u9662\u5E7F\u5DDE\u80FD\u6E90\u7814\u7A76\u6240
CN_121406719_PA

Resumen de: CN121406719A

The invention discloses a novel biological preparation method of xylitol. The invention relates to a novel xylitol biological preparation method, which comprises the following step of biologically converting xylose into xylitol in a heterotrophic or polyculture mode of microalgae. According to the biological preparation method of the xylitol, xylose is converted into the xylitol through physiological and biochemical reactions of microalgae, the problems that energy consumption is high, efficiency is low, sustainable development is not facilitated and the like are solved, and meanwhile the harvested chlorella can be used for producing high-added-value products.

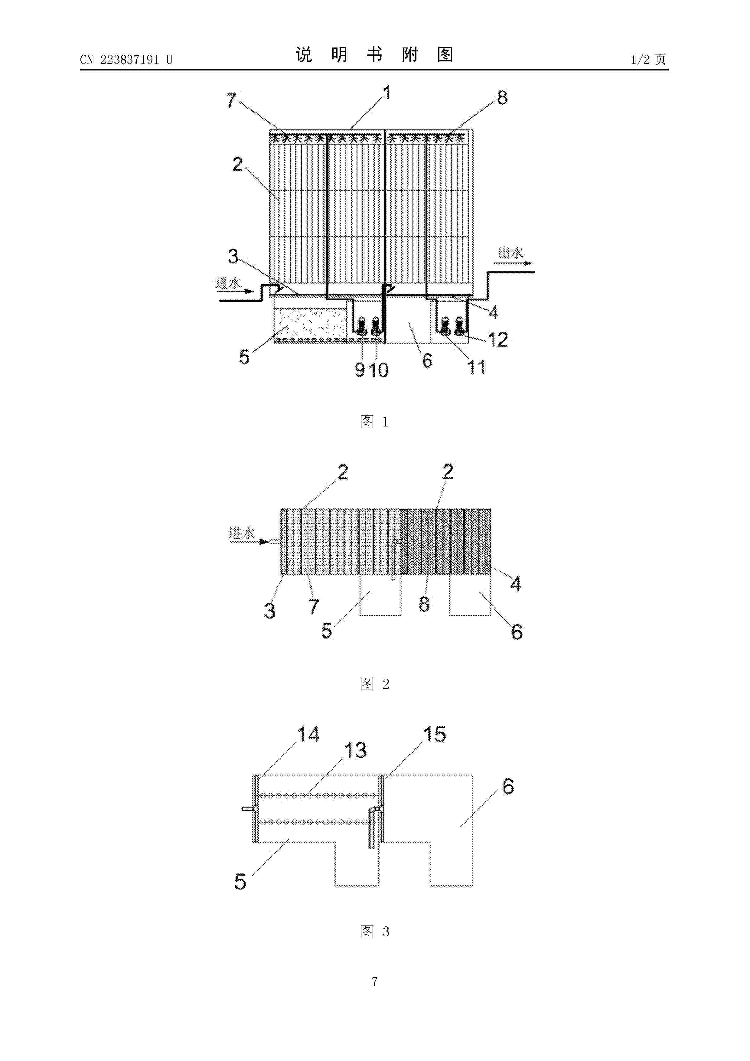
Aquaculture wastewater treatment system with phycomycete wind screen biofilm

NºPublicación:  CN223837191U 27/01/2026
Solicitante: 
POWERCHINA JIANGXI ELECTRIC POWER CONSTRUCTION CO LTD
JIANGXI HEYI BIOTECHNOLOGY CO LTD
\u4E2D\u56FD\u7535\u5EFA\u96C6\u56E2\u6C5F\u897F\u7701\u7535\u529B\u5EFA\u8BBE\u6709\u9650\u516C\u53F8,
\u6C5F\u897F\u79BE\u4E00\u751F\u7269\u79D1\u6280\u6709\u9650\u516C\u53F8
CN_223837191_U

Resumen de: CN223837191U

The utility model relates to a phycomycete wind screen biological membrane aquaculture wastewater treatment system which consists of a purification device, a collection device, a spraying device and a circulating device, wherein the purification device consists of a supporting steel frame, a microalgae biological membrane, a first biological filter bed and a second biological filter bed; the collecting device is composed of a first collecting pool and a second collecting pool; the spraying device is composed of a first spraying piece and a second spraying piece. Through the combined action of the biological filter bed, the microalgae biological membrane, the collecting pool and the like, the aquaculture wastewater treatment effect can be improved, low-cost microalgae cell harvesting can be carried out, and the problems that in a traditional aquaculture wastewater treatment technology, the process is complex, the nitrogen and phosphorus pollutant removal efficiency is low, and microalgae cells are difficult to harvest in wastewater treatment are solved; meanwhile, after absorbing nitrogen and phosphorus, the microalgae are converted into high-added-value biomass rich in protein and the like to serve as aquatic feed and bio-fertilizer, so that the economic benefit is increased, and resource recycling of the aquaculture wastewater is fully realized.

Microalgae continuous harvesting system device

NºPublicación:  CN223837417U 27/01/2026
Solicitante: 
XINKE FUTURE BIO TECH XINJIANG CO LTD
\u946B\u79D1\u672A\u6765\u751F\u7269\u79D1\u6280\uFF08\u65B0\u7586\uFF09\u6709\u9650\u516C\u53F8
CN_223837417_U

Resumen de: CN223837417U

The utility model discloses a continuous microalgae harvesting system device which comprises a disc centrifuge and a shaft type filter device, the disc centrifuge comprises an algae liquid inlet, a nutrient solution primary liquid outlet and an algae slurry outlet; the shaft type filtering device comprises an algae slurry inlet, a shaft type filter, a compressed air forward blowing port, a nutrient solution secondary drainage port, a compressed air reverse blowing port, a bottom collecting port and a bin gate; an algae slurry outlet of the disc centrifuge is connected and communicated with an algae slurry inlet of the shaft type filtering device through a pipeline; the shaft type filter is communicated with an external nutrient solution storage tank through a nutrient solution secondary liquid outlet; the compressed air back-flushing opening is communicated with the shaft type filter through the nutrient solution secondary drainage opening; the compressed air positive blowing opening is communicated with the interior of the shaft type filtering device; and a bottom collecting opening and a bin gate are arranged at the bottom of the shaft type filtering device. The water content of the material finally treated by the system device disclosed by the utility model is very low, and when the material is dried, the consumed energy consumption is low, the waste of water resources is small, and the hardware investment cost is low.

Carbon source supply device for microalgae culture

NºPublicación:  CN223837400U 27/01/2026
Solicitante: 
XINKE FUTURE BIO TECH XINJIANG CO LTD
\u946B\u79D1\u672A\u6765\u751F\u7269\u79D1\u6280\uFF08\u65B0\u7586\uFF09\u6709\u9650\u516C\u53F8
CN_223837400_U

Resumen de: CN223837400U

The utility model discloses a carbon source supply device for microalgae culture. The carbon source supply device comprises a high-speed motor, a motor connecting seat, a magnetic coupling motor disc, a shaft end locking nut, an isolation sleeve, a magnetic linkage coupling device disc, a magnetic linkage coupling device disc connecting key, a feeding disc, a rotating disc connecting key, a rotating disc locking nut, a fixed disc, a movable disc, a device barrel, a discharging disc and a rotating shaft, according to the device disclosed by the utility model, carbon dioxide gas and water are simultaneously introduced, gas-liquid mass transfer is enhanced in the device, an atomized state is formed, and then the carbon dioxide gas is introduced into a culture water body, so that the mass transfer effect of the carbon dioxide gas and microalgae in the water body is effectively improved, the escape rate of the carbon dioxide gas is reduced, and the utilization rate of the carbon dioxide gas is up to more than 95%; meanwhile, the air source operation cost of large-scale breeding is greatly reduced, and the air source operation cost is reduced by more than 50% on the basis of an original breeding mode.

2- A strain of the genus Nostoc a terrestrial cyanobacterium producing 2-methylisoborneol and cultivation method thereof

NºPublicación:  KR20260011902A 26/01/2026
Solicitante: 
국립호남권생물자원관
WO_2026018968_PA

Resumen de: WO2026018968A1

The present invention relates to: a Nostoc sp. strain of cyanobacteria that produces 2-methylisoborneol; and a method for culturing same. The Nostoc sp. strain according to the present invention is the first ever Nostoc sp. strain that produces 2-methylisoborneol, and considering the positive effect that 2-methylisoborneol has on the human body and the fact that 2-methylisoborneol is also used as a raw material for perfume, the HNIBRCY4 strain, which is an edible Nostoc sp. strain capable of being mass-produced, can be effectively used to produce 2-methylisoborneol.

Membrane coupling type microalgae reactor and method

NºPublicación:  CN121377309A 23/01/2026
Solicitante: 
CHONGQING UNIV OF TECHNOLOGY
\u91CD\u5E86\u7406\u5DE5\u5927\u5B66
CN_121377309_PA

Resumen de: CN121377309A

The invention discloses a membrane coupling type microalgae reactor in the field of sewage treatment, and the membrane coupling type microalgae reactor comprises a water supply assembly used for supplying to-be-treated sewage; the first reactor is communicated with the water outlet of the water supply assembly, the first reactor comprises a rotatable biological membrane structure and an aeration structure, and the sewage is primarily treated through a biological membrane; the second reactor is communicated with the first reactor; the ceramic membrane separation unit is communicated with the second reactor and is used for carrying out cross-flow filtration on sewage discharged from the second reactor so as to realize collection of a biological membrane and microalgae and conveying the biological membrane back into the first reactor; the invention further discloses a sewage treatment method. The sewage treatment device has the beneficial effects that microalgae growth and biomass accumulation can be enhanced through two-stage mixed culture of the first reaction cylinder body and the second reaction cylinder body, illumination of the biological modified filler is more uniform, the sewage treatment performance is improved, and the device is lower in energy consumption.

Method for reducing inhibition of free nitrous acid on toxicity of microalgae

NºPublicación:  CN121377353A 23/01/2026
Solicitante: 
JIANGSU UNIV
\u6C5F\u82CF\u5927\u5B66
CN_121377353_PA

Resumen de: CN121377353A

The invention discloses a method for reducing inhibition of free nitrous acid on toxicity of microalgae, and belongs to the technical field of biology and new medicine. In order to solve the problem that free nitrous acid (FNA) in a microalgae-nitrifying bacteria co-culture system destroys a microalgae photosynthetic system and inhibits growth, alpha-ketoglutaric acid with the final concentration of 0.5-1.0 mM is exogenously added into the microalgae-nitrifying bacteria co-culture system, so that carbon and nitrogen metabolism of microalgae is regulated and controlled, the tolerance of the microalgae to FNA is enhanced, the photosynthetic efficiency and biomass of the microalgae are remarkably improved, and the microalgae-nitrifying bacteria co-culture system can be used for preparing the microalgae-nitrifying bacteria co-culture system. The ammonia nitrogen removal rate and the system stability are improved; the method is easy and convenient to operate, low in cost, suitable for high-ammonia-nitrogen wastewater treatment and capable of assisting long-term stable operation of a phycomycete symbiotic system.

Method for treating coking wastewater and synchronously producing fat by utilizing microalgae

NºPublicación:  CN121377346A 23/01/2026
Solicitante: 
HENAN NORMAL UNIV
\u6CB3\u5357\u5E08\u8303\u5927\u5B66
CN_121377346_PA

Resumen de: CN121377346A

The invention discloses a method for treating coking wastewater and synchronously producing grease by utilizing microalgae, which comprises the following specific processes: inoculating a microalgae Parachlorella kessleri FACHB-4 seed solution into coking wastewater with a specific dilution ratio, culturing to a logarithmic phase, then centrifugally collecting algae cells, then freeze-drying the algae cells, and then extracting grease; the chromaticity range of the coking wastewater is 300-400 Hazen, the COD range is 1200-1500 mg L <-1 >, the TP range is 7-8 mg L <-1 >, the NH3-N range is 500-700 mg L <-1 >, the dilution ratio of the coking wastewater is 50%-70%, and the culture conditions are as follows: the pH is 6.8-7.0, the culture temperature is 24-26 DEG C, the illumination intensity is 3500-4000 lux, the light-dark ratio is 12 h: 12 h, and the rotating speed of a shaking table is 140-160 r/min. The method provided by the invention can improve the water quality of coking wastewater and obtain grease for biological energy production at the same time.

Microalgae wall breaking method by coupling low-concentration acid with gas blasting

NºPublicación:  CN121379820A 23/01/2026
Solicitante: 
SHANGHAI OCEAN UNIV
\u4E0A\u6D77\u6D77\u6D0B\u5927\u5B66
CN_121379820_PA

Resumen de: CN121379820A

The invention belongs to the technical field of microalgae processing, and particularly discloses a low-concentration acid coupled gas blasting microalgae wall breaking method which comprises the following steps: mixing microalgae and a low-concentration acid solution, putting the mixture into a pressure-resistant reactor, and sealing the reaction kettle; introducing gas into the reactor to increase the system pressure to a preset value; then heating the reaction system to a preset temperature, and carrying out a stirring reaction; after the reaction is finished, the reactor is subjected to rapid pressure relief, and the microalgae wall breaking process is completed through rapid expansion of dissolved gas. The method is used for microalgae wall breaking, conditions are mild, wall breaking efficiency is high, energy consumption is low, equipment requirements are simple, operation is safe, and the problems that in the prior art, wall breaking efficiency is low, conditions are harsh, and the method is not suitable for industrial production can be solved.

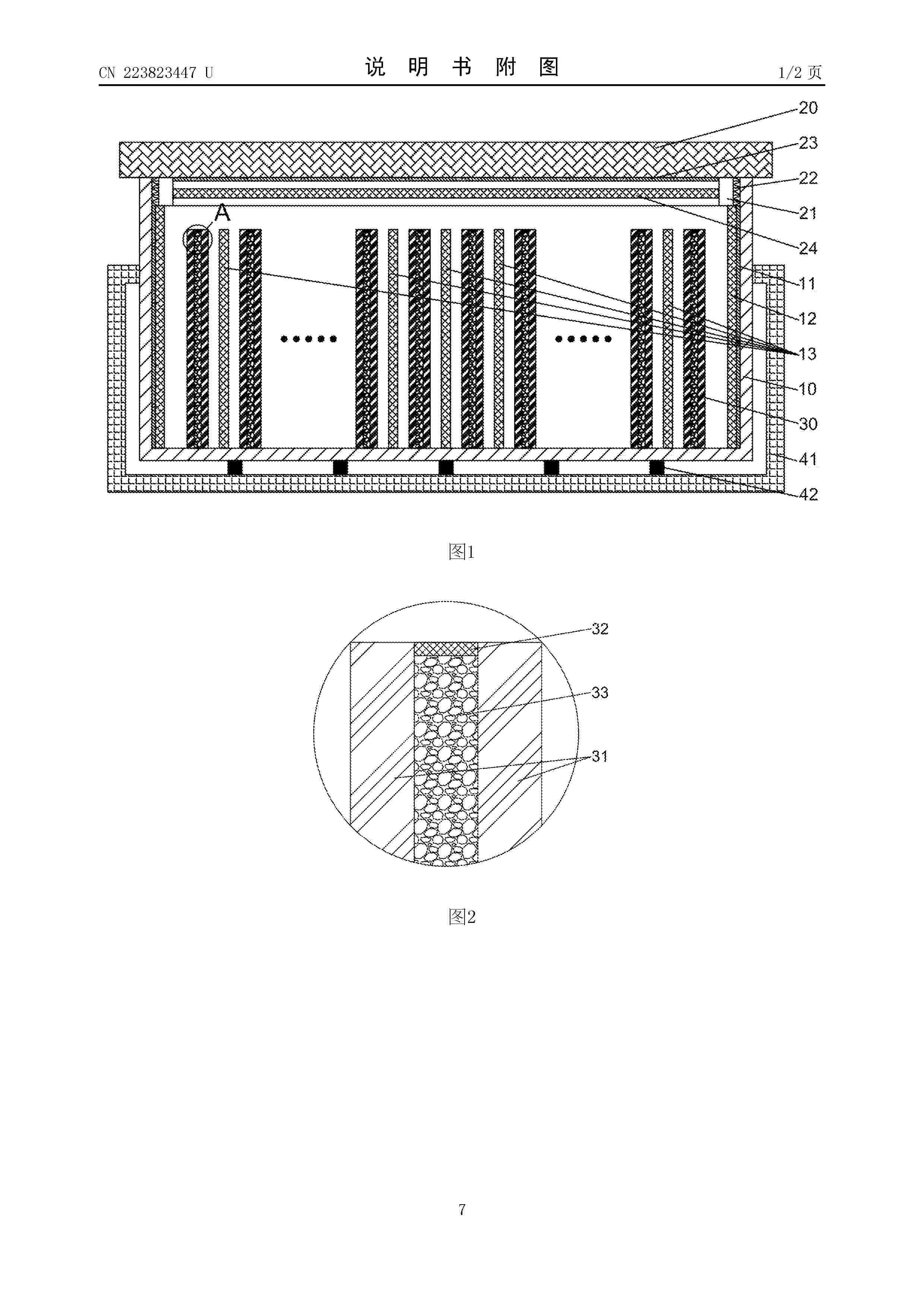
Rapid biofilm culturing device for bacteria-algae membrane

NºPublicación:  CN223823447U 23/01/2026
Solicitante: 
UNIV CHONGQING THREE GORGES
UNIV SOUTHWEST
\u91CD\u5E86\u4E09\u5CE1\u5B66\u9662,
\u897F\u5357\u5927\u5B66
CN_223823447_U

Resumen de: CN223823447U

The utility model provides a fast biofilm culturing device for bacteria and algae membranes, which relates to the field of water treatment and comprises a culture tank (10), a cover plate (20) and an expanding culture-biofilm culturing reactor (30), first reflective layers (11) are uniformly arranged on the side wall of an inner cavity of the culture tank, and first luminous bodies (12) are uniformly arranged on the side surface of one side, far away from the culture tank (10), of each first reflective layer (11); a limiting ring (21) and a sealing ring (22) are arranged on the bottom surface of the cover plate (20); a second light reflecting layer (23) and a second luminous body (24) are arranged on the inner side of the limiting ring (21); the expanding culture-biofilm culturing reactors (30) are uniformly arranged in the inner cavity of the culturing tank (10), and a third luminous body (13) is arranged between every two adjacent expanding culture-biofilm culturing reactors (30). The device can realize rapid biofilm formation of microalgae, the biofilm formation time is short, the biofilm formation condition is controllable, and the treatment effect and efficiency of the circulating aquaculture water body are effectively improved.

Linkage mechanism and continuous harvesting device

NºPublicación:  CN223823585U 23/01/2026
Solicitante: 
GUIZHOU ZHONGMING BIOTECHNOLOGY CO LTD
\u8D35\u5DDE\u4E2D\u94ED\u751F\u7269\u79D1\u6280\u6709\u9650\u516C\u53F8
CN_223823585_U

Resumen de: CN223823585U

The utility model relates to the technical field of pipeline reinforcement, in particular to a linkage mechanism which comprises a frame body, a movable column, a screen mesh and a harvesting unit, the frame body is arranged on one side of the movable column, the screen mesh is arranged on one side of the frame body, the linkage unit is arranged on one side of the harvesting unit, the harvesting unit comprises an algae outlet pump, a recycling pool and a harvesting barrel, the algae outlet pump is arranged on one side of the recycling pool, and the harvesting barrel is arranged on one side of the recycling pool. The harvesting barrel is arranged on the other side of the recycling pool. The microalgae harvesting device has the advantages that the screen is automatically hung on the hooks or microalgae are automatically unloaded from the screen, the microalgae harvesting procedure can be carried out through a simple mechanical structure, and meanwhile labor cost and cost are saved through a linkage mechanism.

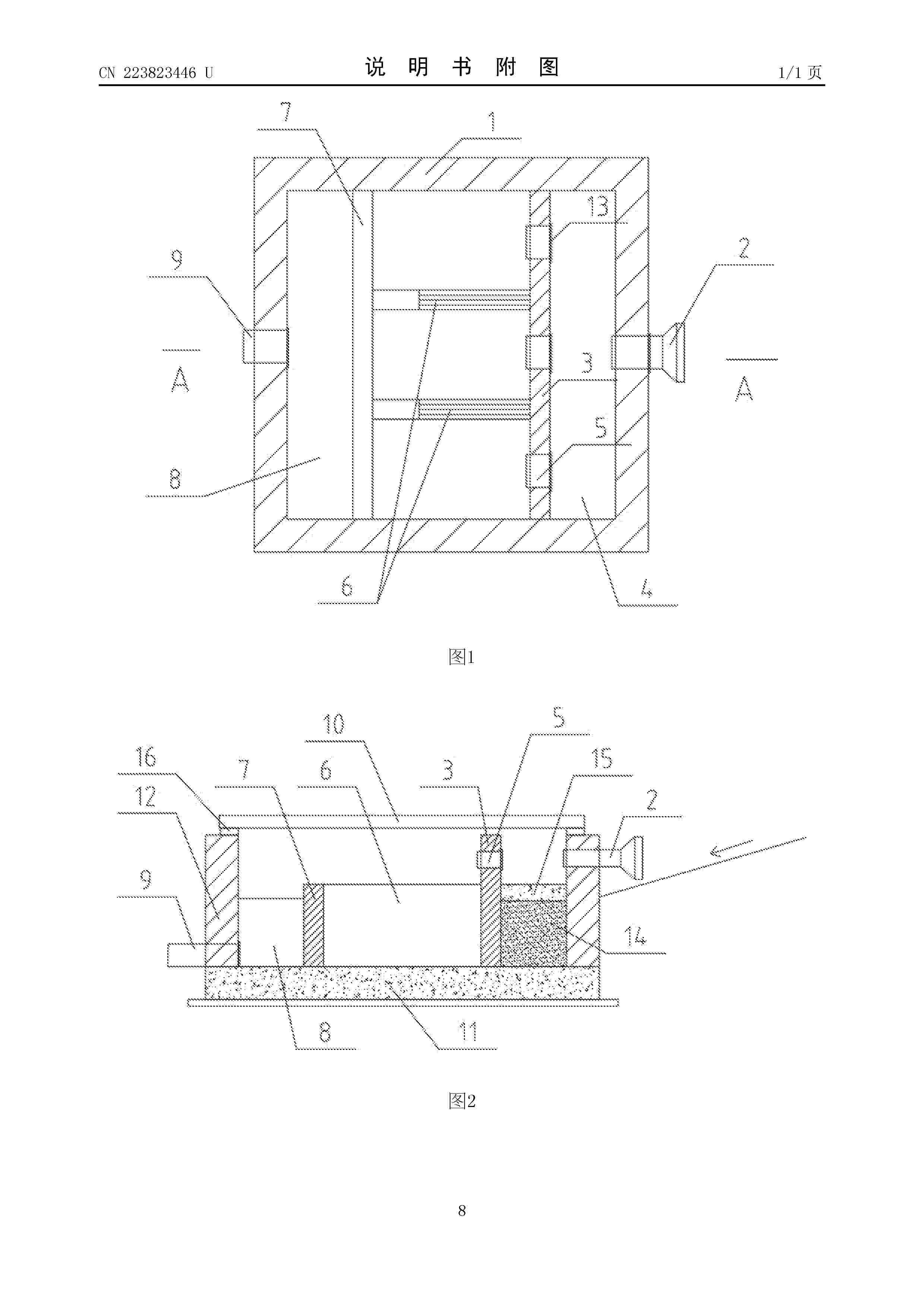
Multi-gallery variable-tank-capacity microalgae photobioreactor

NºPublicación:  CN223823446U 23/01/2026
Solicitante: 
CHINA MCC5 GROUP CORP LTD
\u4E2D\u56FD\u4E94\u51B6\u96C6\u56E2\u6709\u9650\u516C\u53F8
CN_223823446_U

Resumen de: CN223823446U

The utility model discloses a multi-gallery variable-tank-capacity microalgae photobioreactor which comprises a reaction tank, a first partition wall and a third partition wall are sequentially arranged in the reaction tank in the flow direction, the first partition wall and the third partition wall divide the reaction tank into a first-stage tank, a second-stage tank and a third-stage tank, a second partition wall located between the first partition wall and the third partition wall is arranged in the reaction tank, and the first-stage tank, the second-stage tank and the third-stage tank are sequentially arranged in the reaction tank. The second partition wall divides the second-stage tank into at least two second-stage sub-tanks, the second partition wall is of a telescopic structure, and the first partition wall and/or the third partition wall are/is horizontally and movably arranged in the reaction tank. The reactor has the beneficial effects that the reactor is simple in structure and low in manufacturing and using cost, the tank volume can be adjusted according to the sewage inflow, and it is ensured that the reactor is in an efficient operation interval; in the growth process of algae in the pond, nitrogen, phosphorus and other substances in sewage can be effectively utilized, and the content of nitrogen, phosphorus and other pollutants in the sewage is effectively reduced.

Microalgae low-cost culture and tail water ecological cycle treatment system

NºPublicación:  CN121377430A 23/01/2026
Solicitante: 
POWERCHINA JIANGXI ELECTRIC POWER CONSTRUCTION CO LTD
JIANGXI ZHIXIN ECOLOGICAL TECH CO LTD
\u4E2D\u56FD\u7535\u5EFA\u96C6\u56E2\u6C5F\u897F\u7701\u7535\u529B\u5EFA\u8BBE\u6709\u9650\u516C\u53F8,
\u6C5F\u897F\u667A\u4FE1\u751F\u6001\u79D1\u6280\u6709\u9650\u516C\u53F8
CN_121377430_PA

Resumen de: CN121377430A

The invention discloses a microalgae low-cost cultivation and tail water ecological circulation treatment system, cultivation tail water is connected with a disc centrifuge through a pipeline after sequentially passing through a tail water adjusting tank, a microstrainer, an ozone disinfection cabinet and microalgae cultivation equipment, and the disc centrifuge is connected with a fresh algae tank through a pipeline; the disc centrifuge conveys the breeding wastewater to a water distribution channel in the multi-stage ecological purification-resource coupling system through another pipeline, the water distribution channel is sequentially connected with a hydroponic vegetable area, an emergent aquatic plant area and a submerged plant area, and the submerged plant area returns and conveys effluent to a tail water adjusting tank through a pipeline; and tail water circulation is realized. And the purified water can be reused in a microalgae culture link, so that a closed-loop circulation of aquaculture tail water-microalgae production-purification-reclaimed water reuse is formed, and the consumption of fresh water resources is greatly reduced. By integrating hydroponic vegetable planting and fish and shrimp breeding, an ecological chain of resource recycling is formed, and bidirectional extension of the added value of products is achieved.

Bacteria-algae symbiotic integrated culture tail water treatment system and method

NºPublicación:  CN121377345A 23/01/2026
Solicitante: 
WUHAN ZHONGKE RUIHUA ECOLOGICAL TECH CO LTD
\u6B66\u6C49\u4E2D\u79D1\u745E\u534E\u751F\u6001\u79D1\u6280\u80A1\u4EFD\u6709\u9650\u516C\u53F8
CN_121377345_PA

Resumen de: CN121377345A

The invention discloses a bacterial-algae symbiotic integrated culture tail water treatment system and method. The culture tail water treatment system comprises a regulating reservoir, a submersible sewage pump, a multi-stage coupling biochemical treatment unit and a shellfish purification unit, the submersible sewage pump is arranged at an outlet of the adjusting tank; the multi-stage coupling biochemical treatment unit comprises an aeration biochemical pool, a biological filter bed and an aerobic denitrification microalgae biological membrane unit which are sequentially connected in series; the biological filter bed takes a rice husk layer and a pelelith layer as biological carriers; the aerobic denitrification microalgae biological membrane unit comprises microalgae and functional bacteria, the functional bacteria are bacilli weldmanni and escherichia marmoreus, the microalgae fix CO2 and release oxygen through photosynthesis, and the functional bacteria degrade nitrides through heterotrophic nitrification-aerobic denitrification; the shellfish purification unit is arranged at the water outlet end of the multi-stage coupling biochemical treatment unit and is used for filtering residual microalgae and suspended particulate matters in the water body. The invention further provides a tail water treatment method, nitrogen and phosphorus are efficiently removed, energy consumption is reduced, secondary pollution is avoided, and resource utilization can be achieved.

Biomimetic thermophilic cyanobacteria stabilizer biological particle and preparation method thereof

NºPublicación:  CN121370810A 23/01/2026
Solicitante: 
NANJING UNIV
\u5357\u4EAC\u5927\u5B66
CN_121370810_PA

Resumen de: CN121370810A

The invention discloses a biomimetic thermophilic cyanobacteria stabilizer biological particle and a preparation method thereof. The biomimetic thermophilic cyanobacteria stabilizer biological particle comprises a polyphosphate-amino acid core particle and a phospholipid layer coated on the surface of the polyphosphate-amino acid core particle, the polyphosphate-amino acid core particles are divalent metal-polyphosphate-amino acid ternary ligands formed by self-assembly of polyphosphate and amino acid under the crosslinking action of divalent metal cations. The preparation method provided by the invention simulates a biosynthesis mechanism of a thermophilic cyanobacteria stabilizer, the bionic stabilizer is self-assembled and synthesized through a three-step method, and the preparation process is simple and suitable for large-scale production. The bionic stabilizer particles prepared by the invention are highly similar to natural stabilizers in chemical composition, structure and function, are high in purity, uniform in morphology and good in biocompatibility, have excellent thermal stability, can meet strict requirements in the fields of high-end biomedicine, health food and the like, and have huge application value and commercial prospect.

Treatment system and method for high-nitrogen low-carbon aquaculture tail water

Nº publicación: CN121377324A 23/01/2026

Solicitante:

WUHAN ZHONGKE RUIHUA ECOLOGICAL TECH CO LTD
\u6B66\u6C49\u4E2D\u79D1\u745E\u534E\u751F\u6001\u79D1\u6280\u80A1\u4EFD\u6709\u9650\u516C\u53F8

CN_121377324_PA

Resumen de: CN121377324A

The invention provides a treatment system and method for high-nitrogen low-carbon aquaculture tail water, the treatment system comprises at least two circulating beds, the circulating beds respectively comprise a first circulating bed and a second circulating bed, and each circulating bed comprises a filter tank, a middle tank, a symbiotic wet curtain and a circulating pipeline; the biological filter material located in the first circulating bed is inoculated with nitrifying bacteria, the biological filter material located in the second circulating bed is inoculated with denitrifying bacteria, the symbiotic wet curtain comprises a plurality of curtain cloths arranged at intervals, and the curtain cloths are formed by weaving hydrophilic modified fiber materials. Through the synergistic effect of the symbiotic wet curtain and the filter tank, the synergistic efficiency of bacteria and algae is improved, a huge attachment area and a stable growth space are provided for microorganisms such as nitrifying bacteria, denitrifying bacteria and microalgae through the symbiotic wet curtain, and attachment is provided for the nitrifying bacteria through the suspended aerobic filter material; the anaerobic filter material is used for adhering denitrifying bacteria, so that the loss of biomass is reduced.

traducir