Ministerio de Industria, Turismo y Comercio LogoMinisterior
 

Alerta

Resultados 138 resultados
LastUpdate Última actualización 12/10/2025 [07:15:00]
pdfxls
Solicitudes publicadas en los últimos 120 días / Applications published in the last 120 days
previousPage Resultados 50 a 75 de 138 nextPage  

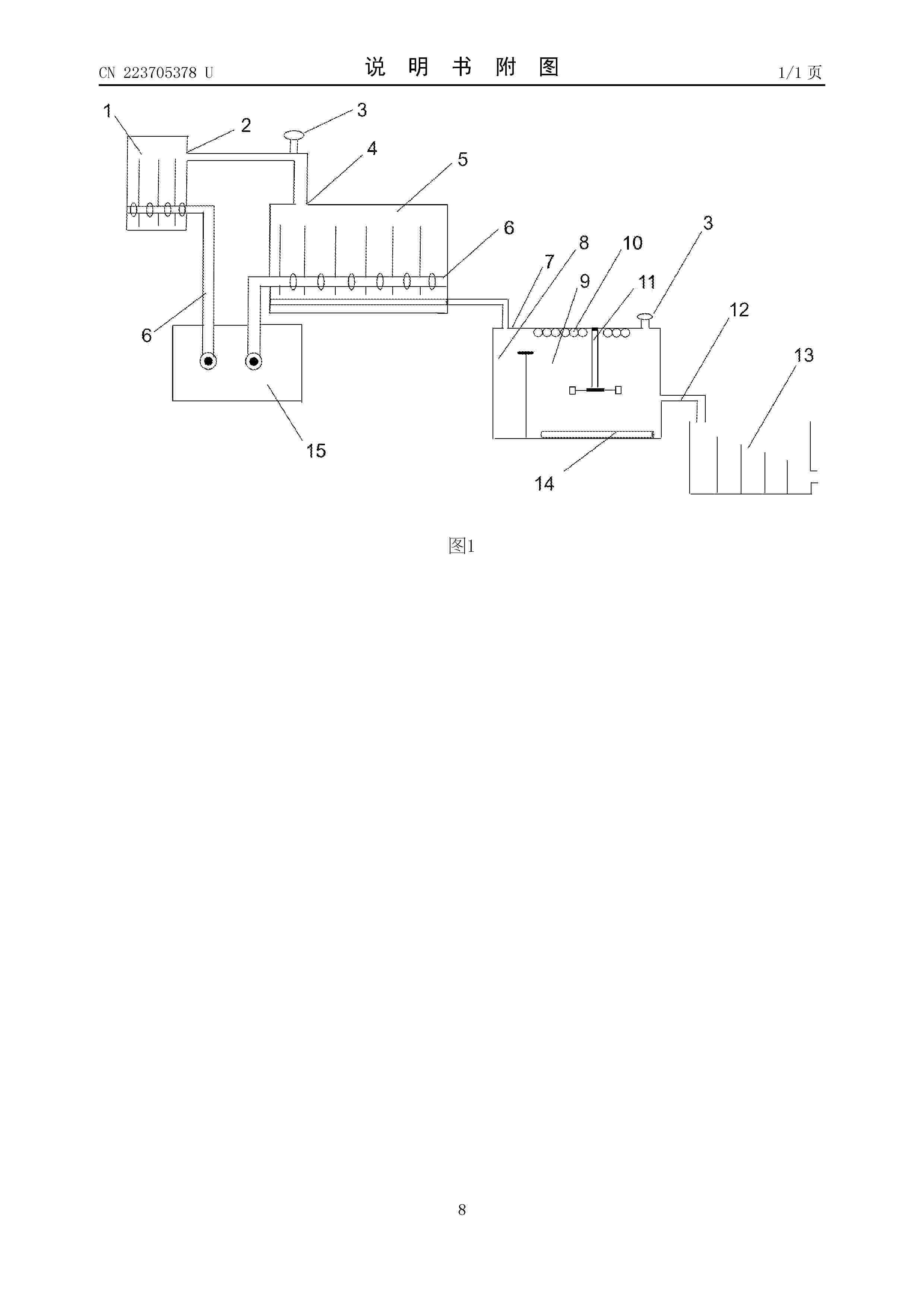
Application of microalgae in killing fecal escherichia coli in wastewater

NºPublicación:  CN120364866A 25/07/2025
Solicitante: 
NANCHANG HANGKONG UNIV
\u5357\u660C\u822A\u7A7A\u5927\u5B66
CN_120364866_PA

Resumen de: CN120364866A

The invention belongs to the technical field of water body disinfection, and particularly relates to application of microalgae in killing fecal escherichia coli in wastewater, and the microalgae is one or more of Pediastrum and Chlorella. The application reveals that pH and dissolved oxygen improved by microalgae metabolism can synergistically inactivate fecal escherichia coli for the first time, and a disinfection effect is achieved. In practical application, the removal rate of fecal escherichia coli can reach 100%, removal of pollutants such as TP and TN meets the emission standard, the microalgae can independently treat the polluted water body, pollutants do not need to be removed through a conventional activated sludge method in advance, additional structures do not need to be used for killing microorganisms in the water body, and the method has the advantages of being environmentally friendly and free of pollution. And the construction cost and the operation cost are saved.

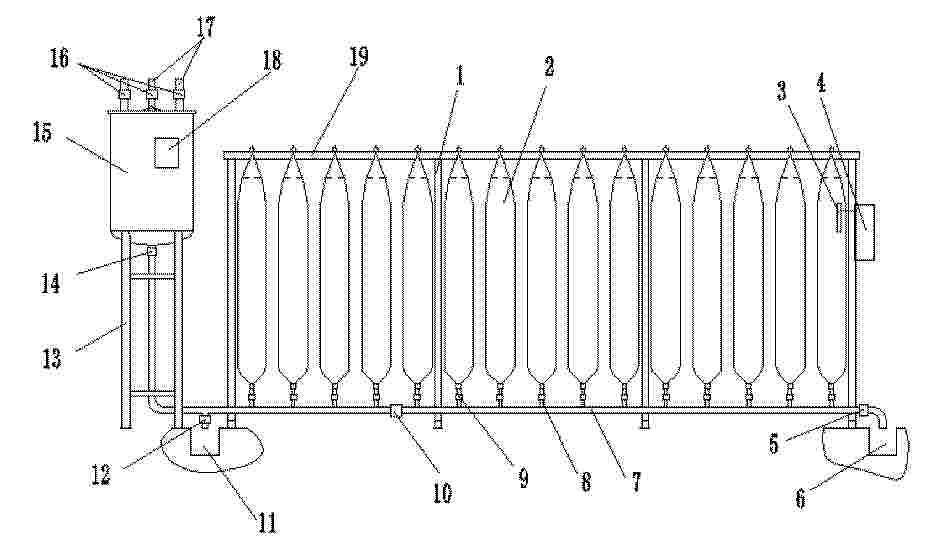
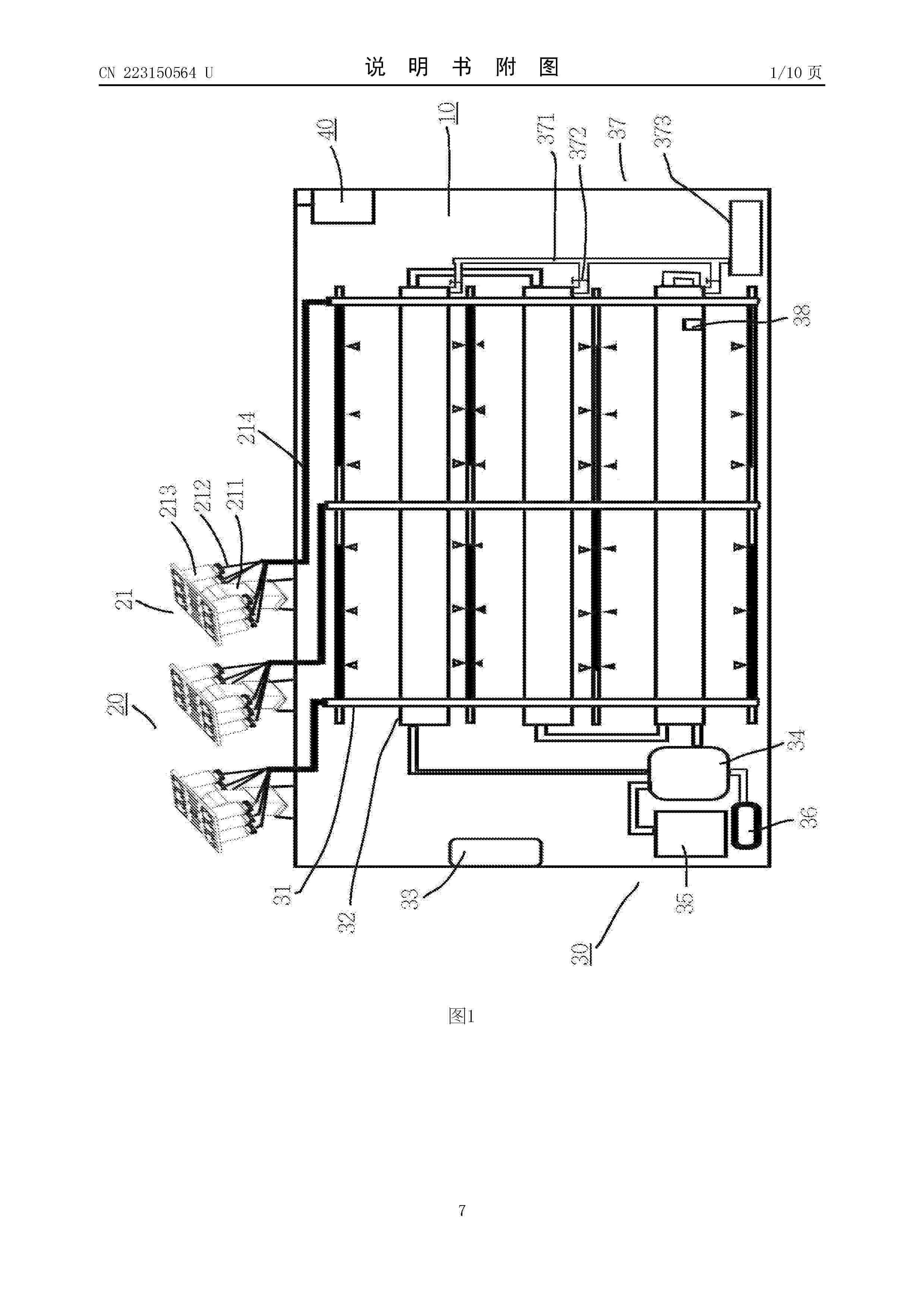
Microalgae culture equipment in optical fiber light guide mode

NºPublicación:  CN223150564U 25/07/2025
Solicitante: 
XINGHAN GREEN ENERGY CO LTD
\u661F\u701A\u7EFF\u80FD\u80A1\u4EFD\u6709\u9650\u516C\u53F8
CN_223150564_U

Resumen de: CN223150564U

The utility model discloses microalgae culture equipment in an optical fiber light guide mode. The microalgae culture equipment comprises an indoor culture space; the light source unit comprises a preset number of sun-tracking light guide lighting devices, and each sun-tracking light guide lighting device is composed of a sun-tracking module, one or more light guide optical fiber tubes, one or more sunlight collecting modules and a light source projection mounting bracket; the microalgae culture unit consists of a culture container mounting bracket, a microalgae culture container, an automatic electrical box, a culture solution circulating module, a nutrient supplementing module, an air CO2 supply module, a culture solution recycling module and an environment monitoring module; and the power supply unit is used for supplying power required by the light source unit, the microalgae culture unit and other units. According to the utility model, the advantages of outdoor sunshine culture and indoor artificial illumination culture are integrated, natural sunlight is obtained as a growth light source through sun-tracking light guide optical fiber illumination, and an indoor mode which is easy to obtain in a culture place is adopted, so that energy conservation and convenience are realized, and a greater contribution is made to net zero carbon reduction.

PHOTOBIOREACTOR MONITORING OF ALGAE-TO-CO2 MASS RATIOS FOR CARBON CAPTURED BY MICROALGAE

NºPublicación:  WO2025155916A1 24/07/2025
Solicitante: 
PACIFIC AGRITEC LLC [US]
PACIFIC AGRITEC, LLC
WO_2025155916_PA

Resumen de: WO2025155916A1

A system and method for quantifying CO2 capture by photobioreactors using microalgal biomass are disclosed. The method involves accurately quantifying carbon dioxide capture by photobioreactors using microalgal biomasses involves determining a unique ratio relating carbon consumed to biomass produced for each microalgae strain. This ratio is then used to predict CO2 removal from flue gases or industrial processes based on the dry mass of the corresponding biomass produced. Machine learning models are also trained on data obtained from said photobioreactors to predict CO2 consumption rates under varying conditions, thereby enhancing the accuracy and efficiency of carbon capture technologies.

TEXTURED FOOD PRODUCT MADE FROM MICROALGAE

NºPublicación:  WO2025153552A1 24/07/2025
Solicitante: 
EDONIA [FR]
EDONIA
WO_2025153552_A1

Resumen de: WO2025153552A1

The invention relates to the production of a novel food product made from one or more microalgae. It can be used as an intermediate for manufacturing a more complex product intended either for human food or for veterinary food. The invention also relates to the uses of said food product made from one or more microalgae. The invention also relates to a method for producing said food product made from one or more microalgae.

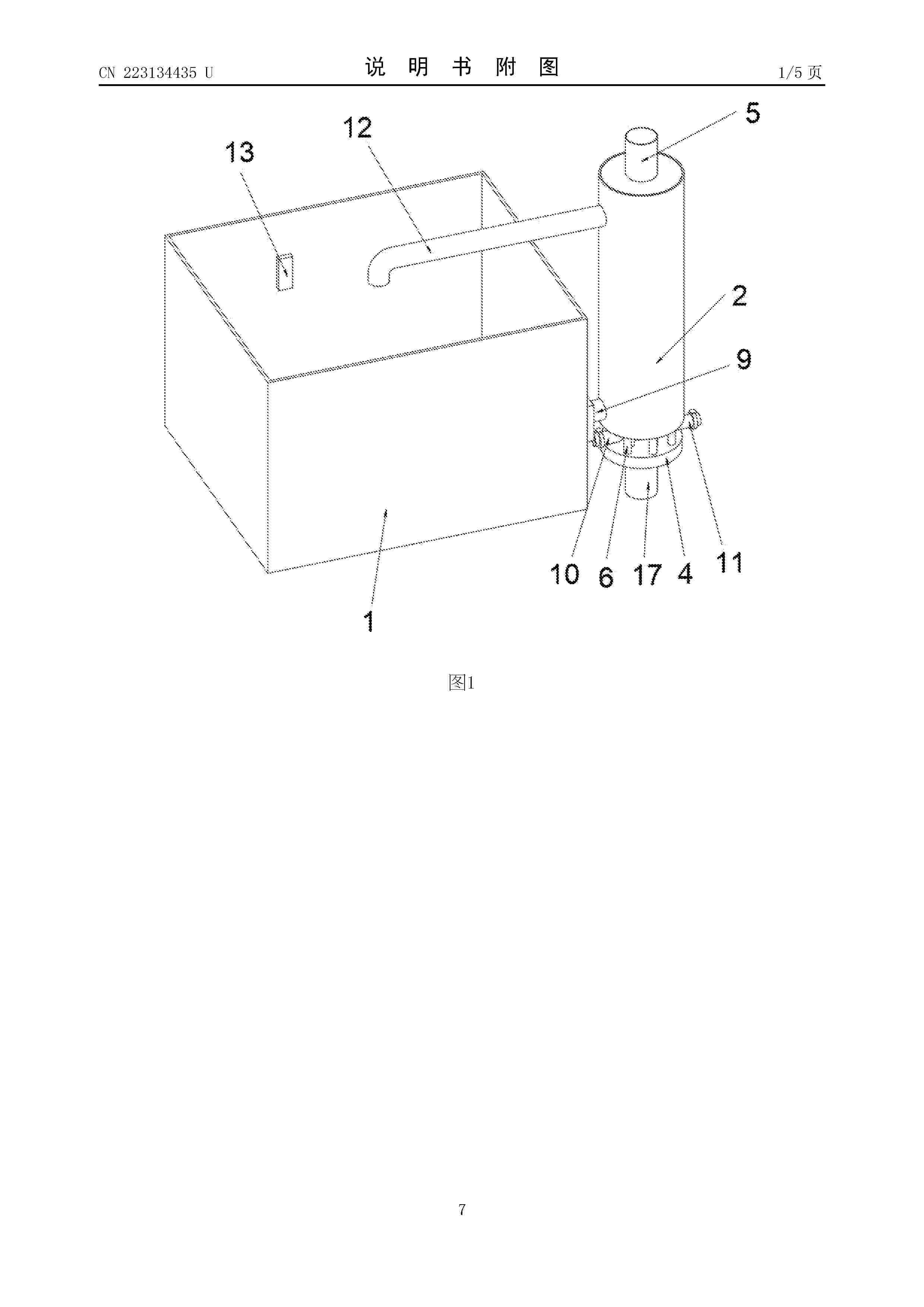
Device for heat exchange of microalgae culture water body

NºPublicación:  CN223134435U 22/07/2025
Solicitante: 
FUJIAN LUOYUAN LIANAO DALAI MARINE TECH CO LTD
\u798F\u5EFA\u7701\u7F57\u6E90\u53BF\u6FC2\u6FB3\u5927\u6765\u6D77\u6D0B\u79D1\u6280\u6709\u9650\u516C\u53F8
CN_223134435_U

Resumen de: CN223134435U

The device comprises a culture pond and a heat exchange chamber arranged on one side of the culture pond, a water pump is arranged between the heat exchange chamber and the culture pond, a water inlet of the water pump is connected with the culture pond through a pipeline, and a water storage port of the water pump is connected with the heat exchange chamber through a water conveying pipe. A backflow pipe extending to the position above the culture pond is fixedly connected to the side, opposite to the water conveying pipe, in the heat exchange chamber, a plurality of heat exchange pipes are evenly and fixedly connected to the interior of the bottom side of the heat exchange chamber, and a cleaning assembly used for cleaning the surfaces of the heat exchange pipes is arranged in the heat exchange chamber. The cleaning assembly comprises a floating plate arranged at the bottom of the heat exchange chamber, a cleaning plate arranged at the top of the floating plate and a water inlet pipe fixedly connected to the bottom of the heat exchange chamber. Through the structure, the bristles capable of moving up and down are arranged on the surfaces of the heat exchange pipes, so that the cleanliness of the surfaces of the heat exchange pipes is guaranteed, the heat exchange efficiency of the heat exchange pipes is improved, and normal operation of the microalgae culture water body heat exchange system is guaranteed.

Multi-channel dielectrophoresis microalgae screening device based on liquid metal bipolar electrode

NºPublicación:  CN120349880A 22/07/2025
Solicitante: 
NORTHEASTERN UNIV AT QINHUANGDAO
\u4E1C\u5317\u5927\u5B66\u79E6\u7687\u5C9B\u5206\u6821
CN_120349880_PA

Resumen de: CN120349880A

The invention provides a multichannel dielectrophoresis microalgae screening device based on a liquid metal bipolar electrode, and relates to the technical field of cell screening. The multichannel dielectrophoresis microalgae screening device based on the liquid metal bipolar electrode comprises a PDMS channel layer and a glass layer which are distributed up and down. According to the invention, cross-channel transmission of a three-dimensional electric field can be realized based on the charge-discharge effect of double electric layers on the surface of the liquid metal three-dimensional bipolar electrode, and cell screening channels have the same electric field intensity distribution and electric field frequency and have the same fluid flow velocity; by means of synchronous regulation and control of an electric field and a flow field, adjustment of the screening effect can be achieved, multiple screening channels are provided, the dielectrophoresis cell screening flux can be remarkably improved, the problem of complex ohmic connection is solved, the risk that cell screening is interfered due to complex ohmic connection is reduced during large-scale multi-channel integration, and the cell screening efficiency is improved. The cell screening flux and screening efficiency are effectively balanced, and meanwhile, the operation cost is reduced.

Small molecule RNA AsrR9 and application thereof in regulation and control of ammonium salt stress tolerance of synechocystis PCC6803

NºPublicación:  CN120350003A 22/07/2025
Solicitante: 
SOUTH CHINA UNIV OF TECHNOLOGY
\u534E\u5357\u7406\u5DE5\u5927\u5B66
CN_120350003_A

Resumen de: CN120350003A

The invention discloses a micromolecule RNA AsrR9 and application thereof in regulation and control of ammonium salt stress tolerance of synechocystis PCC6803, and belongs to the field of industrial microorganisms. According to the invention, AsrR9 is subjected to overexpression, such that an overexpressed algae strain OEAsrR9 is obtained. In a BG11 solid culture medium, the growth state of the OEAsrR9 in the range of 30 mM to 120 mM is obviously superior to that of WT. In a BG11 liquid culture medium added with 90 mM to 150 mM of ammonium salt, illumination culture is carried out for five days, the growth condition of the OEAsrR9 on the third day is obviously superior to that of WT, and the growth condition of the WT is obviously superior to that of an inhibiting algae strain SPAsrR9. The OEAsrR9 obtained by the invention provides a genetic engineering algal strain chassis for constructing algal strains tolerant to various environmental stresses, provides important theoretical support for high-concentration and high-ammonia wastewater treatment and biological energy production by utilizing microalgae in the future, and has practical significance and wide application prospects.

White chlorella pyrenoidosa mutant strain and application thereof

NºPublicación:  CN120349890A 22/07/2025
Solicitante: 
ZAOAN ZHUHAI TECH CO LTD
SANYA YUANYU BIOTECHNOLOGY CO LTD
ZHUHAI YUANYU BIOTECHNOLOGY CO LTD
\u85FB\u5B89\uFF08\u73E0\u6D77\uFF09\u79D1\u6280\u6709\u9650\u516C\u53F8,
\u4E09\u4E9A\u5143\u80B2\u751F\u7269\u79D1\u6280\u6709\u9650\u516C\u53F8,
\u73E0\u6D77\u5143\u80B2\u751F\u7269\u79D1\u6280\u6709\u9650\u516C\u53F8
CN_120349890_PA

Resumen de: CN120349890A

The invention relates to a white chlorella pyrenoidosa mutant strain and application thereof, and belongs to the technical field of microalgae biology. The chlorella pyrenoidosa mutant strain is named as YYZM024, and is preserved in the China General Microbiological Culture Collection Center (CGMCC), the preservation number is CGMCC NO.40787, and the preservation date is September 19, 2023. The mutant strain is cultured in a glucose-containing heterotrophic culture medium, and after the mutant strain is cultured under the dark condition of 25-28 DEG C for 7-10 days, the content of chlorophyll in cells is still stably maintained at a relatively low level, and the color characterization is very stable. The chlorophyll content of the mutant strain is not obviously changed after passage inoculation for six months, and dry algae powder is always milky white, so that the genetic character of the mutant strain is relatively stable, and the mutant strain can be used as an algae species for large-scale production of algae source protein or an algae powder source of food additives.

Device and method for efficient enrichment and slow release application of carbon dioxide

NºPublicación:  CN120349852A 22/07/2025
Solicitante: 
QINGDAO HENGNUO SHIJIA SEAWEED TECH CO LTD
\u9752\u5C9B\u6052\u8BFA\u4E16\u4F73\u6D77\u85FB\u79D1\u6280\u6709\u9650\u516C\u53F8
CN_120349852_PA

Resumen de: CN120349852A

The invention discloses a device and a method for efficient enrichment and slow release application of carbon dioxide, and belongs to the field of seaweed and microalgae cultivation. A device for efficient enrichment and slow release application of carbon dioxide comprises a cultivation box and a mounting ring mounted on the cultivation box, and further comprises an aeration pipe arranged in the cultivation box and provided with a plurality of groups of aeration holes; the at least two groups of communicating pieces are arranged on the symmetrical outer side walls of the cultivation box, the communicating piece on one side is communicated with a water inlet pipe, and the communicating piece on the other side is communicated with a water drainage pipe; the connecting shaft is rotationally connected to the side, close to the water inlet pipe, in the cultivation box, and a water wheel is fixedly connected to the connecting shaft; the adding hopper communicates with the side, close to the water wheel, of the cultivation box, and a discharging assembly is arranged in the adding hopper; the invention can overcome the problems of non-uniform distribution of nutrient substances in water, low utilization rate of algae and easy damage of algae.

Solar greenhouse microalgae fertilizer in-situ culture device and application system

NºPublicación:  CN120349853A 22/07/2025
Solicitante: 
QILU UNIV OF TECHNOLOGY SHANDONG ACADEMY OF SCIENCES
SHANDONG ANALYSIS AND TEST CENTER
\u9F50\u9C81\u5DE5\u4E1A\u5927\u5B66\uFF08\u5C71\u4E1C\u7701\u79D1\u5B66\u9662\uFF09,
\u5C71\u4E1C\u7701\u5206\u6790\u6D4B\u8BD5\u4E2D\u5FC3
CN_120349853_PA

Resumen de: CN120349853A

The invention discloses a sunlight greenhouse microalgae fertilizer in-situ culture device and an application system, and belongs to the field of microalgae fertilizer in-situ application, the device comprises a wall body, the upper part of the wall body is fixedly connected with a storage box, the wall surface of the wall body is provided with an S-shaped pipeline, one end of the S-shaped pipeline is communicated with the storage box, and the other end of the S-shaped pipeline is communicated with the application system; a return pipe is communicated between the other end of the S-shaped pipeline and the storage box through a shunt pipe; the flow dividing pipe is communicated with a plurality of branch pipes, the plurality of branch pipes are communicated with the S-shaped pipeline, electromagnetic three-way valves are arranged at the joints of the branch pipes and the S-shaped pipeline, and the plurality of electromagnetic three-way valves run from morning to evening along with time, so that the flowing distance of the algae liquid in the storage box in the S-shaped pipeline is gradually shortened; according to the device, the S-shaped pipeline and the electromagnetic three-way valve are matched for use, so that the flowing path of chlorella liquid in the S-shaped pipeline is adjusted according to the sunlight intensity, and the light receiving time and the light receiving area of chlorella are controlled.

Device for continuously culturing fresh water microalgae indoors at constant temperature

NºPublicación:  CN120349854A 22/07/2025
Solicitante: 
JINGZHOU NATURAL SHRIMP QINGSU CO LTD
\u8346\u5DDE\u5E02\u5929\u7136\u867E\u9752\u7D20\u6709\u9650\u516C\u53F8
CN_120349854_PA

Resumen de: CN120349854A

The invention provides a device for indoor constant-temperature continuous culture of freshwater microalgae. According to the device, a cross beam and a hanging frame are installed at the top of each main frame, breeding bags are correspondingly hung on the two sides of each hanging frame, a pH value detector and an air inlet pipe are arranged in each breeding bag, a monitoring alarm box is installed on the main frame at the end, and an upper light bar and a lower light bar are installed on the two sides of each main frame and correspond to each breeding bag. Sewage discharge grooves are formed in the ground at the two outer ends of the main frame, the bottom of each culture bag is communicated with a liquid conveying mechanism, and an algae liquid conveying mechanism is arranged on the ground at the inner end of the main frame. The buffer tank is provided with a non-contact liquid level monitor, a material pipe, a material pipe electromagnetic valve and a buffer tank electromagnetic valve; and the main conveying pipe is provided with a segmented electromagnetic valve, a connecting straight pipe and a branch pipe electromagnetic valve. According to the device, the culture bags are connected in series to culture the fresh water microalgae, the liquid conveying mechanism is used for unified conveying, the structure is simple and practical, the automation degree is high, the equipment investment cost is low, and the yield of the fresh water microalgae is high.

Microalgae culture system based on fishpond culture tail water

NºPublicación:  CN223118434U 18/07/2025
Solicitante: 
MOUTAI UNIV
\u8305\u53F0\u5B66\u9662
CN_223118434_U

Resumen de: CN223118434U

The utility model relates to the technical field of microalgae culture, in particular to a microalgae culture system based on fishpond culture tail water. According to the technical scheme, the device comprises a water diversion assembly, the water diversion assembly comprises lever frames, a water blocking plate and a waste water pool baffle, the front side and the rear side of a partition baffle are slidably connected with the lever frames, the other end of each lever frame is slidably connected with the water blocking plate, and the waste water pool baffle is fixedly installed on the inner wall of the runway type culture pond. And the water blocking plate slides up and down on the side part of the wastewater pool baffle. In summer, water in the fishpond is exposed to the sun, the water level of wastewater for culturing microalgae is lowered, the separation baffle moves downwards along with the water at the moment, the separation baffle enables the water blocking plate to move upwards through the lever frame, and the water level of the left side of the water blocking plate is higher than that of the right side of the water blocking plate, so that the water on the left side of the water blocking plate is introduced to the right side, and the water for culturing microalgae is supplemented in time; the microalgae are prevented from being washed away by water due to the fact that the height of the microalgae is lower than the partition baffle.

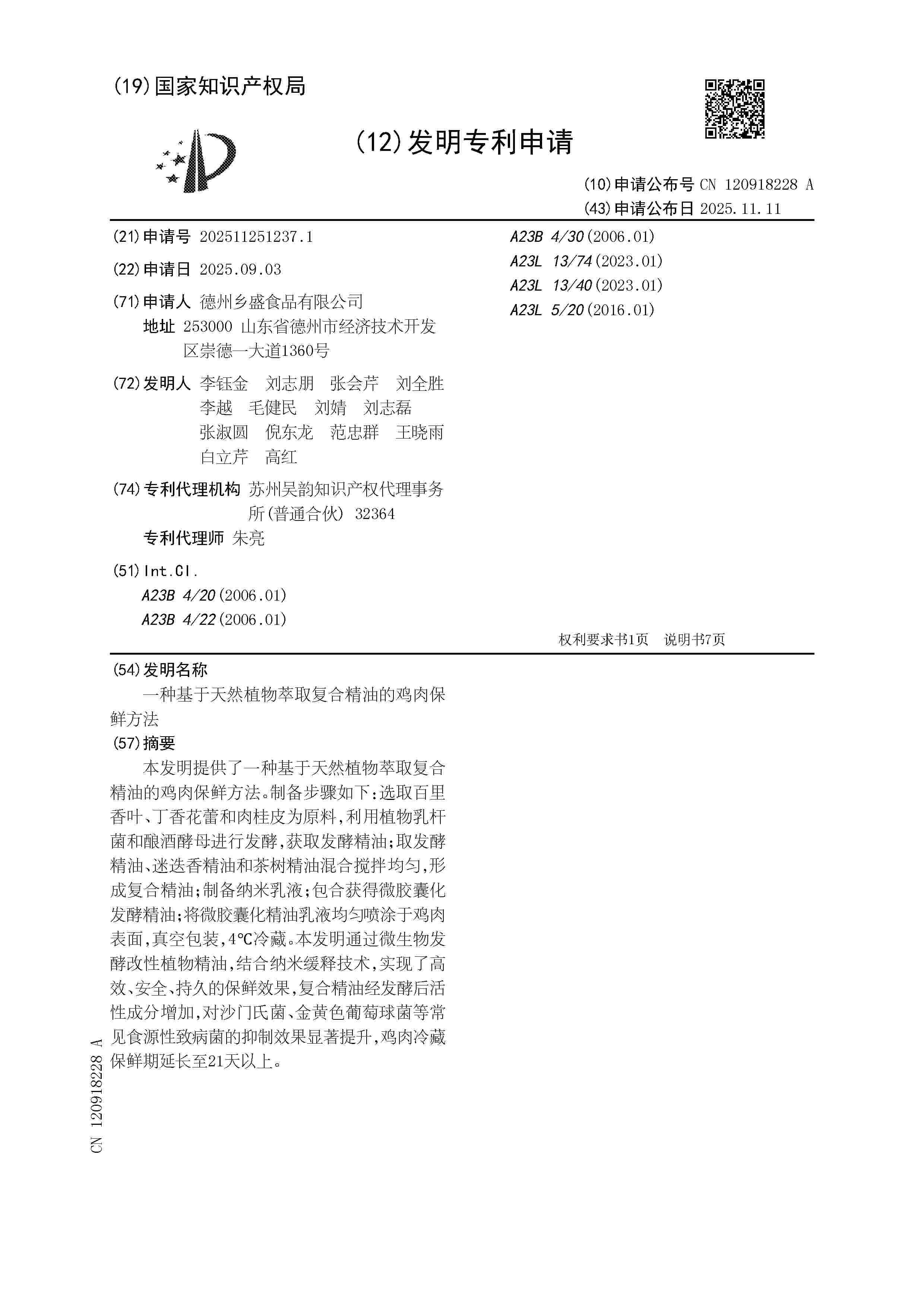
Equipment for breaking wall of cyanobacteria cells

NºPublicación:  CN223118462U 18/07/2025
Solicitante: 
JIANGSU JINSHAN ENVIRONMENTAL SCIENCE AND TECH RESEARCH CO LTD
\u6C5F\u82CF\u91D1\u5C71\u73AF\u5883\u79D1\u5B66\u6280\u672F\u7814\u7A76\u6709\u9650\u516C\u53F8
CN_223118462_U

Resumen de: CN223118462U

The utility model relates to the technical field of cyanobacteria cell wall breaking, and discloses a cyanobacteria cell wall breaking device which comprises a bottom plate, a wall breaking bin and an upper cover assembly, the wall breaking bin is placed at the top of the bottom plate, and electric telescopic rods are installed at the four corners of the top of the bottom plate. The movable end of the electric telescopic rod is fixedly connected with a height extending column, and the upper cover assembly is fixed among the top ends of the four height extending columns. According to the equipment for breaking the wall of the cyanobacteria cells, the range of materials falling into the wall breaking bin is expanded through the arrangement of the multiple discharging holes, the materials are prevented from falling into a certain position in the wall breaking bin in a concentrated mode, meanwhile, the linear motor drives the transverse connecting box to reciprocate so as to change the positions of the discharging holes, and then the materials comprehensively fall into the wall breaking bin; meanwhile, when the transverse connecting box moves, the blue-green algae can be stirred through a stirring plate, the materials are promoted to make full contact with the added raw materials, and the wall breaking effect is improved.

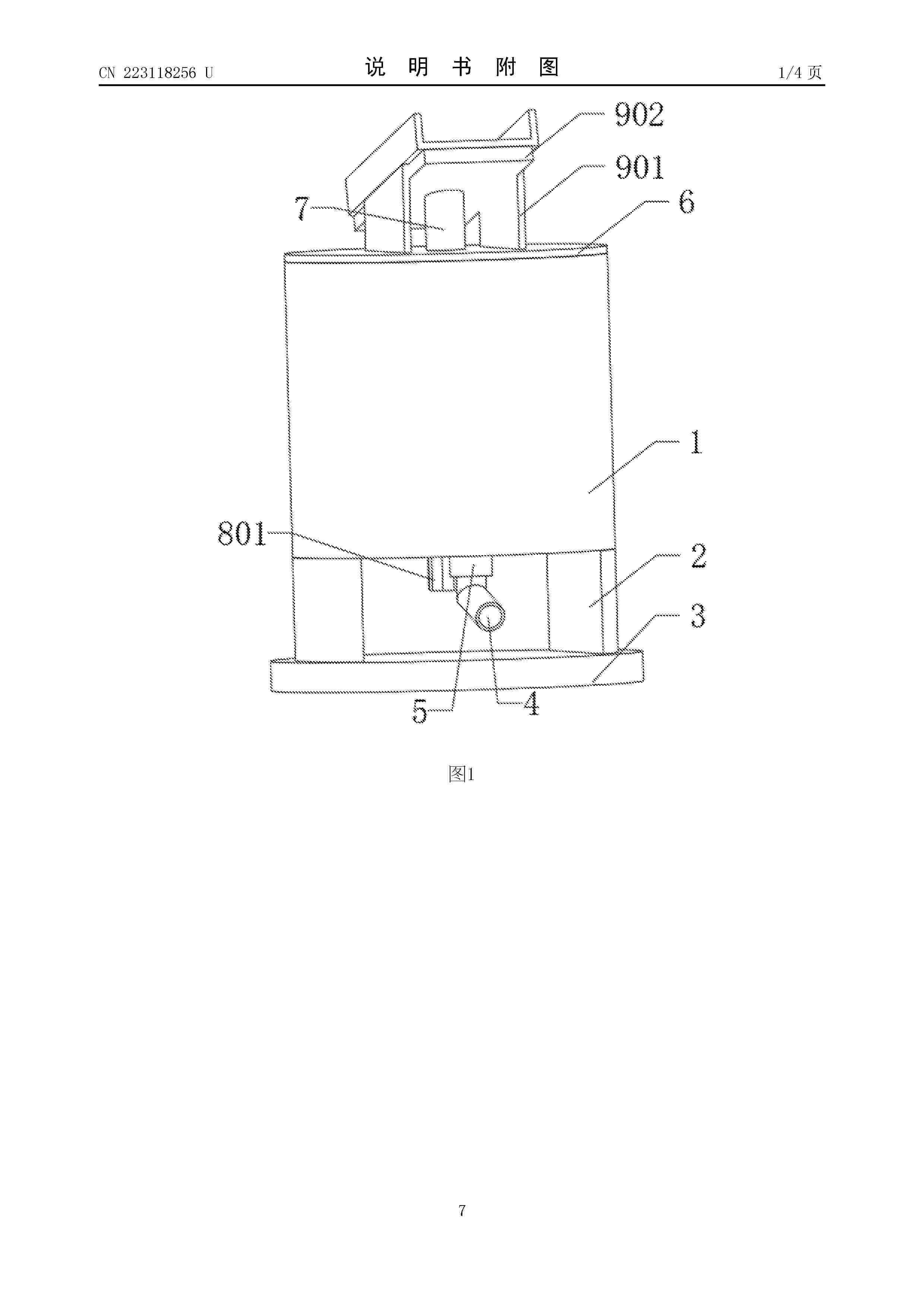
Microalgae bio-membrane reactor domestic sewage treatment equipment

NºPublicación:  CN223118256U 18/07/2025
Solicitante: 
LIU YUPENG
\u5218\u5B87\u9E4F
CN_223118256_U

Resumen de: CN223118256U

The utility model discloses domestic sewage treatment equipment for a microalgae bio-membrane reactor, which relates to the technical field of domestic sewage treatment and comprises a treatment cylinder, through holes are circumferentially arrayed on the surface of an upper mounting rack, the mounting rack is arranged between a limiting hole and the through holes, and rotating plates are arrayed on the surface of microalgae bio-membrane filler at equal intervals. When the microalgae biological membrane filler needs to be replaced, the access cover is opened, the upper mounting frame is taken out upwards from the surface of the rotating shaft, then the mounting frame corresponding to the microalgae biological membrane filler needing to be replaced is pulled out from the limiting hole, a new mounting frame is placed into the limiting hole again, and the upper mounting frame is pressed into the surface of the rotating shaft again, so that replacement can be completed. The microalgae biological membrane filler can be independently replaced and maintained, so that the cost is reduced. The rotating shaft is driven to rotate by the speed reducing motor, so that the microalgae biological membrane filler rotates in the treatment barrel and is in full contact with water in the treatment barrel, and the filtering effect is improved.

Z-shaped sewage removal device for microalgae co-culture

NºPublicación:  CN120328725A 18/07/2025
Solicitante: 
XINJIANG NORMAL UNIV
\u65B0\u7586\u5E08\u8303\u5927\u5B66
CN_120328725_PA

Resumen de: CN120328725A

The invention discloses a Z-shaped sewage removal device for microalgae co-culture, and belongs to the technical field of sewage treatment devices. According to the method, the characteristic that scenedesmus and chlorella are co-cultured to synergistically promote nutrition utilization and algae growth under a severe environment condition is utilized, carbon dioxide in sewage is absorbed through photosynthesis under an illumination condition and is converted into organic substances, and nutrient substances such as ammonia nitrogen in the sewage are utilized for growth; furthermore, by constructing a non-immersed Z-shaped reactor, light can directly irradiate the microalgae attached to the surface of the cotton cloth, light attenuation caused by high turbidity of organic sewage in a farm is overcome, meanwhile, the landing area of the microalgae is increased, the removal capacity of a microalgae biological membrane is further improved, finally, ammonia nitrogen in the sewage is removed, and the sewage treatment efficiency is improved. And the microalgae biomass with economic value is also produced.

Device and method for treating biogas slurry after anaerobic fermentation of organic garbage based on symbiosis of microalgae and bacteria

NºPublicación:  CN120325124A 18/07/2025
Solicitante: 
WUHAN HUANTOU QIANZISHAN ENVIRONMENTAL IND CO LTD
\u6B66\u6C49\u73AF\u6295\u5343\u5B50\u5C71\u73AF\u5883\u4EA7\u4E1A\u6709\u9650\u516C\u53F8
CN_120325124_PA

Resumen de: CN120325124A

The invention relates to the technical field of biogas slurry treatment, and provides a device and a method for treating biogas slurry after anaerobic fermentation of organic garbage based on symbiosis of microalgae and bacteria, the device comprises a biogas slurry treatment box, a diversion recycling box, an outer water storage box, a water pump, a rotating shaft, stirring blades and a driving mechanism, the biogas slurry treatment box and the diversion recycling box are both used for storing biogas slurry; the outer water storage tank is used for storing dilution water, the water pump is arranged on the biogas slurry treatment tank, the outer water storage tank is communicated with a water pumping pipe, the water inlet end of the water pump is communicated with a connecting pipe communicated with the water pumping pipe, and the water outlet end of the water pump is communicated with a water supply pipe communicated to the interior of the biogas slurry treatment tank. And the water supply pipe extends to the top end of the inner cavity of the biogas slurry treatment box. According to the biogas slurry treatment device, when the nutrient content proportion in the biogas slurry is relatively high, the biogas slurry in the biogas slurry treatment box can be diluted in time, so that the treatment efficiency of the biogas slurry in the biogas slurry treatment box is improved, and the biogas slurry treatment device is convenient to use.

Construction method of cyanobacteria-corynebacterium glutamicum artificial photosynthetic mixed bacteria system

NºPublicación:  CN120330116A 18/07/2025
Solicitante: 
TIANJIN UNIV
\u5929\u6D25\u5927\u5B66
CN_120330116_PA

Resumen de: CN120330116A

The invention discloses a construction method of a cyanobacteria-corynebacterium glutamicum artificial photosynthetic mixed bacteria system. The construction method comprises the following steps: step S1, amplifying by taking plasmid pUC-tho as a template to obtain a theophylline inducible promoter Ptho; step S2, carrying out amplification by taking a Synechocystis sp. PCC 6803 genome as a template so as to obtain a strong promoter Pcpc560, and carrying out amplification on the strong promoter Pcpc560 so as to obtain a strong promoter Pcpc560; step S3, carrying out amplification by taking the plasmid pUC-PAL as a template to obtain an arabidopsis thaliana phenylalanine lyase gene pal; step S4, carrying out amplification by taking the plasmid pUC-cscB as a template to obtain an escherichia coli W sucrose transporter gene cscB; step S5, carrying out amplification by taking the integrated plasmid Pcp3031 as a template, so as to obtain a terminator Trbcl; and step S6, fusing the strong promoter Pcpc560, the arabidopsis phenylalanine lyase gene pal and the terminator Trbcl, and respectively connecting with an expression vector pSI-SPE to obtain the expression vector containing the gene pal. According to the invention, a'cyanobacteria-corynebacterium glutamicum 'artificial photosynthetic mixed bacteria system is constructed by simulating a mutualistic symbiotic relationship ubiquitous in nature, and negative carbon biosynthesis of cis-muconic acid is realized.

Shellfish larva breeding system with automatic identification and feeding functions and breeding method of shellfish larva breeding system

NºPublicación:  CN120323370A 18/07/2025
Solicitante: 
INST OF OCEANOLOGY CHINESE ACADEMY OF SCIENCES
\u4E2D\u56FD\u79D1\u5B66\u9662\u6D77\u6D0B\u7814\u7A76\u6240
CN_120323370_PA

Resumen de: CN120323370A

The invention belongs to the field of aquaculture engineering, and particularly relates to an automatic identification and feeding shellfish larva cultivation system and method, and the system comprises a larva circulating water cultivation tank which is used for accommodating shellfish larvae and a circulating water body; the larva image acquisition device is used for acquiring larva image data and sending the larva image data to the control system; the peristaltic pump is used for receiving the control of the control system and quantitatively adding the bait algae liquid; the algae density sensor is used for collecting real-time microalgae concentration; the control system is used for receiving the image data of the larva image acquisition device and analyzing and acquiring the number of larvae and the shell length of the larvae; data of the algae density sensor is also received and converted into real-time microalgae concentration; meanwhile, according to the obtained data, the amount of bait algae liquid needing to be supplemented is calculated, the peristaltic pump is controlled to be started, and feeding is executed. The accurate feeding control system for the shellfish larvae is innovatively researched and developed, and the larva feeding amount is accurately controlled on the basis of the constructed accurate feeding preset model.

Recombinant algal strain for expressing AGAT, BHAA, BHAD and ISR as well as construction method and application of recombinant algal strain

NºPublicación:  CN120330055A 18/07/2025
Solicitante: 
SHENZHEN UNIV
\u6DF1\u5733\u5927\u5B66
CN_120330055_PA

Resumen de: CN120330055A

The invention provides a recombinant algal strain for expressing AGAT, BHAA, BHAD and ISR as well as a construction method and application of the recombinant algal strain, and belongs to the technical field of gene engineering. The invention provides a recombinant microalgae strain, which is a microalgae strain for expressing aspartic acid-glyoxylate transaminase, beta-hydroxyaspartic acid aldolase, beta-hydroxyaspartic acid dehydratase and iminosuccinic acid reductase. The invention further provides a preparation method of the recombinant microalgae strain. The recombinant microalgae strain can decompose a light respiration by-product glycollic acid into carbon dioxide, the carbon dioxide concentration of chloroplast is improved, the carbon sequestration efficiency of microalgae is effectively improved, and fixed CO2 can be converted into biomass, pyruvic acid, starch, grease and other metabolites and bioactive substances. The recombinant microalgae strain disclosed by the invention has a wide application prospect in the aspects of biological carbon sequestration, synthesis of microalgae metabolites and preparation of microalgae bioactive substances.

Photobioreactor device for microalgae culture

NºPublicación:  CN120330036A 18/07/2025
Solicitante: 
TAIYUAN UNIV OF SCIENCE AND TECHNOLOGY
\u592A\u539F\u79D1\u6280\u5927\u5B66
CN_120330036_PA

Resumen de: CN120330036A

The invention discloses a photobioreactor device for microalgae culture, and relates to the technical field of biological growth containers, the photobioreactor device comprises a frame, a mounting rack I, a controller and an incubator shell, a reaction barrel is rotatably arranged in the incubator shell, and a plurality of lantern boxes are sequentially arranged in the reaction barrel from top to bottom; the top of the outer side of each lantern box is provided with a drainage ring, the bottom end of the bottommost lantern box is fixedly provided with a fourth flow guide pipeline, and a plurality of first exhaust pipes used for releasing pressure in the reaction barrel are internally provided with sampling assemblies. Under the conditions that algae cultivation is not affected and waste gas leakage is little, algae samples are obtained from different positions in the photobioreactor device for multiple times, and the culture effect of the photobioreactor device can be conveniently detected.

Sewage treatment method based on microalgae encapsulation technology polymorphic nitrogen synergistic metabolism removal system

NºPublicación:  CN120328739A 18/07/2025
Solicitante: 
HARBIN INSTITUTE OF TECH
\u54C8\u5C14\u6EE8\u5DE5\u4E1A\u5927\u5B66
CN_120328739_PA

Resumen de: CN120328739A

The invention discloses a sewage treatment method of a polymorphic nitrogen synergistic metabolism removal system based on a microalgae encapsulation technology, and relates to a sewage treatment method of a polymorphic nitrogen synergistic metabolism removal system. The invention aims to solve the problems that the traditional microalgae sewage treatment technology is difficult to realize efficient synergistic metabolism of nitrogen elements in various forms, so that the treatment effect is unstable, and the treatment requirements of wastewater with different water qualities are difficult to meet. According to the invention, specific algae species are adopted, microalgae cells are fixed in gel microspheres through a packaging process, and a micro-processing system in which an outer high-light-transmission area algae group executes light capture and an inner low-light area algae group is responsible for energy conversion is formed. According to the system, smooth transmission of nitrogen is ensured, the demand of microalgae on nitrogen is met, nitrogen metabolism based on differential photosynthetic tasks among layers is constructed and regulated based on a dissolved oxygen/illumination gradient synergistic microenvironment, and efficient synergistic metabolism removal of polymorphic nitrogen is realized. The invention belongs to the technical field of sewage treatment.

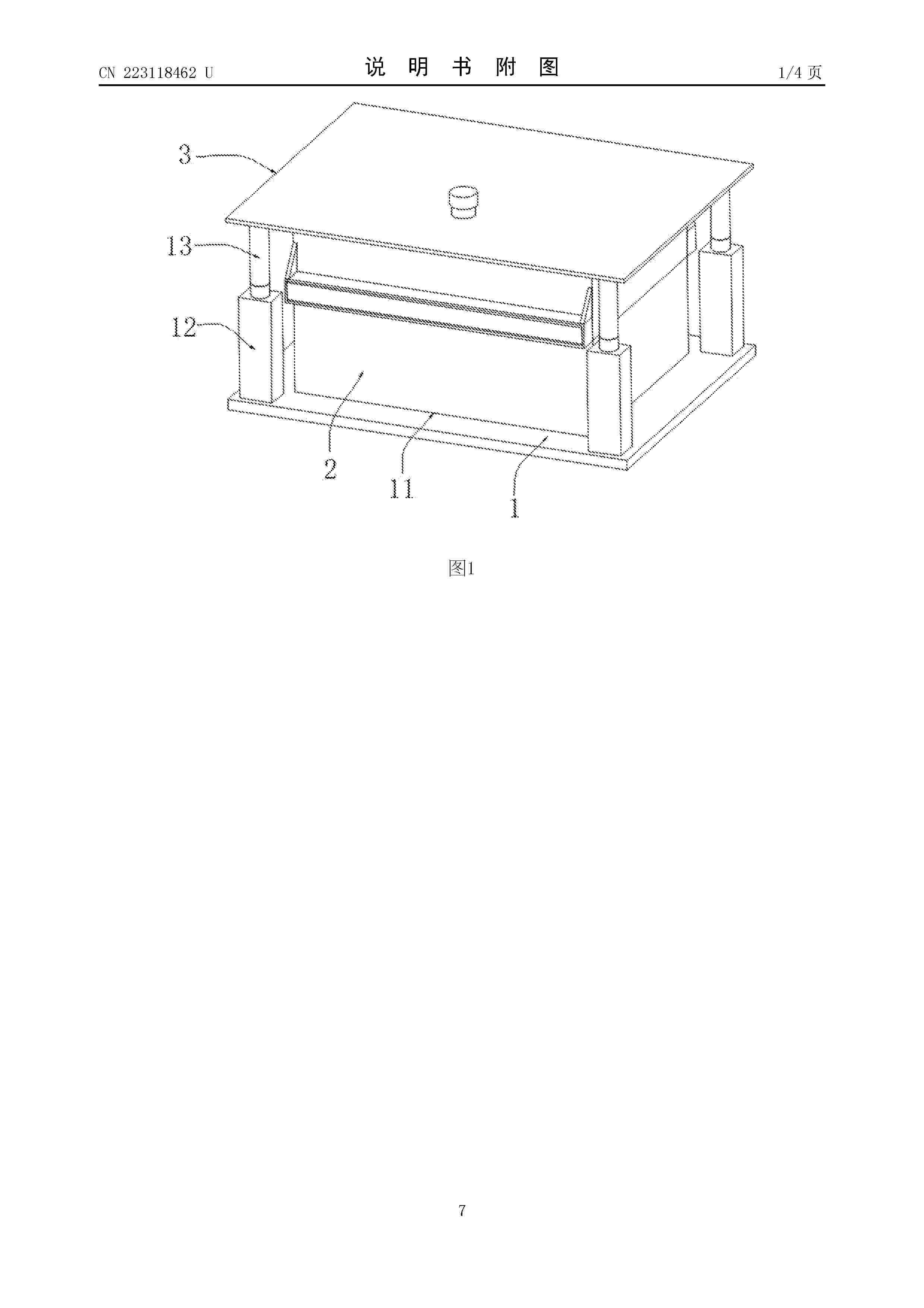
Fishpond culture wastewater purification device

NºPublicación:  CN223118253U 18/07/2025
Solicitante: 
MOUTAI UNIV
\u8305\u53F0\u5B66\u9662
CN_223118253_U

Resumen de: CN223118253U

The utility model relates to the technical field of wastewater purification, in particular to a fishpond breeding wastewater purification device. According to the technical scheme, the device comprises a flow guide part, the flow guide part comprises a baffle, a flow guide exchange plate and a water row, the baffle is fixedly installed in a culture pond and located on the water surface of ammonia nitrogen wastewater, and the flow guide exchange plate is fixedly installed in the culture pond and located below the baffle; and a water drain is rotationally connected to the interior of the culture pond and located at the extension line of the flow guide exchange plate. The microalgae absorb ammonia nitrogen in the ammonia nitrogen wastewater, the microalgae and plankton are used as live bait of fish, the cost is reduced, the water quality is purified, the ammonia nitrogen wastewater is drained through the flow guide exchange plate, the ammonia nitrogen wastewater located on the lower layer flows to the upper layer, the microalgae absorb the ammonia nitrogen in the ammonia nitrogen wastewater, and the water quality is improved. The ammonia-nitrogen wastewater guided by the guide exchange plate impacts the water row, so that the water row rotates, and the ammonia-nitrogen wastewater at the upper layer and the lower layer is further mixed.

PHOTOBIOREACTOR MONITORING OF ALGAE-TO-CO2 MASS RATIOS FOR CARBON CAPTURED BY MICROALGAE

NºPublicación:  US2025230388A1 17/07/2025
Solicitante: 
PACIFIC AGRITEC LLC [US]
Pacific AgriTec, LLC

Resumen de: US2025230388A1

A system and method for quantifying CO2 capture by photobioreactors using microalgal biomass are disclosed. The method involves accurately quantifying carbon dioxide capture by photobioreactors using microalgal biomasses involves determining a unique ratio relating carbon consumed to biomass produced for each microalgae strain. This ratio is then used to predict CO2 removal from flue gases or industrial processes based on the dry mass of the corresponding biomass produced. Machine learning models are also trained on data obtained from the photobioreactors to predict CO2 consumption rates under varying conditions, thereby enhancing the accuracy and efficiency of carbon capture technologies.

NEW STRAIN OF THE MICROALGA CHLORELLA VULGARIS AS A SUSTAINABLE SOURCE FOR PRODUCING ZEAXANTHIN AND LUTEIN

NºPublicación:  WO2025149866A1 17/07/2025
Solicitante: 
UNIV DEGLI STUDI DI VERONA [IT]
UNIVERSIT\u00C0 DEGLI STUDI DI VERONA
WO_2025149866_A1

Resumen de: WO2025149866A1

The present invention relates to the use of a new strain of the microalgal species Chlorella vulgaris for producing lutein and zeaxanthin, as well as to the method for obtaining it.

USE OF MICROALGAE EXTRACT FOR PROMOTING ABSORPTION AND PERMEATION THROUGH BLOOD-BRAIN BARRIER OF FATTY ACID AND COMPOSITION THEREOF

Nº publicación: WO2025148196A1 17/07/2025

Solicitante:

XIAOZAO TECH ANJI CO LTD [CN]
\u5C0F\u85FB\u79D1\u6280\uFF08\u5B89\u5409\uFF09\u6709\u9650\u516C\u53F8

WO_2025148196_A1

Resumen de: WO2025148196A1

Provided is use of a microalgae extract for promoting the absorption and permeation through the blood-brain barrier of a fatty acid and a composition thereof. The microalgae extract comprises a polar lipid in a proportion of 30% to 99.9%. The fatty acid is a fatty acid contained in a non-microalgae extract. The provided use of the microalgae extract for promoting the absorption and permeation through the blood-brain barrier of a fatty acid and the composition thereof can, by means of the cooperation of the microalgae extract and the fatty acid, promote the absorption of the fatty acid in a user, and particularly, increase the content of the fatty acid in the heart and the brain.

traducir