Ministerio de Industria, Turismo y Comercio LogoMinisterior
 

Alerta

Resultados 168 resultados
LastUpdate Última actualización 22/01/2026 [07:36:00]
pdfxls
Solicitudes publicadas en los últimos 120 días / Applications published in the last 120 days
Resultados 1 a 25 de 168 nextPage  

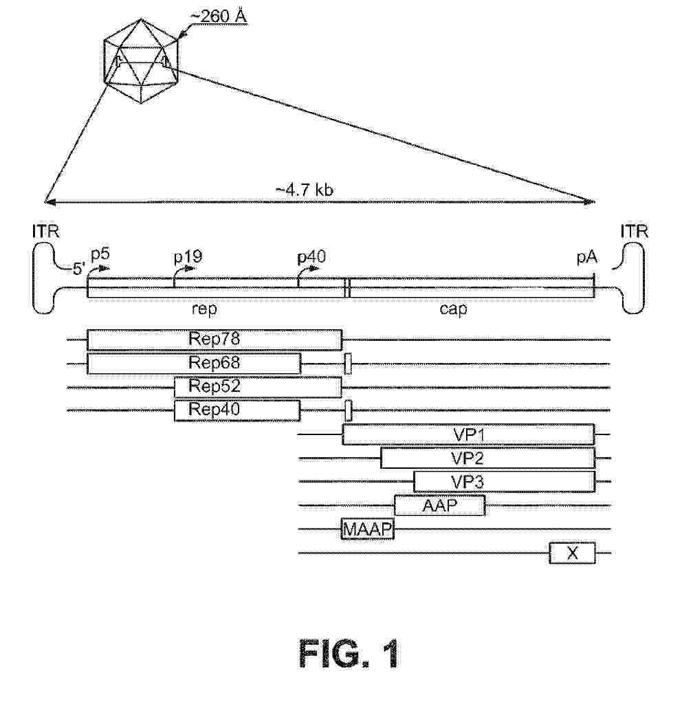
High value product (HVP) production methods using raceway pond systems

NºPublicación:  GB2642749A 21/01/2026
Solicitante: 
BRILLIANT PLANET LTD [GB]
Brilliant Planet Limited
GB_2642749_PA

Resumen de: GB2642749A

A method for producing a high value product (HVP), wherein the method comprises: (a) a first algal culture phase, comprising culturing marine HVP-producing microalgae in a first series of connected raceway ponds, maintained in the exponential growth phase by successive dilution with seawater and nutrient addition; (b) a second algal culture phase, comprising culturing the algae in one or more induction raceway ponds (that are connected to the first series of connected raceway ponds in which algae are cultured in step (a)), wherein the algae are cultured under stress conditions that induce the algae to increase HVP production; (c) a harvest phase, comprising harvesting algae from one or more of the induction raceway pond(s) in which algae are cultured in step (b); and (d) an extraction phase, wherein the extraction phase comprises extracting the HVP from the algae harvested in step (c). Also a raceway pond system comprising: (a) a linear series of connected raceway ponds comprising a first stage comprising one or more covered raceway ponds 210A-210D and a second stage comprising one or more open raceway ponds 210E; and (b) at least two series of induction raceway ponds that are connected, in parallel, to the final raceway pond of the linear series of connected raceway ponds.

EXTRACELLULAR VESICLES FROM MICROALGAE, THEIR USE FOR VACCINES AND FOR IMMUNOMODULATION

NºPublicación:  US20260014092A1 15/01/2026
Solicitante: 
AGS THERAPEUTICS SAS [FR]
AGS THERAPEUTICS SAS
US_20260014092_PA

Resumen de: US20260014092A1

Provided are vaccines and immunomodulatory compositions containing extracellular vesicles from microalgae (MEVs) that are loaded with bioactive cargo, that includes antigens and/or immunomodulatory proteins, nucleic acids, and nucleic acid encoding the proteins. The MEVs are formulated and administered by a variety of routes of administration that are advantageous for modulating the immune systems. Vaccines include those that are therapeutic for treating a disease, disorder, or condition, those that elicit an immunoprotective response, and/or otherwise modulate the immune system. The compositions include MEVs containing cargos for modulating intracellular receptors.

METHOD FOR MANAGING PRODUCTION OF PLANT GROWTH PROMOTING SUBSTANCE, METHOD FOR PRODUCING PLANT GROWTH PROMOTING SUBSTANCE, APPARATUS FOR MANAGING PRODUCTION OF PLANT GROWTH PROMOTING SUBSTANCE, AND PROGRAM

NºPublicación:  WO2026014489A1 15/01/2026
Solicitante: 
PANASONIC INTELLECTUAL PROPERTY MAN CO LTD [JP]
\u30D1\u30CA\u30BD\u30CB\u30C3\u30AF\uFF29\uFF30\u30DE\u30CD\u30B8\u30E1\u30F3\u30C8\u682A\u5F0F\u4F1A\u793E
WO_2026014489_PA

Resumen de: WO2026014489A1

A method for managing the production of plant growth promoting substance according to the present disclosure includes determining the degree of progress in production of a plant growth promoting substance on the basis of the activity value of lipopolysaccharide contained in a cyanobacterial culture supernatant. The degree of progress is determined, for example, on the basis of time-series data of the activity value of lipopolysaccharide from the start of cyanobacterial culture. The degree of progress may also be determined in accordance with the rate of change of the activity value calculated from the time-series data.

HIGH-PURITY PDRN EXTRACT DERIVED FROM MICROALGAE AND MANUFACTURING METHOD THEREOF

NºPublicación:  US20260015605A1 15/01/2026
Solicitante: 
AMOREPACIFIC CORP [KR]
AMOREPACIFIC CORPORATION
US_20260015605_A1

Resumen de: US20260015605A1

The present disclosure relates to a high-purity PDRN extract derived from microalgae and a preparation method thereof. Specifically, the high-purity PDRN extract derived from microalgae according to the present disclosure is easy to produce and highly sustainable by using microalgae capable of being mass-cultivated at any time without external environmental or time constraints as a raw material, is safe due to no risk of human infection by exogenous viruses, and can also be excellent in skin absorption when applied to products such as cosmetics due to its low molecular weight.

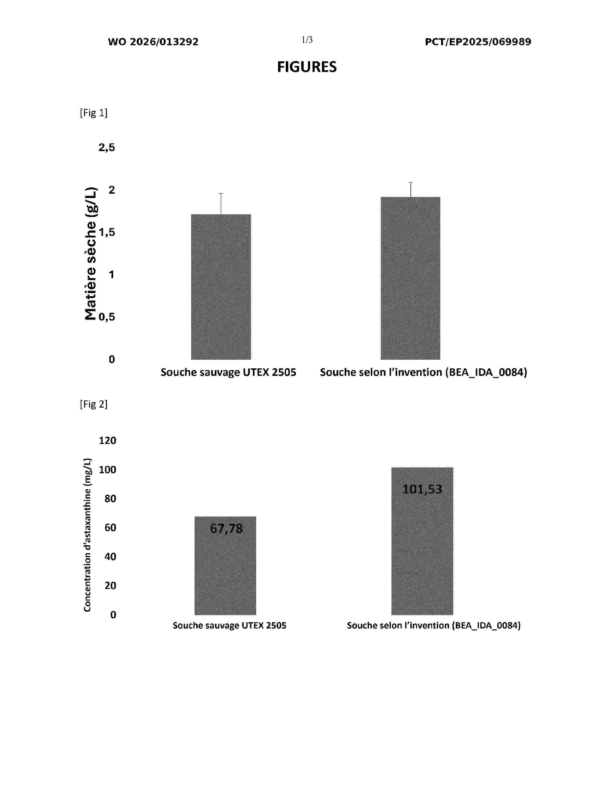
NEW STRAIN OF THE MICROALGA HAEMATOCOCCUS PLUVIALIS WITH HIGH ASTAXANTHIN YIELD

NºPublicación:  WO2026013292A1 15/01/2026
Solicitante: 
NEO EARTH [FR]
NEO-EARTH
WO_2026013292_A1

Resumen de: WO2026013292A1

The present invention relates to a strain of microalgae belonging to the genus Haematococcus with a high astaxanthin yield, and to a method for producing astaxanthin; in particular, the invention relates to a strain of the microalga Haematococcus pluvialis comprising at least 5% astaxanthin by weight relative to the total weight of Haematococcus pluvialis dry matter.

NEW COSMETIC USES OF AN EXTRACT OF THE TETRADESMUS OBLIQUUS MICROALGA

NºPublicación:  WO2026013164A1 15/01/2026
Solicitante: 
MICROPHYT [FR]
MICROPHYT
WO_2026013164_A1

Resumen de: WO2026013164A1

The present invention relates in particular to the cosmetic or nutraceutical use of an extract of the Tetradesmus obliquus microalga or of an oily ingredient comprising same, for increasing the pigmentation of the skin and/or the hair and nails, advantageously the hair, and/or for maintaining the uniformity of the complexion and/or for preparing the skin for tanning and/or for promoting relaxation and well-being.

METHOD OF PRODUCING A FATTY ESTER FROM MICROALGAE

NºPublicación:  WO2026008764A1 08/01/2026
Solicitante: 
INSTITUT NATIONAL DE RECH POUR L\u2019AGRICULTURE L\u2019ALIMENTATION ET L\u2019ENVIRONNEMENT [FR]
UNIV DE MONTPELLIER [FR]
INSTITUT NAT DENSEIGNEMENT SUPERIEUR POUR LAGRICULTURE LALIMENTATION ET LENVIRONNEMENT [FR]
INSTITUT NATIONAL DE RECHERCHE POUR L\u2019AGRICULTURE, L\u2019ALIMENTATION ET L\u2019ENVIRONNEMENT,
UNIVERSITE DE MONTPELLIER,
INSTITUT NATIONAL D'ENSEIGNEMENT SUPERIEUR POUR L'AGRICULTURE,L'ALIMENTATION ET L'ENVIRONNEMENT
EP_4674972_A1

Resumen de: WO2026008764A1

The invention relates to a method of producing an ester of a fatty acid and a C1-C4 alcohol, comprising successive steps of: cultivating cells of a microalga strain on a growth medium, harvesting the cultivated cells and concentrating them to obtain a wet cell pellet, suspending said wet cell pellet in an hydroalcoholic solution comprising said C1-C4 alcohol, incubating the cell 5 suspension thus formed so as to form said ester of a fatty acid and a C1-C4 alcohol by transesterification and/or esterification of lipids produced by the microalga cells catalyzed by endogenous enzymes of said cells, and recovering said ester of a fatty acid and a C1-C4 alcohol from said cell suspension. The growth medium can advantageously be a dark fermentation effluent.

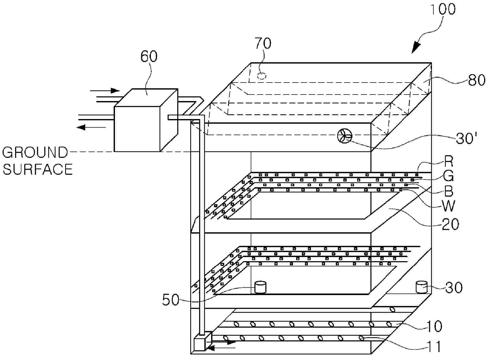
METHOD OF SYNTHESIZING A BIOLOGICAL PRODUCT AND RELATED PIPE ARRANGEMENT FOR PERFORMING THE METHOD

NºPublicación:  WO2026008156A1 08/01/2026
Solicitante: 
SIEMENS ENERGY GLOBAL GMBH & CO KG [DE]
SIEMENS ENERGY GLOBAL GMBH & CO. KG

Resumen de: WO2026008156A1

A method of synthesizing a biological product (1) is presented. The method comprises (S1) supplying process water (2) to a pipe arrangement (10) with a plurality of pipe sections (11ij), wherein the pipe sections (11) are cascaded in a descending order, (S2) providing microalgae (3) to the process water (2), (S3) retaining the microalgae-enhanced process water (2, 3) in and letting it run through the pipe sections (11) consecutively, wherein the process water (2, 3) first enters an elevated pipe section (1111) and then enters a lower pipe section (1112) driven by gravity, and (S4) exposing the process water (2) in the pipe sections (11ij) to an irradiation (4) such that the microalgae (3) are allowed to grow under the irradiation (4), wherein a part of the water (H2O) evaporates. Moreover, a related pipe arrangement is presented.

DIRECT AIR CARBON SEQUESTRATION SYSTEM AND METHOD USING COMPOUND ALGAE LIQUID COUPLED WITH MOISTURE SWING ADSORBENT

NºPublicación:  WO2026007284A1 08/01/2026
Solicitante: 
XIAN THERMAL POWER RES INSTITUTE CO LTD [CN]
\u897F\u5B89\u70ED\u5DE5\u7814\u7A76\u9662\u6709\u9650\u516C\u53F8
CN_118831409_PA

Resumen de: WO2026007284A1

Provided are a direct air carbon sequestration system and method using a compound algae liquid coupled with a moisture swing adsorbent, relating to the technical field of air capture. The system comprises a CO2 adsorption device (2), a microalgae carbon sequestration device (3), and a solution-microalgae separation device (4). Ultralow-concentration carbon dioxide (400 ppm) in the atmosphere is captured by means of moisture swing adsorbents (5), and the carbon dioxide can be adsorbed by means of a compound algae liquid; on the basis of different pH values of the algae liquid, the CO2 adsorption device (2) uses different adsorption-desorption operating modes, so that the recycling rate of the adsorbents is greater than 80%; the algae liquid can be recycled by means of photosynthesis, and two carbon sources of a carbon-rich algae liquid and a high-concentration carbon dioxide gas are continuously and stably supplied; and therefore, direct air carbon dioxide capture and sequestration are achieved with high efficiency and low costs.

METHOD OF PRODUCING A FATTY ESTER FROM MICROALGAE

NºPublicación:  EP4674972A1 07/01/2026
Solicitante: 
INSTITUT NATIONAL DE LA RECH POUR LAGRICULTURE LALIMENTATION ET LENVIRONNEMENT [FR]
UNIV MONTPELLIER [FR]
INSTITUT NAT DENSEIGNEMENT SUPERIEUR POUR LAGRICULTURE LALIMENTATION ET LENVIRONNEMENT [FR]
Institut National de la Recherche pour l'Agriculture, l'Alimentation et l'Environnement,
UNIVERSITE DE MONTPELLIER,
Institut national d'enseignement sup\u00E9rieur pour l'agriculture, l'alimentation et l'environnement
EP_4674972_A1

Resumen de: EP4674972A1

The invention relates to a method of producing an ester of a fatty acid and a C<sub>1</sub>-C<sub>4</sub> alcohol, comprising successive steps of: cultivating cells of a microalga strain on a growth medium, harvesting the cultivated cells and concentrating them to obtain a wet cell pellet, suspending said wet cell pellet in an hydroalcoholic solution comprising said C<sub>1</sub>-C<sub>4</sub> alcohol, incubating the cell suspension thus formed so as to form said ester of a fatty acid and a C<sub>1</sub>-C<sub>4</sub> alcohol by transesterification and/or esterification of lipids produced by the microalga cells catalyzed by endogenous enzymes of said cells, and recovering said ester of a fatty acid and a C<sub>1</sub>-C<sub>4</sub> alcohol from said cell suspension. The growth medium can advantageously be a dark fermentation effluent.

METHOD FOR MANUFACTURING SALMON AQUACULTURE FEED USING NUTRIENT-RICH MICROALGAE SCHIZOCHYTRIUM SP. BIOMASS

NºPublicación:  EP4674278A1 07/01/2026
Solicitante: 
CJ CHEILJEDANG CORP [KR]
CJ CheilJedang Corporation
EP_4674278_PA

Resumen de: EP4674278A1

A feed composition comprising microalgae-derived biomass according to the present application uses microalgae having a high content of protein, fat, and minerals and free of factors that degrade feed quality, and thus can be effectively used as a fish feed composition.

MARINE MICROALGAL PROTEIN PREPARATIONS

NºPublicación:  US20260000094A1 01/01/2026
Solicitante: 
QUALITAS HEALTH INC [US]
Qualitas Health Inc
US_20260000094_PA

Resumen de: US20260000094A1

A protein preparation may be obtained from dried lipid extracted marine algae. The novel hydrolysate has high solubility and digestibility, low ash content, and high protein content (measured as g amino acid/g of product), with an essential amino acid profile that makes an excellent protein supplement for human consumption. The process utilizes a hydrolyzation reaction at high solids content to minimize water footprint and ash content, while increasing its solubility and digestibility.

Method for preparing a rich liquid food supplement based on microalgae

NºPublicación:  MA66491A1 31/12/2025
Solicitante: 
UNIV MOHAMMED V RABAT [MA]
Universit\u00E9 Mohammed V Rabat
MA_66491_A1

Resumen de: MA66491A1

The invention describes a method for developing a liquid food supplement rich in proteins and amino acids, polyphenols and phycocyanin from microalgae. The method includes, as a main step, the enzymatic decomposition of cell walls to release their contents into the extract, without degradation or change in its composition. The compounds released include free proteins and amino acids, phenolic compounds and phycocyanin contained in the phycobilisome. The liquid product obtained by said method preserves high antioxidant activity and the characteristics of a food supplement “Rich in proteins” and/or “Rich in free amino acids” and/or “Rich in phycocyanin” and/or “Rich in polyphenols » and/or “Rich in antioxidants”.

ALGAE CULTIVATION AND HARVESTING FROM CARRIERS

NºPublicación:  US2025388844A1 25/12/2025
Solicitante: 
ALGAFILM TECH LTD [CA]
ALGAFILM TECHNOLOGIES LTD

Resumen de: US2025388844A1

Microalgae are grown in a biofilm on carriers. The carriers may have surfaces with a small angle to the vertical, optionally forming a cone. A surface of the carrier may be flexible and optionally include a porous material. Algae are harvested from the carriers using a water jet, which may provide a substantially solid stream of water. A nozzle for producing the water jet may spin while being moved laterally over a carrier bed. The water jet may dislodge algae from a surface of the carriers in the form of large agglomerates or blobs. The dislodged algae may have a high concentration of solids or readily settle. The algae may be collected from a floor below the carriers, optionally with a moving collection device. A moving harvesting device may treat a portion of a carrier bed such that harvesting of the entire bed is distributed over time.

ENHANCED TRIACYLGLYCEROL PRODUCTIVITY AND EXTRACTABILITY IN AN ENGINEERED MICROALGA

NºPublicación:  US2025388850A1 25/12/2025
Solicitante: 
COMMISSARIAT A LENERGIE ATOMIQUE ET AUX ENERGIES ALTERNATIVES [FR]
UNIV GRENOBLE ALPES [FR]
CENTRE NATIONAL DE LA RECHERCHE SCIENT CNRS [FR]
INSTITUT NATIONAL DE RECH POUR L\u2019AGRICULTURE L\u2019ALIMENTATION ET L\u2019ENVIRONNEMENT [FR]
COMMISSARIAT A L'ENERGIE ATOMIQUE ET AUX ENERGIES ALTERNATIVES,
UNIVERSITE GRENOBLE ALPES,
CENTRE NATIONAL DE LA RECHERCHE SCIENTIFIQUE (CNRS),
Institut national de recherche pour l\u2019agriculture, l\u2019alimentation et l\u2019environnement
CN_119731197_A

Resumen de: US2025388850A1

The present invention relates to an engineered unicellular Stramenopile microalga comprising a loss of function of the homologous Seipin gene, an in vitro method of producing triacylglycerols (TAG), and uses thereof.

ANIMAL PROTEINS IN CYANOBACTERIA

NºPublicación:  EP4665748A2 24/12/2025
Solicitante: 
INGREDIOME INC [IL]
Ingrediome Inc
WO_2024170959_A2

Resumen de: WO2024170959A2

In some embodiments, the gene is integrated into the genome of the cyanobacteria. In some of these embodiments, the gene is integrated into an NS1 site of the cell. The sequence encoding an animal protein is optimized for expression in the cyanobacteria. In some embodiments, the animal protein is a muscle protein. In some of these embodiments, the muscle protein is a myosin subunit, myoglobin, or alpha-actin. In other embodiments, the animal protein is a subunit of a complex. In some of these embodiments, the complex is a myosin complex. The production of proteins by modified cells may be performed in multiple different cells, in some embodiments, the cyanobacteria cell is S. elongatus is PCC7942 or UTEX2973 or PCC7002, or Synechocystis sp. PCC6803. In some embodiments, multiple genes are incorporated into a cell. In some embodiments, each gene comprises a myosin complex subunit. The myosin complex subunits are MLC1, MLC2, and MYH2.

UV A method for screening microalgae with thin cell walls using UV and a new chlorella strain isolated using the same

NºPublicación:  KR20250176100A 18/12/2025
Solicitante: 
주식회사종근당바이오

Resumen de: KR20250176100A

본 발명은 UV를 이용한 세포벽이 얇은 미세조류 선별방법 및 이를 이용하여 분리한 새로운 클로렐라 균주에 관한 것이다. 본 발명을 이용하면 세포벽이 얇은 미세조류 균주를 효과적으로 선별할 수 있고, 상기 선별방법으로 분리된 클로렐라 소로키니아나 UTEX2744 (Chlorella Sorokiniana UTEX2744)는 야생형과 비교하였을 때 생장속도, 지질 함량, 전분 함량과 바이오매스 함량에서 유의한 차이가 없으면서도 세포벽이 얇아 더 많은 바이오 생산물을 얻을 수 있고 유전자 조작이 쉬운 우수한 생물자원으로 사용할 수 있다.

A METHOD OF PRODUCING SINGLE CELL PROTEIN FROM WHEY

NºPublicación:  WO2025256873A1 18/12/2025
Solicitante: 
TRAKIA UNIV [BG]
TRAKIA UNIVERSITY
WO_2025256873_A1

Resumen de: WO2025256873A1

The present invention is generally concerned with the field of microbial fermentation of dairy or dairy alterative industry waste material and microbial protein production such as single cell protein (SCP). In particular the present invention is directed to microbial fermentation of dairy derived or dairy alternative derived whey for production of single cell proteins (SCP) or microbial biomass. More in particular, the present invention relates to a method of producing a single cell protein or biomass, comprising propagating a microbial culture in a large scale setting under suitable conditions and growth medium comprising dairy-derived whey to produce a single cell protein, where the microbial culture comprises microalgae, yeast and bacterial species (Figure 1). The present invention also relates to method of identifying a strain of microorganism, or mixture of strains of microorganisms, capable of efficiently using dairy-derived whey waste as a food source to produce biomass as a source of single cell protein. The present invention also relates to a propagated microbial culture or a composition and use of the culture in microbial fermentation. The present invention further provides a product or supplement comprising the composition of the present invention.

A PLANKTONIC STRAIN OF THE UNICELLULAR GREEN MICROALGAE CHLORELLA VULGARIS KD BCF, INTENDED FOR BIOMASS PRODUCTION

NºPublicación:  WO2025257611A1 18/12/2025
Solicitante: 
DANILOV ELI [IL]
DANILOV, Eli
WO_2025257611_A1

Resumen de: WO2025257611A1

The invention relates to biotechnology and represents a new planktonic strain of the unicellular green microalgae Chlorella vulgaris, intended for biomass production. The planktonic strain of the unicellular green microalgae Chlorella vulgaris KD BCF, deposited in CCAP under number 211/144, is intended for biomass production. It meets the requirements for industrial cultivation and can be used for a wide range of applications: as a food product, for the production of beverages, as a raw material for the manufacture of pharmaceuticals and dietary supplements, as animal feed, as an algolisant for biological rehabilitation of water bodies, and for wastewater treatment. 1 example.

PROCESS FOR OPTIMIZING THE PRODUCTION OF MICROALGAL LIPIDS IN A PLANT USED FOR THE SIMULTANEOUS TREATMENT OF LIQUID AND GAS EFFLUENTS FROM ANAEROBIC DIGESTION, AND RELATED PLANT

NºPublicación:  EP4663740A1 17/12/2025
Solicitante: 
UNIV DEGLI STUDI DI NAPOLI FEDERICO II [IT]
UNIV TELEMATICA PEGASO S R L [IT]
Universit\u00E0 degli Studi di Napoli Federico II,
Universit\u00E0 Telematica Pegaso S.r.l
EP_4663740_PA

Resumen de: EP4663740A1

A process and a plant for the production of microalgal lipids with simultaneous treatment of the liquid and gaseous effluents of anaerobic digestion are described; the process includes the steps of: collecting the digestate and separating the liquid fraction from the dry fraction; mixing, within a loading step, the liquid fraction with water and with the reagents necessary to obtain a culture medium suitable for microalgal growth; continuously feeding the culture medium to the mixing step; simultaneously extracting the effluent from the mixing step to the discharge step; activating a recirculation between the mixing step and the absorption step, maintained in the absence of light; simultaneously extracting the effluent as treated biogas; separating the microalgal biomass from the effluent, for subsequent extraction of the lipids; collecting the digestate and separating the liquid fraction from the dry fraction, wherein this step must be implemented upstream of the process.

A method of producing single cell protein from whey

NºPublicación:  GB2641793A 17/12/2025
Solicitante: 
TRAKIA UNIV [BG]
Trakia University
GB_2641793_PA

Resumen de: GB2641793A

A method of producing single cell protein SCP or biomass comprises culturing microbial inoculum in a growth medium comprising dairy-derived whey. The method may comprise (i) inoculating growth medium comprising dairy-derived whey with a microbial inoculum to form an inoculated microbial mixture, (ii) incubating the inoculated microbial mixture at a first incubation temperature to generate a propagated starter culture, (iii) adding the starter culture to a growth medium comprising dairy-derived whey to form a fermentation mixture and incubating the fermentation mixture, and (iv) treating the fermentation mixture to produce a SCP. The fermentation mixture may be incubated at a second incubation temperature for at least 24 hrs. At least one of the strains in the microbial inoculum may be a microalga, a yeast, a fungi or a bacteria. The propagated starter culture preferably comprises a mixture of at least two strains of microalgae, at least two strains of fungi, at least two strains of yeast, and at least two strains of bacteria. A product or supplement comprising the biomass, a propagated microbial culture and use of the culture in microbial fermentation, and a method of identifying microorganisms capable of efficiently producing biomass using dairy-derived whey are also claimed.

Treatment method of cattle wastewater by microalgae Coelastrella

NºPublicación:  KR20250174249A 12/12/2025
Solicitante: 
경북대학교산학협력단

Resumen de: KR20250174249A

본 발명은 미세조류 코엘라스트렐라 KNUA068(Coelastrella sp. KNUA068, KCTC15891BP)의 폐수에서의 배양가능성을 확인하였고, 폐수 영양소 제거 효과, 카로티노이드 함량 증대 효과, 바이오디젤 생산성에 대해 확인하여, 미세조류 코엘라스트렐라 KNUA068(KCTC15891BP)이 폐수 처리, 카로티노이드 및 바이오디젤 생산에 이용될 수 있음을 확인하였다.

GENETIC TRAITS FOR IMPROVED PHOTOSYNTHESIS AND FOOD PRODUCTION AND PATHOGEN RESISTANCE IN PLANTS

NºPublicación:  WO2025255275A2 11/12/2025
Solicitante: 
UNIV FLORIDA [US]\n
UNIVERSITY OF FLORIDA RESEARCH FOUNDATION, INCORPORATED
WO_2025255275_PA

Resumen de: WO2025255275A2

By engineering genetic traits associated with photosynthesis in plants, transgenic plants with increased crop yield can be generated, which will ultimately lead to increased food production in the field. To obtain beneficial genetic traits for enhanced photosynthesis, accelerated evolution is applied under salt stress in a cyanobacteria species, Synechococcus elongatus PCC 7942, by conditionally suppressing its mismatch repair system. Through high-throughput screening for biomass accumulation and sucrose production, it is discovered that specific amino acid changes in the pre-Dl protein of Photosystem II (PSII), encoded by the psbA genes, can improve efficiency of photosynthesis under salt stress, as well as pathogen resistance. Next, the same amino acid changes were made in Arabadopsis and proved that photosynthetic efficiency (measured via growth rate) is also increased in this model vascular plant.

CHLORELLA MICROALGAE

NºPublicación:  EP4658753A1 10/12/2025
Solicitante: 
ALGENUITY BV [NL]
Algenuity BV
WO_2024161108_PA

Resumen de: WO2024161108A1

Disclosed is a chlorophyll-deficient strain of Chlorella microalgae having a protein content of at least 50% w/w. Also disclosed is a method of producing a chlorophyll-deficient strain of Chlorella microalgae having a protein content of at least 50% w/w. Also disclosed is a composition comprising an algae biomass derived from the aforementioned chlorophyll-deficient strain of Chlorella microalgae or obtained by performing aforementioned method.

ALGAL BIOFILM HARVESTING METHOD CAPABLE OF REDUCING RELEASE OF PLANKTONIC MICROALGAE

Nº publicación: US2025368946A1 04/12/2025

Solicitante:

NANJING UNIV [CN]
Nanjing University

CN_118289943_PA

Resumen de: US2025368946A1

An algal biofilm harvesting method capable of reducing release of planktonic microalgae includes the following steps: S1: constructing an algal biofilm treatment system; S2: calculating a cutting area; S3: harvesting microalgae biomass; and S4: cyclic harvesting. By constructing an algal biofilm treatment system, a surface of an algal biofilm can be regularly cut to harvest microalgae biomass, thereby keeping activity of the biofilm in a best state all the time. In addition, the harvested microalgae biomass can be used as a high-quality substrate for subsequent fermentation, which can achieve resource saving. Quality attainment of effluent from a sewage tank with planktonic microalgae as a suspended solid indicator can be achieved, the treated effluent can be prevented from deteriorating due to an increase of the planktonic microalgae, and a risk that the planktonic microalgae in the effluent of the algal biofilm affects a subsequent treatment process is reduced.

traducir