Ministerio de Industria, Turismo y Comercio LogoMinisterior
 

Alerta

Resultados 139 resultados
LastUpdate Última actualización 12/10/2025 [06:55:00]
pdfxls
Solicitudes publicadas en los últimos 60 días / Applications published in the last 60 days
previousPage Resultados 125 a 139 de 139  

Apparatus, methods and computer programs for detecting critical events

NºPublicación:  GB2638147A 20/08/2025
Solicitante: 
NOKIA TECHNOLOGIES OY [FI]
Nokia Technologies Oy
GB_2638147_PA

Resumen de: GB2638147A

A system 100 comprises a number of devices 102 in communication with one another. The devices 102 are associated with a user 104 and may comprise a smartphone 102A, wearable devices such as a headset 102B or heart rate monitor 102C, and other local devices 102D,102E such as smart speakers including a microphone, cameras, motion sensors or other devices used for monitoring the area around the user 104. The wearable devices may comprise sensors for monitoring physiological parameters or an IMU for monitoring position or movement of the user 104. One or more of the devices 102 can be configured to detect a critical event. A critical event is an event considered to be dangerous or causes the user to require assistance such as cardiac events, a drop in blood sugar level, or a fall. If a critical event occurs, one or more of the devices 102 can raise an alarm or contact assistance. Before such takes place, the system confirms that a prospective critical event is an actual critical event by obtaining additional data from another device 102 in the system. This can help to avoid false alarms or other calls for assistance being raised unnecessarily.

ELECTRONIC APPARATUS AND CONTROLLING METHOD THEREOF

NºPublicación:  EP4604136A1 20/08/2025
Solicitante: 
I SENS INC [KR]
I-SENS, INC
EP_4604136_PA

Resumen de: EP4604136A1

A method performed by an electronic apparatus is disclosed. The method comprises receiving information about a user's glucose concentration from an analyte monitoring device attached to the user's body, receiving an alert condition set by a follower of the user at the follower's device, determining whether the alert condition is satisfied based on the information about the user's glucose concentration, and controlling the follower's device to output an alert when the alert condition is satisfied.

RETROSPECTIVE RETROFITTING METHOD TO GENERATE A CONTINUOUS GLUCOSE CONCENTRATION PROFILE

NºPublicación:  EP4603003A2 20/08/2025
Solicitante: 
DEXCOM INC [US]
DexCom, Inc
EP_4603003_A2

Resumen de: EP4603003A2

Continuous Glucose Monitoring (CGM) devices provide glucose concentration measurements in the subcutaneous tissue with limited accuracy and precision. Therefore, CGM readings cannot be incorporated in a straightforward manner in outcome metrics of clinical trials e.g. aimed to assess new glycaemic-regulation therapies. To define those outcome metrics, frequent Blood Glucose (BG) reference measurements are still needed, with consequent relevant difficulties in outpatient settings. Here we propose a "retrofitting" algorithm that produces a quasi continuous time BG profile by simultaneously exploiting the high accuracy of available BG references (possibly very sparsely collected) and the high temporal resolution of CGM data (usually noisy and affected by significant bias). The inputs of the algorithm are: a CGM time series; some reference BG measurements; a model of blood to interstitial glucose kinetics; and a model of the deterioration in time of sensor accuracy, together with (if available) a priori information (e.g. probabilistic distribution) on the parameters of the model. The algorithm first checks for the presence of possible artifacts or outliers on both CGM datastream and BG references, and then rescales the CGM time series by exploiting a retrospective calibration approach based on a regularized deconvolution method subject to the constraint of returning a profile laying within the confidence interval of the reference BG measurements. As output, the retrofitting algor

SYSTEM AND METHOD FOR ADJUSTING INSULIN DELIVERY

NºPublicación:  US2025256027A1 14/08/2025
Solicitante: 
INSULET CORP [US]
Insulet Corporation
US_2025256027_PA

Resumen de: US2025256027A1

The embodiments described herein may relate to methods and systems for adjusting insulin delivery. Some methods and systems may be configured to adjust insulin delivery to personalize automated insulin delivery for a person with diabetes. Such personalization may include receiving and/or determining one or more user specific dosage parameters.

METHOD FOR MANAGING MEDICAL DATA

NºPublicación:  US2025259720A1 14/08/2025
Solicitante: 
ROCHE DIABETES CARE INC [US]
Roche Diabetes Care, Inc
US_2025259720_PA

Resumen de: US2025259720A1

This disclosure relates to a method, a mobile device, and a computer program, for managing medical data such as, e.g., glucose concentrations, by an electronic disease management system. In the method a change of the local time between generation of a first set of medical data and a second set of medical data is detected.

INTRAVASCULAR ARTIFICIAL PANCREAS

NºPublicación:  AU2024219128A1 14/08/2025
Solicitante: 
IVIVA MEDICAL INC
IVIVA MEDICAL, INC
AU_2024219128_PA

Resumen de: AU2024219128A1

Disclosed herein are intravascular artificial pancreas devices and methods for their manufacture.

BLOCKAGE DETECTION DEVICE FOR DIABETIC INSULIN INJECTION PUMP

NºPublicación:  LU600247B1 14/08/2025
Solicitante: 
WUXI MATERNAL AND CHILD HEALTH HOSPITAL [CN]
WUXI MATERNAL AND CHILD HEALTH HOSPITAL
LU_600247_PA

Resumen de: LU600247B1

The invention belongs to the technical field of pressure monitoring, in particular to a blockage detection device for a diabetic insulin injection pump, which comprises a gun shell, wherein an injection refill is arranged in the barrel of the gun shell, a refill piston is arranged in the injection refill, an injection pipeline is arranged at one end of the injection refill near the muzzle of the gun shell, the injection pipeline extends out of the gun shell; one side of the refill piston near the injection pipeline is provided with a membrane pressure sensor, a driving mechanism for driving the refill piston to move is arranged inside the gun body of the gun shell; a handle of the gun shell is provided with a manual switch assembly, a controller, a blood sugar monitoring module and an alarm prompt system.

MACHINE-LEARNING-BASED MEAL DETECTION AND SIZE ESTIMATION USING CONTINUOUS GLUCOSE MONITORING (CGM) AND INSULIN DATA

NºPublicación:  US2025259727A1 14/08/2025
Solicitante: 
OREGON HEALTH & SCIENCE UNIV [US]
Oregon Health & Science University
US_2025259727_PA

Resumen de: US2025259727A1

Disclosed is a meal detection and meal size estimation machine learning technology. In some embodiments, the techniques entail applying to a trained multioutput neural network model a set of input features, the set of input features representing glucoregulatory management data, insulin on board, and time of day, the trained multioutput neural network model representing multiple fully connected layers and an output layer formed from first and second branches, the first branch providing a meal detection output and the second branch providing a carbohydrate estimation output; receiving from the meal detection output a meal detection indication; and receiving from the carbohydrate estimation output a meal size estimation.

ELECTRONIC APPARATUS AND CONTROLLING METHOD THEREOF

NºPublicación:  US2025255561A1 14/08/2025
Solicitante: 
I SENS INC [KR]
I-sens, Inc
US_2025255561_PA

Resumen de: US2025255561A1

A method performed by an electronic apparatus is disclosed. The method comprises receiving information about a user's glucose concentration from an analyte monitoring device attached to the user's body, receiving an alert condition set by a follower of the user at the follower's device, determining whether the alert condition is satisfied based on the information about the user's glucose concentration, and controlling the follower's device to output an alert when the alert condition is satisfied.

MINIMALLY INVASIVE GLUCOSE STATE SYSTEMS, DEVICES, AND METHODS

NºPublicación:  EP4598420A2 13/08/2025
Solicitante: 
SYNCHNEURO INC [US]
Synchneuro, Inc
WO_2024077303_PA

Resumen de: WO2024077303A2

Glucose systems that include a minimally invasive scalp-worn device that includes first and second sensors. The systems are adapted to determine one or more glucose states based on sensed EEG signals using the scalp-worn device.

CONTINUOUS ANALYTE MONITOR DATA RECORDING DEVICE OPERABLE IN A BLINDED MODE

NºPublicación:  EP4601218A2 13/08/2025
Solicitante: 
DEXCOM INC [US]
DexCom, Inc
EP_4601218_PA

Resumen de: EP4601218A2

A system is provided for monitoring analyte in a host, including a continuous analyte sensor that produces a data stream indicative of a host's analyte concentration and a device that receives and records data from the data stream from the continuous analyte sensor. In one embodiment, the device includes a single point analyte monitor, from which it obtains an analyte value, and is configured to display only single point analyte measurement values, and not any analyte measurement values associated with data received from the continuous analyte sensor. Instead, data received from the continuous analyte sensor is used to provide alarms to the user when the analyte concentration and/or the rate of change of analyte concentration, as measured by the continuous analyte sensor, is above or below a predetermined range. Data received from the continuous analyte sensor may also be used to prompt the diabetic or caregiver to take certain actions, such as to perform another single point blood glucose measurement. In another embodiment, the device provides for toggling between two modes, with one mode that allows for display of glucose concentration values associated with the continuous glucose sensor and a second mode that prevents the display of glucose concentration values associated with the continuous glucose sensor.

SYSTEM AND DEVICE OF DYNAMIC GLUCOSE PROFILE RESPONSE TO PHYSIOLOGICAL PARAMETERS

NºPublicación:  EP4601278A2 13/08/2025
Solicitante: 
ABBOTT DIABETES CARE INC [US]
Abbott Diabetes Care Inc
EP_4601278_PA

Resumen de: EP4601278A2

Method, device and system for providing consistent and reliable glucose response information to physiological changes and/or activities is provided to improve glycemic control and health management.

PUMP ENGINE WITH METERING SYSTEM FOR DISPENSING LIQUID MEDICATION

NºPublicación:  EP4599866A2 13/08/2025
Solicitante: 
BECTON DICKINSON CO [US]
Becton, Dickinson and Company
EP_4599866_PA

Resumen de: EP4599866A2

An infusion pump system is disclosed for dispensing liquid medication, such as insulin. The infusion pump system includes a first reservoir for storing liquid medication, a first fluid driver for exerting pressure on the first reservoir, a second reservoir for storing liquid medication, and a second fluid driver for exerting pressure on the second reservoir. One or more valves are used to permit flow of liquid medication from the first reservoir to the second reservoir, and to permit flow of liquid medication from the second reservoir to an infusion site. Each of the valves is selectively opened or closed to fill the second reservoir with liquid medication from the first reservoir and to dispense liquid medication from the second reservoir to the infusion site. A controller and one or more sensors are used to monitor and control the system.

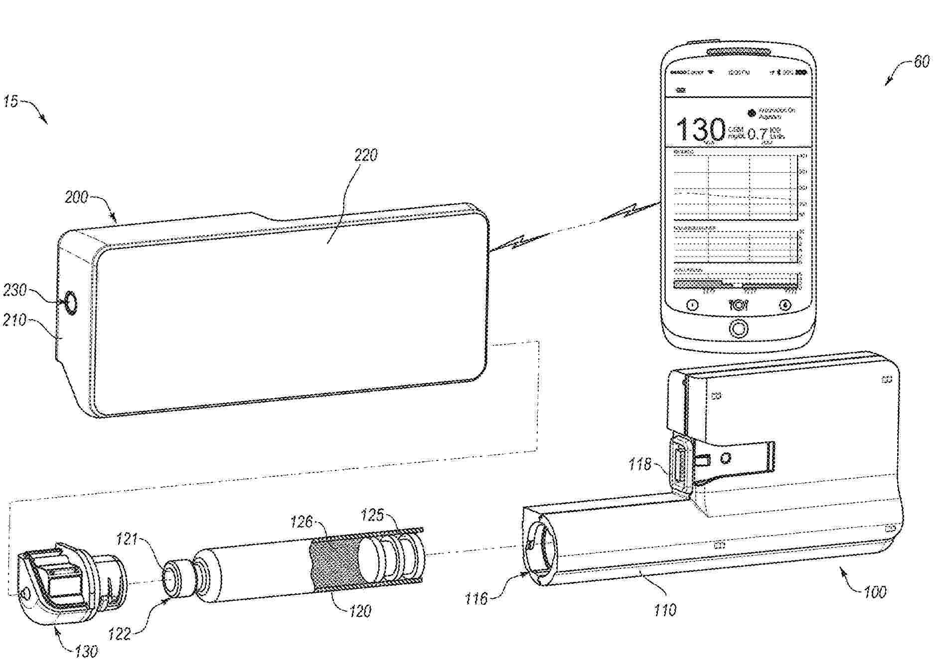
INFUSION DEVICES AND RELATED RESCUE DETECTION METHODS

Nº publicación: EP4599864A2 13/08/2025

Solicitante:

MEDTRONIC MINIMED INC [US]
Medtronic MiniMed, Inc

EP_4599864_A2

Resumen de: EP4599864A2

Infusion systems, infusion devices, and related operating methods are provided. An exemplary method of operating an infusion device (100, 500) to deliver fluid to a body of a user involves obtaining measurement values for a physiological condition influenced by the fluid, autonomously operating the infusion device to deliver the fluid based at least in part on the measurement values, and detecting a nonactionable condition based on the measurement values. In response to detecting the nonactionable condition, delivery of the fluid is limited while maintaining autonomous operation of the infusion device. In one exemplary embodiment, the nonactionable condition is a rescue condition indicative of the user having consumed fast-acting carbohydrates, and thus insulin delivery may be automatically limited in response to detecting the rescue carbohydrate consumption.

traducir