Ministerio de Industria, Turismo y Comercio LogoMinisterior
 

Alerta

Resultados 129 resultados
LastUpdate Última actualización 22/01/2026 [07:41:00]
pdfxls
Solicitudes publicadas en los últimos 60 días / Applications published in the last 60 days
Resultados 1 a 25 de 129 nextPage  

SENSOR APPLICATOR ASSEMBLY FOR CONTINUOUS GLUCOSE MONITORING SYSTEM

NºPublicación:  EP4681641A2 21/01/2026
Solicitante: 
I SENS INC [KR]
i-Sens, Inc
EP_4681641_PA

Resumen de: EP4681641A2

The present invention relates to a sensor applicator assembly for a continuous glucose monitoring system and provides a sensor applicator assembly for a continuous glucose monitoring system, which is manufactured with a sensor module assembled inside an applicator, thereby minimizing additional work by a user for attaching the sensor module to the body and allowing the sensor module to be attached to the body simply by operating the applicator, and thus can be used more conveniently. A battery is built in the sensor module and a separate transmitter is connected to the sensor module so as to receive power supply from the sensor module and be continuously used semi-permanently, thereby making the assembly economical. The sensor module and the applicator are used as disposables, thereby allowing accurate and safe use and convenient maintenance.

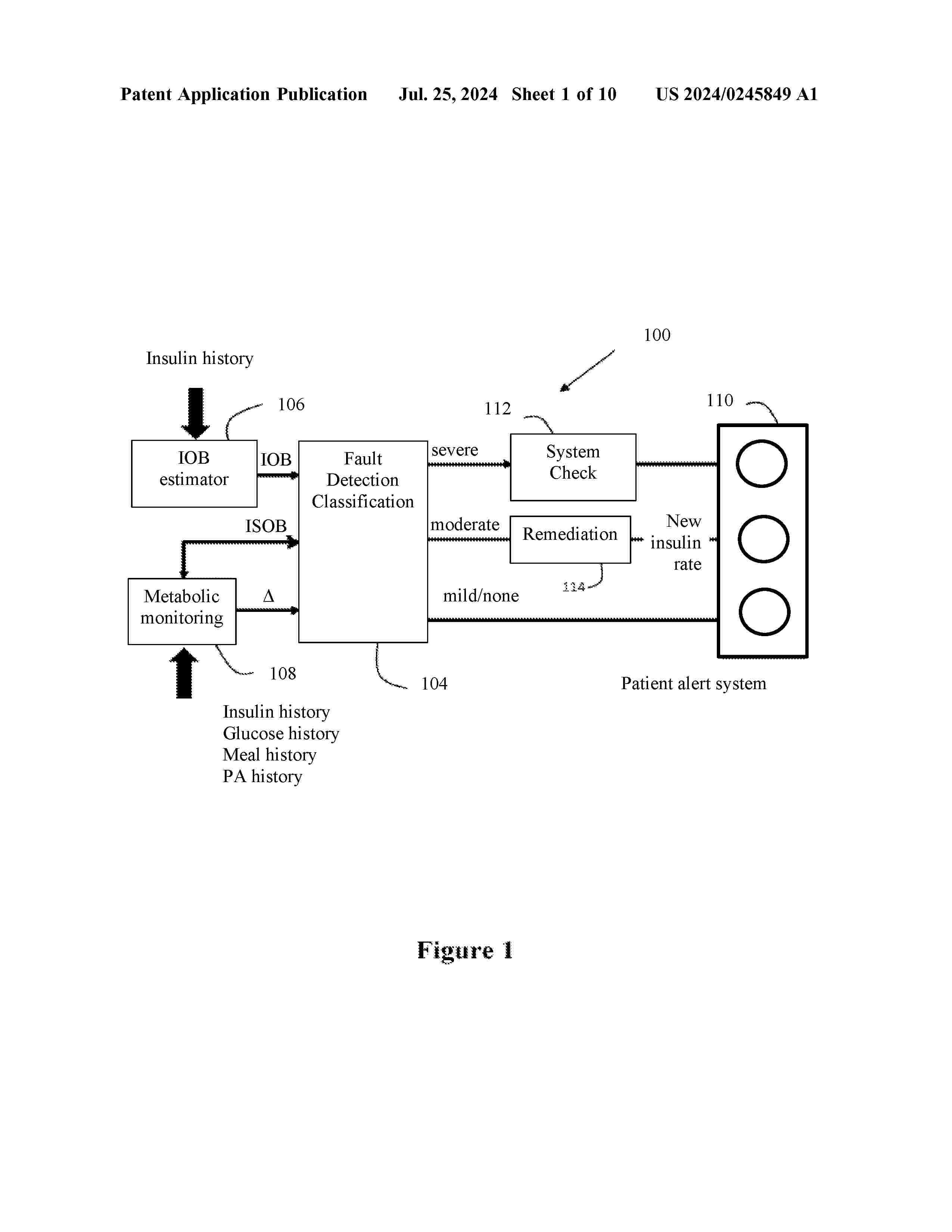
METHOD FOR MITIGATING HYPOGLYCEMIA REBOUND IN AN AUTOMATED INSULIN DELIVERY SYSTEM

NºPublicación:  EP4681215A1 21/01/2026
Solicitante: 
UNIV VIRGINIA [US]
University of Virginia
WO_2024192362_PA

Resumen de: WO2024192362A1

Embodiments relate to a control module for storing and accessing insulin delivery parameters to accurately set an insulin dosage amount. The control module can include a processor and a memory having instructions stored thereon that when executed by the processor will cause the processor to: receive glucose data including glucose concentration measurements spanning a time period; identify a minimum glucose concentration measurement (Gmin) within the time period; identify a current glucose concentration measurement (Gc); set an upper bound constraint based on the Gmin and the Gc; generate an adapted insulin dosage schedule by imposing a maximum insulin dosage on an insulin dosage schedule based on the upper bound constraint; and either: administer an insulin dosage in accordance with the adapted insulin dosage schedule; or control administration of insulin via an insulin dosage signal based on the adapted insulin dosage schedule.

BIOBATTERY, ELECTRONIC DEVICE, AND STENT FOR INTRABODY IMPLANTATION

NºPublicación:  WO2026014486A1 15/01/2026
Solicitante: 
GEL COAT BIOMATERIALS INC [JP]
\u682A\u5F0F\u4F1A\u793E\uFF27\uFF45\uFF4C\u3000\uFF23\uFF4F\uFF41\uFF54\u3000\uFF22\uFF49\uFF4F\uFF4D\uFF41\uFF54\uFF45\uFF52\uFF49\uFF41\uFF4C\uFF53
WO_2026014486_PA

Resumen de: WO2026014486A1

The present disclosure pertains to a battery and a stent comprising an electronic device. The present disclosure also pertains to a stent capable of generating a current in response to glucose. The present disclosure can provide a stent which has a hydrogel and a negative electrode, and in which the hydrogel is bonded to the surface of the stent and carries a sugar-oxidizing enzyme, the hydrogel and the negative electrode are linked together so as to be capable of receiving electrons generated by the enzyme in the hydrogel, and electrons are supplied from the negative electrode when glucose makes contact with the sugar-oxidizing enzyme.

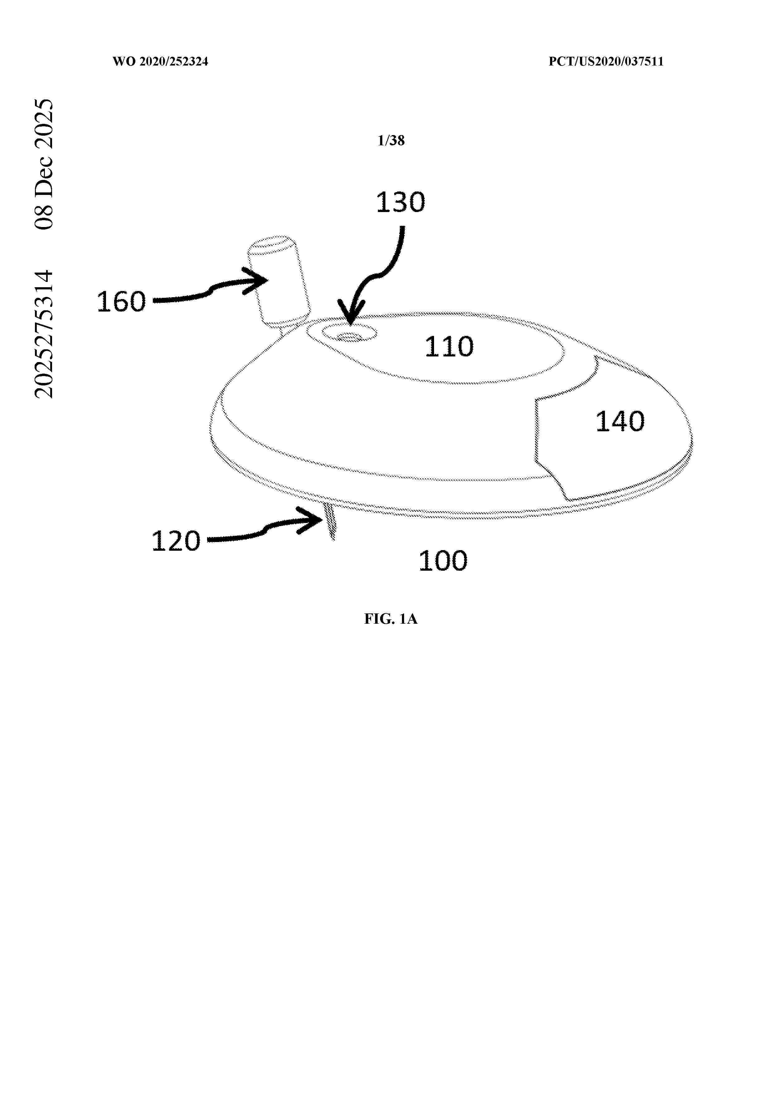
INFUSION DEVICE FOR CONTINUOUS GLUCOSE MONITORING

NºPublicación:  AU2025275314A1 15/01/2026
Solicitante: 
PACIFIC DIABETES TECH INC
Pacific Diabetes Technologies Inc
AU_2025275314_A1

Resumen de: AU2025275314A1

Abstract The present disclosure provides systems and devices for combining analyte monitoring with fluid delivery, including devices that are adapted for use with combined sensors and cannulas having sensors and cannulas on a single component. These systems and devices may be used in various applications with simultaneous in vivo monitoring of analyte concentrations and delivery of medications. The systems and devices use a combined sensor and cannula attached to a body that provides electrical coupling of the sensor to a signal processing device and fluidic coupling of the cannula to a medication delivery source, in order to combine subcutaneous liquid medication delivery and amperometric analyte sensing without a need for multiple skin piercing elements.

SYSTEM AND DEVICE OF DYNAMIC GLUCOSE PROFILE RESPONSE TO PHYSIOLOGICAL PARAMETERS

NºPublicación:  ES3052889T3 15/01/2026
Solicitante: 
ABBOTT DIABETES CARE INC
Abbott Diabetes Care Inc
AU_2025259998_A1

Resumen de: AU2025259998A1

Method, device and system for providing consistent and reliable glucose response information to physiological changes and/or activities is provided to improve glycemic control and health management. Method, device and system for providing consistent and reliable glucose response information to physiological changes and/or activities is provided to improve glycemic control and health management. ov o v

DETECTION OF ANOMALOUS COMPUTING ENVIRONMENT BEHAVIOR USING GLUCOSE

NºPublicación:  US20260018305A1 15/01/2026
Solicitante: 
DEXCOM INC [US]
Dexcom, Inc
US_20260018305_PA

Resumen de: US20260018305A1

Detection of anomalous computing environment behavior using glucose is described. An anomaly detection system receives glucose measurements and event records during a first time period. Missing events that are missing from the event records during the first time period are identified by processing the glucose measurements using an event engine simulator. An anomaly detection model is generated based on the missing events during the first time period. Subsequently, the anomaly detection system receives additional glucose measurements and additional event records during a second time period. Missing events that are missing from the additional event records during the second time period are identified by processing the additional glucose measurements using the event engine simulator. Anomalous behavior is detected if the identified missing events that are missing from the event records during the second time period are outside a predicted range of missing events of the anomaly detection model.

AI-BASED METHODS AND SYSTEMS FOR PREDICTING DIABETES RISK AND RELATED METABOLIC PARAMETERS

NºPublicación:  US20260018302A1 15/01/2026
Solicitante: 
GUPTA SAROJ [US]
GUPTA ABHIMANYU [US]
MYDIGIRECORDS INC [US]
GUPTA Saroj,
GUPTA Abhimanyu,
MyDigiRecords, Inc
US_20260018302_PA

Resumen de: US20260018302A1

Present disclosure describes techniques for predicting diabetes risk in patients. The techniques include the step of monitoring a plurality of patient-specific characteristics comprising, at least one physiological parameter, one behavioral indicator, and one visual representation of the patient. The method further comprises extracting, using a first artificial intelligence (AI) model, a stress level of the patient based at least on behavioral indicators, historical lifestyle data, and sensor-derived physiological parameters. The method then include extracting, using a second AI model, a body mass index (BMI) or fat distribution patterns based at least on silhouette images and weight of the patient. The method finally includes predicting, using a third AI model, a blood sugar level or diabetes risk score of the patient based on outputs from the first and second AI models and the monitored characteristics.

PREDICTIVE LONG HYPERGLYCEMIA ALERTS

NºPublicación:  AU2024306140A1 15/01/2026
Solicitante: 
ABBOTT DIABETES CARE INC
ABBOTT DIABETES CARE INC
AU_2024306140_PA

Resumen de: AU2024306140A1

Improved alarms for analyte monitoring systems are provided. For example, disclosed herein are various embodiments of methods, systems, and interfaces for long hyperglycemic alerts or pre-alerts. In addition, various embodiments of methods, systems, and interfaces for modified high glucose alerts, which predict if the high glucose episode is associated with a recently administered medication dose are described. Also, systems that include both high glucose alerts and long hyperglycemic alert options are described, in addition to enabling and disabling or suppressing certain alerts under various conditions.

COMPUTER-IMPLEMENTED METHODS FOR PREDICTING GLUCOSE VALUES, DATA PROCESSING SYSTEM, MEDICAL SERVER, AND USER DEVICE

NºPublicación:  US20260013801A1 15/01/2026
Solicitante: 
ROCHE DIABETES CARE INC [US]
INT BUSINESS MACHINES CORPORATION [US]
Roche Diabetes Care, Inc,
International Business Machines Corporation
US_20260013801_PA

Resumen de: US20260013801A1

Methods for predicting glucose values which involve determining a predicction time window using historical data indicative of glucose level influencing events of a person having diabetes and at least one predicted glucose level influencing event. Further disclosed are data processing systems for predicting glucose values, medical servers, user devices, and computer programs.

MULTI-PARAMETER DIABETIC FOOT MONITORING SYSTEM WITH INTEGRATED COMMUNICATION PROTOCOLS

NºPublicación:  US20260013793A1 15/01/2026
Solicitante: 
ALABI OLUTOSIN [US]
Alabi Olutosin
US_20260013793_PA

Resumen de: US20260013793A1

A multi-modal sensor system for monitoring a user includes a smart sock and smart insole configured to be worn on a foot of the use. The sock and insole each have a multi-modal sensor array integrated within their respective structures. For example, the sensor array may include a temperature sensor, a pressure sensor, a moisture sensor, and an optical sensor to measure multiple physiological parameters on the foot of the user. Processing electronics provide for early detection of inflammation, pressure ulceration risk, and circulation changes through coordinated wireless communication between the sock and insole for comprehensive diabetic foot health monitoring during continuous daily wear applications.

MEAL RESPONSE PREDICTION

NºPublicación:  US20260014318A1 15/01/2026
Solicitante: 
MEDTRONIC MINIMED INC [US]
MEDTRONIC MINIMED, INC
US_20260014318_PA

Resumen de: US20260014318A1

A processor-implemented method comprises obtaining measured glucose values of a person, fitting a physiological model to a portion of the measured glucose values within a time window after a start of a meal to determine meal-specific values of parameters of the physiological model that characterizes the person's glycemic response to the meal, and predicting a future blood glucose level of the person at a first time after the time window using the physiological model and the meal-specific values of the parameters of the physiological model. In one example, an alert or a notification can be sent to a user or an electronic device based on the predicted future blood glucose level of the person.

Computer implemented Methods for Predicting Glucose Values, Data Processing, and App

NºPublicación:  US20260013800A1 15/01/2026
Solicitante: 
ROCHE DIABETES CARE INC [US]
INT BUSINESS MACHINES CORPORATION [US]
Roche Diabetes Care, Inc,
International Business Machines Corporation
US_20260013800_PA

Resumen de: US20260013800A1

A computer-implemented method and system for predicting and displaying glucose values, including receiving CGM data, determining, based on the data, a plurality of first predicted glucose values (33) for a first prediction time window (30), determining, based on the data, that a hypoglycemia event is predicted to occur during a second prediction time window (31) which has a contemporaneous beginning with the first prediction time window (30) but is shorter than the first window (30), and determining a plurality of second predicted glucose values (34) for the second prediction time window (31) and displaying the plurality of second predicted glucose values (34) for the second prediction time window (31) while not displaying predicted glucose values subsequent to the second prediction time window (31).

APPLICATION OF ELECTROCHEMICAL IMPEDANCE SPECTROSCOPY IN SENSOR SYSTEMS, DEVICES, AND RELATED METHODS

NºPublicación:  US20260013759A1 15/01/2026
Solicitante: 
MEDTRONIC MINIMED INC [US]
Medtronic MiniMed, Inc
US_20260013759_PA

Resumen de: US20260013759A1

A diagnostic Electrochemical Impedance Spectroscopy (EIS) procedure is applied to measure values of impedance-related parameters for one or more sensing electrodes. The parameters may include real impedance, imaginary impedance, impedance magnitude, and/or phase angle. The measured values of the impedance-related parameters are then used in performing sensor diagnostics, calculating a highly-reliable fused sensor glucose value based on signals from a plurality of redundant sensing electrodes, calibrating sensors, detecting interferents within close proximity of one or more sensing electrodes, and testing surface area characteristics of electroplated electrodes. Advantageously, impedance-related parameters can be defined that are substantially glucose-independent over specific ranges of frequencies. An Application Specific Integrated Circuit (ASIC) enables implementation of the EIS-based diagnostics, fusion algorithms, and other processes based on measurement of EIS-based parameters.

ACTIVATABLE FLUORESCENT PROBES FOR OPTICAL URINALYSIS OF KIDNEY DISEASE

NºPublicación:  WO2026015078A1 15/01/2026
Solicitante: 
NANYANG TECHNOLOGICAL UNIV [SG]
NANYANG TECHNOLOGICAL UNIVERSITY
WO_2026015078_PA

Resumen de: WO2026015078A1

The current invention relates to compounds suitable for detecting the presence of N-Acetyl-β- D-glucosaminidase (NAG). The current invention further relates to methods of detecting the NAG in a sample obtained from a subject suspected of having increased levels of NAG comprising a step of providing a formulation comprising the compounds.

METHOD OF DISPLAYING COMMUNICATION STATUS IN GLUCOSE MONITORING SYSTEM

NºPublicación:  AU2025203869A1 15/01/2026
Solicitante: 
I SENS INC
i-SENS, INC
AU_2025203869_A1

Resumen de: AU2025203869A1

One embodiment may provide a method of displaying a communication status in a glucose monitoring system, the method including displaying a communication status of a communication module in a terminal configured to transmit and receive data with a sensor transmitter, when the communication module is turned off, delaying a display of a communication module turn-off for one period of time by the terminal, and if the turn-off of the communication module persists for the one period of time, displaying the communication module turn-off. One embodiment may provide a method of displaying a communication status in a glucose monitoring system, the method including displaying a communication status of a communication module in a terminal configured to transmit and receive data with a sensor transmitter, when the communication module is turned off, delaying a display of a communication module turn-off for one period of time by the terminal, and if the turn-off of the communication module persists for the one period of time, displaying the communication module turn-off. ay a y m o d u l e t u r n - o f f Start Display communication status S1201 Detect turn-off of communication module S1203 Delay display of communication module turn-off for one period of time S1205 If communication module turn-off persists for one period of time, S1207 modify display of communication status Display communication module turn-off S1209 End ay a y

BLOOD GLUCOSE MANAGEMENT SYSTEM USING NON-INVASIVE BLOOD GLUCOSE MEASUREMENT

NºPublicación:  WO2026014636A1 15/01/2026
Solicitante: 
KIM YOUNG JOON [KR]
\uAE40\uC601\uC900
WO_2026014636_PA

Resumen de: WO2026014636A1

Disclosed is a blood glucose management system using non-invasive blood glucose measurement. A blood glucose management system using non-invasive blood glucose measurement according to an embodiment of the present invention comprises: a non-invasive blood glucose diagnosis device which detects an electrical signal by means of contact with a finger of a user and calculates a blood glucose value by applying a preset blood glucose calculation process to the detected electrical signal; and a user terminal device which receives the calculated blood glucose value from the non-invasive blood glucose diagnosis device and generates customized blood glucose information for the user on the basis of the blood glucose value. The customized blood glucose information includes blood glucose management information, diet therapy information, and exercise therapy information corresponding to a preset management period.

BLOOD GLUCOSE LEVEL MEASUREMENT DEVICE AND BLOOD GLUCOSE LEVEL MEASUREMENT METHOD

NºPublicación:  WO2026014036A1 15/01/2026
Solicitante: 
HAMAMATSU PHOTONICS K K [JP]
\u6D5C\u677E\u30DB\u30C8\u30CB\u30AF\u30B9\u682A\u5F0F\u4F1A\u793E
WO_2026014036_PA

Resumen de: WO2026014036A1

This blood glucose level measurement device comprises: an acquisition unit that outputs light to a living body and detects the light transmitted through the living body, thereby acquiring waveform calculation data for calculating an oxygenated hemoglobin waveform and a deoxygenated hemoglobin waveform; a phase difference calculation unit that calculates a temporal phase difference between the oxygenated hemoglobin waveform and the deoxygenated hemoglobin waveform; and a blood glucose level calculation unit that calculates the blood glucose level of the living body on the basis of the temporal phase difference. The acquisition unit is configured to be capable of executing first sampling for acquiring the waveform calculation data at a first sampling rate and second sampling for acquiring the waveform calculation data at a second sampling rate higher than the first sampling rate.

BLOOD GLUCOSE LEVEL MEASUREMENT DEVICE AND BLOOD GLUCOSE LEVEL MEASUREMENT METHOD

NºPublicación:  WO2026014044A1 15/01/2026
Solicitante: 
HAMAMATSU PHOTONICS K K [JP]
\u6D5C\u677E\u30DB\u30C8\u30CB\u30AF\u30B9\u682A\u5F0F\u4F1A\u793E
WO_2026014044_PA

Resumen de: WO2026014044A1

This blood glucose level measurement device comprises: a blood glucose level estimation unit that outputs light to a living body, detects light transmitted through the living body, calculates, on the basis of the result of the detection, a temporal phase difference between an oxygenated hemoglobin waveform relating to the oxygenated hemoglobin concentration of the blood in the living body and a deoxygenated hemoglobin waveform relating to the deoxygenated hemoglobin concentration of the blood in the living body, and calculates the blood glucose level of the living body on the basis of the calculated temporal phase difference; and a body movement detection unit that detects a parameter relating to body movement of the living body. In cases where the parameter detected by the body movement detection unit or the variation in the parameter is equal to or below a threshold value, the blood glucose level estimation unit stores the calculated blood glucose level in a storage unit.

BLOOD GLUCOSE LEVEL MEASUREMENT DEVICE AND BLOOD GLUCOSE LEVEL MEASUREMENT METHOD

NºPublicación:  WO2026014041A1 15/01/2026
Solicitante: 
HAMAMATSU PHOTONICS K K [JP]
\u6D5C\u677E\u30DB\u30C8\u30CB\u30AF\u30B9\u682A\u5F0F\u4F1A\u793E
WO_2026014041_PA

Resumen de: WO2026014041A1

This blood glucose level measurement device comprises: a light output unit; a light detection unit that detects light output by the light output unit and transmitted through a living body; a temporal phase difference calculation unit that calculates the temporal phase difference between an oxygenated hemoglobin waveform and a deoxygenated hemoglobin waveform on the basis of the detection result from the light detection unit; a blood glucose level calculation unit that calculates the blood glucose level of the living body on the basis of the temporal phase difference calculated by the temporal phase difference calculation unit; and a blood glucose level calibration unit that calibrates the blood glucose level calculated by the blood glucose level calculation unit. The blood glucose level calibration unit carries out the calibration such that the blood glucose level calculated by the blood glucose level calculation unit during sleep of the living body or during a prescribed period or time after waking up from the sleep corresponds to a preset reference blood glucose level.

A raman probe and apparatus and method for non-invasive in vivo measurement of analyte presence or concentration

NºPublicación:  GB2700315A 14/01/2026
Solicitante: 
RSP SYSTEMS AS [DK]
RSP Systems A/S
US_2024003741_PA

Resumen de: GB2700315A

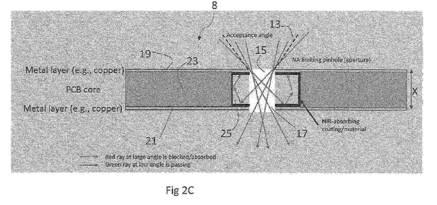
A non-invasive in vivo measurement by Raman spectroscopy of an analyte (e.g. glucose) present in the skin of a subject (e.g. in the interstitial fluid). A controllable vertical-cavity surface-emitting laser (VCSEL) source 32, spatially separated from a detector 30, irradiates the skin 33 of the subject. The VSCELs selectively change the wavelength of light in using SWEPT methodologies. A bandpass filter receives Raman scattered radiation transmitted from the sample and a processor generates a Raman spectrum from the received Raman scattered radiation. The VCSELs may be distributed around the detector. The light sources 151 may be included in a generally planar probe (e.g. provided on a PCB) integrated with a spectrometer for miniaturisation. The probe may include a slit plate 146 having a slit 148 around which the light sources are arranged. The arrangement may provide spatially offset Raman spectroscopy (SORS). Figs 3&19A

CONTINUOUS BLOOD SUGAR MEASURING SENSOR MEMBER

NºPublicación:  EP4678094A2 14/01/2026
Solicitante: 
I SENS INC [KR]
I-SENS, INC
EP_4678094_A2

Resumen de: EP4678094A2

The present disclosure relates to a continuous blood sugar measuring sensor member, wherein: since an electrode layer formed on one surface of a substrate is connected to a sensor contact point part on the other surface of the substrate through a via hole and thus two electrode layers may be formed on different opposite surfaces without having to be formed on the same surface of the substrate, the width of the substrate may be further reduced and an overall minimized and simplified structure may be ensured; since an electrode connection layer formed at the via hole is not formed in a shape of filling the via hole but is formed only on the inner circumferential surface, a filling defect occurring in a process of filling the via hole and a fault in electrical connection according thereto may be prevented and thus a more stable structure may be ensured; and since a plurality of via holes are formed, despite damage to or the occurrence of a defect in an electrode connection layer formed at one of the via holes, electrical connection is maintained by electrode connection layers formed at the remaining via holes, and thus more stable performance may be maintained.

METHODS TO RAPIDLY ASSESS CHANGES IN MEDICAMENT NEEDS FOR ACCELERATED SHORT-TERM ADAPTIVITY OF AUTOMATED MEDICAMENT DELIVERY SYSTEMS

NºPublicación:  EP4679441A1 14/01/2026
Solicitante: 
INSULET CORP [US]
Insulet Corporation
EP_4679441_PA

Resumen de: EP4679441A1

Exemplary embodiments relate to automated medicament delivery (AMD) devices. Exemplary methods and apparatuses allow the AMD to account for the eventual impact of remaining medicament-on-board (MOB) on reduction in glucose concentrations, and do not incorporate the impact of meals on increases in glucose concentrations. This allows the AMD system to estimate the user's final glucose concentration if the impact of both carbohydrate ingestion and existing MOB are fully realized. Consequently, an AMD system can personalize its behaviors to a particular user more rapidly than if the system were to rely simply on previous medicament delivery and glucose histories. This is especially useful when a user begins using an AMD system with an inaccurate or poorly estimated initial value for total daily medicament (TDM) delivery.

RESIDUAL CARB ESTIMATION FOR BOLUS CALCULATION

NºPublicación:  EP4679439A1 14/01/2026
Solicitante: 
MEDTRONIC MINIMED INC [US]
Medtronic MiniMed, Inc
EP_4679439_PA

Resumen de: EP4679439A1

A processor-implemented method comprises obtaining measured glucose values of a person, fitting a physiological model to a portion of the measured glucose values within a time window after a start of a meal to determine meal-specific values of parameters of the physiological model that characterizes the person's glycemic response to the meal, estimating an amount of residual glucose or residual carbohydrate of the meal that would not be counteracted by insulin already delivered to the person using the physiological model and the meal-specific values of the parameters of the physiological model, and determining a dose of a correction bolus to be delivered to the person based on the amount of residual glucose or residual carbohydrate of the meal.

MEAL RESPONSE PREDICTION

NºPublicación:  EP4679440A1 14/01/2026
Solicitante: 
MEDTRONIC MINIMED INC [US]
Medtronic MiniMed, Inc
EP_4679440_PA

Resumen de: EP4679440A1

A processor-implemented method comprises obtaining measured glucose values of a person, fitting a physiological model to a portion of the measured glucose values within a time window after a start of a meal to determine meal-specific values of parameters of the physiological model that characterizes the person's glycemic response to the meal, and predicting a future blood glucose level of the person at a first time after the time window using the physiological model and the meal-specific values of the parameters of the physiological model. In one example, an alert or a notification can be sent to a user or an electronic device based on the predicted future blood glucose level of the person.

CONTINUOUS ANALYTE MONITORING SYSTEM WITH MICRONEEDLE ARRAY

Nº publicación: AU2025271165A1 08/01/2026

Solicitante:

BIOLINQ INCORPORATED
Biolinq Incorporated

AU_2025271165_A1

Resumen de: AU2025271165A1

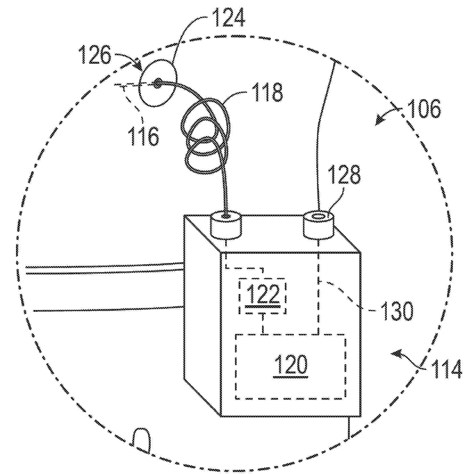
Abstract Described herein are variations of an analyte monitoring system, including an analyte monitoring device. For example, an analyte monitoring device may include an implantable microneedle array for use in measuring one or more analytes (e.g., glucose), such as in a continuous manner. The microneedle array may include, for example, at least one microneedle including a tapered distal portion having an insulated distal apex, and an electrode on a surface of the tapered distal portion located proximal to the insulated distal apex. At least some of the microneedles may be electrically isolated such that one or more electrodes is individually addressable. WO 2022/026764 PCT/US2021/043786 160 110 FIG. 1 Additional 128Sensor(s) Sensor Microneedle\ Controller(s) Comm. Array Circuitry Module(s) 140 124 126 a Power Circuitry Source(s) ov o v e n s o r i c r o n e e d l e \ o m m o w e r

traducir