Ministerio de Industria, Turismo y Comercio LogoMinisterior
 

Alerta

Resultados 139 resultados
LastUpdate Última actualización 25/11/2025 [07:24:00]
pdfxls
Solicitudes publicadas en los últimos 60 días / Last 60 days publications
previousPage Resultados 75 a 100 de 139 nextPage  

PHENOCOPYING ALZHEIMER'S DISEASE IN AGING T-CELLS TO IMPROVE ANTI-TUMOR IMMUNITY

NºPublicación:  WO2025221827A1 23/10/2025
Solicitante: 
MUSC FOUDATION FOR RES DEVELOPMENT [US]
MUSC FOUDATION FOR RESEARCH DEVELOPMENT
WO_2025221827_PA

Resumen de: WO2025221827A1

The present invention relates to inhibiting aging-stress mediated and ceramide-dependent hyperactivated mitophagy in aging T-cells to improve anti-tumor immunity and attenuate tumor growth.

PM20D1-DERIVED N-OLEOYL-L-LEUCINE FOR THE TREATMENT AND PREVENTION OF NEURODEGENERATIVE DISEASES

NºPublicación:  EP4635490A1 22/10/2025
Solicitante: 
CONSEJO SUPERIOR INVESTIGACION [ES]
Consejo Superior De Investigaciones Cient\u00EDficas
EP_4635490_A1

Resumen de: EP4635490A1

The invention relates to PM20D1-derived N-oleoyl-L-Leucine (C18:1-Leu) for the treatment and/or prevention of neurodegenerative diseases, particularly for the treatment and/or prevention of Parkinson disease, multiple sclerosis disease, amyotrophic lateral sclerosis disease and Alzheimer's disease.

Carbidopa and L-dopa prodrugs and their use to treat Parkinson's disease

NºPublicación:  AU2025238004A1 16/10/2025
Solicitante: 
ABBVIE INC
AbbVie Inc
AU_2025238004_A1

Resumen de: AU2025238004A1

CARBIDOPA AND L-DOPA PRODRUGS AND THEIR USE TO TREAT PARKINSON'S DISEASE Abstract The present disclosure relates to (a) carbidopa prodrugs, (b) pharmaceutical combinations and compositions comprising a carbidopa prodrug and/or an L-dopa prodrug, and (c) methods of treating Parkinson's disease and associated conditions comprising administering a carbidopa prodrug and an L-dopa prodrug to a subject with Parkinson's disease. CARBIDOPA AND L-DOPA PRODRUGS AND THEIR USE TO TREAT PARKINSON'S DISEASE Abstract The present disclosure relates to (a) carbidopa prodrugs, (b) pharmaceutical combinations and compositions comprising a carbidopa prodrug and/or an L-dopa prodrug, and (c) methods of treating Parkinson's disease and associated conditions comprising administering a carbidopa prodrug and an L-dopa prodrug to a subject with Parkinson's disease. ep - ' e p b s t r a c t h e p r e s e n t d i s c l o s u r e r e l a t e s t o ( a ) c a r b i d o p a p r o d r u g s , ( b ) p h a r m a c e u t i c a l c o m b i n a t i o n s a n d c o m p o s i t i o n s c o m p r i s i n g a c a r b i d o p a p r o d r u g a n d o r a n - d o p a p r o d r u g , a n d ( c ) m e t h o d s o f t r e a t i n g a r k i n s o n ' s d i s e a s e a n d a s s o c i a t e d c o n d i t i o n s c o m p r i s i n g a d m i n i s t e r i n g a c a r b i d o p a p r o d r u g a n d a n - d o p a p r o d r u g t o a s u b j e c t w i t h a r k i n s o n ' s d i s e a s e

MITOCHONDRIA-DERIVED MIRNA AND USE THEREOF IN SENESCENCE-RELATED DISEASE

NºPublicación:  WO2025213608A1 16/10/2025
Solicitante: 
SHANGHAI CHILDRENS HOSPITAL [CN]
\u4E0A\u6D77\u5E02\u513F\u7AE5\u533B\u9662
WO_2025213608_A1

Resumen de: WO2025213608A1

The present invention provides an miR 1978 inhibitor and use thereof in treating a senescence-related disease. The etiology of senescence-related diseases is proposed, and the overexpression of miR 1978 derived from the mitochondrial genome in cell line SHSY5Y is proven to give rise to decreased mRNA expression and protein levels of DHFR, KIF5C, and MSH3; as a result, SHSY5Y cell division is arrested in the G1 phase of the cell cycle, the number of cells in the G2/M phase is significantly reduced, and meanwhile, the number of apoptotic cells is increased. Compared with a control, cells containing miR1978 have different nuclear DNA methylation states. A plurality of Alzheimer's disease-related proteins, such as APP, Tau, p-Tau, and APOE, or Parkinson's disease-related proteins, such as α-synuclein, are increased in the SHSY5Y cell line containing miR 1978, etc.

PHARMACEUTICAL CRYSTAL HAVING LOW WATER SOLUBILITY, PREPARATION METHOD THEREFOR, AND USE THEREOF

NºPublicación:  WO2025213771A1 16/10/2025
Solicitante: 
GUANGZHOU DIQI PHARMACEUTICALS CO LTD [CN]
\u5E7F\u5DDE\u5E1D\u5947\u533B\u836F\u6280\u672F\u6709\u9650\u516C\u53F8
WO_2025213771_PA

Resumen de: WO2025213771A1

A pharmaceutical crystal having low water solubility, a preparation method therefor, and the use thereof. A crystal form I of pamoate of a compound Z has characteristic diffraction peaks at the diffraction angles 2θ of 9.9±0.2°, 10.7±0.2°, 12.1±0.2°, 14.9±0.2°, 17.3±0.2°, 19.4±0.2°, 20.7±0.2° and 23.1±0.2°. Compared with amorphous pamoate of the compound Z, said crystal has good stability, is free of polymorphic transformation, does not involve obvious increases of related substances, and has a low solubility. A production process therefor is simple and only uses water as a solvent in the whole process without the need of using an organic solvent. Using the crystal form I of pamoate of the compound Z for preparing a long-acting sustained-releasing pharmaceutical composition for Parkinson's disease can achieve a high drug encapsulation ratio and low burst release, and enables drug release of the composition in vivo to last for over two weeks, so that the frequency of drug administration to patients can be reduced, and the medication compliance is improved.

USE OF POSTBIOTICS FOR TREATING OR PREVENTING DISRUPTIONS OF THE GUT-BRAIN AXIS

NºPublicación:  WO2025217259A1 16/10/2025
Solicitante: 
POSTBIOTICS PLUS RES LLC [US]
POSTBIOTICS PLUS RESEARCH LLC
WO_2025217259_PA

Resumen de: WO2025217259A1

Provided herein are postbiotic compositions prepared using fermentation and herbal substrate compositions for the treatment or prevention of the disruption of the gut-brain axis. Such postbiotic compositions can be used to treat or prevent neurological diseases or disorders, such as synucleinopathies, including but not limited to Parkinson's disease.

COMPOSITIONS AND METHODS FOR THE TREATMENT OF HUNTINGTON’S DISEASE AND HTT PROTEINOPATHIES

NºPublicación:  US2025319073A1 16/10/2025
Solicitante: 
STEALTH BIOTHERAPEUTICS INC [US]
Stealth BioTherapeutics Inc
CN_119497612_A

Resumen de: US2025319073A1

The present disclosure provides compounds, compositions, and/or methods for treating, preventing, inhibiting, amelio-rating, or delaying the onset of Huntington's disease and/or a HTT proteinopathy in a subject. The methods can comprise administering to the subject an effective amount of a peptidomimetic compound, such as (R)-2-amino-N—((S)-1-(((S)-5-amino-1-(3-benzyl-1,2,4-oxadiazol-5-yl)pentyl)amino)-3-(4-hydroxy-2,6-dimethylphenyl)-1-oxopropan-2-yl)-5- guanidinopentanamide, or a pharmaceutically acceptable salt, stereoisomer, tautomer, hydrate, and/or solvate thereof, alone or in combination with one or more other therapeutic agents.

NEUROACTIVE STEROID FOR THE TREATMENT OF ALZHEIMER'S DISEASE

NºPublicación:  US2025319105A1 16/10/2025
Solicitante: 
SAGE THERAPEUTICS INC [US]
SAGE THERAPEUTICS, INC
MX_2023014719_A

Resumen de: US2025319105A1

The present disclosure relates to compositions, kits and methods of treating Alzheimer's disease comprising administering an NMD A receptor positive allosteric modulator or a CYP46A1 inhibitor.

ANTIBODIES TO PYROGLUTAMATE AMYLOID-B AND USES THEREOF

NºPublicación:  US2025320286A1 16/10/2025
Solicitante: 
JANSSEN PHARMACEUTICA NV [BE]
Janssen Pharmaceutica NV
CN_120468431_A

Resumen de: US2025320286A1

The invention provides antibodies or antigen binding fragments thereof that bind to 3pE Aβ and methods of making and using the antibodies or antigen binding fragments thereof, including use for formulations, administration and kits. The antibody and antigen binding fragments thereof and methods disclosed are useful for diagnosis, prognosis and treatment of Alzheimer's disease or other β-amyloid-related diseases.

Nitrogen-Containing Heterocyclic Compounds

NºPublicación:  US2025320213A1 16/10/2025
Solicitante: 
PFIZER INC [US]
Pfizer Inc

Resumen de: US2025320213A1

The disclosure relates to compounds of the disclosure and pharmaceutically acceptable salts thereof to their use in medicine; to compositions containing them; to processes for their preparation; and to intermediates used in such processes. The compounds of the disclosure may be useful in the treatment, prevention, suppression and amelioration of disease(s) such as atopic dermatitis, eosinophilic gastritis, atopic keratoconjunctivitis, allergy, alopecia, Alzheimer's disease, asthma, atherosclerosis, Bechet's disease, bullous pemphigoid, cancer, chronic obstructive pulmonary disease, chronic pruritis, chronic urticaria, Crohn's disease (CD), dermatitis, diabetic kidney disease, eosinophilic esophagitis, fungal keratitis, gout, idiopathic pulmonary fibrosis (IPF), keloids, non-alcoholic steatohepatitis (NASH), primary biliary cirrhosis, prurigo nodularis, psoriasis, psoriatic arthritis, rhinosinusitis, scleroderma, systemic lupus erythematosus (SLE), systemic sclerosis, ulcerative colitis (UC), vitiligo, or hidradenitis suppurativa. The compounds of the disclosure may be useful in the treatment, prevention, suppression and amelioration of a dermatological condition or a respiratory condition.

NOVEL NITROGEN-CONTAINING HETEROCYCLIC COMPOUNDS

NºPublicación:  WO2025215579A1 16/10/2025
Solicitante: 
PFIZER INC [US]
PFIZER INC
WO_2025215579_A1

Resumen de: WO2025215579A1

The disclosure relates to compounds of the disclosure and pharmaceutically acceptable salts thereof to their use in medicine; to compositions containing them; to processes for their preparation; and to intermediates used in such processes. The compounds of the disclosure may be useful in the treatment, prevention, suppression and amelioration of disease(s) such as atopic dermatitis, eosinophilic gastritis, atopic keratoconjunctivitis, allergy, alopecia, Alzheimer's disease, asthma, atherosclerosis, Bechet's disease, bullous pemphigoid, cancer, chronic obstructive pulmonary disease, chronic pruritis, chronic urticaria, Crohn's disease (CD), dermatitis, diabetic kidney disease, eosinophilic esophagitis, fungal keratitis, gout, idiopathic pulmonary fibrosis (IPF), keloids, non-alcoholic steatohepatitis (NASH), primary biliary cirrhosis, prurigo nodularis, psoriasis, psoriatic arthritis, rhinosinusitis, scleroderma, systemic lupus erythematosus (SLE), systemic sclerosis, ulcerative colitis (UC), vitiligo, or hidradenitis suppurativa. The compounds of the disclosure may be useful in the treatment, prevention, suppression and amelioration of a dermatological condition or a respiratory condition.

METHODS FOR REDUCING TAU EXPRESSION

NºPublicación:  US2025320493A1 16/10/2025
Solicitante: 
BIOGEN MA INC [US]
Biogen MA Inc
MX_2024001116_A

Resumen de: US2025320493A1

Provided herein are methods of administering ISIS 814907 for ameliorating Alzheimer's disease, reducing Tau RNA, or reducing Tau protein in a human subject in need thereof. In certain embodiments, the Alzheimer's disease is mild Alzheimer's disease, Mild Cognitive Impairment (MCI) Due to Alzheimer's Disease, and/or Alzheimer's Disease Dementia (e.g., Mild Alzheimer's Disease Dementia). In certain instances, methods are useful for ameliorating at least one symptom or hallmark of a disease or disorder associated with Tau protein. In certain instances, the disease or disorder associated with Tau protein is a neurodegenerative disease or disorder. In certain instances, the disease or disorder associated with Tau protein is Alzheimer's disease or Fronto-temporal Dementia (FTD). In certain embodiments, the Alzheimer's disease is mild Alzheimer's disease, Mild Cognitive Impairment (MCI) Due to Alzheimer's Disease, and/or Alzheimer's Disease Dementia (e.g., Mild Alzheimer's Disease Dementia). In certain instances, the disease or disorder associated with Tau protein is a tauopathy. In certain instances, the disease or disorder associated with Tau protein is Frontotemporal Dementia with Parkinsonism-17 (FTDP-17), Progressive Supranuclear Palsy (PSP), Chronic Traumatic Encephalopathy (CTE), Corticobasal Ganglionic Degeneration (CBD), Pick Disease, Argyrophilic Grain Disease (AGD), Globular Glial Tauopathies, Epilepsy, and/or Dravet's Syndrome. Such symptoms or hallmarks include loss of

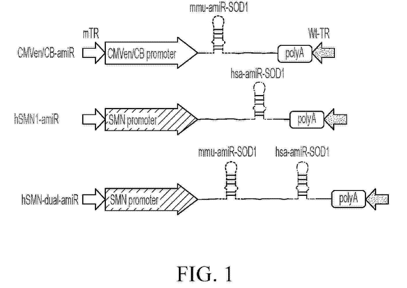
AAV VECTORS ENCODING SOD1-TARGETING ARTIFICIAL MIRNAS (AMI-RNA)

NºPublicación:  US2025320503A1 16/10/2025
Solicitante: 
UNIV OF MASSACHUSETTS [US]
University of Massachusetts
WO_2025085407_PA

Resumen de: US2025320503A1

Aspects of the disclosure relate to compositions and methods for reducing expression or activity of superoxide dismutase 1 (SOD1) in a cell or subject. In some embodiments, the compositions, such as nucleic acid and viral vectors, comprise artificial microRNAs (amiRNAs) having a SOD1-targeting sequence positioned within a microRNA scaffold. In some embodiments, the compositions further comprise a human SMN1 promoter. In some aspects, the methods comprise administering a composition of the disclosure to a subject, for example a subject having amyotrophic lateral sclerosis (ALS).

1H-PYRROLO2,3-BPYRIDIN-4-YL-2-OXOPYRROLIDINE-3-CARBONITRILE DERIVATIVES AS TYROSINE KINASE 2 (TYK2) INHIBITORS FOR THE TREATMENT OF INFLAMMATORY DISEASES

NºPublicación:  AU2024253757A1 16/10/2025
Solicitante: 
BIOGEN MA INC
BIOGEN MA INC
AU_2024253757_PA

Resumen de: AU2024253757A1

This disclosure relates to compounds of Formula (I-1) or (I-2): The compounds of the present disclosure are capable of inhibiting the activity of tyrosine kinase 2 (TYK2) and are useful for the treatment of diseases or disorders, such as e.g. inflammation, autoimmune disease, neuroinflammation, arthritis, rheumatoid arthritis, spondyloarthropathies, systemic lupus erythematous, lupus nephritis, arthritis, osteoarthritis, gouty arthritis, pain, fever, pulmonary sarcoisosis, silicosis, cardiovascular disease, atherosclerosis, myocardial infarction, thrombosis, congestive heart failure and cardiac reperfusion injury, cardiomyopathy, stroke, ischaemia, reperfusion injury, brain edema, brain trauma, neurodegeneration, liver disease, inflammatory bowel disease, Crohn's disease, ulcerative colitis, nephritis, retinitis, retinopathy, macular degeneration, glaucoma, diabetes (type 1 and type 2), diabetic neuropathy, viral and bacterial infection, myalgia, endotoxic shock, toxic shock syndrome, autoimmune disease, osteoporosis, multiple sclerosis, endometriosis, menstrual cramps, vaginitis, candidiasis, cancer, fibrosis, obesity, muscular dystrophy, polymyositis, dermatomyositis, autoimmune hepatitis, primary biliary cirrhosis, primary sclerosing cholangitis, vitiligo, alopecia, Alzheimer's disease, skin flushing, eczema, psoriasis, atopic dermatitis and sunburn. The disclosure further provides methods of preparing the compounds.

LOW DOSE HUMAN INTERLEUKIN-2 FOR THE TREATMENT OF AMYOTROPHIC LATERAL SCLEROSIS IN A SUBGROUP OF PATIENTS

NºPublicación:  EP4630035A1 15/10/2025
Solicitante: 
CENTRE HOSPITALIER UNIV DE NIMES [FR]
UNIV SUSSEX [GB]
HUMANITAS MIRASOLE SPA [IT]
KING S COLLEGE LONDON [GB]
UNIV SHEFFIELD [GB]
UNIV LONDON QUEEN MARY [GB]
Centre Hospitalier Universitaire de Nimes,
The University of Sussex,
Humanitas Mirasole S.p.A,
King's College London,
The University of Sheffield,
Queen Mary University of London
WO_2024121173_A1

Resumen de: WO2024121173A1

The present invention is in the field of amyotrophic lateral sclerosis (ALS) and relates to human interleukin-2 (IL-2) for use in the treatment of amyotrophic lateral sclerosis in a human subject, wherein each dose of human IL-2 administered to said subject is between 0.1 x106 to 3x106 international units (IU) and the subject has a low to medium concentration of p-NFH in cerebrospinal fluid (CSF p-NFH) or a low to medium concentration of NFL or NFM in cerebrospinal fluid, blood, serum or plasma before human IL-2 administration. The invention also relates to medical uses where the CSF p-NFH or CSF, blood, serum or plasma NFL or NFM concentration is used to select the best administration scheme or as a biomarker for stratified randomization of a cohort of ALS patients in the context of a clinical trial assessing the therapeutic efficiency of a candidate ALS treatment.

DELAYED TIMED RELEASE PHARMACEUTICAL COMPOSITION, PREPARATION METHOD THEREFOR, AND USE THEREOF

NºPublicación:  EP4631499A1 15/10/2025
Solicitante: 
SHANGHAI WD PHARMACEUTICAL CO LTD [CN]
Shanghai WD Pharmaceutical Co., Ltd
EP_4631499_A1

Resumen de: EP4631499A1

A delayed timed release pharmaceutical composition, a preparation method therefor, and use thereof. The pharmaceutical composition comprises a tablet core. The tablet core comprises a drug-containing layer and a boosting layer stacked on the drug-containing layer. The drug-containing layer comprises a drug active ingredient. The drug active ingredient is levodopa or a derivative thereof, or a mixture of levodopa or a derivative thereof and a DOPA decarboxylase inhibitor, and accounts for 5-72.5 wt% of the content of the drug-containing layer. The pharmaceutical composition is a capsule-shaped tablet, can realize the effects of 1-3 h delayed release of the drug active ingredient and reaching a peak concentration at 6-10 h, can be used for reducing morning stiffness in patients with Parkinson's disease, and has good application prospects.

CBD METHOD FOR PRODUCING CANNABIDIOLCBD STRUCTURE ANALOGUES LINKED TO ALZHEIMER'S AND ELECTRONIC DEVICE PEFORMING THEREOF

NºPublicación:  KR20250146107A 13/10/2025
Solicitante: 
희래주식회사
KR_20250146107_PA

Resumen de: KR20250146107A

본 개시의 일 관점에 따르면, 알츠하이머병과 연관된 칸나비디올(Cannabidiol, CBD) 유사체(structure analogue) 생성 방법은 약물 및 약물과 결합 가능한 단백질에 대한 정보를 포함하는 제1 데이터베이스 상에서, 상기 CBD와 연관된 약물-단백질 페어를 선별하는 단계; 상기 약물-단백질 페어에 포함된 단백질 중에서, 결합 친화도(binding affinity)를 기초로 상기 CBD와 결합 가능한 후보 단백질을 결정하는 단계; 질병 및 질병과 연관된 단백질에 대한 정보를 포함하는 제2 데이터베이스에 기초하여, 상기 후보 단백질 중에서 알츠하이머병과 연관된 표적 단백질을 식별하는 단계; 및 상기 표적 단백질 각각에 대하여, 생성형 모델을 기초로 CBD 유사체(structure analogue)를 생성하는 단계를 포함할 수 있다.

NOVEL COMPOUNDS FOR THE DIAGNOSIS OF TDP-43 PROTEINOPATHIES

NºPublicación:  WO2025210087A1 09/10/2025
Solicitante: 
AC IMMUNE SA [CH]
AC IMMUNE SA

Resumen de: WO2025210087A1

The present invention relates to compounds which are suitable for imaging TDP-43 (Transactive response (TAR) DNA binding protein 43 kDa) aggregates. The compounds can be used, for example, for diagnosing a disease, disorder or abnormality associated with TDP-43 aggregates or a TDP-43 proteinopathy, such as amyotrophic lateral sclerosis (ALS), Alzheimer's disease (AD), Frontotemporal dementia (FTD) and limbic-predominant age-related TDP-43 encephalopathy (LATE).

THIAZOLO5,4-CPYRIDINE-4(5H)-ONE DERIVATIVES FOR THE DIAGNOSIS OF TDP-43 PROTEINOPATHIES

NºPublicación:  WO2025210088A1 09/10/2025
Solicitante: 
AC IMMUNE SA [CH]
AC IMMUNE SA

Resumen de: WO2025210088A1

The present invention relates to compounds which are suitable for imaging TDP-43 (Transactive response (TAR) DNA binding protein 43 kDa) aggregates. The compounds can be used, for example, for diagnosing a disease, disorder or abnormality associated with TDP-43 aggregates or a TDP-43 proteinopathy, such as amyotrophic lateral sclerosis (ALS), Alzheimer's disease (AD), frontotemporal dementia (FTD) and limbic-predominant age-related TDP-43 encephalopathy (LATE).

METHODS FOR TREATING OBSESSIVE COMPULSIVE RELATED DISORDERS, TIC DISORDERS AND GLUTAMATE EXCITOTOXICITY RELATED DISORDERS

NºPublicación:  AU2024230525A1 09/10/2025
Solicitante: 
BIOHAVEN THERAPEUTICS LTD
BIOHAVEN THERAPEUTICS LTD
AU_2024230525_PA

Resumen de: AU2024230525A1

The present invention provides for methods of treating obsessive-compulsive disorder (OCD) and OCD-related disorders (body dysmorphic disorder, hoarding disorder, trichotillomania (hair-pulling disorder), excoriation (skin-picking) disorder, substance/medication-induced obsessive-compulsive and related disorder, obsessive- compulsive and related disorder due to another medical condition, and other specified and unspecified obsessive-compulsive and related disorders), Tic disorders including Tourette syndrome, autism spectrum disorder (ASD) and glutamate excitotoxicity related disorders including amyotrophic lateral sclerosis (ALS), Parkinson's disease, traumatic brain injury, multiple sclerosis, Huntington's disease, and schizophrenia, comprising the step of administering an effective amount of a histamine type 1 receptor agonist and/or histamine type 3 receptor antagonist, such as betahistine or its pharmaceutically acceptable salts, analogs, metabolites, prodrugs, derivatives, metabolites, co-crystals, modifications, solvates, hydrates, isotopes, tautomers, esters, polymorphs or stereoisomers.

ADENO-ASSOCIATED VIRUS COMPOSITIONS FOR TREATING PARKINSON'S DISEASE (PD)

NºPublicación:  WO2025213066A1 09/10/2025
Solicitante: 
CAPSIDA BIOTHERAPEUTICS INC [US]
CAPSIDA BIOTHERAPEUTICS, INC

Resumen de: WO2025213066A1

Aspects of the invention provide an AAV product that delivers an GBA1 gene supplementation strategy throughout the human CNS at levels of DNA Biodistribution, RNA expression, and GBA1 protein levels expected to restore function in patients with Parkinson's disease.

SCREENING METHOD FOR IDENTIFYING COMPOUNDS

NºPublicación:  WO2025212713A1 09/10/2025
Solicitante: 
BOARD OF REGENTS THE UNIV OF TEXAS SYSTEM [US]
BOARD OF REGENTS, THE UNIVERSITY OF TEXAS SYSTEM

Resumen de: WO2025212713A1

Methods described herein provide procedures that can be used to rapidly screen drugs for high probability of effectiveness as therapy for amyloid associated neurodegenerative diseases, such as Alzheimer's disease (AD), amyotrophic lateral sclerosis (ALS), Parkinson's disease, Huntington's disease, and prion-associated diseases by detecting size and/or aggregation of phage incubated with a target compound. The data generated indicate that bacteriophage or phage capsid subunits can switch conformation to a conformation that mimics the neurodegenerative disease-causing conformation of amyloid proteins. This switch has been observed by incubation of bacteriophage T4 with methylene blue, a compound for which literature data indicates has anti-AD activity.

RNAI AGENTS FOR INHIBITING EXPRESSION OF MICROTUBULE ASSOCIATED PROTEIN TAU (MAPT), COMPOSITIONS THEREOF, AND METHODS OF USE

NºPublicación:  WO2025212467A1 09/10/2025
Solicitante: 
ARROWHEAD PHARMACEUTICALS INC [US]
ARROWHEAD PHARMACEUTICALS, INC
US_2025302980_A1

Resumen de: WO2025212467A1

Described are RNAi agents, compositions that include RNAi agents, and methods for inhibition of a microtubule associated protein tau (MAPT) gene. The MAPT RNAi agents and RNAi agent conjugates disclosed herein inhibit the expression of a MAPT gene. The MAPT RNAi agents are conjugated to an antigen binding protein that may enable subcutaneous delivery of the RNAi agents by facilitating crossing of the blood brain barrier (BBB). Pharmaceutical compositions that include one or more MAPT RNAi agents, optionally with one or more additional therapeutics, are also described. Delivery of the described MAPT RNAi agents to central nervous system (CNS) tissue, in vivo, provides for inhibition of MAPT gene expression and a reduction in MAPT activity, which can provide a therapeutic benefit to subjects, including human subjects, for the treatment of various diseases including Alzheimer's disease, Frontotemporal lobar degeneration dementia (FTLD), Progressive supranuclear palsy, and other tauopathies.

METHODS AND COMPOSITIONS FOR REDUCING EXPRESSION OF TAU

NºPublicación:  WO2025212933A1 09/10/2025
Solicitante: 
ENCODED THERAPEUTICS INC [US]
ENCODED THERAPEUTICS, INC

Resumen de: WO2025212933A1

The present disclosure provides methods and compositions for the treatment of Tauopathies, including Alzheimer's Disease (AD) and Frontotemporal Dementia and Parkinsonism Linked to Chromosome 17 (FTDP-17), by inhibiting expression of the MAPT gene. Aspects of the disclosure provide engineered inhibitory RNA agents, e.g., siRNA, miRNA, and antisense oligonucleotides, that knock down endogenous mutated or wild-type MAPT transcripts in neuronal cells in a subject. Expression vectors encoding the engineered inhibitory RNA agents, e.g., in an AAV vector, are also provided.

NOVEL THIOPHENE DERIVATIVE AND USE THEREOF

Nº publicación: WO2025211909A1 09/10/2025

Solicitante:

DANKOOK UNIV CHEONAN CAMPUS INDUSTRY ACADEMIC COOPERATION FOUNDATION [KR]
KOREA UNIV RESEARCH AND BUSINESS FOUNDATION [KR]
\uB2E8\uAD6D\uB300\uD559\uAD50 \uCC9C\uC548\uCEA0\uD37C\uC2A4 \uC0B0\uD559\uD611\uB825\uB2E8,
\uACE0\uB824\uB300\uD559\uAD50 \uC0B0\uD559\uD611\uB825\uB2E8

Resumen de: WO2025211909A1

The present invention provides a novel thiophene derivative, an optical isomer thereof, or a pharmaceutically acceptable salt thereof. A novel thiophene derivative according to the present invention has excellent inhibitory activity against KDM4, and thus is useful as a therapeutic agent for brain diseases such as Alzheimer's disease.

traducir