Ministerio de Industria, Turismo y Comercio LogoMinisterior
 

Alerta

Resultados 55 resultados
LastUpdate Última actualización 02/04/2026 [06:46:00]
pdfxls
Patentes publicadas en los últimos 30 días/ Patents published in the last 30 days
previousPage Resultados 50 a 55 de 55  

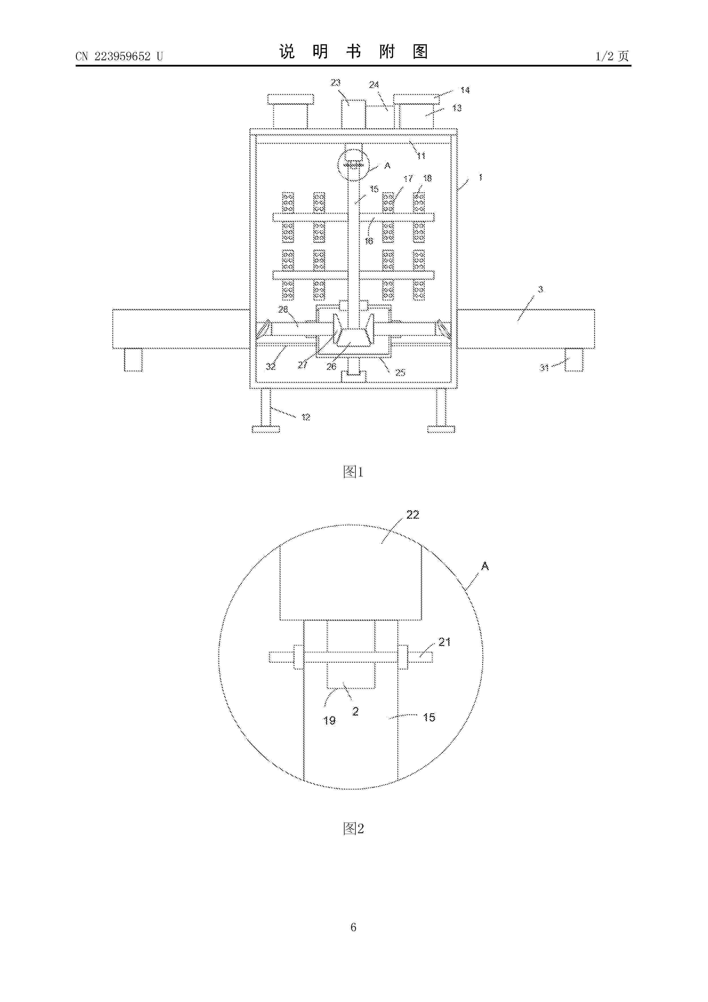
一种秸秆燃料添加剂混合装置

NºPublicación:  CN223959652U 03/03/2026
Solicitante: 
天津市恒盛兴旺生物科技股份有限公司
CN_223959652_U

Resumen de: CN223959652U

本实用新型公开了一种秸秆燃料添加剂混合装置,包括反应釜,所述反应釜的顶部可拆卸连接有顶盖,所述顶盖上设置有多个加料斗,所述反应釜内设置有搅拌组件,所述搅拌组件包括转轴,所述转轴侧面水平设置有搅拌桨,所述搅拌桨上垂直设置有搅拌片,所述转轴的顶部可拆卸连接有驱动组件,所述驱动组件包括连接轴,所述转轴的下部活动连接在驱动盒上。本实用新型结构设计科学合理,通过在转轴的侧面设置搅拌桨,并且在搅拌桨上分布设置搅拌片,形成立体搅拌机构,使得添加剂分散混合效果更好,并且顶盖、搅拌轴、螺旋送料片均可独立拆卸,清洗时间大幅缩短,在部分机构损坏时可以方便更换处理,有效降低使用成本。

一种碳化秸秆除草杀虫灭茵一体机

NºPublicación:  CN223958234U 03/03/2026
Solicitante: 
李和光
CN_223958234_U

Resumen de: CN223958234U

一种碳化秸秆除草杀虫灭茵一体机,属于农业生产机械领域,包括车挂架、气体罐、行走车、中分气总成、左分气总成、右分气总成、中部燃烧支架、左翼燃烧支架、右翼燃烧支架、数个燃烧枪、数个挡火罩、升降缸和二个光,左翼燃烧支架通过左连接轴与中部燃烧支架轴接,右翼燃烧支架通过右连接轴与中部燃烧支架轴接,左翼燃烧支架和右翼燃烧支架可以折叠升起;本实用新型结构简单,操作方便,左翼燃烧支架和右翼燃烧支架的升降可以使本实用新型拓宽和缩窄,即可以在田间进行精细化的除草、杀虫和灭菌,又可以在大面积的农地上烧荒,能瞬间使杂草碳化成灰,避免了大量烟雾的产生,仅产生少量的烟雾,减少了对环境的污染。

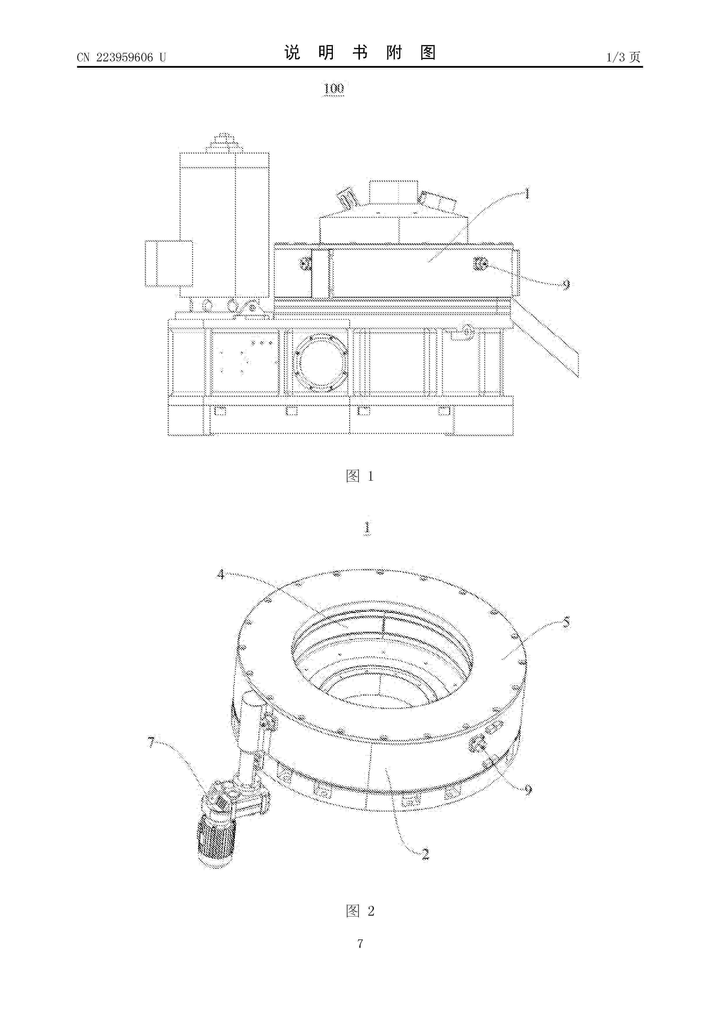
一种立式环模颗粒成型机

NºPublicación:  CN223959606U 03/03/2026
Solicitante: 
安徽环态生物能源科技开发有限公司
CN_223959606_U

Resumen de: CN223959606U

本实用新型公开了一种立式环模颗粒成型机,包括造粒室、模座、环模,造粒室包括支撑壁板,模座设于造粒室的底部,模座的周缘处凸起设有第一限位环;环模嵌设于模座上,环模的底部外侧面与第一限位环的内侧面紧密抵接;以及环形盖板,环形盖板的外环端部与支撑壁板可拆卸连接,内环端部盖设于环模的上端面,环形盖板还包括第二限位环,第二限位环设于环形盖板的下表面,第二限位环的内侧面与环模的外侧面紧密抵接。由此,本实用新型通过利用模座和环形盖板的限位结构,分别将环模的上端部和下端部同时约束固定,这样环模在压辊运转时因摩擦和物料挤压产生的应力可以被分散与抵消,避免应力破坏,提升环模的使用寿命。

具有刮料结构的非粮生物液体燃料生产装置

NºPublicación:  CN223959520U 03/03/2026
Solicitante: 
丽江聚能生物科技有限公司
CN_223959520_U

Resumen de: CN223959520U

本实用新型提供具有刮料结构的非粮生物液体燃料生产装置,涉及非粮生物液体燃料生产领域,包括:搅拌罐,搅拌罐的一侧连通有进料管,搅拌罐的底端开设有出料口,搅拌罐内可升降的设有环形板,基于本申请实施例的具有刮料结构的非粮生物液体燃料生产装置,当料液在搅拌罐内搅拌完成出料时,通过出料口将料液排出,若部分料液粘附在搅拌罐的内壁时,此时在拉动组件的运动下,使环形板处于松弛状态,再在配重块的重力作用下,即可带动环形板向下运动,环形板带动刮板向下运动,使刮板对粘附在搅拌罐内的料液进行刮拭清理,然后再将刮拭下来的料液通过出料口排出,从而减少搅拌罐内料液的残留,方便料液的充分出料,提高了料液的出料效率。

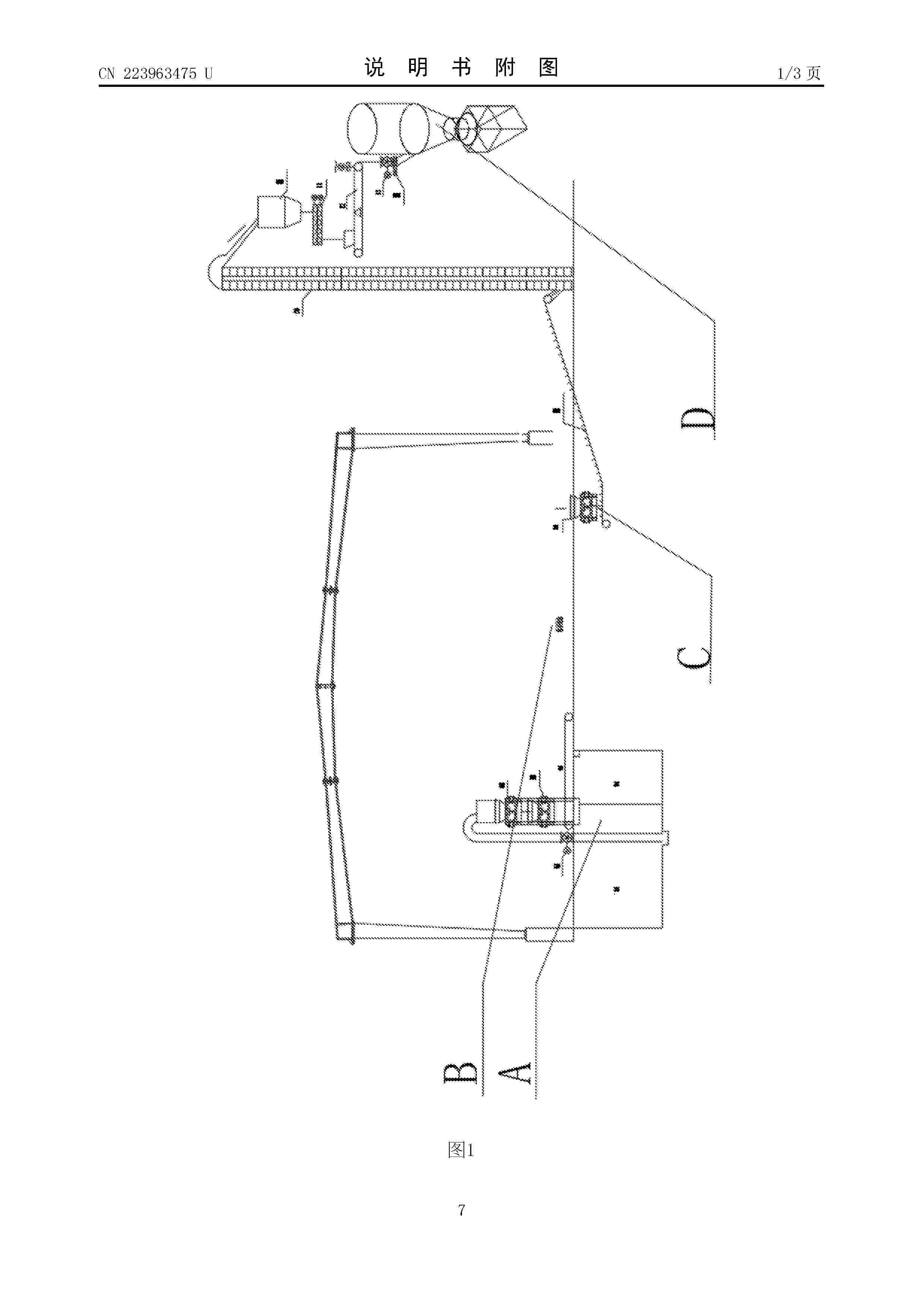
一种利用猪粪作为替代燃料的深加工装置

Nº publicación: CN223963475U 03/03/2026

Solicitante:

河南优倍克环境科技有限公司

CN_223963475_U

Resumen de: CN223963475U

本实用新型涉及猪粪深加工技术领域,特别是一种利用猪粪作为替代燃料的深加工装置,包括猪粪固液分离机构,所述猪粪固液分离机构通过输送设备连接有猪粪码垛机构,所述猪粪码垛机构通过输送设备连接有猪粪粉碎机构,所述猪粪粉碎机构通过上料设备连接有猪粪燃料分配机构。本实用新型利用生猪养殖企业的废弃猪粪产生热值利用,创造了猪粪的价值,减少了环境污染,废弃猪粪分离后的水进行过滤重新利用,节约了水资源,水泥企业利用压滤后的猪粪进行煅烧,减少煤炭的消耗,节约能源,减少环境污染,减少二氧化碳的排放,且开创了工农业发展深度合作创造条件,为农业发展、农民创收创造更多价值,为废物综合利用找到最佳合作点,互相弥补。

traducir