Ministerio de Industria, Turismo y Comercio LogoMinisterior
 

Alerta

Resultados 435 resultados
LastUpdate Última actualización 02/01/2026 [07:01:00]
pdfxls
Solicitudes publicadas en los últimos 15 días / Applications published in the last 15 days
Resultados 1 a 25 de 435 nextPage  

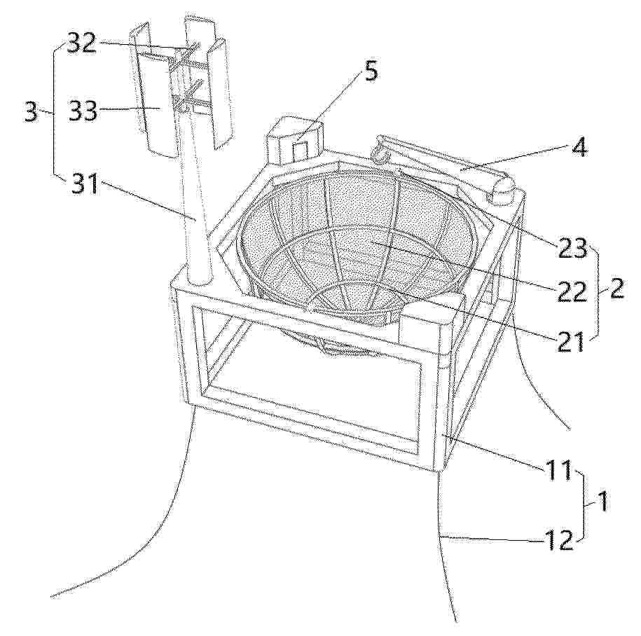
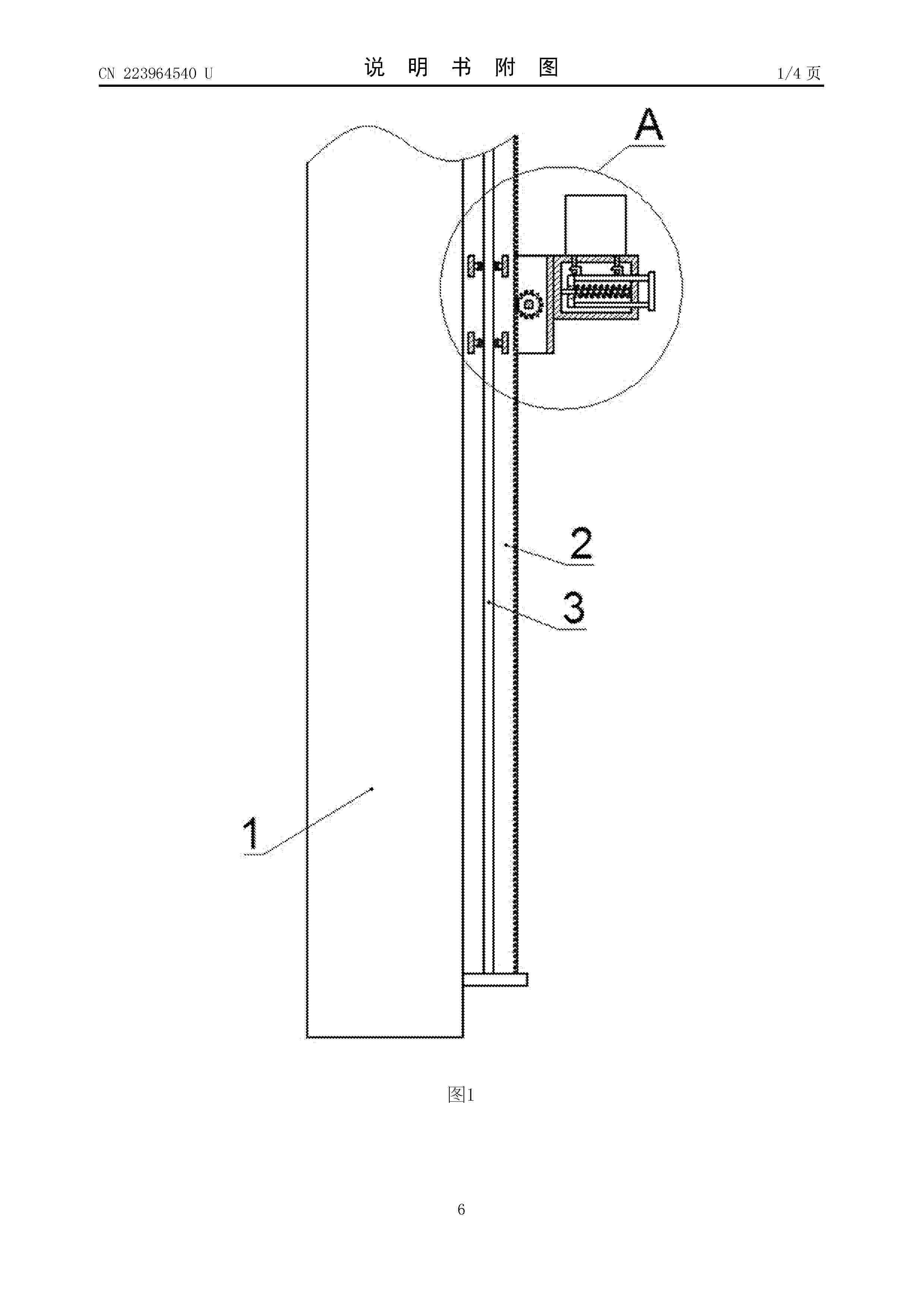
HOLDING DEVICE

NºPublicación:  EP4671534A1 31/12/2025
Solicitante: 
SPANSET SECUTEX SICHERHEITSTECHNIK GMBH [DE]
SpanSet secutex Sicherheitstechnik GmbH
DE_202024001229_PA

Resumen de: EP4671534A1

Die Erfindung betrifft eine Haltevorrichtung in Form eines flächenhaften Gebildes, an dem ein Führungsseil in der Regel reversibel angeordnet oder anordenbar ist und die Haltevorrichtung die Merkmale gemäß Anspruch 1 aufweist.

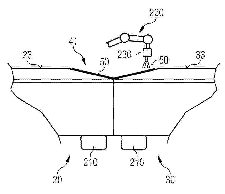
METHOD AND SYSTEM FOR MANUFACTURING A ROTOR BLADE FOR A WIND TURBINE, COMPUTER PROGRAM PRODUCT AND COMPUTER-READABLE STORAGE MEDIUM

NºPublicación:  EP4669521A1 31/12/2025
Solicitante: 
SIEMENS GAMESA RENEWABLE ENERGY AS [DK]
Siemens Gamesa Renewable Energy A/S
CN_121100057_PA

Resumen de: TW202448594A

The present invention relates to a method for manufacturing a rotor blade (10) for a wind turbine (100), comprising: providing a root module (20) having a root module recess (21) at a root module end side (22), providing a tip module (30) having a tip module recess (31) at a tip module end side (32), positioning the root module (20) at the tip module (30) to form a common connection recess (40) with the root module recess (21) and the tip module recess (31), and spraying a connection material (50) onto the common connection recess (40) to provide a firmly bonded connection recess (41) between the root module (20) and the tip module (30). The invention further relates to a system (200) for manufacturing a rotor blade (10) for a wind turbine (100), a computer program product (300) for executing the method and a computer-readable storage medium (400) having stored thereon the computer program product (300).

METHOD FOR CONSTRUCTING FRONT EDGE PROTECTIVE LAYER FOR WIND TURBINE BLADE, AND PROTECTIVE LAYER FOR WIND TURBINE BLADE

NºPublicación:  EP4671537A1 31/12/2025
Solicitante: 
MITSUBISHI HEAVY IND LTD [JP]
Mitsubishi Heavy Industries, Ltd
CN_120858226_PA

Resumen de: EP4671537A1

Provided is a method for manufacturing a wind turbine blade with which it is possible to obtain a protective layer having a desired thickness and quality, by improving the positional accuracy of thermal spraying. Provided is a method for manufacturing a wind turbine blade (5) in which a protective layer is provided on a front edge (16) side of a tip end portion (12) in a blade length direction (L1) of a wind turbine blade body (5a) formed from FRP, the method comprising: a first thermal spraying step for performing thermal spraying in the blade length direction (L1); a blade chord position changing step for changing a position such that thermal spraying is performed at an adjacent position that is adjacent, in a blade chord direction (C1), to the protective layer (30) formed in the first thermal spraying step; and a second thermal spraying step for performing thermal spraying in the blade length direction (L1) at the adjacent position.

FLUID ACCELERATOR

NºPublicación:  EP4669857A1 31/12/2025
Solicitante: 
ESS 2 TECH LLC [US]
ESS 2 Tech, LLC
WO_2024178176_PA

Resumen de: WO2024178176A1

A fluid accelerator including an outer housing having an inlet end and an outlet end, the outer housing defining a converging nozzle proximate the inlet end. The fluid accelerator may also include an annular ring disposed proximate the inlet end of the outer housing within the converging nozzle, wherein the annular ring has an airfoil cross-sectional shape.

LINEAR NETWORK OF WIND TURBINE BLADE ARRAYS

NºPublicación:  EP4669859A1 31/12/2025
Solicitante: 
AIRIVA RENEWABLES INC [US]
Airiva Renewables, Inc
WO_2024177726_A1

Resumen de: MX2025009964A

A linear network of wind turbine blade arrays has a plurality of wind turbine blade arrays. Each of the wind turbine blade arrays has a frame with a top structure and a bottom structure. The top structure is spaced from the bottom structure with first and second opposite vertical side structures. The top structure includes a top enclosure and the bottom structure includes a bottom enclosure. A plurality of shafts are spaced apart from one another along and extending between the top structure and the bottom structure. Each shaft is configured to rotate about a respective shaft axis within the frame. A blade formation for each shaft is arranged and configured to interact with moving air to cause rotation movement of the respective shaft. At least one generator is operatively connected to at least one shaft. The generator is mounted in one of the top enclosure and bottom enclosure.

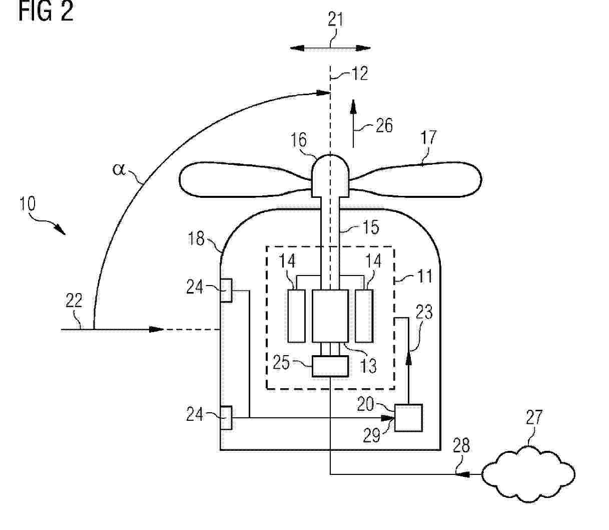
METHOD FOR OPERATING A WIND TURBINE AND WIND TURBINE

NºPublicación:  EP4671530A1 31/12/2025
Solicitante: 
NORDEX ENERGY SE & CO KG [DE]
NORDEX ENERGY SPAIN SAU [ES]
Nordex Energy SE & Co. KG,
Nordex Energy Spain, S.A.U

Resumen de: EP4671530A1

According to an embodiment, the method is for operating a wind turbine (100) having a rotor (10) with at least two rotor blades (1, 2, 3) and a pitch adjustment system (500) for adjusting the pitch angles (β_1) of the at least two rotor blades. The method comprises a step of determining first information (11) which is representative of the appearance of a failure in the pitch adjustment system while the rotor is rotating. In a further step, second information (12) is provided which is representative of the actual rotational speed (n_a) of the rotor. Then, third information (13) is determined depending on the first and the second information, wherein the third information is representative of a pitch angle setpoint (SP_β_i) for at least one rotor blade. The pitch angle setpoint depends on the actual rotational speed and is chosen to reduce the rotational speed of the rotor. When the wind turbine is operated according to the third information, a pitch angle of at least one rotor blade is adjusted to the pitch angle setpoint.

METHOD FOR VALIDATING A WIND TURBINE

NºPublicación:  EP4671535A1 31/12/2025
Solicitante: 
WOBBEN PROPERTIES GMBH [DE]
Wobben Properties GmbH

Resumen de: EP4671535A1

Die Erfindung betrifft ein Verfahren zum Validieren einer Windenergieanlage oder einer Komponente der Windenergieanlage, wobei die Windenergieanlage einen aerodynamischen Rotor mit mehreren, eine Rotorfläche überstreichenden Rotorblättern aufweist, wobei jedes Rotorblatt eine Blattwurzel mit einem Blattwurzelbereich aufweist und in seinem Blattwinkel verstellbar ist; und für wenigstens eines der Rotorblätter jeweils aus erfassten Betriebsdaten der Windenergieanlage ein individuelles Blattleistungsvermögen, und/oder eine individuelle Blattleistung ermittelt wird, wobei das individuelle Blattleistungsvermögen ein Vermögen eines Rotorblattes beschreibt, Leistung aus Wind in eine Teildrehleistung zum Drehen des Rotors umzuwandeln, und die individuelle Blattleistung eine Leistung der Höhe nach bezeichnet, die das jeweilige Rotorblatt aus dem Wind in eine Teildrehleistung zum Drehen des Rotors umwandelt, sodass eine Summe der individuellen Blattleistungen aller Rotorblätter des Rotors eine gesamte Drehleistung des Rotors ergibt.

ROTOR BLADE COMPRISING ELASTIC ELEMENT, METHOD AND WIND TURBINE

NºPublicación:  EP4671529A1 31/12/2025
Solicitante: 
WOBBEN PROPERTIES GMBH [DE]
Wobben Properties GmbH

Resumen de: EP4671529A1

Die Erfindung betrifft ein Rotorblatt, ein Verfahren zur Verwendung eines Elastikelements zur Verringerung eines Zackengrundradius zwischen mindestens zwei Serrations eines Rotorblatts sowie eine Windenergieanlage. Es wird ein Rotorblatt für einer Windenergieanlage bereitgestellt, wobei das Rotorblatt von einer Rotorblattwurzel bis zu einer Rotorblattspitze in Rotorblattlängsrichtung eine Rotorblattlänge aufweist, von einer Rotorblattvorderkante zu einer Rotorblatthinterkante in Rotorblattprofiltiefenrichtung eine Rotorblattprofiltiefe aufweist, eine sich zwischen Rotorblattvorderkante und Rotorblatthinterkante auf spannende Saugseite und eine sich zwischen Rotorblattvorderkante und Rotorblatthinterkante aufspannende Druckseite aufweist, eine sich zwischen der Saugseite und der Druckseite in Rotorblattdickenrichtung aufspannende Rotorblattdicke aufweist und mehrere an der Rotorblatthinterkante angeordnete Serrations aufweist, wobei die Rotorblatthinterkante zwischen je zwei der mehreren Serrations einen ersten Zackengrundradius aufweist, wobei das Rotorblatt ferner umfasst: mindestens ein Elastikelement, wobei die mehreren Serrations aus einem ersten Material, insbesondere GFK, bestehen, das mindestens eine Elastikelement aus einem zweiten Material besteht, das mindestens eine Elastikelement ausgestaltet ist den ersten Zackengrundradius zwischen mindestens zwei der mehreren Serrations auf einen zweiten Zackengrundradius zu verringern und eine Steifigkeit des zweiten Materi

DRIVE TRAIN BEARING

NºPublicación:  EP4671536A1 31/12/2025
Solicitante: 
FLENDER GMBH [DE]
Flender GmbH

Resumen de: EP4671536A1

Die Erfindung betrifft eine Triebstranglagerung 10 für eine Windkraftanlage 100 in aufgelöster Lagerung, umfassend einen Maschinenträger 114, eine gegenüber dem Maschinenträger 114 abgestützte Rotorlagerung 120 mit einer um eine Triebstrangachse A<sub>D</sub> gelagerten Rotorwelle 118, eine Drehmomentstütze 14 mit zumindest zwei Stützarmen 16, eine über die Rotorwelle 118 um die Triebstrangachse A<sub>D</sub> angetriebene Getriebekomponente 12, wobei die Getriebekomponente 12 zumindest mittelbar über die zumindest zwei in radiale Richtungen auskragenden Stützarme 16 der Drehmomentstütze 14 abgestützt ist. Die Drehmomentstütze 14 ist unter einem axialen Versatz V<sub>a</sub> wirksam an dem Maschinenträger 114 abgestützt. Durch den axialen Versatz wird eine Aufrichtkraft erzeugt, über die ein aufrichtendes und auf der Getriebekomponente 12 wirksames Moment erzeugt wird.

A METHOD OF MANUFACTURING AND MOUNTING A WIND TURBINE BLADE TO A PITCH BEARING OF A WIND TURBINE AND SUCH A WIND TURBINE BLADE

NºPublicación:  EP4671528A1 31/12/2025
Solicitante: 
LM WIND POWER AS [DK]
LM Wind Power A/S

Resumen de: EP4671528A1

A method of manufacturing a wind turbine blade for a horizontal axis wind turbine (2), and mounting it to the pitch bearing of a hub of a wind turbine is described. The method comprises the steps of: manufacturing (402) a first wind turbine blade shell part; manufacturing (404) a second wind turbine blade shell part; assembling (406) at least the first wind turbine blade shell part and the second wind turbine blade shell part to form at least part of a shell body of the wind turbine blade, wherein the wind turbine blade extends between a root end and a tip end, and wherein the first wind turbine blade shell part and the second wind turbine blade shell part are at least adhered to each other along a first bond line that extends to the root end of the wind turbine blade; providing (408) a ring-shaped root end flange, which is configured to be connected to the root end of the shell body, and which is configured with a bond line marker, preferably on an inner circumference of the ring-shaped root end flange, and further configured with a pitch-angle marker; attaching (410) the ring-shaped root end flange to a root end face of the shell body, such that the ring-shaped root end flange covers the first bond line, and the bond line marker is aligned with the first bond line; and mounting (412) the wind turbine blade including the ring-shaped root end flange to the pitch bearing of the hub of the wind turbine, such that the pitch-angle marker is aligned with a zero-pitch position for

Anordnung zur Lagerung eines Stirnrads

NºPublicación:  DE102024206074A1 31/12/2025
Solicitante: 
ZAHNRADFABRIK FRIEDRICHSHAFEN [DE]
ZF WIND POWER ANTWERPEN NV [BE]
ZF Friedrichshafen AG,
ZF Wind Power Antwerpen N.V

Resumen de: DE102024206074A1

Die Erfindung betrifft eine Anordnung mit einer Welle (115), einem Stirnrad (101), einer ersten gehäusefesten Stützstruktur (119), einer zweiten gehäusefesten Stützstruktur (123), einem ersten Lager (117) und einem zweiten Lager (119); wobei das Stirnrad (101) einen zwischen dem ersten Lager (117) und dem zweiten Lager (119) angeordneten Steg (107) aufweist, der einen Zahnkranz (105) und eine Nabe (11) des Stirnrads (101) miteinander verbindet; wobei die Welle (115) drehfest mit der Nabe (111) verbunden ist. Der Zahnkranz (105) bildet eine äußere Lauffläche des ersten Lagers (117) oder einen Sitz für einen äußeren Ring des ersten Lagers (117) und eine äußere Lauffläche zweiten Lagers (121) oder einen Sitz für einen äußeren Ring des zweiten Lagers (121) aus; wobei die erste Stützstruktur (119) eine innere Lauffläche des ersten Lagers (117) oder einen Sitz für einen inneren Ring des ersten Lagers (117) ausbildet; und wobei zweite Stützstruktur (119) eine innere Lauffläche des zweiten Lagers (121) oder einen Sitz für einen inneren Ring des zweiten Lagers (121) ausbildet.

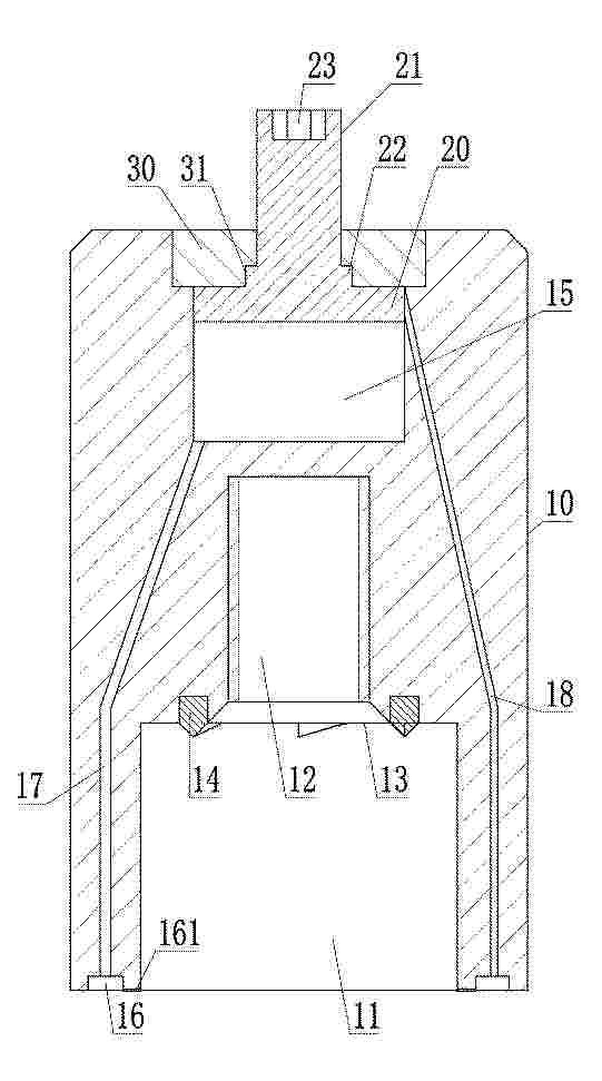
WINDROTOR MIT AUTOMATISCHER UND MANUELLER DREHZAHLREGELUNG

NºPublicación:  DE102024001963A1 31/12/2025
Solicitante: 
SIAKOS LAOPHILOS [DE]
Siakos, Laophilos

Resumen de: DE102024001963A1

Diese Erfindung dient den Zweck die jungeren Fachkräfte zu überzeugen, sich mit der Technik zu befassen und speziell Lösungen zu finden die umweltfreunlich sind, und somit für die, Entlastung der Umweltverschmutzung die durch die größere Energieeinheiten, die diese Belastung verursachen

Floating wind power generation platform for offshore deployment

NºPublicación:  GB2642150A 31/12/2025
Solicitante: 
HISEAS ENERGY INC [US]
HiSeas Energy Inc
GB_2642150_PA

Resumen de: GB2642150A

A floating wind power platform is suitable for offshore deployment in deep-sea environments. The platform includes a tower that supports a wind turbine and a base support structure that is stabilized by a combination of stabilizers, struts, and floats. The platform furthermore includes a set of propellers and an electronic motion control system to control position and orientation relative to the wind. The floating wind power platform may be deployed in groups of connected platforms tethered to a centralized fuel production platform, carbon dioxide (CO2) capture and sequestration platform, or other processing platform that transforms and/or utilizes energy captured from the wind power platforms.

SYSTEM AND METHOD FOR OPTIMIZING CONTROL OF A WIND TURBINE

NºPublicación:  EP4671531A1 31/12/2025
Solicitante: 
GENERAL ELECTRIC RENOVABLES ESPANA SL [ES]
General Electric Renovables Espa\u00F1a S.L
CN_121229314_PA

Resumen de: EP4671531A1

The present disclosure is directed to a method for optimizing control of a wind turbine that includes receiving, via a control system, a condition of the wind turbine. The method also includes estimating a current state of the wind turbine using the condition. The method also includes calculating, via a model implemented by the control system, a linearized representation of an operation of the wind turbine for a future time interval following the current state. The method also includes defining an optimization problem to be solved. The method also includes determining a pitch adjustment factor for modifying the current state of the wind turbine. The method also includes calculating, via the optimization solver, an optimized pitch parameter for a rotor blade of the wind turbine. The method also includes adjusting a pitch parameter of the rotor blade to the optimized pitch parameter to improve control.

METHODS FOR RETROFITTING WIND TURBINE BLADES ON WIND TURBINES

NºPublicación:  EP4669863A1 31/12/2025
Solicitante: 
VESTAS WIND SYS AS [DK]
VESTAS WIND SYSTEMS A/S
CN_121002280_PA

Resumen de: WO2024175163A1

A method of retrofitting wind turbine blades (26a, 26b, 26c) on a wind turbine (10) is disclosed. The wind turbine blades (26a, 26b, 26c) each include a plurality of sections. An inner blade section (36a, 36b, 36c) is coupled to the rotor hub (24). An outer blade section (38a, 38b, 38c) is coupled to the inner blade section (36a, 36b, 36c) at an interface bracket (34a, 34b, 34c). A blade (26a, 26b, 26c) is selected. For the selected blade (26a, 26b, 26c), the method includes (i) coupling a lifting tool (42, 62, 72) to the interface bracket (34a, 34b, 34c). The lifting tool (42, 62, 72) includes a hoist (50) and a lifting cable (52, 66, 88) operatively coupled to the hoist (50). The method further includes (ii) coupling the lifting cable (52, 66, 88) to the outer blade section (38a, 38b, 38c), iii) disconnecting the outer blade section (38a, 38b, 38c) from the inner blade section (36a, 36b, 36c) so that the inner blade section (36a, 36b, 36c) remains coupled to the rotor hub (24) and the outer blade section (38a, 38b, 38c) is supported by the lifting tool (42, 62, 72), and iv) using the lifting tool (42, 62, 72), lowering the outer blade section (38a, 38b, 38c) to a support surface adjacent the wind turbine (10).

HIGH VISIBILITY TIP PROTECTOR COVER

NºPublicación:  EP4669862A1 31/12/2025
Solicitante: 
DANSK GUMMI IND A/S [DK]
Dansk Gummi Industri A/S
CN_120731319_PA

Resumen de: CN120731319A

The invention relates to a protective cover (10) for protecting one or more fragile edges or wingtips of an elongate unit (2), said elongate unit (2) having an upper surface and a lower surface, said protective cover (10) being made of an elastic material, comprising an inner surface (60), an outer upper surface (70) and an outer lower surface (71), said inner surface (60) being designed to be mounted in contact with said upper (90) and lower (91) surfaces, the outer upper surface (70) and the outer lower surface (71) face outwards and away from the inner surface (60), the protective cover is designed to extend beyond the edge or wingtip of the elongated unit, the protective cover comprises at least one through hole or slit extending from the outer upper surface (70) to the outer lower surface (71), the through hole (40) or slit is designed to accommodate a bandage (50), and the outer upper surface (70) and the outer lower surface (71) face outwards and away from the inner surface (60). The protective cover (10) is removably fixed to the elongated unit (2) by applying a force to the outer upper surface (70) and/or the outer lower surface (71) with friction between the inner surface (60) and the upper surface (90) and/or the lower surface (91).

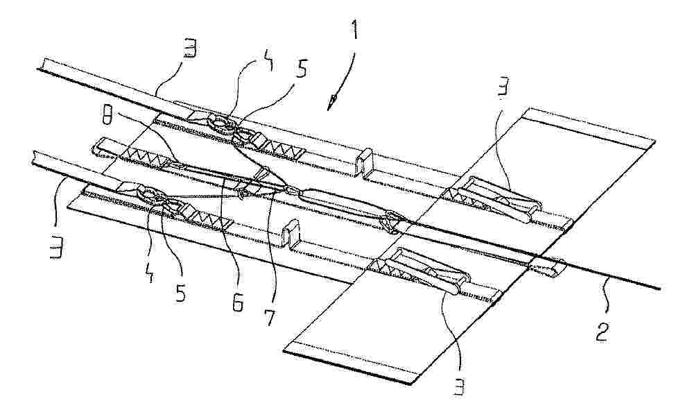
TRAILING-EDGE ADD-ON

NºPublicación:  EP4669858A1 31/12/2025
Solicitante: 
SIEMENS GAMESA RENEWABLE ENERGY AS [DK]
Siemens Gamesa Renewable Energy A/S
CN_120958232_PA

Resumen de: AU2024255078A1

Trailing-edge add-on The invention describes a wind turbine rotor blade add-on (1) comprising a plurality of serration teeth (10) arranged to extend outward from the trailing edge (20TE) of the rotor blade (20), wherein a serration tooth (10) has an elongate shape defined by a base (10B) and two at least partially curved side edges (10S) converging at a tip (10T), and wherein the length of a serration tooth (10) from base (10B) to tip (10T) exceeds the width of the serration tooth (10) at its base (10B) by a factor of at least 6; a side edge (10S) of the serration tooth (10) includes a convex curved portion; and the closest distance (1G) between adjacent serration teeth (10) is at most 1 mm. The invention further describes a A wind turbine rotor blade (20) comprising a number of such add-ons (1) mounted to the trailing edge (20TE) of the airfoil portion of the rotor blade (20).

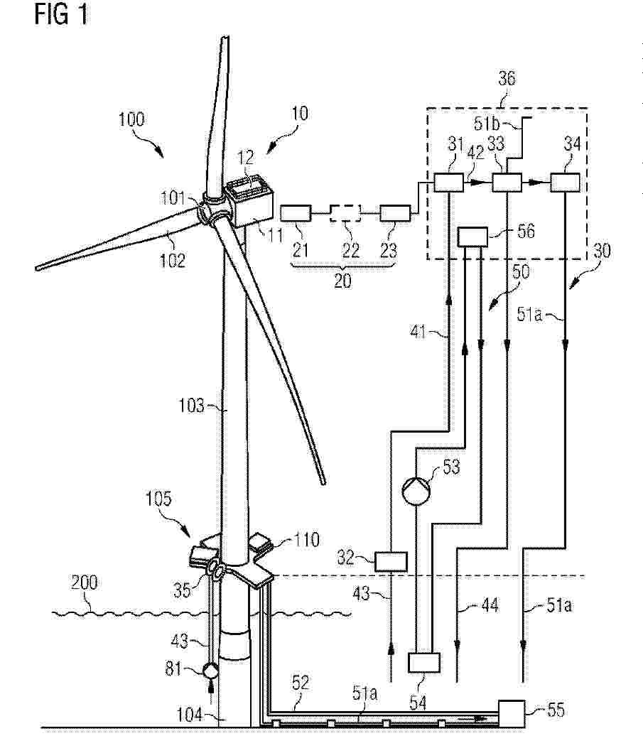
WIND TURBINE WITH A HYDROGEN PRODUCTION SYSTEM

NºPublicación:  EP4669861A1 31/12/2025
Solicitante: 
SIEMENS GAMESA RENEWABLE ENERGY AS [DK]
Siemens Gamesa Renewable Energy A/S
WO_2024217742_PA

Resumen de: WO2024217742A1

A wind turbine is provided that comprises a nacelle (10) arranged on a wind turbine tower (103) and comprising an electrical power generation system (20), a nacelle housing (11) of the nacelle, wherein the nacelle housing (11) houses at least part of the electrical power generation system (20), and a hydrogen production system (30) including a hydrogen production unit (36). The hydrogen production unit (36) comprises an electrolyzer (31) configured to receive electrical power from the electrical power generation system (20), wherein the hydrogen production unit (36) is mounted to a top of the nacelle (10) outside of the nacelle housing (11).

ACTIVE DAMPING FOR AN OFFSHORE WIND TURBINE DURING IDLING

NºPublicación:  EP4669860A1 31/12/2025
Solicitante: 
SIEMENS GAMESA RENEWABLE ENERGY AS [DK]
Siemens Gamesa Renewable Energy A/S
WO_2024223239_PA

Resumen de: WO2024223239A1

It is described a method of controlling an offshore wind turbine (20) during idling for damping at least one mechanical vibration (21), the wind turbine including a nacelle (18) harboring a generator (11) having a rotor (14) associated with a rotor axis (12), the method comprising: yawing the nacelle (18) to a target yawing angle such that a predetermined angle (α) between a main loading direction (22) and the rotor axis (12) is reached; activating or performing active vibration damping using a generator (11) created torque (26).

AERODYNAMIC DEVICES AND ASSEMBLIES FOR TOWERS

NºPublicación:  EP4671533A1 31/12/2025
Solicitante: 
NORDEX ENERGY SPAIN SAU [ES]
Nordex Energy Spain, S.A.U
AU_2024224537_PA

Resumen de: EP4671533A1

The invention relates to an aerodynamic device (10) comprising at least one inflatable modular body (1) configured to be adhered by a base (2) of each body of the at least one inflatable modular body to a tower (30), the base (2) of each body of the at least one inflatable modular body (1) comprises at least one fin (4) and the device comprises at least one inflation valve (7, 7') in one or more bodies of the at least one inflatable modular body (1). The invention further relates to an assembly with a plurality of aerodynamic devices, a tower with one or more aerodynamic devices, a method for installing and a method for uninstalling, respectively, one or more aerodynamic devices.

METHOD AND APPARATUS FOR ASSESSING STATUS OF WIND TURBINES, AND STORAGE MEDIUM

NºPublicación:  EP4671532A1 31/12/2025
Solicitante: 
ENVISION ENERGY TECH PTE LTD [SG]
Envision Energy Technology Pte Ltd
CN_118862712_PA

Resumen de: EP4671532A1

A method and an apparatus for assessing status of wind turbines, and a storage medium are provided. The method includes: constructing a wake surrogate model; arranging wind turbines in a wind turbine array in a direction of a wind speed; inputting the wind condition information and the wind turbine information of the first wind turbine of the wind turbines into the wake surrogate model to obtain a velocity deficit percentage and an additional turbulence intensity value at each point in a wake region of the first wind turbine; for each current wind turbine of the wind turbines starting from a second wind turbine of the wind turbines, updating wind condition information of a current wind turbine; and obtaining, for each wind turbine of the wind turbines, an amount of generated power and a load of the wind turbine.

基于复杂气象条件的风能发电效率优化方法及系统

NºPublicación:  CN121229316A 30/12/2025
Solicitante: 
湖北天宏检测科技集团有限公司
CN_121229316_PA

Resumen de: CN121229316A

本发明涉及风能发电效率优化技术领域,涉及到基于复杂气象条件的风能发电效率优化方法及系统,通过获取风电场实时气象数据和风机运行参数,基于实时气象数据开展湍流强度分析以获得湍流强度数据,再根据风机运行参数对湍流强度数据进行疲劳载荷预测分析得到疲劳载荷预测数据,随后基于该预测数据进行发电效率损失关联挖掘获得发电效率损失关联数据,最后根据该关联数据进行控制策略优化匹配,并通过控制策略优化匹配数据调整风机控制参数得到风机控制参数优化数据,有效解决了当前风机控制系统在高湍流工况下缺乏对实时湍流载荷的精确感知,有效规避了高湍流带来的结构疲劳损伤风险,降低了部件磨损和非计划停机概率。

一种风力发电机组的单回路下垂控制方法及系统

NºPublicación:  CN121229310A 30/12/2025
Solicitante: 
中国矿业大学
CN_121229310_PA

Resumen de: CN121229310A

本发明公开了一种风力发电机组的单回路下垂控制方法及系统,控制方法包括如下步骤:构建双馈风机‑功率变流器‑电网三模块耦合模型,完成无内环电流控制的单环下垂控制架构的双馈风机特性动态适配;基于所述输入信号‑模型协同集成体及适配架构,采用MIMO‑GBC分析动态小信号模型开环传递函数矩阵特征值的相位裕度与谐振峰值,在全转差率区间识别双风险;针对谐振风险,采用电流感应式虚拟阻抗策略;针对相位裕度不足,采用暂态相位校准策略;依据DFIG实时转差率、定子功率变化,对虚拟电阻与相位校准角分区间联动调优以实现最小化双功率阶跃响应波动平方均值,参数整定周期与转子侧变流器控制周期同步匹配,实现全工况稳定控制。

高压输电线路巡检系统

NºPublicación:  CN121225038A 30/12/2025
Solicitante: 
中国电建集团成都勘测设计研究院有限公司
CN_121225038_PA

Resumen de: CN121225038A

本发明涉及高压输电技术领域,尤其涉及一种高压输电线路巡检系统,其包括输电线路铁搭、巡检无人机和无人机起降平台,巡检无人机中设置有巡线检测部件、第一充电连接触点、第一控制器和存储器,无人机起降平台的中间设置有第二充电连接触点,第一充电连接触点与第二充电连接触点可拆卸连接,无人机起降平台呈水平设置在输电线路铁搭上,还包括发电装置和储能电池,发电装置通过第一电能传输线与储能电池相连接,储能电池通过第二电能传输线与第二充电连接触点相连接。无人机起降平台为巡检无人机提供停靠、重复充电的平台,使巡检无人机能够高频次、常态化对输电线路铁搭周围的高压输电线路进行自动检测,有效地降低了巡检成本。

抗涡状态检测方法及风电机组

Nº publicación: CN121229333A 30/12/2025

Solicitante:

三一重能股份有限公司

CN_121229333_PA

Resumen de: CN121229333A

本申请提供了一种抗涡状态检测方法及风电机组,其中方法包括:获取多维数据;基于所述多维数据中的目标运行数据和目标事件数据进行通讯故障下的抗涡异常检测;在无异常时,基于所述多维数据中的目标运行数据进行抗涡状态检测,得到对应的抗涡状态。这样,能够解决现有技术中缺乏对抗涡状态的准确检测能力、难以判断抗涡是否成功、引发涡激振动风险等技术问题。

traducir