Ministerio de Industria, Turismo y Comercio LogoMinisterior
 

Alerta

Resultados 84 resultados
LastUpdate Última actualización 22/01/2026 [06:50:00]
pdfxls
Solicitudes publicadas en los últimos 30 días / Applications published in the last 30 days
Resultados 1 a 84  

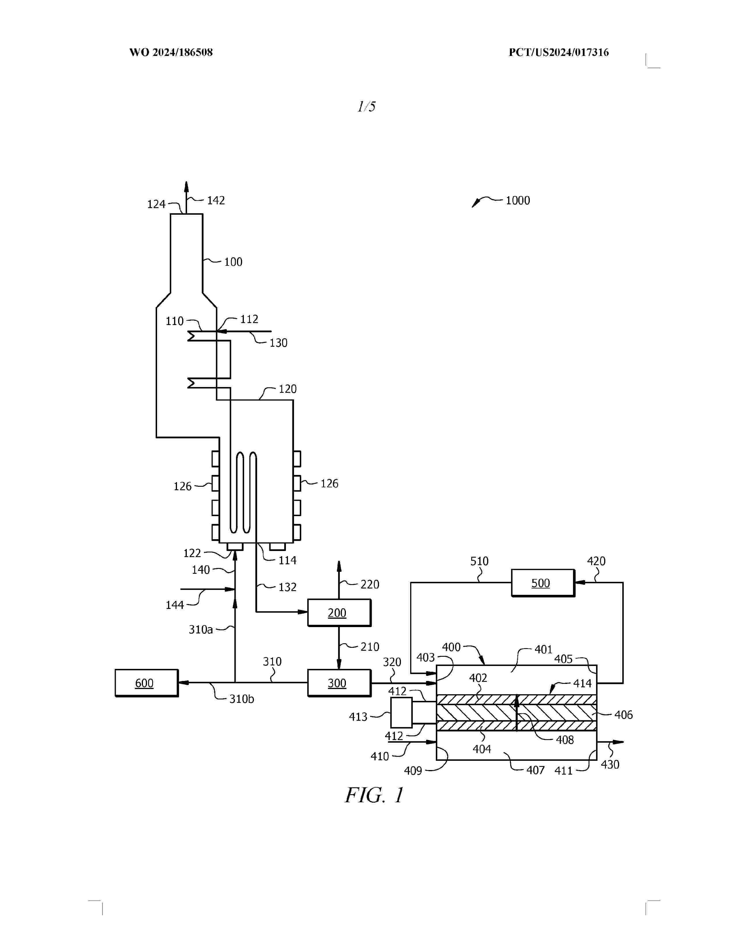
MESSSYSTEM UND ZUGEHÖRIGE MESSVERFAHREN ZUR ELEKTROCHEMISCHE IMPEDANZSPEKTROSKOPIE VON BRENNSTOFFZELLEN

NºPublicación:  DE102025124712A1 22/01/2026
Solicitante: 
BOSCH GMBH ROBERT [DE]
Robert Bosch Gesellschaft mit beschr\u00E4nkter Haftung
CN_121364408_PA

Resumen de: DE102025124712A1

Die vorliegende Erfindung betrifft ein Messsystem zur elektrochemische Impedanzspektroskopie von Brennstoffzellen, wobei das Messsystem elektrisch mit der Brennstoffzelle verbunden ist und Folgendes umfasst: eine Anregungsquelle für die Brennstoffzelle, die ein elektrisches Wechselstromanregungssignal an der Brennstoffzelle anlegt; eine Stromstärkenerfassungseinheit, die ein Ausgangsstromsignal der Brennstoffzelle erfasst; ein Gleichstrom-Sperrfilter, der mit der Stromstärkenerfassungseinheit verbunden ist und Gleichstromsignale aus dem Ausgangsstromsignal herausfiltert, um ein Wechselstromanteilsignal zu erhalten; eine Spannungserfassungseinheit, die ein Wechselspannungssignal der Brennstoffzelle erfasst; und eine Analyseeinheit für die elektrochemische Impedanzspektroskopie, die ein elektrochemisches Impedanzspektrum der Brennstoffzelle basierend auf dem Wechselstromanteilsignal und dem Wechselspannungssignal berechnet und analysiert. Die vorliegende Erfindung betrifft ferner ein entsprechendes Verfahren zum Messen elektrochemischer Impedanzspektroskopie. Mit dem Verfahren zum Messen der elektrochemischen Impedanzspektroskopie und dem zugehörigen Messsystem der vorliegenden Offenbarung kann die Genauigkeit der Abtastung, wie beim ADC, bei der Durchführung einer elektrochemischen Impedanzspektroskopiemessung von Brennstoffzellen verbessert und gleichzeitig die Echtzeitfähigkeit und Effizienz der Abtastung, wie beim ADC sichergestellt werden.

Verfahren und Vorrichtung zum Bestimmen eines Massenstroms eines Verdichtungssystems einer Brennstoffzelle

NºPublicación:  DE102024120585A1 22/01/2026
Solicitante: 
ZF CV SYSTEMS GLOBAL GMBH [CH]
ZF CV Systems Global GmbH

Resumen de: DE102024120585A1

Bereitgestellt wird ein computer-implementiertes Verfahren zum Bestimmen eines Massenstroms (mVerd) eines durch ein Verdichtungssystem (1) einer Brennstoffzelle (2) eines Kraftfahrzeugs (100) strömenden Gases. Das Verfahren umfasst ein Bereitstellen (S1) einer Abtriebsleistung (PEM,Ab) einer Elektromaschine (12) des Verdichtungssystems (1); ein Bestimmen (S2) einer Verdichtungsleistung (PVerd), mit der das Verdichtungssystem (1) das Gas verdichtet, basierend auf der Abtriebsleistung (PEM,Ab) mittels eines ersten Berechnungsmodells (200); und ein Bestimmen (S3) des Massenstroms (mVerd) basierend auf der Verdichtungsleistung (PVerd) mittels eines zweiten Berechnungsmodells (300).

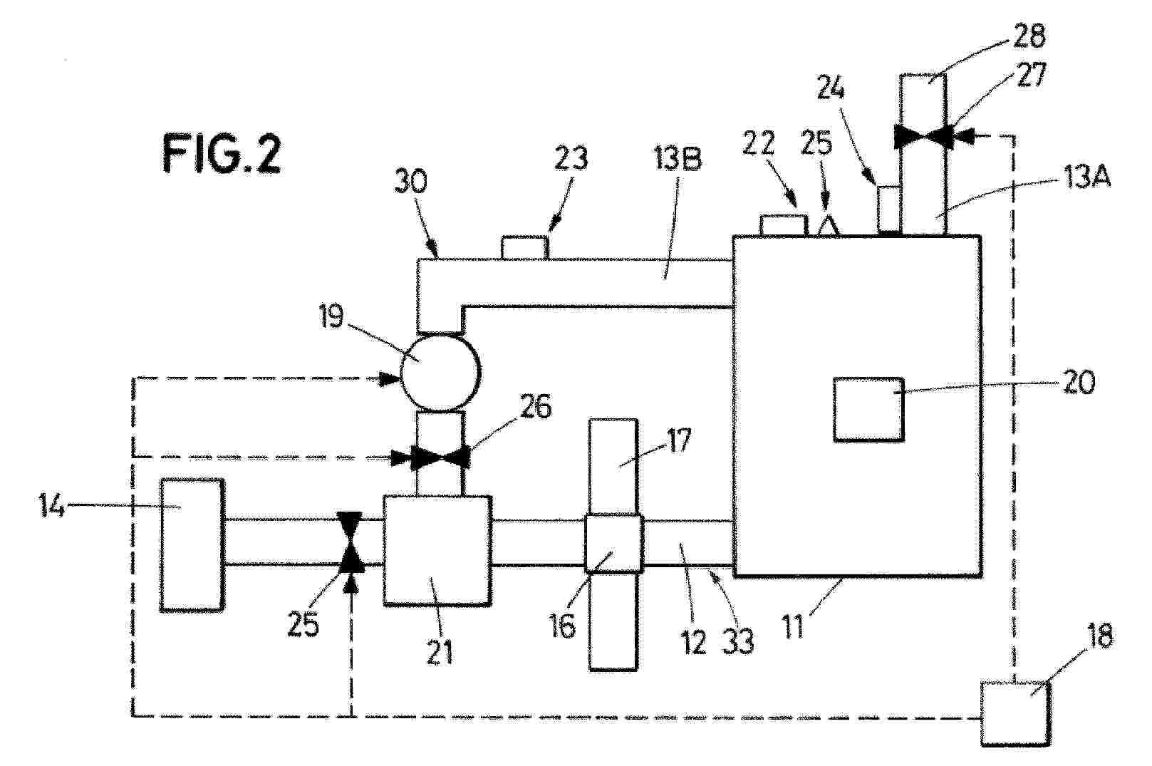
BRENNSTOFFZELLENAGGREGAT UND VERFAHREN ZU DESSEN BETRIEB

NºPublicación:  DE102024206791A1 22/01/2026
Solicitante: 
STELLANTIS AUTO SAS [FR]
STELLANTIS AUTO SAS

Resumen de: DE102024206791A1

Ein Verfahren zum Betreiben eines Brennstoffzellenaggregats mit mindestens einer Brennstoffzelle (3) und einem Kühlkreislauf, der sich durch die wenigstens eine Brennstoffzelle (3), einen Kühler (6) und eine zum Kühler (6) parallele Nebenschlussleitung (7) erstreckt, umfasst die Schritte:a) Überwachen (S1) der elektrischen Leitfähigkeit eines in dem Kühlkreislauf zirkulierenden Kühlmittels;b) wenn die Leitfähigkeit einen ersten oberen Grenzwert (σ2) erreicht (S5), während Kühlmittel über die Nebenschlussleitung (7) zirkuliert, Sperren (S9) der Zirkulation des Kühlmittels über die Nebenschlussleitung (7).

Verfahren zum Bestimmen von Eigenschaften eines in einem Anodensubsystem eines Festoxidbrennstoffzellensystems strömenden Brenngasvolumenstroms

NºPublicación:  DE102024206670A1 22/01/2026
Solicitante: 
BOSCH GMBH ROBERT [DE]
Robert Bosch Gesellschaft mit beschr\u00E4nkter Haftung

Resumen de: DE102024206670A1

Die vorgestellte Erfindung betrifft ein Verfahren (100) zum Bestimmen eines Brennwerts eines in einem Anodensubsystem (203) eines Festoxidbrennstoffzellensystems (200) strömenden Brenngasvolumenstroms,wobei das Verfahren (100) umfasst:- Ändern (101) des Brenngasvolumenstroms gemäß einer vorgegebenen Kennlinie in einem vorgegebenen Zeitbereich, während ein Zellstapel (201) des Festoxidbrennstoffzellensystems (200) bei einem Betriebspunkt betrieben wird, der zu einem konstanten durch den Zellstapel (201) bereitgestellten elektrischen Strom führt,- Ermitteln (103) eines Schätzers des Brenngasvolumenstroms, über den vorgegebenen Zeitbereich hinweg,- Ermitteln (105) einer Wasserstoffkonzentration in dem Brenngasvolumenstrom anhand der durch die Lambdasonde (205) gemessenen Werte und- Ermitteln (107) mindestens eines Kennwerts, der den Brenngasvolumenstrom quantifiziert, anhand der ermittelten Wasserstoffkonzentration,wobei der Schätzer unter Verwendung des Kennwerts aktualisiert und zum Einstellen des Festoxidbrennstoffzellensystems (200) verwendet wird.

Verfahren und Vorrichtung zum Bestimmen der Konzentration von Wasserstoff in Brennstoffzellen

NºPublicación:  DE102024206824A1 22/01/2026
Solicitante: 
BOSCH GMBH ROBERT [DE]
Robert Bosch Gesellschaft mit beschr\u00E4nkter Haftung

Resumen de: DE102024206824A1

Eine Verfahren zum Bestimmen der Wasserstoffkonzentration (CH2) in einer Anode (6) wenigstens einer Brennstoffzelle (4) umfasst: (A) mehrfaches Messen des von der wenigstens einen Brennstoffzelle (4) abgegebenen elektrischen Stromes (i) und Bereitstellen von mehreren Strom-Messwerten (i(t)); (B) mehrfaches Messen der Wasserstoffkonzentration (kH2) in einem Gasgemisch (26, 28), das aus einem Spülventil (20) ausströmt, das an einem Ausgang (9) der wenigstens einen Brennstoffzelle (20) angeordnet ist, und Bereitstellen von mehreren Wasserstoffkonzentration-Messwerten (kH2(t)); (C) Berechnen von relativen Strom-Messwerte (irel(t)) aus den gemessenen Strom-Messwerten (i(t)) und Berechnen von relativen Wasserstoffkonzentration-Messwerten (krel(t)) aus den gemessenen Wasserstoffkonzentration-Messwerten (kH2(t)); (D) Bestimmen von skalierten Strom-Messwerten (iscal(t)) durch Multiplizieren der relativen Strom-Messwerte (irel(t)) mit einem Strom-Skalierungsfaktor (gi) und Bestimmen von skalierten Wasserstoffkonzentration-Messwerten (kscal(t)) durch Multiplizieren der relative Wasserstoffkonzentration-Messwerte (krel(t)) mit einem Wasserstoffkonzentration-Skalierungsfaktor (gH2); (E) Bilden von Differenzwerten (diff(t)) aus den skalierten Strom-Messwerten (iscal(t)) und den skalierten Wasserstoffkonzentration-Messwerten (kscal(t)); (F) Integrieren oder Summieren der Differenzwerte (diff(t)) über die Zeit (t); und (G) Addieren eines Bias-Wertes (GH2) zu dem Integral D(T) oder zu der

Verfahren zum Bestimmen von Eigenschaften eines in einem Anodensubsystem eines Festoxidbrennstoffzellensystems strömenden Brenngasvolumenstroms

NºPublicación:  DE102024206667A1 22/01/2026
Solicitante: 
BOSCH GMBH ROBERT [DE]
Robert Bosch Gesellschaft mit beschr\u00E4nkter Haftung

Resumen de: DE102024206667A1

Die vorgestellte Erfindung betrifft ein Verfahren (100) zum Bestimmen von Eigenschaften eines in einem Anodensubsystem (203) eines Festoxidbrennstoffzellensystems (200) strömenden Brenngasvolumenstroms, wobei das Verfahren (100) umfasst:- Ändern (101) des Brenngasvolumenstroms gemäß einer vorgegebenen Kennlinie in einem vorgegebenen Zeitbereich, während ein Zellstapel (201) des Festoxidbrennstoffzellensystems (200) bei einer Anzahl Betriebspunkte betrieben wird, die zu einem konstanten durch den Zellstapel (201) bereitgestellten elektrischen Strom führt,- Messen (103) des Brenngasvolumenstroms mittels einer an dem Festoxidbrennstoffzellensystem angeordneten Lambdasonde (205) über den vorgegebenen Zeitbereich hinweg,- Ermitteln (105) einer Größe, die den Brenngasvolumenstrom quantifiziert, anhand der durch die Lambdasonde (205) gemessenen Werte und- Ermitteln (107) mindestens eines Kennwerts, der mindestens eine Eigenschaft des Brenngasvolumenstroms beschreibt, anhand des ermittelten Brenngasvolumenstroms,wobei die mindestens eine Eigenschaft des Brenngasvolumenstroms einen Brennwert des Brenngasvolumenstroms umfasst.

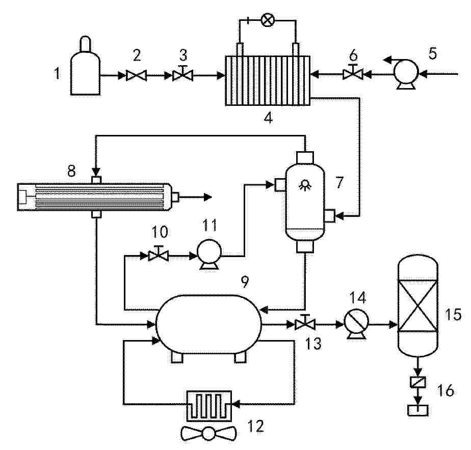
Anlage zur Umwandlung eines Brennstoffs in elektrische Leistung und Wärme

NºPublicación:  DE102024206690A1 22/01/2026
Solicitante: 
BOSCH GMBH ROBERT [DE]
Robert Bosch Gesellschaft mit beschr\u00E4nkter Haftung

Resumen de: DE102024206690A1

Die Erfindung betrifft eine Anlage (10) zur Umwandlung eines Brennstoffs in elektrische Leistung und Wärme, aufweisend wenigstens ein Brennstoffaufbereitungssystem (12) mit einem Entschwefelungsfilter, ein Brennstoffzellensystem (14), wobei strömungstechnisch zwischen dem Brennstoffaufbereitungssystem (12) und dem Brennstoffzellensystem (14) eine Sensoreinheit (20) zum Analysieren des Brennstoffs angeordnet ist. Es wird vorgeschlagen, dass die Sensoreinheit (20) einen Metalloxidsensor aufweist, welcher zum Detektieren von Schwefel im Brennstoff eingerichtet ist.

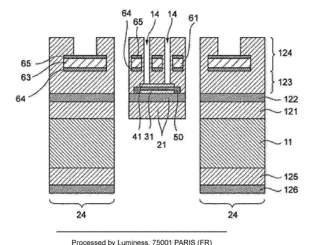
MEMBRANELEKTRODENANORDNUNG UND BRENNSTOFFZELLE

NºPublicación:  DE102025124094A1 22/01/2026
Solicitante: 
TOYOTA MOTOR CO LTD [JP]
TOYOTA JIDOSHA KABUSHIKI KAISHA
CN_121366915_PA

Resumen de: DE102025124094A1

Membranelektrodenanordnung (4) umfasst eine Festpolymerelektrolytmembran (5), eine Anodenkatalysatorschicht, die auf einer ersten Oberfläche der Festpolymerelektrolytmembran (5) angeordnet ist, und eine Kathodenkatalysatorschicht, die auf einer zweiten Oberfläche der Festpolymerelektrolytmembran (5) angeordnet ist, wobei die Membranelektrodenanordnung ein Metallion, das aus einem Cerion und einem Manganion ausgewählt ist, umfasst; und eine Wirtsverbindung, die zusammen mit dem Metallion eine Clathratverbindung bilden kann. Die Kathodenkatalysatorschicht enthält einen Elektrodkatalysator und ein lonomer, wobei der Elektrodkatalysator ein Metallkatalysator ist, der ein Katalysatormetall enthält, und einen Träger, der das Katalysatormetall trägt, und ein lonomerbedeckungsverhältnis des Katalysatormetalls in der Kathodenkatalysatorschicht 40 % oder weniger beträgt.

Verfahren zum Betreiben eines Festoxidbrennstoffzellensystems

NºPublicación:  DE102024206666A1 22/01/2026
Solicitante: 
BOSCH GMBH ROBERT [DE]
Robert Bosch Gesellschaft mit beschr\u00E4nkter Haftung

Resumen de: DE102024206666A1

Die vorgestellte Erfindung betrifft ein Verfahren (100) zum Betreiben eines Festoxidbrennstoffzellensystems (200), wobei das Verfahren (100) umfasst:- Einstellen (101) einer Anzahl vorgegebener Betriebspunkte des Festoxidbrennstoffzellensystems (200),- Ermitteln (103) eines Verlaufs einer an einem Zellstapel (201) des Festoxidbrennstoffzellensystems (200) anliegenden Spannung, während der Anzahl vorgegebener Betriebspunkte,- Ermitteln (105) eines Korrekturfaktors, der eine Abweichung des ermittelten Spannungsverlaufs von einem vorgegebenen Referenzspannungsverlauf minimiert,- Einstellen (107) des Festoxidbrennstoffzellensystems (200) unter Verwendung des Korrekturfaktors, wobei die Anzahl vorgegebener Betriebspunkteeinen konstanten Volumenstrom eines Gases in einem Anodensubsystem (203) des Festoxidbrennstoffzellensystems (200) generiert.

Strahlpumpe mit einem Fluidventil und Brennstoffzelle

NºPublicación:  DE102024120318A1 22/01/2026
Solicitante: 
SCHAEFFLER TECHNOLOGIES AG [DE]
Schaeffler Technologies AG & Co. KG

Resumen de: DE102024120318A1

Die Erfindung betrifft eine Strahlpumpe (10) für eine mit Brenngas betreibbare Brennstoffzelle, aufweisend eine Austrittsöffnung (12) zur Ausgabe eines das Brenngas aufweisenden Brenngasfluids an die Brennstoffzelle, einen Zirkulationseingang (14) zur Rückführung eines nach der Verarbeitung des Brenngasfluids in der Brennstoffzelle bestehenden Rückführfluids von der Brennstoffzelle und einen an eine Brenngasversorgung anschließbaren Brenngaseinlass (16) zur Einleitung des Brenngases, eine den Zirkulationseingang (14) mit der Austrittsöffnung (12) verbindende Mischkammer (20), eine das Brenngas ausgehend von dem Brenngaseinlass (16) über einen eingangsseitigen Eingangsbereich (22) und eine daran anschließende Düsenaustrittsöffnung (24) in die Mischkammer (20) ausgebbare Strahlpumpendüse (26), wobei die Düsenaustrittsöffnung (24) abhängig von einer Hubstellung eines Hubelements (30) verstellbar ist und ein Fluidventil (48) in Bezug auf eine Brenngasströmung des Brenngases wirksam zwischen dem Brenngaseinlass (16) und dem Eingangsbereich (22) angeordnet ist. Weiterhin betrifft die Erfindung eine Brennstoffzelle.

DC-DC-VERFAHREN UND -VORRICHTUNG ZUR STEUERUNG EINER BRENNSTOFFZELLE

NºPublicación:  DE102025124957A1 22/01/2026
Solicitante: 
BOSCH GMBH ROBERT [DE]
Robert Bosch Gesellschaft mit beschr\u00E4nkter Haftung

Resumen de: DE102025124957A1

Ein DC-DC-Verfahren zum Steuern einer Brennstoffzelle, umfassend: Identifizieren, ob ein aktueller DC-DC in einem Betriebszustand zu einem Buck-BuckBoost-Boost-System oder einem Boost-System gehört, wobei das Buck-BuckBoost-Boost-System und das Boost-System jeweils mehrere Schaltröhren umfassen; Erhalten einer erforderlichen Stapelstromanforderung, eines tatsächlichen Stapelstroms und eines tatsächlichen Phasenstroms des identifizierten Systems, Erhalten einer Phasenstromanforderung des identifizierten Systems basierend auf einer Differenz zwischen der Stapelstromanforderung und dem tatsächlichen Stapelstrom und Berechnen einer Differenz zwischen der Phasenstromanforderung und dem tatsächlichen Phasenstrom, um eine vom identifizierten System Gesamttastgradanforderung zu erhalten; und Bestimmen des Betriebsmodus des Systems entsprechend der Gesamttastgradanforderung, und Feststellen des Tastgrads jeder Schaltröhre im identifizierten System entsprechend dem Betriebsmodus, sodass das identifizierte System die Gesamttastgradanforderung erfüllt. Vorgeschlagen wird ferner eine DC-DC-Vorrichtung zum Steuern einer Brennstoffzelle, die Folgendes umfasst: ein Buck-BuckBoost-Boost-System und ein Boost-System, die den DC-DC bilden, wobei das Buck-BuckBoost-Boost-System und das Boost-System jeweils mehrere Schaltröhren umfassen; und ein Steuergerät, das mit dem Buck-BuckBoost-Boost-System und dem Boost-System kommuniziert und elektrisch verbunden ist und zur Durchführung des Ve

Verfahren zum Betreiben eines Festoxidbrenns

NºPublicación:  DE102024206661A1 22/01/2026
Solicitante: 
BOSCH GMBH ROBERT [DE]
Robert Bosch Gesellschaft mit beschr\u00E4nkter Haftung

Resumen de: DE102024206661A1

Die vorgestellte Erfindung betrifft ein Verfahren (100) zum Betreiben eines Festoxidbrennstoffzellensystems (200),wobei das Verfahren (100) umfasst:- Ändern (101) eines in einem Anodensubsystem (203) des Festoxidbrennstoffzellensystems (200) strömenden Brenngasvolumenstroms gemäß einer vorgegebenen Kennlinie in einem vorgegebenen Zeitbereich, während ein Zellstapel (201) des Festoxidbrennstoffzellensystems (200) bei einer Anzahl Betriebspunkte betrieben wird, die zu einem konstanten durch den Zellstapel (201) bereitgestellten elektrischen Strom führt,- Ermitteln (103) einer Größe, die den Brenngasvolumenstrom quantifiziert,- Ermitteln (105) eines Brennwerts des Brenngasvolumenstroms, anhand der ermittelten Größe des Volumenstroms,- Ermitteln (107) des Lambdawertes des Brenngasvolumenstroms mittels einer an einem Anodeneingang des Festoxidbrennstoffzellensystems (200) angeordneten Lambdasonde und deren Pumpstroms und/oder Pumpspannung als Messgröße,- Ermitteln (109) eines Verhältnisses von Sauerstoff zu Kohlenstoff in dem Brenngasvolumenstrom, anhand des Brennwerts und durch die Lambdasonde (205) ermittelter Werte,- Einstellen (111) des Festoxidbrennstoffzellensystems (200) in Abhängigkeit des ermittelten Verhältnisses von Sauerstoff zu Kohlenstoff in dem Brenngasvolumenstrom.

BRENNSTOFFZELLENSYSTEM UND VERFAHREN ZU DESSEN STEUERUNG

NºPublicación:  DE102024136883A1 22/01/2026
Solicitante: 
HYUNDAI MOTOR CO LTD [KR]
KIA CORP [KR]
Hyundai Motor Company,
Kia Corporation
CN_121366908_PA

Resumen de: DE102024136883A1

Offenbart werden ein Brennstoffzellensystem und ein Verfahren zu dessen Steuerung. Das Brennstoffzellensystem umfasst eine Wasserstoffdruck-Einstellvorrichtung, die derart konfiguriert ist, dass sie einen Wasserstoffzufuhrdruck von Wasserstoff, der einem Brennstoffzellen-Stack zugeführt wird, einstellt, und eine Steuerung, die derart konfiguriert ist, dass sie auf Grundlage eines Zustands des Brennstoffzellen-Stacks bestimmt, ob ein Steuerungsmodus zur Steuerung des Wasserstoffzufuhrdrucks erforderlich ist oder nicht, und die Wasserstoffdruck-Einstellvorrichtung derart steuert, den Wasserstoffzufuhrdruck in einem vorbestimmten Druckbereich auf Grundlage einer Druckerhöhungsrate oder einer Druckverringerungsrate zu verändern, wenn der Steuerungsmodus erforderlich ist.

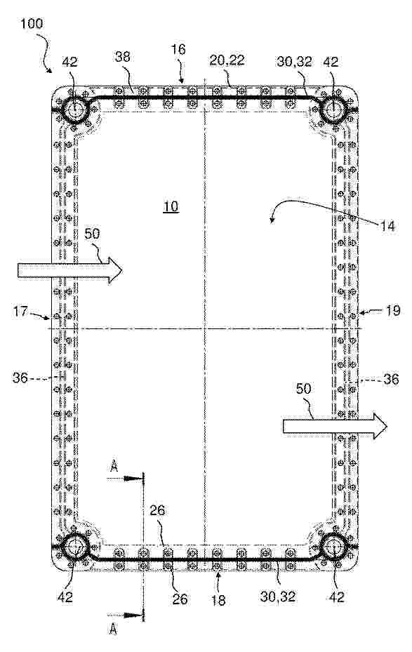
Bipolarplatte und eine Bipolarplatte umfassende elektrochemische Vorrichtung

NºPublicación:  DE102024120743A1 22/01/2026
Solicitante: 
EKPO FUEL CELL TECH GMBH [DE]
EKPO Fuel Cell Technologies GmbH

Resumen de: DE102024120743A1

Um eine Bipolarplatte für eine elektrochemische Einheit einer elektrochemischen Vorrichtung, die mehrere elektrochemische Einheiten umfasst, welche längs einer Stapelrichtung aufeinander folgen, wobei die Bipolarplatte eine Anodengas-Durchtrittsöffnung, eine Kathodengas-Durchtrittsöffnung, einen elektrochemisch aktiven Bereich, einen Anodengas-Verteilbereich und einen Kathodengas-Verteilbereich umfasst, wobei der Anodengas-Verteilbereich von einem Anodengas durchströmbare Anodengas-Strömungskanäle und der Kathodengas-Verteilbereich von einem Kathodengas durchströmbare Kathodengas-Strömungskanäle umfasst, wobei die Anodengas-Strömungskanäle und die Kathodengas-Strömungskanäle derart relativ zueinander angeordnet sind, dass eine Projektion mindestens eines Anodengas-Strömungskanals auf eine kathodenseitige Bipolarplattenlage senkrecht zur Planfläche einer kathodenseitigen Bipolarplattenlage einen Kathodengas-Strömungskanal an einem Kreuzungsbereich kreuzt, zu schaffen, bei welcher eine Schweißnaht, an einem Kreuzungsbereich eine größere Längserstreckung aufweisen kann, ohne dass ein Trägerrahmen einer Membran-Elektroden-Anordnung einer elektrochemischen Einheit sich zu weit in den Anodengas-Strömungskanal hinein wölbt, wird vorgeschlagen, dass mindestens ein Anodengas-Strömungskanal dadurch lokal aufgeweitet ist, dass mindestens ein den Anodengas-Strömungskanal begrenzender anodenseitiger Steg in mindestens einem Abschnitt längs einer senkrecht zu ein

Bestimmung der Stickstoffkonzentration in einem anodenseitigen Brennstoffpfad einer Brennstoffzelleneinrichtung

NºPublicación:  DE102024206672A1 22/01/2026
Solicitante: 
SCHAEFFLER TECHNOLOGIES AG [DE]
Schaeffler Technologies AG & Co. KG

Resumen de: DE102024206672A1

Die Erfindung schlägt ein Verfahren zur Bestimmung der Stickstoffkonzentration in einem anodenseitigen Brennstoffpfad (12) einer Brennstoffzelleneinrichtung (10) vor, welche einen Brennstoffzellenstapel (11) aus Brennstoffzellen (60) sowie einen Anodenpfad (12) und einen Kathodenpfad (16) mit den jeweiligen Einlässen (13, 17) und Auslässen (14, 18) umfasst. Das Verfahren umfasst erfindungsgemäß folgende Schritte: Erfassung (S1) wenigstens eines Betriebsparameters betreffend den momentanen Betriebszustand des Brennstoffzellenstapels (11); Erfassung (S2) einer Strömungsrate und/oder eines Drucks im Verlauf des Anodenpfads (12) und/oder einer Strömungsrate und/oder eines Drucks im Verlauf des Kathodenpfads (16); Durchführung (S3) einer elektrochemischen Impedanzspektroskopie an dem Brennstoffzellenstapel (11), um eine Anzahl von n komplexen Impedanzwerten für eine Anzahl von n verschiedene Anregungsfrequenzen zu erfassen, wobei n im Bereich von 2 bis 10 liegt; Auswertung (S4) der erfassten Größen (d1, d2, ... dN) unter Verwendung eines vorab ermittelten Regressionsmodells (M), um einen Schätzwert (ESTC) für die Stickstoffkonzentration im anodenseitigen Brennstoffpfad (12) zu bestimmen. Ferner schlägt die Erfindung eine entsprechende Vorrichtung sowie eine Verwendung vor.

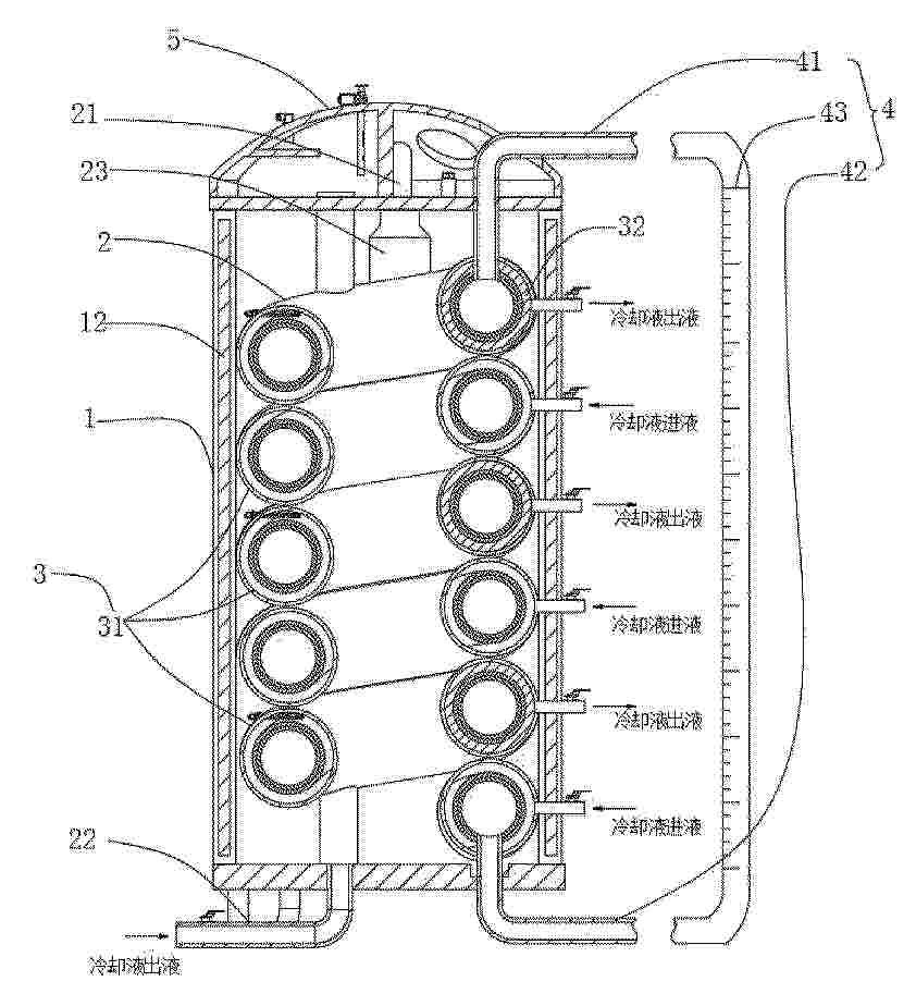
Wärmeübertrager und Verfahren zur Herstellung

NºPublicación:  DE102024120526A1 22/01/2026
Solicitante: 
MAHLE INT GMBH [DE]
MAHLE International GmbH

Resumen de: DE102024120526A1

Die Erfindung betrifft einen Wärmeübertrager (1) mit einem ersten Strömungskanal (2) für die Durchströmung eines ersten Fluids (3) und mit einem zweiten Strömungskanal (4) für die Durchströmung eines zweiten Fluids (5), wobei der erste Strömungskanal (2) und der zweite Strömungskanal (4) wärmeübertragend in Kontakt stehen, derart, dass eine Wärmeübertragung zwischen dem ersten Fluid (3) und dem zweiten Fluid (5) durchführbar ist, wobei in dem ersten Kanal eine Eindüseinrichtung (6) vorgesehen ist zur Eindüsung eines Mediums (7), insbesondere eines flüssigen Mediums, eines Aerosols etc., zur Reinigung des ersten Fluids (3), wobei der erste Strömungskanal (2) zumindest teilweise oder vollständig mit einer ionischen Flüssigkeit (8) beschichtet ist, so dass das erste Fluid (3) und das Medium (7) bei der Durchströmung des ersten Strömungskanals (2) mit der ionischen Flüssigkeit (8) in Kontakt treten. Auch betrifft die Erfindung ein Verfahren zur Herstellung eines Wärmeübertragers (1).

Verfahren zum Fügen und Richten von Bipolarplatten

NºPublicación:  DE102025110301A1 22/01/2026
Solicitante: 
BOSCH GMBH ROBERT [DE]
Robert Bosch Gesellschaft mit beschr\u00E4nkter Haftung

Resumen de: DE102025110301A1

Die Erfindung bezieht sich auf ein Verfahren zum Bearbeiten und Fügen von Bipolarplatten (10), die zur Abdichtung zwischen einem aktiven Bereich (14) und Medienports (18, 20, 22, 24, 26) mit Dichtnähten (56) versehen werden. Es werden zumindest nachfolgende Verfahrensschritte durchlaufen: In Verfahrenschritt a) erfolgt eine Bereitstellung einer verzogenen Bipolarplatte (10, 54) in einer Bearbeitungs- und Fügestation (28), in Verfahrensschritt b) ein Anstellen von Bearbeitungswerkzeugen (34, 38) und Fügewerkzeugen (31) an die verzogene Bipolarplatte (10, 54) derart, dass die Fügewerkzeuge (31) eine Halte- und Fügekraft (64) auf die verzogene Bipolarplatte (10, 54) ausüben. Gemäß Verfahrensschritt c) kontaktieren die Bearbeitungswerkzeuge (34, 38) die verzogene Bipolarplatte (10, 54) und erzeugen eine plastische Verformung (68) der verzogenen Bipolarplatte (10, 54) durch eine Richtkraft (62). Anschließend erfolgt in Verfahrensschritt d) eine stoffschlüssig erzeugte elektrische Kontaktierung (82) auf einer Seite der zuvor gerichteten Bipolarplatte (10, 84). Anschließend erfolgt nach Verfahrensschritt e) ein Öffnen (78, 80) der Bearbeitungs- und Fügestation (28) und eine Entnahme der gefügten und gericheteten Bipolarplatte (10, 84).

Spülen und Entwässern eines Brennstoffzellensystems

NºPublicación:  DE102024206823A1 22/01/2026
Solicitante: 
BOSCH GMBH ROBERT [DE]
Robert Bosch Gesellschaft mit beschr\u00E4nkter Haftung

Resumen de: DE102024206823A1

Ein Verfahren zum Optimieren des Spülens wenigstens einer Brennstoffzelle, insbesondere eines Brennstoffzellenstacks (18), in einem Brennstoffzellensystem (10) mit einem Spülventil (24), umfasst, einen tatsächlichen Durchfluss des Spülventils (24) zu bestimmen und eine Spülzeit zum Spülen des Brennstoffzellensystems (10) unter Berücksichtigung des zuvor bestimmte tatsächlichen Durchflusses des Spülventils (24) festzulegen. Ein Verfahren zum Bestimmen des Durchflusses durch ein Spülventil (24) in einem Brennstoffzellensystem (10) umfasst, das Wasserstoffdosierventil (14) des Brennstoffzellensystems (10) zu schließen; den Druck an der Anode (19) des Brennstoffzellenstacks (18) zu messen und den Gradienten eines Druckabfalls an der Anode (19) bei geschlossenem Wasserstoffdosierventil (14) zu bestimmen; das Spülventil (24) zu öffnen; den Druck an der Anode (19) des Brennstoffzellenstacks (18) zu messen und den Gradienten des Druckabfalls an der Anode (19) bei geöffnetem Spülventil (24) zu bestimmen; und aus der Änderung Gradienten des Druckabfalls an der Anode (19), der durch das Öffnen des Spülventils (24) verursacht wird, den Durchfluss durch das Spülventil (24) zu bestimmen.

Verfahren zur Bildung von Stapeln einzelner bogenförmiger Lagen

NºPublicación:  DE102024206863A1 22/01/2026
Solicitante: 
BOSCH GMBH ROBERT [DE]
Robert Bosch Gesellschaft mit beschr\u00E4nkter Haftung

Resumen de: DE102024206863A1

Die Erfindung bezieht sich auf ein Verfahren zur Bildung von Stapeln (94) aus einzelnen, bogenförmigen, zumindest ersten und zweiten Lagen (38, 40) mittels einer Stapelvorrichtung (36), der die zumindest ersten und zweiten Lagen (38, 40) durch Rundschalttische (28, 30) zugeführt werden. Es werden zumindest die nachfolgenden Verfahrensschritte durchlaufen: Gemäß Verfahrensschritt a) erfolgt ein Zuführen vereinzelter erster und zweiter Lagen (38, 40) über Zuführeinheiten (16, 18) nach Ausrichten der ersten und zweiten Lagen (38, 40) in Längs, Quer- und Z-Richtung zur Übergabe an die Rundschalttische (28, 30). Gemäß Verfahrensschritt b) erfolgt eine Ausführung von Radialbewegungen (74) von jeweils erste Lagen (38) fixierenden Werkstückträgersegmenten (72) und von jeweils zweite Lagen (40) fixierenden Werkstückträgersegmenten (72) in alternierender Folge derart, dass gemäß Verfahrensschritt c) bei einer Radialbewegung (74) der ersten oder zweiten Lagen (38, 40) in eine Stapelposition (68) oberhalb des Stapels (94) eine Separationsfolie (96) die jeweils erste oder zweite Lage (38, 40) zumindest teilweise umwickelt. Gemäß Verfahrensschritt d) wird die jeweils zuoberst liegende erste oder zweite Lage (38, 40) des Stapels (94) durch Niederhalter (80, 82) fixiert. Gemäß Verfahrensschritt e) wird der gebildete Stapel (94) um eine Schichtdicke der ersten oder der zweiten Lage (38, 40) vertikal nach unten bewegt.

METHOD FOR PREPARATION OF IRON SALT BATTERY ELECTROLYTE

NºPublicación:  EP4683016A1 21/01/2026
Solicitante: 
VOLTSTORAGE GMBH [DE]
VoltStorage GmbH
EP_4683016_PA

Resumen de: EP4683016A1

The invention provides a method for preparation of an iron salt battery electrolyte. The method comprises the following steps: supplying iron(III) chloride, FeCl<sub>3</sub>, into an agitated reactor containing a dilute solution of hydrochloric acid, HCl, having a pH value less than 1; supplying elemental iron, Fe, into the reactor, wherein the elemental iron reacts with iron(III) to iron(II); monitoring the pH value of reactor solution; using the monitored pH value to control supplying additional hydrochloric acid, HCl, into the reactor in order to maintain a pH of the reactor solution less than 1; and converting excess Fe<sup>3+</sup> to Fe<sup>2+</sup> in an electrochemical cell having a membrane or a separator between an anode and a cathode thereof by directing the reactor solution from the reactor through the anode of the electrochemical cell. A flow rate of the reactor solution through the anode is controlled to obtain a final Fe<sup>3+</sup> concentration in the anode outlet FeCl<sub>2</sub> stream of 15% or less than 15% of a total dissolved iron concentration as the iron salt battery electrolyte.

CERAMIC REVERSIBLE CELL, STEAM ELECTROLYSIS CELL COMPRISING SAME, FUEL CELL AND AMMONIA CO-ELECTROLYSIS CELL

NºPublicación:  EP4682297A1 21/01/2026
Solicitante: 
UNIV HOKKAIDO NAT UNIV CORP [JP]
National University Corporation Hokkaido University
EP_4682297_PA

Resumen de: EP4682297A1

A ceramic reversible cell including any one or more selected from the group consisting of a perovskite-type metal oxide, a hydrate of the perovskite-type metal oxide and a hydride of the perovskite-type metal oxide, in which the any one or more selected from the group consisting of the perovskite-type metal oxide, the hydrate of the perovskite-type metal oxide, and the hydride of the perovskite-type metal oxide include A (A being any one or more selected from the group consisting of Ba, Sr and Ca), B (B being any one or more selected from the group consisting of Zr, Sn, Ce, Ti and Hf), and M (M being any one or more selected from the group consisting of In, Fe, Cr and Mn) as main metal atoms, and satisfy the predetermined formula and include hydride ions when brought into an equilibrium state by contact with dry hydrogen having a water content of 20 ppm or less in a volume ratio at 500°C to 900°C.

AIR PROCESSING UNIT, FUEL CELL ASSEMBLY AND FUEL CELL VEHICLE

NºPublicación:  EP4683011A1 21/01/2026
Solicitante: 
VOLVO TRUCK CORP [SE]
VOLVO TRUCK CORPORATION
EP_4683011_PA

Resumen de: EP4683011A1

A fuel cell assembly for a fuel cell vehicle is provided that comprises an enclosure comprising a fuel cell stack, and an air processing unit, and a fuel cell controller comprising processing circuitry configured to monitor and control operation of the fuel cell assembly. The air processing unit comprises a humidifier housing comprising respective ports configured to receive a first flow of compressed air, provide a second flow of humidified compressed air to the fuel cell stack, receive a third flow of exhaust air expelled from the fuel cell stack, and provide a fourth flow of dehumidified exhaust air. The housing is configured to seat therein two or more humidifier membrane cartridge modules that are removable and replaceable. A removable cover is configured to be coupled to the housing, the cover comprising at least one closable opening configured to be opened to provide access to an interior of the housing.

REINFORCED ION-CONDUCTING MEMBRANE

NºPublicación:  EP4681267A1 21/01/2026
Solicitante: 
JOHNSON MATTHEY HYDROGEN TECHNOLOGIES LTD [GB]
Johnson Matthey Hydrogen Technologies Limited
KR_20250162764_PA

Resumen de: CN120476490A

The present invention provides a reinforced ion conducting membrane comprising: (a) a reinforcement layer comprising a porous polymer structure; and (b) a polymer ion conducting membrane material impregnated within the porous polymer structure; wherein the porous polymer structure comprises a polymer backbone based on a nitrogen-containing heterocyclic ring, and the polymer ion-conducting membrane material has a transition temperature T alpha in the range of from 60 DEG C to 80 DEG C and including end values.

CONTROL DEVICE FOR A FUEL CELL SYSTEM

NºPublicación:  EP4681266A1 21/01/2026
Solicitante: 
MTU AERO ENGINES AG [DE]
MTU Aero Engines AG
WO_2024188395_PA

Resumen de: WO2024188395A1

The present invention relates to a control device for a fuel cell system, in particular a fuel cell system of a drive system of an aircraft, which has at least one fuel cell, an air supply line with an air supply device for controlling an air mass flow which is supplied to the fuel cell, and an air humidification device for humidifying the air in the air supply line, characterised by an air humidity detection device for detecting or estimating an air humidity, a first control loop for controlling the air mass flow as a function of the detected or estimated air humidity, and a second control loop for controlling a humidification parameter of the air humidification device as a function of the detected or estimated air humidity and/or the air mass flow.

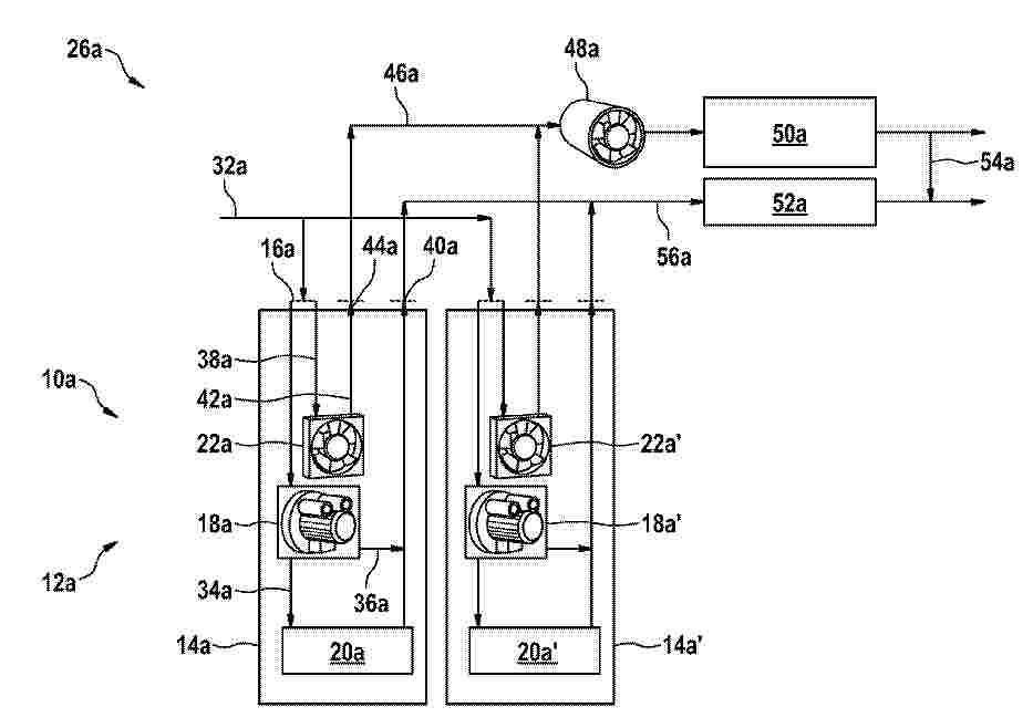
FUEL CELL SYSTEM

NºPublicación:  EP4681265A1 21/01/2026
Solicitante: 
HYDAC COOLING GMBH [DE]
Hydac Cooling GmbH
KR_20250163341_PA

Resumen de: AU2024234878A1

The invention relates to a fuel cell system consisting of at least - a fuel cell (12), - a coolant circuit (16) having a coolant pump (18) and a heat exchanger (20), - a water separator (34), and - a fan (22), which generates a gaseous medium flow, in particular an air flow, in the direction of the heat exchanger (20), wherein by means of a cooling device, which has a conveying device (46), the water separated in the water separator (34) reaches a discharge device (50) which, by means of spray nozzles (52), sprays the water into the environment, characterised in that by means of the spray nozzles (52), the discharge device (50) sprays the water in a direction opposite the direction of the medium flow generated by the fan (22).

ELECTROCHEMICAL CELLS WITH REDOX STABLE FUEL ELECTRODE SUPPORTS

NºPublicación:  EP4683015A2 21/01/2026
Solicitante: 
BLOOM ENERGY CORP [US]
Bloom Energy Corporation
EP_4683015_PA

Resumen de: EP4683015A2

An electrochemical cell (100A) includes an electrolyte (200) having a first side and an opposing second side, an oxygen electrode (400) located on the first side of the electrolyte (200), a fuel electrode support (320), and an active fuel electrode (310) located between the fuel electrode support (320) and the second side of the electrolyte (200). The fuel electrode support (320) includes a cermet containing a nickel containing phase and a ceramic phase. The ceramic phase may include 4 to 10 mol percent (mol%) yttria stabilized zirconia ((4-10)-YSZ)) or zirconia doped with at least one of alumina, ceria or titania. Alternatively or in addition, the nickel containing phase may include nickel doped with at least one of magnesium oxide, calcium oxide, or titanium oxide.

POLYMER ELECTROLYTE MEMBRANE AND MEMBRANE-ELECTRODE ASSEMBLY COMPRISING SAME

NºPublicación:  EP4683013A1 21/01/2026
Solicitante: 
KOLON INC [KR]
Kolon Industries, Inc
EP_4683013_A1

Resumen de: EP4683013A1

The present invention relates to a polymer electrolyte membrane comprising an ion conductor having ionic conductivity, wherein the polymer electrolyte membrane has an initial storage modulus in machine direction (MD) of 500 MPa or greater and an initial storage modulus in transverse direction (TD) / an initial storage modulus in machine direction (MD) of 0.5-1.0.

POWER GENERATING APPARATUS, SYSTEM AND METHOD FOR UTILISING OF THE CHEMICAL ENERGY OF A FLOWING IONIC MEDIUM, IN PARTICULAR WASTE WATER

NºPublicación:  EP4681268A1 21/01/2026
Solicitante: 
GUNYA ANDRAS [HU]
GUNYA KOVACS ALINA [HU]
Gunya, Andr\u00E1s,
Gunya-Kovacs, Alina
CN_120917588_PA

Resumen de: CN120917588A

The invention relates to a power generation device (10) using the chemical energy of a flowing ionic medium (100), in particular waste water, comprising a frame (12) and an anode (14) and a cathode (16) which are fixed to the frame (12) and together define an open space (200), the space (200) between the anode (14) and the cathode (16) has an inlet opening (210) allowing the flowing ionic medium (100) to enter the space (200) and an outlet opening (220) allowing the flowing ionic medium (100) to exit the space (200), and the space (200) is separated from the outside by a flow slowing element (20) allowing the ionic medium (100) to pass through the inlet opening (210). The invention also relates to a system for power generation and to a method for utilizing the chemical energy of a flowing ionic medium (100), in particular wastewater.

POLYMER ELECTROLYTE MEMBRANE, METHOD FOR MANUFACTURING SAME, AND ELECTROCHEMICAL DEVICE COMPRISING SAME

NºPublicación:  EP4683012A1 21/01/2026
Solicitante: 
KOLON INC [KR]
Kolon Industries, Inc
EP_4683012_PA

Resumen de: EP4683012A1

The present disclosure relates to a polymer electrolyte membrane, a membrane-electrode assembly comprising same, and an electrochemical device. The polymer electrolyte membrane comprises a porous support and an ion conductor filled in pores of the porous support, wherein the porous support is a polymer electrolyte which is a metal porous support. According to the present disclosure, provided is a polymer electrolyte membrane of which chemical durability and mechanical durability are improved at the same time and which can provide good battery performance.

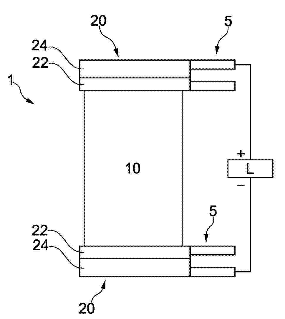
FUEL CELL EXHAUST SYSTEM, FUEL CELL SYSTEM, AND METHOD FOR REDUCING WATER CONTENT IN FUEL CELL EXHAUST

NºPublicación:  EP4683009A1 21/01/2026
Solicitante: 
PUREM GMBH [DE]
Purem GmbH
EP_4683009_PA

Resumen de: EP4683009A1

Eine Brennstoffzellenabgasanlage (20) für ein Brennstoffzellensystem (10), insbesondere in einem Fahrzeug, umfasst eine Wärmetauscheranordnung (24) mit einem von Brennstoffzellenabgas (B) durchströmbaren ersten Wärmetauscherbereich (26) und einem von Kühlgas (L) durchströmbaren zweiten Wärmetauscherbereich (30), wobei der erste Wärmetauscherbereich (24) und der zweite Wärmetauscherbereich (30) zur Übertragung von Wärme von dem Brennstoffzellenabgas (B) auf das Kühlgas (L) in Wärmeübertragungswechselwirkung stehen, sowie eine Mischanordnung (46) zur Aufnahme von aus dem ersten Wärmetauscherbereich (36) abgegebenem, gekühltem Brennstoffzellenabgas (B) und aus dem zweiten Wärmetauscherbereich (30) abgegebenem, erwärmtem Kühlgas (L) in einem Mischvolumen (48) zur Erzeugung eines Gemisches (G) aus gekühltem Brennstoffzellenabgas (B) und erwärmtem Kühlgas (L) und zur Abgabe des Gemisches (G).

SOLID OXIDE-TYPE ELECTROLYTIC CELL SYSTEM

NºPublicación:  EP4682296A1 21/01/2026
Solicitante: 
AISIN CORP [JP]
AISIN CORPORATION
EP_4682296_PA

Resumen de: EP4682296A1

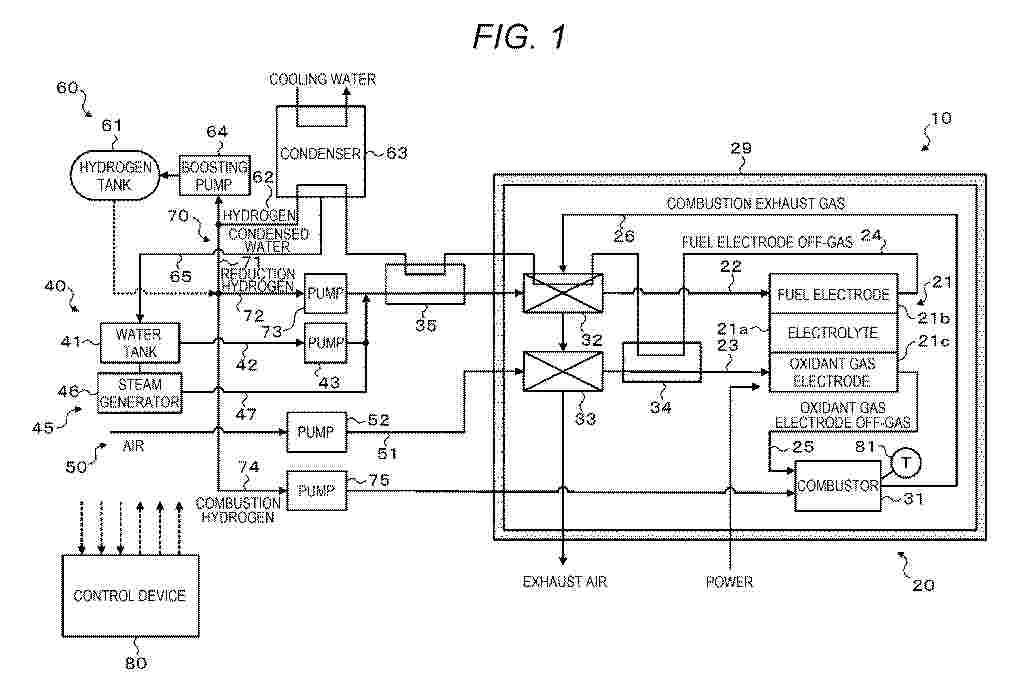
A solid oxide-type electrolysis cell system includes: a solid oxide-type electrolysis cell; a combustion unit configured to combust a fuel electrode off-gas from a fuel electrode of the solid oxide-type electrolysis cell; a case that has a heat insulating property and houses the solid oxide-type electrolysis cell and the combustion unit; a water and steam supply unit configured to supply water or steam to a fuel supply line connected to the fuel electrode; a preheating unit provided in the case and configured to preheat water or steam flowing through the fuel supply line by combustion heat of the combustion unit; a condensation unit provided outside the case and configured to condense steam contained in the fuel electrode off-gas from the fuel electrode; and a combustion reflux line configured to reflux a part of the fuel electrode off-gas having passed through the condensation unit by driving a pump and to supply the part of the fuel electrode off-gas to the combustion unit.

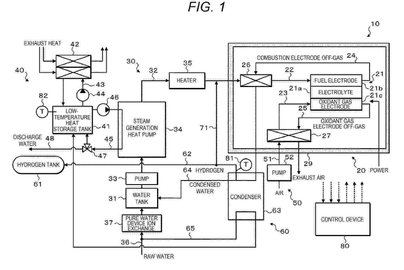
SOLID OXIDE ELECTROCHEMICAL CELL SYSTEM

NºPublicación:  EP4682295A1 21/01/2026
Solicitante: 
AISIN CORP [JP]
AISIN CORPORATION
EP_4682295_PA

Resumen de: EP4682295A1

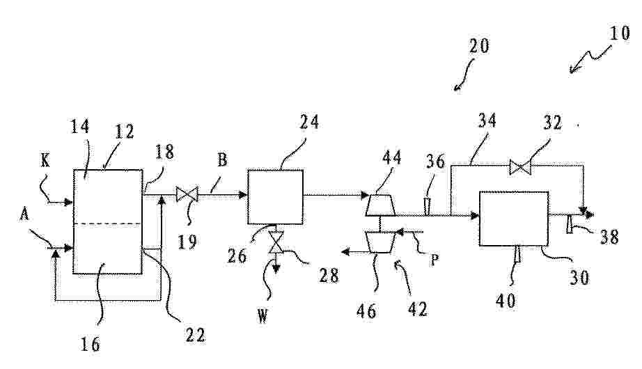
A solid oxide electrolysis cell system includes: a solid oxide electrolysis cell; a heat storage unit configured to store exhaust heat from outside of the system; a steam generation unit provided in a fuel supply line extending from a water source to a fuel electrode of the solid oxide electrolysis cell and configured to generate steam by using the heat stored in the heat storage unit; and a heat exchange unit provided downstream of the steam generation unit in the fuel supply line and configured to heat, by using the exhaust heat from the solid oxide electrolysis cell, the steam.

ELECTRODE CATALYST CONTAINING POROUS SILICON CARBIDE COMPOSITE MATERIAL, ELECTRODE FOR ELECTRODE CATALYST, FUEL CELL, AND MANUFACTURING METHOD OF ELECTRODE CATALYST

NºPublicación:  EP4683005A1 21/01/2026
Solicitante: 
DAINIPPON INK & CHEMICALS [JP]
UNIV YAMANASHI [JP]
DIC Corporation,
University of Yamanashi
EP_4683005_A1

Resumen de: EP4683005A1

An electrode catalyst including a porous silicon carbide composite material containing silicon carbide (SiC) and a carbon material, particles containing a precious metal and being supported on the porous silicon carbide composite material, and a domain containing a silicon oxide and being formed in part of the porous silicon carbide composite material, in which the electrode catalyst has a BET specific surface area of 10 m<sup>2</sup>/g or more and an electrical conductivity of 0.1 S/cm or more.

CARBON FIBER SHEET, GAS DIFFUSION LAYER FOR FUEL CELL, AND MEMBRANE ELECTRODE COMPOSITE

NºPublicación:  EP4683007A1 21/01/2026
Solicitante: 
TOMOEGAWA CORP [JP]
Tomoegawa Corporation
EP_4683007_A1

Resumen de: EP4683007A1

Provided is a carbon fiber sheet suitable as a constituent member of a gas diffusion layer in a fuel cell and having excellent performance. An aspect of the present disclosure is a carbon fiber sheet containing: carbon fibers; conductive particles; organic fibers; and a binder resin, in which the binder resin contains an olefin-based resin, and a composite containing the conductive particles, the organic fibers, and the binder resin is bonded to a part of a network structure formed by the carbon fibers.

ANION EXCHANGE MEMBRANE AND METHOD FOR MANUFACTURING SAME

NºPublicación:  EP4682188A1 21/01/2026
Solicitante: 
KOREA INST SCI & TECH [KR]
Korea Institute of Science and Technology
EP_4682188_PA

Resumen de: EP4682188A1

The present specification pertains to an anion exchange membrane and a method for manufacturing same. An electrochemical catalyst according to an embodiment of the present invention has the effect of exhibiting high ion exchange ability and excellent mechanical strength.

POROUS SILICON CARBIDE COMPOSITE MATERIAL, ELECTRODE FOR FUEL CELL, AND METHOD FOR MANUFACTURING POROUS SILICON CARBIDE COMPOSITE MATERIAL

NºPublicación:  EP4683006A1 21/01/2026
Solicitante: 
DAINIPPON INK & CHEMICALS [JP]
DIC Corporation
EP_4683006_PA

Resumen de: EP4683006A1

A porous silicon carbide composite material including silicon carbide (SiC) and a carbon material, in which the porous silicon carbide composite material has a BET specific surface area of 10 m<sup>2</sup>/g or more and an electrical conductivity of 0.1 S/cm or more.

METHOD FOR PRODUCING SEPARATOR

NºPublicación:  EP4683008A1 21/01/2026
Solicitante: 
NOK CORP [JP]
NOK Corporation
EP_4683008_A1

Resumen de: EP4683008A1

A method for producing a separator according to one aspect of this disclosure is a method for producing a separator that includes a flow path of gas for causing generation of electrical energy and a bead having a top provided with a gasket, the method comprising a process of forming, in a flat plate-shaped base, first protrusions corresponding to the flow path by carrying out press molding, a process of forming a surface layer on a surface of the base in which the first protrusions are formed, a process of providing the gasket in a flat plate-shaped bead formation region in the base on which the surface layer is formed, the flat plate-shaped bead formation region being provided with the bead, and a process of forming, in a section in which the gasket is provided, a second protrusion corresponding to the bead.

ELECTROCHEMICAL ELEMENT MANUFACTURING METHOD, ELECTROCHEMICAL ELEMENT, ELECTROCHEMICAL MODULE, SOLID OXIDE FUEL CELL, SOLID OXIDE ELECTROLYZER CELL, ELECTROCHEMICAL DEVICE, AND ENERGY SYSTEM

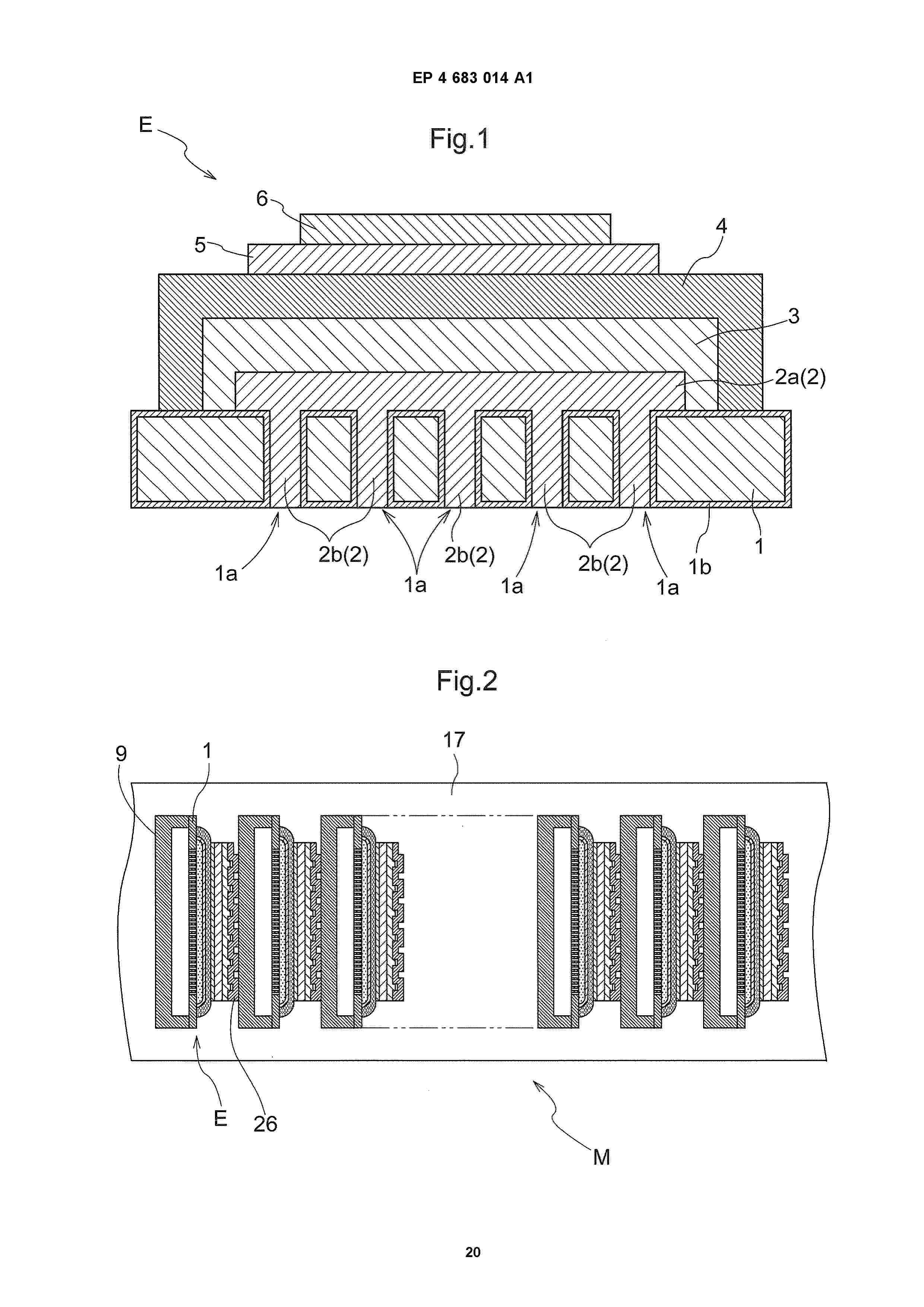
NºPublicación:  EP4683014A1 21/01/2026
Solicitante: 
OSAKA GAS CO LTD [JP]
Osaka Gas Co., Ltd
EP_4683014_A1

Resumen de: EP4683014A1

Provided are an electrochemical element, an electrochemical module, a solid oxide fuel cell, a solid oxide electrolytic cell, an electrochemical device, and an energy system, each with improved durability, and a method for manufacturing an electrochemical element with improved durability. A method for manufacturing an electrochemical element E by forming an electrode layer 2 on a metal support 1 having through-holes 1a includes: a preparation step of preparing a paste that contains a material of the electrode layer 2 and a pore-forming material; an application step of applying the paste to a surface of the metal support 1 in such a manner that the electrode layer paste enters the through-holes 1a; a firing step of firing the metal support 1 that has undergone the application step; and a compression step of compressing a layer of the paste that has been applied or the electrode layer 2 that has been fired.

FUEL CELL SYSTEM CONTROL

NºPublicación:  EP4683010A1 21/01/2026
Solicitante: 
VOLVO TRUCK CORP [SE]
VOLVO TRUCK CORPORATION
EP_4683010_PA

Resumen de: EP4683010A1

A computer system (52) comprising processing circuitry configured to issue control information to a fuel cell system (12) being fueled by hydrogen gas and air, wherein the air is supplied to the fuel cell system (12) at an air feeding pressure, the fuel cell system (12) being adapted to be cooled by a cooling system (42) accommodating a coolant.

一种氢能教学实训系统

NºPublicación:  CN121366513A 20/01/2026
Solicitante: 
亚龙智能装备集团股份有限公司
CN_121366513_PA

Resumen de: CN121366513A

本发明涉及一种氢能教学实训系统,包括水电解模块、燃料电池、用电器、电源模块以及控制模块,所述水电解模块包括水箱、电解槽以及气液分离器,所述燃料电池与用电器连接,所述水箱上设有第一出水口以及水氧回收口,所述水箱的第一出水口与电解槽的进水口连通,所述电解槽上设有第一氢气出口和氧气出口,所述气液分离器上设有氢气进口、第二氢气出口和第二出水口,所述第一氢气出口与氢气进口相连通,所述第二氢气出口连接燃料电池以将氢气输送至燃料电池内,所述第二出水口、氧气出口以及水氧回收口之间通过三通管件连接。采用上述技术方案,本发明提供了一种氢能教学实训系统,通过水电解制取氢气,安全性高,并且可以展示氢能从生产到应用的完整闭环,增强教学的连贯性和实用性。

一种氢气混合器

NºPublicación:  CN121360497A 20/01/2026
Solicitante: 
江苏中车氢芯动力科技有限公司
CN_121360497_PA

Resumen de: CN121360497A

本发明涉及一种氢气混合器,包括:气水分离机构及设置于气水分离机构上方的氢气混合机构,氢气混合机构包括:混合主体部、一次流氢气入口管及二次流氢气入口管,混合主体部内设有混合腔,所述混合主体部设有泄压安全阀,所述一次流氢气入口管内设有一次流氢气入口流道,所述二次流氢气入口管内设有二次流氢气入口流道,所述气水分离机构设有气水分离壳体及设置于气水分离壳体内的气水分离腔,所述一次流氢气入口流道、二次流氢气入口流道、混合腔及气水分离腔共同形成丫状结构,所述气水分离壳体的侧壁上设有混合氢气入堆接口管,所述气水分离壳体的底部设有液体出口,所述液体出口通过第一连接管与排水阀相连,从而降低了电堆进氢水分。

一种基于电活性生物膜的废水中氨氮浓度的检测方法

NºPublicación:  CN121364226A 20/01/2026
Solicitante: 
广东海洋大学武夷学院
CN_121364226_A

Resumen de: CN121364226A

本发明属于检测领域,具体公开了一种基于电活性生物膜的废水中氨氮浓度的检测方法;所述检测方法包括以下步骤:将制得的电活性生物膜作为工作电极,组装成三电极化学工作站,然后以含氨氮的废水作为电解液,运行三电极化学工作站进行循环伏安法测试,根据+0.7~+0.8 V处的氨氮氧化峰的峰电流值计算废水中氨氮浓度。本发明中的检测方法利用电活性生物膜作为工作电极,采用循环伏安法进行检测,具有较高的检测灵敏度和较低的检测限,无需贵金属,检测成本较低,且检测过程对环境无污染,具有零毒性的优点,电活性生物膜自适应废水环境,支持废水原位、在线、实时地检测,经济技术成本较低。

膜电极接合体

NºPublicación:  CN121366916A 20/01/2026
Solicitante: 
丰田自动车株式会社
CN_121366916_PA

Resumen de: CN121366916A

本公开的目的在于提供耐久性优异的膜电极接合体。本实施方式的膜电极接合体的特征在于,包含选自铈离子和锰离子中的金属离子、以及能够与所述金属离子形成包合物的冠醚化合物或其盐,阴极催化剂层包含电极催化剂和电解质,电极催化剂是在具有细孔的载体上担载有具有催化活性的金属粒子而成的金属粒子担载载体,对于载体而言,细孔容积分布是在细孔直径2.0nm以上且9.0nm以下的范围具有峰值细孔直径,2nm~30nm的介孔的细孔容积为7.5cc/g以上,BET比表面积为330m2/g以上。

燃料电池极板的制备方法、装置以及电子设备

NºPublicación:  CN121366904A 20/01/2026
Solicitante: 
未势能源科技有限公司
CN_121366904_PA

Resumen de: CN121366904A

本发明公开了一种燃料电池极板的制备方法、装置以及电子设备。其中,该方法包括:获取初始燃料电池极板,其中,初始燃料电池极板包括膜电极,阳极板,阴极板,膜电极位于阳极板与阴极板之间,膜电极包括碳纸基材,阳极板中设置有第一流道,阴极板中设置有第二流道;确定初始燃料电池极板中多个位置的碳纸基材相对于流道平面的多个浸入高度;依据多个浸入高度,确定与多个位置分别对应的制备参数;依据与多个位置分别对应的制备参数,制备目标燃料电池极板。本发明解决了相关技术中,压制燃料电池极板时,碳纸会浸入流道,堵塞流道,从而影响燃料电池极板性能的技术问题。

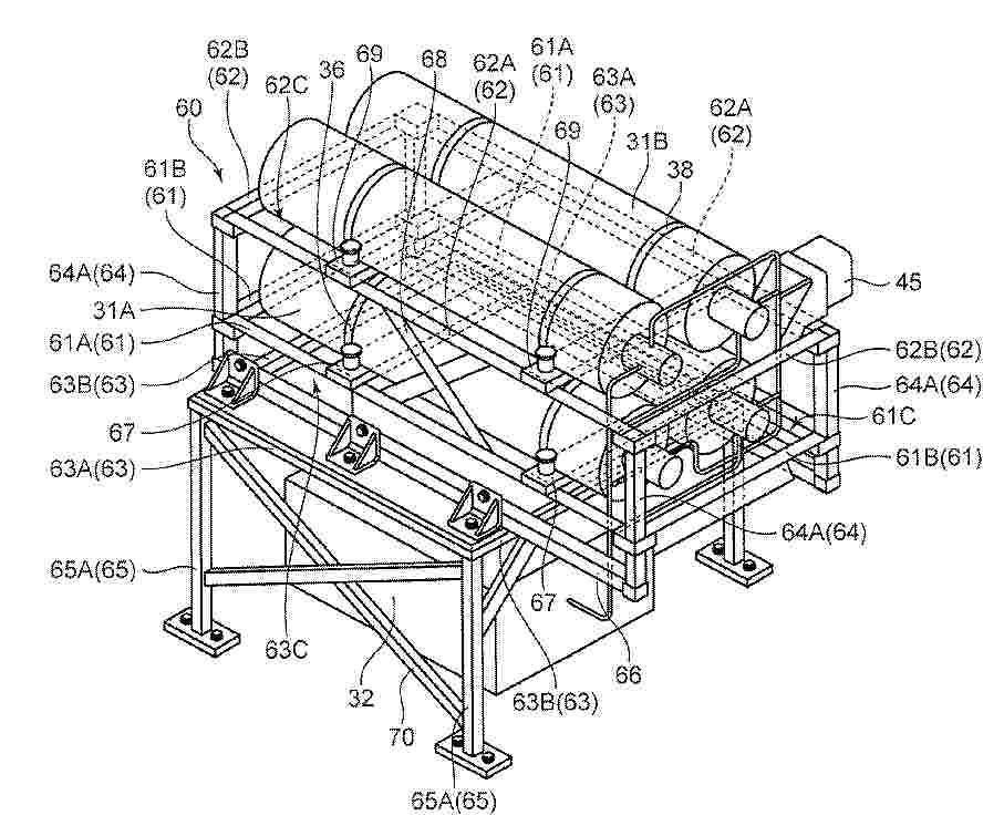
工程机械

NºPublicación:  CN121368661A 20/01/2026
Solicitante: 
神钢建机株式会社
CN_121368661_PA

Resumen de: WO2025013634A1

A work machine (100) comprises: a hydrogen tank (31) that stores hydrogen; an energy generation device (32) that is disposed below the hydrogen tank (31) and generates energy using the hydrogen as an energy source; a hydrogen pipe (41) that connects the hydrogen tank (31) and the energy generation device (32); and a support structure (60) that supports the hydrogen tank (31) and/or the energy generation device (32). The support structure (60) includes an intervening portion (63, 206, 208, 306, 802) located between the hydrogen tank (31) and the energy generation device (32), the intervening portion having a guide portion (63C, 210A, 210B, 308, 804) for guiding the hydrogen from a position below the intervening portion to above the intervening portion.

一种车载氢能燃料电池、控制系统及操控方法

NºPublicación:  CN121366906A 20/01/2026
Solicitante: 
河南光坤新能源技术开发有限公司
CN_121366906_PA

Resumen de: CN121366906A

本发明涉及氢源供能控制技术领域,具体涉及一种车载氢能燃料电池、控制系统及操控方法,包括两个端板,两个端板之间束缚的电池单元,的电池单元包括若干个氢气输送板、相邻氢气输送板之间设置的氧气输送板、氧气输送板和氢气输送板之间设置的质子交换板、氢气输送板和质子交换板之间设置的氢气催化膜以及氧气输送板和质子交换板之间设置的氧气催化膜,氧气输送板和氢气输送板的两侧均开设有迷宫槽,氢气输送板、质子交换板和氧气输送板的一侧均分别开设有氧气输入槽与氢气排出槽。本发明提供一种结构简单提高氧气和氢气输送的安全性,便于装配车载氢能燃料电池,方便用户启动车辆的车载氢能燃料电池、控制系统及操控方法。

膜电极接合体

NºPublicación:  CN121366917A 20/01/2026
Solicitante: 
丰田自动车株式会社
CN_121366917_PA

Resumen de: CN121366917A

本公开的目的在于提供耐久性优异的膜电极接合体。本实施方式是一种膜电极接合体,膜电极接合体包含选自铈离子和锰离子中的金属离子、以及能够与金属离子形成包合物的冠醚化合物或其盐,阴极催化剂层包含电极催化剂和电解质,电极催化剂是具有催化活性的金属粒子担载于具有细孔的载体而成的金属担载载体,表面积内外比为1.20以下,以及粒子数内外比为0.70以下。

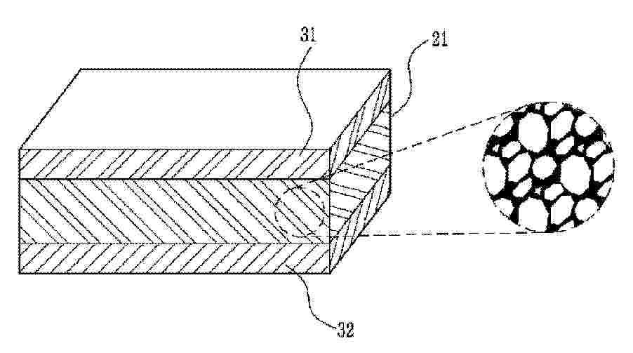
膜电极接合体和燃料电池

NºPublicación:  CN121366915A 20/01/2026
Solicitante: 
丰田自动车株式会社
CN_121366915_PA

Resumen de: CN121366915A

一种膜电极接合体,具有固体高分子电解质膜、配置于上述固体高分子电解质膜的第1面上的阳极催化剂层、以及配置于上述固体高分子电解质膜的第2面上的阴极催化剂层,上述膜电极接合体包含选自铈离子和锰离子中的金属离子、以及可以与上述金属离子形成包合物的主体化合物,上述阴极催化剂层含有电极催化剂和离聚物,上述电极催化剂为包含催化剂金属和担载该催化剂金属的载体的金属担载催化剂,上述阴极催化剂层中的催化剂金属的离聚物被覆率为40%以下。

高温燃料电池热电联供系统燃料气体流量测量系统及方法

NºPublicación:  CN121366914A 20/01/2026
Solicitante: 
徐州市检验检测中心
CN_121366914_PA

Resumen de: CN121366914A

本发明公开了高温燃料电池热电联供系统燃料气体流量测量系统及方法,包括如下步骤:采集燃料气体流动过程中产生的温度、压力和电势差信号;执行预处理,构建标准化信号矩阵;执行多场协同频谱分析,生成燃料气体初步流量推断结果;建立动态能量平衡关系,对燃料气体初步流量推断结果执行反向修正;周期性施加等离子脉冲激励信号以扰动燃料气体流场,并执行燃料气体能量约束流量估计结果的修正;进行融合匹配,执行燃料气体流量的时空插值与一致性修正,重构燃料气体流量的分布状态;进行燃料气体流量的实时测量和智能校准。本发明融合多物理场频谱分析与能量约束自校准技术,实现燃料气体流量的高精度、实时化与智能测量。

一种含羟基与磺酸基的嵌段聚苯并咪唑共聚物及其质子交换膜的制备方法及应用

NºPublicación:  CN121362328A 20/01/2026
Solicitante: 
华东理工大学
CN_121362328_PA

Resumen de: CN121362328A

本发明提供了一种含羟基与磺酸基的嵌段聚苯并咪唑共聚物及其质子交换膜的制备方法及应用。在制备过程中,通过同时引入磺酸基和羟基,与咪唑环构建多重氢键网络,在提高电导率的同时抑制膜在水中的过度溶胀;利用嵌段结构诱导膜内形成良好的微相分离结构,为质子传输提供连续、高效的通道;同时通过选用一系列具有大位阻的刚性磺化二酸单体,减弱分子间作用力,破坏聚合物主链的紧密堆积结构,提升高分子量聚合物的溶解性。

燃料电池系统及其在线性能恢复方法

NºPublicación:  CN121366911A 20/01/2026
Solicitante: 
广东电网有限责任公司佛山供电局
CN_121366911_PA

Resumen de: CN121366911A

本申请提供了一种燃料电池系统及其在线性能恢复方法,涉及燃料电池技术领域。燃料电池系统包括燃料电池,燃料电池的双极板上划分有多个待检区域,各待检区域上均设有检测元件,检测元件用于实时检测燃料电池在相应待检区域的运行参数;在恢复燃料电池中膜电极的湿度时,可使燃料电池的阳极与阴极之间微短路;在恢复燃料电池阴极中催化剂的活性时,可停止向燃料电池的阴极提供氧化剂;在根据各检测元件所检测的运行参数判断出燃料电池运行异常时,需要解除燃料电池的阳极与阴极之间的微短路和/或重新向燃料电池的阴极提供氧化剂。基于此,本申请可显著提升燃料电池系统的自适应能力,保证其运行的效率、寿命、安全性以及稳定性。

一种提高微生物燃料电池降解有机废水效率的方法

NºPublicación:  CN121361886A 20/01/2026
Solicitante: 
重庆三峡学院
CN_121361886_PA

Resumen de: CN121361886A

一种提高微生物燃料电池降解有机废水效率的方法,其特征在于:微生物燃料电池为单室微生物燃料电池,是将条状导电碳毡固定于反应器中,先进行富集处理,形成电极后,再进水进行降解,反应器水流上进下出,反应器上部接直流电源正极,下部接直流电源负极,直流电源电压为0.2~0.8V。本发明通过外加电压,和在一个反应器中的不同溶解氧梯度,实现好氧、兼氧、厌氧过程;在反应器内固定的炭毡上下两端接直流电压,在炭毡上下两端形成不同的电极环境,同时结合溶解氧,进一步配合形成稳定的阴、阳极过程;并且实现反应器中在溶解氧和外加电压作用下产电微生物和耗电微生物的定向聚集,最终实现有机废水的深度处理,处理有机废水COD降解率达到92.39%。

燃料电池系统及其控制方法

NºPublicación:  CN121366908A 20/01/2026
Solicitante: 
现代自动车株式会社起亚株式会社
CN_121366908_PA

Resumen de: CN121366908A

本发明涉及一种燃料电池系统及其控制方法,该燃料电池系统包括:氢气压力调节器,用于对供给至燃料电池堆的氢气的氢气供给压力进行调节;以及控制器,根据燃料电池堆的状态判断是否需要控制氢气供给压力的控制模式,在需要控制模式的情况下,能够控制氢气压力调节器,以使氢气供给压力根据预设的压力上升率或压力下降率在预设的压力范围内变动。

一种具有微流道的液流电池流道板结构及应用

NºPublicación:  CN121366905A 20/01/2026
Solicitante: 
国家能源投资集团有限责任公司北京低碳清洁能源研究院
CN_121366905_PA

Resumen de: CN121366905A

本公开涉及一种具有微流道的液流电池流道板结构及应用。所述液流电池流道板结构包括流道板本体和主流道,所述流道板本体包括相对设置的第一主表面和第二主表面,所述第一主表面上设置有多个微流道,所述微流道的深度小于所述流道板主体的厚度。本公开的液流电池流道板结构能够增加其与电极的接触面积,降低电池的内阻;同时,能够增强电解液的传质速率并提高电解液在电极内的分布均匀性。

一种超薄型可穿戴氢能燃料电池系统

NºPublicación:  CN223815749U 20/01/2026
Solicitante: 
宁波三石工业技术有限公司
CN_223815749_U

Resumen de: CN223815749U

本申请涉及氢燃料电池领域,尤其涉及一种超薄型可穿戴氢能燃料电池系统,所述氢能燃料电池系统包括电单元及控制单元、壳体、至少两个氢燃料舱以及与氢燃料舱相匹配的氢燃料棒;氢燃料舱设置有燃料舱盖,燃料舱盖或与氢燃料舱连接,或与氢燃料棒为一体,氢燃料棒通过氢燃料舱与燃料舱盖实现与电单元及控制单元的连接,电单元包括蓄电池、氢燃料电池、氢燃料电池控制器、DC/DC变换器,蓄电池与氢燃料电池配合进行供电。本申请具有提供一种轻量紧凑、操作简单方便且能够稳定安全长时提供电力输出适用于大量重要应用场景的便携可穿戴电源的效果。

电池堆叠件的板状元件和电池堆叠件

NºPublicación:  CN121368647A 20/01/2026
Solicitante: 
舍弗勒技术股份两合公司
CN_121368647_PA

Resumen de: WO2025051333A1

The invention relates to a plate-like element (10) of a cell stack (2) of an electrochemical system (1), having a first plate side (26), a second plate side (27), a plurality of openings (13, 21, 22, 23, 23') and a first structure (14) for forming a flow field for coolant and several further structures (14') for forming distributors for operating media on the first plate side (26). The structure (14) comprises a coolant conducting structure (15, 16) through which a first coolant path (15) and a second coolant path (16) arranged mirror-symmetrically thereto are formed, each of which have, starting from one of the openings (21), an elongate inflow portion (17), a centre portion (18) which starts from the inflow portion (17), fans out and describes at least one meandering bend (19), and an elongate outflow portion (20) which adjoins the centre potion (18) and is narrower than the centre portion (18). A longitudinal axis (30) of the inflow portion (17) of the first coolant path (15) matches a longitudinal axis (30) of the outflow portion (20) of the second coolant path (16), and a longitudinal axis (30') of the inflow portion (17) of the second coolant path (16) matches a longitudinal axis (30') of the outflow portion (20) of the first coolant path (15). The invention also relates to a cell stack (2) comprising a plurality of such plate-like elements (10) which are parallel to one another.

一种低温质子陶瓷燃料电池复合催化材料及其制备与应用

NºPublicación:  CN121366902A 20/01/2026
Solicitante: 
长春理工大学中山研究院中山高氢动力科技有限公司海南龙盘油田科技有限公司
CN_121366902_PA

Resumen de: CN121366902A

本发明属于燃料电池技术领域,具体涉及一种低温质子陶瓷燃料电池复合催化材料及其制备与应用。本发明通过Cs掺杂BaCe0.3Fe0.7O3‑δ,显著提升表面质子酸位点浓度,优化水合能力与质子传导性能,使得质子陶瓷燃料电池在低温条件下(600℃至700℃)能够实现更高的功率密度(1.62 W/cm2)和电流密度(‑2.73 A/cm2),极化电阻(Rp)低至0.039Ωcm2,并且在3%H2O的环境中也能稳定运行100小时以上,未出现明显的性能下降,实现质子陶瓷燃料电池在低温下的高效稳定运行。该材料制备工艺简单,适用于规模化生产,具有广阔的应用前景。

一种液流电池电解液储存装置

NºPublicación:  CN121366907A 20/01/2026
Solicitante: 
液流储能科技有限公司
CN_121366907_PA

Resumen de: CN121366907A

本申请涉及一种液流电池电解液储存装置,涉及液流电池电解液技术领域,包括:罐体外壳和换热管,所述罐体外壳内部设有螺旋状并沿竖直方向设置的储存管筒,所述储存管筒内部设有电解液,并与液泵相连,所述换热管为螺旋状,并套设于所述储存管筒的外部,所述换热管内部设有换热液,并与供液循环装置相连,所述电解液与所述换热液的流动方向相反,通过采用螺旋状并竖直设置的储存管筒,使得内部的电解液能够在储存管筒内部形成有序分层,避免了流动死区的产生,同时也减少了由于两种不同的离子混合,从而产生副反应,即析氢反应的情况发生,增加换热面积并逆流换热,进一步保证了装置的换热效率。

一种燃料电池负极催化剂及其制备方法和应用

NºPublicación:  CN121366901A 20/01/2026
Solicitante: 
安徽明天新能源科技有限公司
CN_121366901_A

Resumen de: CN121366901A

本发明公开一种燃料电池负极催化剂及其制备方法和应用,属于燃料电池技术领域。制备方法包括以下步骤:S1、将冰乙酸和无水乙醇混合,滴加钛酸丁酯,形成溶液A;将无水乙醇和去离子水混合,加入CS/Cys‑MWCNT,超声,形成溶液B;向溶液B中滴入溶液A,随后静置、陈化、干燥,在氮气气氛下热处理,冷却,得到TiO2/CS/Cys‑MWCNT;S2、将0.05mol/L H2PtCl6加入到乙二醇中,然后加入步骤S1得到的TiO2/CS/Cys‑MWCNT,超声1~2h,加热反应,离心,洗涤,干燥,得到负极催化剂。本发明得到的催化剂在甲醇氧化反应中展现出低起始电位、高峰电流和高稳定性的协同优势。

新能源无取向硅钢高速常化工艺能效优化系统及方法

NºPublicación:  CN121362872A 20/01/2026
Solicitante: 
湖南宏旺新材料科技有限公司
CN_121362872_PA

Resumen de: CN121362872A

本发明公开了一种新能源无取向硅钢高速常化工艺能效优化系统及方法,包括常化炉、冷却装置和能源供应单元,还包括:可再生能源集成模块,混合储能模块,智能能源管理平台,余热梯级利用网络。通过智能能源管理平台和独立温控区实现温度精确控制,采用相变微胶囊介质优化冷却过程,结合锑微合金化延长时效时间,并利用可再生能源和余热回收提升能效,具有提高温度均匀性、优化冷却速率控制、延长时效脆化时间、提升能源利用效率等优点。

复合改性抗污染质子交换膜及其制备方法

NºPublicación:  CN121366919A 20/01/2026
Solicitante: 
江苏金材科技有限公司
CN_121366919_A

Resumen de: CN121366919A

本发明公开了一种复合改性抗污染质子交换膜及其制备方法,属于质子交换膜技术领域,适用于氢燃料电池、微生物燃料电池及电解水制氢设备。针对现有质子交换膜抗污染维度单一、依赖贵金属成本高、耐酸与机械性能不足的问题,本发明采用三层功能结构:抗自由基污染外层、抗复合污染中间层、保水增强内层,搭配无贵金属复合改性剂,明确预处理、功能液制备等关键工艺参数。该膜实现抗污染、高传导、耐酸与机械性能协同,适配多场景应用。

一种锌基液流电池的防锌沉积堵塞流道结构及消除方法

NºPublicación:  CN121366912A 20/01/2026
Solicitante: 
大连碳星新能源科技有限公司
CN_121366912_PA

Resumen de: CN121366912A

本发明涉及锌基液流电池技术领域,具体为一种锌基液流电池的防锌沉积堵塞流道结构及消除方法,包括板框,所述板框内壁刻有支路流道,且板框内壁上下分布有公共流道口,所述锌单质消除流道位于支路流道与反应腔体之间,且锌单质消除流道一侧卡合有电筛网,所述板框的一侧四周与金属双极板相贴合,且金属双极板的内壁两侧分布有盖板。本发明中通过BMS控制系统对其进行控制,将电筛网与金属双极板连通形成闭合回路,使其电筛网放电,直接将电筛网中拦截的锌沉积单质溶解消除掉并且随着电解液流入到储液罐中继续循环充放电,防止锌沉积堵塞流道降低电池性能,消除被冲刷掉的锌单质沉积,提高电解液利用率和寿命。

一种电堆模块封装设备与封装方法

NºPublicación:  CN121366921A 20/01/2026
Solicitante: 
风氢扬氢能科技(上海)有限公司
CN_121366921_PA

Resumen de: CN121366921A

本申请公开了一种电堆模块封装设备与封装方法,涉及电堆封装的领域,包括底座,底座上设置有第一挤压件,第一挤压件开设有挤压腔,挤压腔用于放置电堆模块;电堆预压板,平行于底座设置;封装端板,封装端板设置在挤压腔内,封装端板用于封装电堆模块;二次挤压组件,固定连接在封装端板上,二次挤压组件用于对电堆模块进行二次挤压;其中,二次挤压组件内部设置有弹性件,第一挤压件驱动电堆预压板靠近底座时,弹性件弹性势能增大,二次挤压组件对电堆模块进行二次挤压时,弹性件弹性势能减小。通过采用上述技术方案,从而达到了对电堆的二重挤压的效果,避免封装力衰减影响燃料电池的电堆的使用和性能。

控制车辆的散热模式的方法、装置、控制器、车辆和产品

NºPublicación:  CN121361386A 20/01/2026
Solicitante: 
罗伯特·博世有限公司
CN_121361386_PA

Resumen de: CN121361386A

本公开的实施例提供了用于控制车辆的散热模式的方法、装置、控制器、车辆和计算机程序产品。该方法包括获取针对车辆的第一散热需求,其中第一散热需求包括来自车辆的整车热管理系统和空调中的至少一项的散热需求。该方法还包括获取针对车辆的第二散热需求,其中第二散热需求包括来自车辆的燃料电池系统的散热需求。该方法还包括基于第一散热需求和第二散热需求来控制车辆的散热模式。通过实现本公开的实施例,能够更有效地利用统一的风扇来满足车辆的多种散热需求,实现更高效的风扇的转速的控制。

自由基保护膜

NºPublicación:  CN121368821A 20/01/2026
Solicitante: 
塞拉迪纳科技公司
CN_121368821_A

Resumen de: AU2024258296A1

The present disclosure relates to a polyelectrolyte membrane, comprising a polyelectrolyte and a metal complex, wherein: the metal complex comprises a metal cation and a ligand; and the ligand comprises three or more functional groups, wherein each functional group is independently selected from phosphonic acid, sulfonic acid, and carboxylic acid, or an anion thereof. The present disclosure further relates to methods of making the polyelectrolyte membrane, as well as membrane electrode assembly and fuel cell comprising the polyelectrolyte membrane.

SAR旋转框目标检测方法、装置、设备及介质

NºPublicación:  CN121366913A 20/01/2026
Solicitante: 
中国人民解放军国防科技大学
CN_121366913_PA

Resumen de: CN121366913A

本申请涉及一种SAR旋转框目标检测方法、装置、设备及介质。所述方法包括:先通过扩散模型正向扩散,控制方差调度在SAR样本真值检测框加高斯噪声,得到多个加噪旋转边界框。将其与SAR图像输入检测网络,骨干网络用双路径门控注意力单元增强特征,优化Mamba处理相邻尺度特征,颈部网络融合特征,检测头裁剪ROI特征预测类别与边界框。采用KL散度和分类损失训练网络,待检测SAR图加随机加噪框输入训练好的网络,输出目标旋转框及类别,提升检测精度。

一种应用于新能源汽车氢燃料电池的风冷堆加湿装置

NºPublicación:  CN121366909A 20/01/2026
Solicitante: 
盛世盈创氢能科技(陕西)有限公司
CN_121366909_PA

Resumen de: CN121366909A

本发明公开了一种应用于新能源汽车氢燃料电池的风冷堆加湿装置,涉及氢燃料电池技术领域,包括进气罩、风冷堆壳体、风扇、转动套以及水箱,还包括:等角度设置在转动套端口内壁的净化过滤棉;设置在水箱一侧的加湿机构;设置在进气罩上的反清理机构;设置在进气罩和转动套外壁的切换机构;所述反清理机构包括等角度分别设置在净化过滤棉朝向进气罩内侧和外侧表面的第一罩体和第二罩体,且第一罩体和第二罩体朝向净化过滤棉的端面均为扇形结构。本发明,在定期加湿的过程中,可自动切换未使用或清理后的净化过滤棉进行空气的过滤净化,保证了净化过滤棉在使用时的空气流通性,同时有效地清理并收集吸附在净化过滤棉表面的灰尘杂质。

燃料电池电堆封装结构及其封装力补偿计算方法

NºPublicación:  CN121366920A 20/01/2026
Solicitante: 
中国第一汽车股份有限公司
CN_121366920_PA

Resumen de: CN121366920A

本发明涉及燃料电池技术领域,公开了一种燃料电池电堆封装结构及其封装力补偿计算方法,其中,结构包括:第一端板,第一端板设置有多个凹槽;第二端板,第二端板外侧设置有多个螺纹孔;多组电堆堆芯,多组电堆堆芯设置在第一端板与第二端板之间;多个绑带组件,多个绑带组件包括多个绑带、多个螺栓件以及多个对手件,多个对手件分别与对应的多个螺栓件的一端连接,多个螺栓件的另一端穿过螺纹孔固定在第二端板上,多个绑带的两端分别与对应的多个对手件固定连接。本发明的结构,能够使电堆封装力始终处于最优状态,保证电堆全生命周期的性能稳定,防止电堆性能发生衰减,提高电堆的工作寿命。

一种可控层间距的复合电极毡及其制备方法和应用

NºPublicación:  CN121366898A 20/01/2026
Solicitante: 
武汉工程大学武汉工程大学潜江绿色化工产业技术研究院
CN_121366898_PA

Resumen de: CN121366898A

本发明涉及材料技术领域,具体涉及一种可控层间距的复合电极毡及其制备方法和应用。包括如下步骤:(1)根据待制备的复合电极材料的化学计量比,将硝酸盐溶解于静电纺丝混合溶液中,再依次加入赋形剂和聚阴离子型添加剂混合均匀,得到静电纺丝前驱体溶液;(2)将所述静电纺丝前驱体溶液进行静电纺丝,得到纺丝前驱体;(3)将所述纺丝前驱体进行煅烧处理,得到复合相氧电极;(4)将聚乙烯醇缩丁醛的溶液均匀喷涂在所述复合相氧电极的表面,塑化干燥处理,得到复合电极毡。本发明通过控制纺丝液的表面张力和电荷密度分布控制薄膜层间距,实现复合电极的三维纳米网状层间距离,平衡了电极传质和机械稳定性。

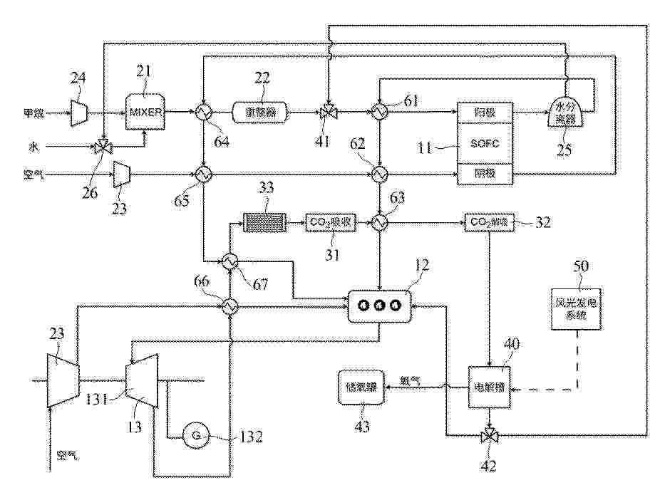
一种适用于高压输气管道SOFC联合发电系统及其运行方法

NºPublicación:  CN121363463A 20/01/2026
Solicitante: 
中海石油气电集团有限责任公司
CN_121363463_PA

Resumen de: CN121363463A

本发明涉及高压输气管道发电技术领域,尤其涉及一种适用于高压输气管道SOFC联合发电系统及其运行方法。SOFC联合发电系统包括压差发电设备和SOFC发电设备,压差发电设备包括至少两级膨胀发电装置,至少两级膨胀发电装置依次串接于高压输气管道,每一级膨胀发电装置的天然气出口设置有复温换热器,复温换热器用于对上一级膨胀发电装置输出的天然气进行升温,膨胀发电装置用于利用高压输气管道的压差进行发电;本发明提供的适用于高压输气管道SOFC联合发电系统,通过膨胀发电装置利用高压输气管道的压差进行发电,提高了能源利用效率;通过将压差发电后的天然气直接作为SOFC发电设备的燃料,省去了外部燃料调压装置,简化了系统结构,降低了成本。

燃料电池系统及膜电极水含量监控方法

NºPublicación:  CN121366910A 20/01/2026
Solicitante: 
广东电网有限责任公司佛山供电局
CN_121366910_PA

Resumen de: CN121366910A

本申请提供了一种燃料电池系统及膜电极水含量监控方法,涉及燃料电池技术领域。燃料电池系统包括燃料电池,燃料电池双极板上设有多个检测元件,与双极板相层叠的膜电极内划分有分别与多个检测元件一一对应的多个电极区域,可通过检测元件实时检测相应电极区域的交流阻抗(表征水含量),并据此动态控制燃料电池的背压。基于此,本申请不仅能精确判断膜电极内不同电极区域的水含量,还能通过背压快速调节膜电极水含量,无需增大/减小燃料电池阴阳极的进气参数,可有效缩短改善膜电极水含量的响应时间,缓解膜电极内部的过干或水淹情况,提升水含量调控效果。

一种氧掺杂电极、其原位阳极氧化制备方法及其在液流电池领域的应用

NºPublicación:  CN121366900A 20/01/2026
Solicitante: 
大连融科储能集团股份有限公司
CN_121366900_PA

Resumen de: CN121366900A

本发明提供一种氧掺杂电极、其原位阳极氧化制备方法及其在液流电池领域的应用。本发明原位阳极氧化制备氧掺杂电极的方法包括以下步骤:将完成装配的电堆接入处理系统,进行高电位充放电循环,通过电化学氧化在阳极电极表面形成含氧官能团,得到氧掺杂电极;将电堆从处理系统中拆下,接入液流电池应用系统中时,所述氧掺杂电极可以作为负极电极或正极电极。本发明制备的氧掺杂电极表面富含含氧官能团,表面亲水性高,反应选择性高,当作为负极电极时能有效降低负极析氢等副反应,提高电池充放电能量效率。同时相比传统电化学活化方法,本发明操作相对简单,在液流电池领域具有大规模推广的潜力。

一种默里型孔结构阴极催化层的膜电极及其制备方法与应用

NºPublicación:  CN121366918A 20/01/2026
Solicitante: 
山东国创燃料电池技术创新中心有限公司
CN_121366918_PA

Resumen de: CN121366918A

本发明涉及一种默里型孔结构阴极催化层的膜电极及其制备方法与应用。本发明包括质子交换膜以及分别设置于所述质子交换膜两侧表面的阳极催化层和阴极催化层;其中,所述阴极催化层包括沿所述质子交换膜表面依次设置的阴极内催化层和阴极外催化层;所述阴极催化层具有微孔‑介孔‑大孔结构,微孔为0.1‑2nm,介孔为2‑50nm,大孔为50‑7000nm;所述大孔、微孔、介孔的直径及其比例符合默里定律。默里型孔结构阴极催化层能显著提升物质传输效率,从而提升催化效率,同时,避免了造孔剂或其他物质的加入,既解决了杂质离子引入对膜电极造成的毒化问题,又改善了传统催化层孔结构单一导致的传输效率低和低湿工况下性能下降的问题。

电化学电池以及用于制造用于电化学电池的组件的方法和设施

NºPublicación:  CN121359262A 16/01/2026
Solicitante: 
燃料电池中心两合股份有限公司
CN_121359262_PA

Resumen de: WO2024256503A1

The invention relates to a method for manufacturing an assembly for an electrochemical cell, wherein the assembly comprises at least the following structural components: a first plate (10; 10') for supplying and/or discharging fluid, a proton exchange membrane (42), a first electrode (31) arranged between the first plate and the proton exchange membrane, and a first gas diffusion layer (21) arranged between the first plate and the first electrode, and wherein the method comprises the steps of A) providing a base comprising only a portion of the structural components, in particular the first plate and/or the first gas diffusion layer; and B) assembling the assembly, wherein the assembling involves adding the remaining structural components; or the steps of a) providing a base that is different from the structural components; and b) assembling the assembly, wherein the assembling involves adding the structural components; wherein a casing is formed by applying one or more layers of moulding material (70-72) to the provided base, a strength of this moulding material increases after said application, and at least one layer of the moulding material forming the casing or at least a circumferential section of the casing is applied before step B) or b). The invention also relates to an electrochemical cell, in particular a fuel cell or electrolysis cell, a cell stack with cells of this type, as well as a method and a system for manufacturing assemblies for cells or cell stacks of thi

压花辊、用于制造其的工艺、用于电化学系统的板及制造这类板的方法

NºPublicación:  CN121359269A 16/01/2026
Solicitante: 
莱茵兹密封垫有限公司马修斯国际有限公司
CN_121359269_PA

Resumen de: WO2024260744A1

The present invention relates to an embossing roller (210a, 210b) for embossing a plate (200) for an electrochemical system and to a method for the production thereof. It also relates to a plate (200) for an electrochemical system and to a method for the production thereof.

一种燃料电池氢气浓度控制方法和氢气循环系统

NºPublicación:  CN121355301A 16/01/2026
Solicitante: 
东风汽车集团股份有限公司
CN_121355301_A

Resumen de: CN121355301A

本发明公开了一种燃料电池氢气浓度控制方法和氢气循环系统,通过基于氮气质量动态平衡原理计算燃料电池电堆的氢气循环系统中实时氢气浓度;若所述实时氢气浓度小于预设的氢气回流目标浓度,则根据所述燃料电池电堆的运行参数确定排气策略,并控制所述氢气循环系统中的排气阀开启且按照所述排气策略进行排气;基于所述实时氢气浓度和尾排氢气浓度目标值,计算尾排需求空气流量,并按照所述尾排需求空气流量供给空气;其中,所述氢气循环系统包括依次串联的所述排气阀、回氢泵和引射器总成,所述排气阀连通所述燃料电池电堆出氢口,所述引射器总连通所述燃料电池电堆入氢口,可以有效提升氢气回流量,并且实现了对燃料电池电堆回流氢气浓度的精确控制,保证了氢气利用率,同时准确控制尾排氢气浓度保证了整个燃料电池车辆的安全性。

一种空气系统及其台架试验控制方法、台架试验系统

NºPublicación:  CN121355286A 16/01/2026
Solicitante: 
一汽解放汽车有限公司
CN_121355286_PA

Resumen de: CN121355286A

本发明属于燃料电池发动机技术领域,公开了一种空气系统及其台架试验控制方法、包括空压机、中冷器、增湿器、出电堆空气截止阀、进电堆空气截止阀、增湿器旁通阀、燃料电池进气旁通阀、背压阀、空气流量计、中冷器后压力传感器、进电堆压力传感器、进电堆温度传感器、出电堆温度传感器、台架试验用传感器组件、台架试验用质谱仪、进气管路和出气管路,台架试验用传感器组件和台架试验用质谱仪均为可拆除件,用于台架试验且在试验结束后被拆除。本发明通过在空气系统加装可拆卸传感器组件和质谱仪,结合台架试验控制方法和性能计算结果互锁优化,保证台架试验结果的准确性,保护电池组,对燃料电池发动机的标定过程有十分重要的意义,节省成本。

一种配气可调的SOC单堆底座模块化装置、燃料电池及其应用

NºPublicación:  CN121355315A 16/01/2026
Solicitante: 
中国科学院上海应用物理研究所
CN_121355315_PA

Resumen de: CN121355315A

本申请提供一种配气可调的SOC单堆底座模块化装置、燃料电池及其应用,属于SOC领域,目的在于模块化各堆配气结构,提升进出气流的均匀性。其包括配气底座组件、配气调节组件,SOFC电堆设置在配气底座组件上。该装置基于单个电堆的进出气结构进行设计,具有在单电堆上模块化生产的优势,实现了电堆组的最小单元互换性设计,便于降低生产成本。同时,本申请设计了配气调节组件,能够有效保证多堆集成中各串/并联支管路气流分布的均匀性。进一步,配气调节组件采用第二基座与第二延长板相配合的设计,可逐级叠加,实现了该部件的可互换性,并有效简化部件的种类。基于该装置的设计,进行了多堆模组实际建模与仿真分析,结果充分验证了该装置的有效性。

一种氢燃料电池用散热器

NºPublicación:  CN121355289A 16/01/2026
Solicitante: 
湖北秀山智能科技有限公司
CN_121355289_PA

Resumen de: CN121355289A

本发明涉及氢燃料电池技术领域,提出了一种氢燃料电池用散热器,包括外壳体,外壳体的顶部滑动配合有端盖,外壳体的内侧固定连接有内置箱,内置箱的内侧放置有若干氢燃料电池单体,内置箱的外侧固定连接有若干导热片,若干导热片之间固定连接有换热盘管,外壳体内侧的一端开设有分隔槽,分隔槽的内侧固定连接有水箱,分隔槽内设置有用于将水箱内部的水循环导入换热盘管内部的供水机构,外壳体的底部设置有通过配合供水机构的启动以向外壳体内吹风的风冷机构。本发明通过水冷与风冷的协同设计、集成动力源、单向阀可靠性保障、增速风冷优化以及可维护结构,综合提升了氢燃料电池的散热效率、能耗经济性和适用性。

一种低湿燃料电池用催化剂及其制备方法和应用

NºPublicación:  CN121355280A 16/01/2026
Solicitante: 
浙江天能氢能源科技有限公司
CN_121355280_PA

Resumen de: CN121355280A

本发明公开了一种低湿燃料电池用催化剂及其制备方法和应用,涉及燃料电池技术领域。本发明采用固体磺化剂进行磺化处理,避免了液态磺化剂的使用,减少环境污染,操作简单安全;Pt/C催化剂磺化后表面富含磺酸基团,在低湿度条件下,磺酸基团能够吸附水分,维持膜电极的湿润状态,增强了催化剂的质子传导能力,提高电池性能;以及磺酸基团的锚定效应可以抑制Pt颗粒的迁移和团聚,提高催化剂耐久性。本发明的燃料电池可以在更低的湿度下稳定运行,有望简化甚至取消外部增湿系统,降低系统复杂度、成本和重量,特别适合对体积重量敏感的应用场合。

一种极板固化工装及工作方法

NºPublicación:  CN121355285A 16/01/2026
Solicitante: 
博远(山东)新能源科技发展有限公司
CN_121355285_PA

Resumen de: CN121355285A

本发明提供一种极板固化工装及工作方法,涉及石墨极板成型工装领域,针对目前极板固化时因施加约束作用而导致受热不均匀的问题,极板放入固化位后,弹性件处于自然状态,支撑相邻隔板保持间距,使极板与隔板之间形成间隙,水浴温度升高时,伸缩组件随温度变化逐渐伸长,推动外侧隔板沿导杆向内侧移动,此时弹性件被逐步压缩,隔板间距缩小,热水可直接接触极板表面,热量传递效率显著提高,极板中心与外缘温差大幅减小,当温度达到固化所需值时,伸缩组件伸长至最大行程,弹性件被压缩至极限,隔板与极板完全贴合,通过伸缩组件的推力形成稳定压紧力,压紧力有效限制树脂固化过程中产生的内应力,减少翘曲变形。

一种质子交换膜燃料电池金属双极板表面的多元氮化物涂层及制备方法

NºPublicación:  CN121355284A 16/01/2026
Solicitante: 
广州航海学院
CN_121355284_PA

Resumen de: CN121355284A

本发明公开了一种用于质子交换膜燃料电池金属双极板表面的多元氮化物涂层及制备方法,所述多元氮化物涂层主要由钛、铌、氮以及一种或多种稀土元素组成。在氮化钛涂层中添加适量的Nb元素,使得涂层表面形成的钝化膜从TiO2转变为具有良好导电性的Nb掺杂TiO2;向氮化钛涂层中添加一种或多种稀土元素,以提高涂层与基材之间的结合能力,进而延长涂层的服役寿命。采用磁控溅射技术或离子镀沉积技术,在基材表面沉积形成多元氮化物涂层。该多元氮化物涂层兼具耐腐蚀性、导电性以及在服役过程中接触电阻的稳定性。

燃料电池系统的阳极状态估计方法、装置、车辆及介质

NºPublicación:  CN121355298A 16/01/2026
Solicitante: 
海卓动力(北京)能源科技有限公司
CN_121355298_A

Resumen de: CN121355298A

本申请公开了一种燃料电池系统的阳极状态估计方法、装置、车辆及介质,涉及燃料电池技术领域。该阳极状态估计方法包括获取所述燃料电池系统的运行参数,所述运行参数包括电流、阴极入堆压力、阳极入堆压力、冷却水温和第二电磁阀状态;将所述运行参数输入预先训练的循环神经网络模型,获得当前时刻所述燃料电池系统的第一电压恢复率,并在所述第一电压恢复率达到预设恢复率阈值时,直接开启所述第二电磁阀进行排气和排水,其中电压恢复率用于指示电堆输出电压的增长程度。采用本申请方法能够准确估计阳极状态,确保了氢气可以持续充足供应到反应界面,并维持系统最佳性能。

一种燃料电池发动机启动阶段积水排出方法及系统

NºPublicación:  CN121355296A 16/01/2026
Solicitante: 
昆明云内动力股份有限公司
CN_121355296_PA

Resumen de: CN121355296A

本发明公开了一种燃料电池发动机启动阶段积水排出方法及系统,涉及燃料电池技术领域。本发明包括以下步骤:S1.识别电堆启动信号,暂停电堆启动程序;S2.控制冷凝器排水阀执行两轮排水;S3.根据冷凝器中的积水是否低于阈值,判断是否启动电堆;已解决现有技术中燃料电池发动机停机后冷凝器积水导致启动时绝缘低、系统可靠性差的问题。

质子交换膜和涂覆有催化剂的质子交换膜

NºPublicación:  CN121358894A 16/01/2026
Solicitante: 
环球油品有限责任公司
CN_121358894_PA

Resumen de: AU2024312824A1

Proton exchange membranes are described. The proton exchange membranes comprise a reinforced membrane, a continuous nonporous hydrogen recombination catalyst coating layer comprising a mixture of hydrogen recombination catalyst and a proton conducting ionomer, and a continuous nonporous cross-linked polyelectrolyte multilayer coating comprising alternating layers of a polycation polymer and a polyanion polymer. Catalyst coated membranes incorporating the proton exchange membranes and methods of making the proton exchange membranes are also described.

用于在电化学电池的层或层次上制造密封件的方法

NºPublicación:  CN121359006A 16/01/2026
Solicitante: 
罗伯特·博世有限公司
CN_121359006_PA

Resumen de: WO2024260689A1

The invention relates to a method for producing a seal (1) on a layer or coating (2) of an electrochemical cell by means of screen process printing, a stencil (3) being used which has at least one cut-out (5) spanned by bars (4) and which is filled in a scraping process with a sealant and/or adhesive (6) so that, after releasing the sealant and/or adhesive (6) from the stencil (3), the bars (4) leave impressions behind in the sealant and/or adhesive (6). According to the invention, the production of the seal (1) includes a quality check that comprises the steps of: a) measuring an average profile height (h) over a length (l) of the seal (1); b) processing the measured values by Fourier transform (FFT) to determine amplitudes (a1, a2, a3, a4,...an) in an amplitude spectrum which are characteristic for the seal (1); c) comparing the amplitudes (a1, a2, a3, a4,...an) with a previously determined target amplitude and/or an average amplitude (aAVG) in order to detect deviations which indicate a printing error.

电合成或电能电池、系统和操作方法

NºPublicación:  CN121359271A 16/01/2026
Solicitante: 
海萨塔私人有限公司
CN_121359271_PA

Resumen de: AU2024273029A1

Disclosed are electro-synthetic or electro-energy cells and systems that display low impedances despite employing poorly conductive liquid electrolytes, and methods of operation of such cells and systems. In one example there is provided an electro-synthetic or electro-energy cell, comprising a first electrode, a second electrode and a liquid flow channel positioned between the first electrode and the second electrode. The liquid flow channel supplies a liquid electrolyte and the liquid flow channel is narrow. A porous spacer, which can be a porous capillary spacer, may be positioned in the liquid flow channel. In another example there is provided a method of operation of the cell comprising filling the flow channel with a highly conductive liquid electrolyte and applying a potential difference between the first electrode and the second electrode. During operation of the cell the poorly conductive liquid electrolyte flows through the flow channel.

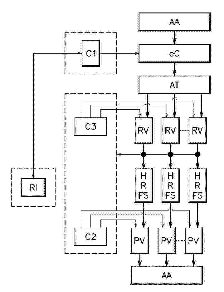
用于控制电动压缩机的方法、以及程序和基于这种方法的燃料电池架构

NºPublicación:  CN121359270A 16/01/2026
Solicitante: 
舍弗勒技术股份两合公司
CN_121359270_PA

Resumen de: WO2025021646A1

The invention relates to a control method for controlling an electric compressor (eC) in a fuel cell architecture, comprising: - the electric compressor (eC); - an air tank (AT); - a plurality of fuel cell systems, each comprising a humidifier (H), a cooler (R) and a fuel cell stack (FS); the control method comprising the following steps: - determining an air flow and pressure requirement (RI) for the fuel cells; - determining a minimum pressure setpoint and a speed setpoint for the electric compressor (eC); - controlling the electric compressor (eC) on the basis of these setpoint points; - measuring the pressure in the air tank (AT). The invention also relates to a program and an architecture based on such a method.

用于电化学系统的分隔器板

NºPublicación:  CN121359267A 16/01/2026
Solicitante: 
莱茵兹密封垫有限公司罗伯特·博世有限公司
CN_121359267_PA

Resumen de: WO2024256528A1

The invention relates to a separator plate for an electrochemical system. The electrochemical system can in particular be a fuel cell system, an electrochemical compressor, an electrolyzer or a redox flow battery. The invention also discloses an electrochemical system comprising multiple separator plates of this type.

用于电化学系统的分隔器板

NºPublicación:  CN121359266A 16/01/2026
Solicitante: 
莱茵兹密封垫有限公司罗伯特·博世有限公司
CN_121359266_PA

Resumen de: WO2024256512A1

The invention relates to a separator plate for an electrochemical system. The electrochemical system can in particular be a fuel cell system, an electrochemical compressor, an electrolyzer or a redox flow battery. The invention also discloses an electrochemical system comprising multiple separator plates of this type.

密封材料的制造方法及密封材料

NºPublicación:  CN121358819A 16/01/2026
Solicitante: 
东亚合成株式会社
CN_121358819_A

Resumen de: WO2024257724A1

A sealing material production method according to the present disclosure comprises a step for irradiating a photocurable resin composition with light (a) including at least one wavelength (I) of 395-435 nm, and irradiating the same with light (b) including at least one wavelength (II) of 200-385 nm. In the light (a), the irradiation energy in the wavelength range of 200-385 nm is 0.2 times or less of the irradiation energy in the wavelength range of 395-435 nm. The photocurable resin composition contains, at a specific ratio, a specific component (A), a specific component (B), a specific component (C), and a specific component (D).

一种燃料电池电解槽一体化高温水蒸气冷凝回收与温控系统控制方法

NºPublicación:  CN121355306A 16/01/2026
Solicitante: 
吉林大学
CN_121355306_PA

Resumen de: CN121355306A

本发明提出了一种燃料电池电解槽一体化高温水蒸气冷凝回收与温控系统控制方法,属于氢能系统热管理与水资源回收利用技术领域,针对现有燃料电池和电解槽高温水蒸气分散式配置带来回收装置重复、能量利用不充分、系统体积大、控制复杂且在高温高湿工况下水回收率偏低等问题。本发明采用双源集成冷凝回收,同时回收燃料电池与电解槽两路高温蒸气中的水分,提高总回收率;统一水箱与换热网络,减少部件重复与压降损失,系统更紧凑;分级散热同时按需制冷,在保证电解槽温度可控的同时降低制冷能耗;气体品质可靠,经气液分离与干燥,确保输送至燃料电池的氢气含水量满足要求;适用性广,可用于固定式、车载式或分布式制氢供能场景。

一种复合质子交换膜及其制备方法

NºPublicación:  CN121355309A 16/01/2026
Solicitante: 
山东东岳未来氢能材料股份有限公司
CN_121355309_PA

Resumen de: CN120453429A

The invention belongs to the technical field of high polymer materials, and particularly relates to a composite proton exchange membrane and a preparation method thereof. According to the prepared composite proton exchange membrane, the perfluorosulfonic acid resin capable of being industrially applied is selected as a base membrane material, and the modified polybenzimidazole polymer resin is added, so that the problem of high ion permeation rate of a perfluorosulfonic acid proton exchange membrane in the prior art is solved; interpenetration and permeation of the electrolyte in the use process of the perfluorosulfonic acid proton exchange membrane can be reduced, cross contamination of positive and negative electrolyte is greatly reduced, and the service life of the electrolyte is prolonged. The PBI is functionalized, so that the proton transmission capacity of the PBI is improved, and the proton exchange membrane formed by blending the functionalized PBI and the perfluorinated sulfonic acid resin can keep excellent vanadium resistance, excellent proton transmission capacity and relatively high ion selectivity at the same time. The preparation process is simple, and the prepared proton exchange membrane can meet the performance and long-term stability use requirements of a flow battery.

燃料电池系统

NºPublicación:  CN121355316A 16/01/2026
Solicitante: 
中国第一汽车股份有限公司
CN_121355316_PA

Resumen de: CN121355316A

本发明公开了一种燃料电池系统,本发明涉及燃料电池技术领域,燃料电池系统包括:供气模块和散热模块;燃料电池,燃料电池包括电堆和端板,电堆和端板沿第一方向排布且换热配合,端板内形成有换热流道和气体流道,换热流道连通散热模块和电堆,以使流出电堆的换热介质通过换热流道流入散热模块,气体流道连通供气模块和电堆,以使供气模块的气体流入电堆,换热流道和气体流道换热配合。由此,能够同时改善辐射冷却和新氢温度的问题,有效提高燃料电池的效率和稳定性,延长燃料电池寿命,并且在端板上集成氢气换热功能,能够在提高燃料电池系统集成度的同时有效增大氢气与换热介质的换热面积,提升换热功率和换热效率的同时,降低氢气压损。

VEHICULE AUTOMOBILE A BATTERIE ET PILE A COMBUSTIBLE, COMPRENANT UN MOYEN DE CHAUFFAGE DE LA PILE AU DEMARRAGE EN FAIBLE CHARGE DE LA BATTERIE, PROCEDE ET PROGRAMME SUR LA BASE D’UN TEL VEHICULE

NºPublicación:  FR3164423A1 16/01/2026
Solicitante: 
STELLANTIS AUTO SAS [FR]
STELLANTIS AUTO SAS
FR_3164423_PA

Resumen de: FR3164423A1

L’invention concerne un véhicule automobile comprenant :- un moteur électrique ;- une pile à combustible et une batterie de traction ;- des moyens d’évaluation d’une puissance (PFC) et d’une température de la pile (TFC) ; d’une puissance de la batterie (PB) ;- un moyen de chauffage de la pile ; et- un moyen de démarrage moteur électrique sur la pile à combustible ou de la batterie électrique,caractérisé en ce que si les puissances et températures (PFC, TFC) sont inférieures des seuils de puissance (S2, S3), alors le moyen de démarrage actionne le démarrage du moteur électrique sur la pile à combustible, et le chauffage de la pile à combustible. L’invention concerne également un procédé et un programme sur la base d’un tel véhicule. Figure 2

Pack batterie sous forme généralement cylindrique et système à pile à combustible utilisant un tel pack

NºPublicación:  FR3164574A1 16/01/2026
Solicitante: 
AMPERE S A S [FR]
AMPERE s.a.s
FR_3164574_PA

Resumen de: FR3164574A1

L’invention concerne un pack batterie (1) comprenant une pluralité de cellules électrochimiques (4), le pack batterie ayant une enveloppe extérieure (10) de forme prédéterminée, avec un corps principal (14) généralement cylindrique de révolution autour d’un axe de corps. L’invention concerne un système de fourniture d'énergie électrique à base de pile à combustible, le système comprenant une pile à combustible, un agencement de batterie électrique en aval de la pile à combustible, un agencement de fourniture de gaz dihydrogène, une pluralité d'emplacements, chaque emplacement étant configuré pour recevoir un réservoir d’hydrogène sous forme de bouteille généralement cylindrique, au moins un des emplacements étant configuré pour recevoir, en lieu et place d’un réservoir d’hydrogène, un pack batterie ayant une forme sensiblement voisine d’un réservoir d’hydrogène. Figure de l’abrégé : Fig. 2

一种混酸基电解液及其制备方法与应用

NºPublicación:  CN121355313A 16/01/2026
Solicitante: 
杭州德海艾科能源科技有限公司
CN_121355313_PA

Resumen de: CN121355313A

本发明涉及全钒液流电池技术领域,公开了一种混酸基电解液及其制备方法与应用,至少包括以下步骤:采用化学还原‑电解法制备硫酸基钒电解液,将硫酸基钒电解液倒入旋转蒸发器的旋转容器中,进行旋转蒸发操作,得到硫酸基钒浓缩液,向硫酸基钒浓缩液中加入氯化钡溶液,充分搅拌,得到硫酸盐酸基钒粗液,用微孔滤膜对硫酸盐酸基钒粗液进行过滤,滤液即硫酸盐酸基钒浓缩液,再向硫酸盐酸基钒浓缩液中加入去离子水,稀释浓缩液,将其调配得到最终的混酸基钒电解液,具有能量密度高、使用温度宽、钒稳定性好的优点,避免了常规方法电解时盐酸挥发和析氯导致的盐酸浓度难以准确控制和环境污染问题。

一种SOFC阳极材料及其制备方法、应用

NºPublicación:  CN121355275A 16/01/2026
Solicitante: 
新疆大学
CN_121355275_PA

Resumen de: CN121355275A

本发明为一种SOFC阳极材料及其制备方法、应用。一种SOFC阳极材料,所述的SOFC阳极材料为钙钛矿材料La1‑xBaxFe0.7Ni0.3O3‑δ;其中,所述的x为:0<x≤0.5。本发明所述的一种SOFC阳极材料及其制备方法、应用,通过调节LaFe0.7Ni0.3O3‑δ中Ba2+的掺杂浓度,形成具有三相结构的材料,该三相结构可显著提升电学性能。

一种氢燃料电池发动机辅助动力控制系统

NºPublicación:  CN121355303A 16/01/2026
Solicitante: 
江苏联铂创科技有限公司
CN_121355303_PA

Resumen de: CN121355303A

本发明公开了一种氢燃料电池发动机辅助动力控制系统,涉及智能控制的技术领域,包括模拟模块、补偿模块和控制模块,构建无干扰温度模型,计算干扰参数的权重,得到第一温度模型,构建迟滞调控模型,对输出温度进行前置整定。本发明通过构建无干扰温度模型,为后续的补偿和控制提供理论基础,计算干扰参数的权重,有效应对实际运行中的不确定性和干扰,构建迟滞调控模型,对输出温度进行前置整定,提高系统的稳定性和响应速度,通过模拟和补偿模块的结合,系统能够更准确地预测和调整温度,减少因干扰导致的误差,迟滞调控模型的应用有效减少温度的频繁波动,使系统在动态条件下保持稳定。

一种集成式植物微生物燃料电池系统

NºPublicación:  CN121355312A 16/01/2026
Solicitante: 
上海人居建筑科技有限公司
CN_121355312_PA

Resumen de: CN121355312A

本发明涉及一种集成式植物微生物燃料电池系统,属于微生物燃料电池技术领域。该系统包括多个反应器单元,每个反应器单元具有阴极和阳极,所述反应器单元通过串联方式电连接,形成电压输出系统。串联连接通过专有的串联模块实现,该模块集成传电导轨和卡槽结构,优化电流路径和电压叠加效率。系统支持模块化扩展,通过串联连接将多个反应器单元的输出电压叠加,实现稳定电压输出,适用于户外低功耗设备供能。本发明解决了现有PMFC系统串联时发电效率低、连接不可靠、扩展性差等问题,具有输出电压高、连接稳固、易于维护的优点。

一种固体氧化物燃料电池的新型高效催化氧化脱硫装置及方法

NºPublicación:  CN121343639A 16/01/2026
Solicitante: 
烟台鏊润能源科技有限公司
CN_121343639_PA

Resumen de: CN121343639A

本发明涉及固体氧化物燃料电池技术领域,具体提供了一种固体氧化物燃料电池的新型高效催化氧化脱硫装置及方法,本发明采用二段式脱硫罐结构:一段常温脱硫罐装填CuO基脱硫剂,脱除H2S至0.1ppm;二段精脱硫罐在150‑200℃下操作,内装CuO‑Al2O3‑SiO2复合催化剂,通过催化氧化作用断裂四氢噻吩等有机硫的C‑S键,并转化为H2S后被CuO吸收,最终将总硫含量深度脱除至30ppb。本发明无需氢气源,适用场景广,具有低能耗、低成本、操作简便及脱硫精度高的突出优点,能有效满足SOFC电堆对燃料气的苛刻要求。

一种可更换流道结构的液流电池电极板框

NºPublicación:  CN223809117U 16/01/2026
Solicitante: 
大连碳星新能源科技有限公司
CN_223809117_U

Resumen de: CN223809117U

本实用新型属于液流电池电堆中的电极板框流道领域,具体的说是一种可更换流道结构的液流电池电极板框,包括无流道电极板框,所述无流道电极板框的内部开设有若干个通孔,所述无流道电极板框的一侧设置有两个电极板框流道槽,所述电极板框流道槽的内部设置有可拆卸带流道盖板,所述可拆卸带流道盖板的一侧设置有第一盖板流道;本实用新型由装配人员将可拆卸带流道盖板安装在无流道电极板框的电极板框流道槽上,其中可拆卸带流道盖板上的第一盖板流道和第二盖板流道形状可以根据不同的试验样品进行随意更改,只需要保证可拆卸带流道盖板不变即可,这样就可以实现快速试制新样品试验,提高电极板框的重复利用率,降低样品的试制周期和成本。

一种燃料电池的安装结构及燃料电池

NºPublicación:  CN223809116U 16/01/2026
Solicitante: 
重庆氢潼新能源研究院有限公司
CN_223809116_U

Resumen de: CN223809116U

本实用新型公开了一种燃料电池的安装结构及燃料电池,涉及燃料电池技术领域,所述安装结构包括安装底座,安装底座的上表面设置有安装槽;限位部设置在安装底座上,限位部包括底部横向滑动设置在安装底座内部的一对滑动连接架,两个滑动连接架为L型且平行相对设置,每个滑动连接架靠近安装底座的一侧侧面设置有第一弹簧,滑动连接架适于压缩第一弹簧后卡接在安装槽内,安装底座的安装槽的中心旋转设置有驱动盘,每个滑动连接架朝向驱动盘的连接板适于与对应侧驱动盘的旋转轴的底部固定连接,旋转轴适于竖直滑动穿插在驱动盘的弧形槽内;驱动盘适于旋转带动滑动连接架朝向驱动盘的一侧滑动,以使滑动连接架完成解锁操作。

一种氢燃料电池双极板巡检探针装置

NºPublicación:  CN223808492U 16/01/2026
Solicitante: 
国鸿氢能科技(嘉兴)股份有限公司
CN_223808492_U

Resumen de: CN223808492U

本实用新型公开了一种氢燃料电池双极板巡检探针装置,包括端板固定块、固定梁、若干个探针固定块和若干个弹簧探针;所述弹簧探针可拆装地设置在所述探针固定块上,用于检测用;所述探针固定块可拆装且可调节位置地设置在所述固定梁上;所述固定梁可拆装地设置在所述端板固定块上;所述端板固定块则可拆装地固定在氢燃料电池的端板上;所述氢燃料电池双极板巡检探针装置安装好后,所述弹簧探针的一端与氢燃料电池的极板连接,所述弹簧探针的另一端能与巡检器连接。本实用新型能实现弹簧探针的可快速安装、可拆卸及可随时替换,同时该装置采用弹簧探针对极板电压进行检测,通过调节弹簧探针的位置,可满足不同尺寸电堆的电压检测需要。

一种基于聚芳基靛红含中间催化层的复合型双极膜及其制备方法和应用

NºPublicación:  CN121338553A 16/01/2026
Solicitante: 
上海大学
CN_121338553_PA

Resumen de: CN121338553A

本发明涉及一种基于聚芳基靛红含中间催化层的复合型双极膜及其制备方法和应用。本发明通过提供一种具有相同聚芳基靛红聚合物骨架的阴、阳离子交换层的双极膜,具有快速的传质性能、单极膜层的高兼容性使双极膜具有可观的水分解效率和长期的化学及机械稳定性。该复合型双极膜具有较小的膜面电阻,并兼备优异的机械强度与长期的化学稳定性,可作为功能膜应用于电解水制氢、燃料电池、电渗析、二氧化碳还原和液流电池等领域。

一种液流电池电极材料及其制备方法和液流电池

NºPublicación:  CN121355273A 16/01/2026
Solicitante: 
江苏朗雄储能科技有限公司
CN_121355273_PA

Resumen de: CN121355273A

本发明提供了一种液流电池电极材料及其制备方法,所述电池电极材料包括碳基材料,以及负载于所述碳基材料上的金属颗粒、金属氧化物颗粒和碳点。本发明创新性地在碳基材料电极材料中加入碳点,碳点的加入一方面不仅可以引入大量的含氧官能团,提高电极材料的电化学活性,更可以将金属颗粒和金属氧化物颗粒弥散分布在碳点上,实现对基于碳基材料的电池电极材料的改性。通过在碳点上引入抑制析氢反应型的金属颗粒和提高电化学活性并且具有优秀导电性能的金属氧化物颗粒,并且通过控制金属颗粒和金属氧化物颗粒的两者比例,使得改性后的碳基材料材料具备优秀的抑制析氢能力、高电化学活性以及导电性。

双级质子交换膜燃料电池水回收装置

NºPublicación:  CN121355293A 16/01/2026
Solicitante: 
吉林大学
CN_121355293_PA

Resumen de: CN121355293A

本发明公开了双级质子交换膜燃料电池水回收装置,属于质子交换膜燃料电池废气处理技术领域。本发明包括冷凝水回收回路和喷淋水循环闭路;冷凝水回收回路中使用双级冷凝脱水,先使用直喷接触冷凝塔来快速去除大部分水汽,直喷雾化强化换热,与传统冷凝相比单位能耗更低,后使用表面冷凝器进行二次精细脱水,保证脱水回收效益最大化。双级温度冷却,降低对冷却机和冷却塔的负荷,冷却后的冷凝水作为喷淋水使用,喷淋后随着冷凝水一同收集至中央缓冲水箱进行冷却,后续喷淋冷凝所用水只需抽取少量中央缓冲水箱存储水即可,而冷凝水也不断补入水箱,无需使用其他水源,实现系统水量平衡。

一种金属固态储氢剩余储氢量的计算方法与储氢系统

NºPublicación:  CN121355300A 16/01/2026
Solicitante: 
中车株洲电力机车有限公司
CN_121355300_PA

Resumen de: CN121355300A

本申请公开了一种金属固态储氢剩余储氢量的计算方法与储氢系统,涉及轨道车辆车载氢燃料电池的领域,其计算方法包括:获取储氢系统的氢气含量初始值,获取储氢系统释放氢气的过程中的热量变化和储氢系统容器放氢反应的焓变,由此得到氢气释放量以及系统容器中的剩余氢含量,本申请采用热力学原理进行氢气释放量的计算,计算结果在压强变化不明显的情况下具有更高的准确性。

一种高性能尿酸/聚苯并咪唑复合高温质子交换膜的制备方法

NºPublicación:  CN121355311A 16/01/2026
Solicitante: 
黑龙江大学
CN_121355311_PA

Resumen de: CN121355311A

一种高性能尿酸/聚苯并咪唑复合高温质子交换膜的制备方法,本发明属于高温燃料电池领域。本发明为了解决目前高温质子交换膜还无法达到应用要求的技术问题。一、含醚键聚苯并咪唑的制备;二、OPBI复合膜的制备;三、磷酸掺杂复合膜的制备。本发明中复合型高温质子交换膜在高温无水条件下具有较高的力学性能、质子电导率和抗氧化性能。本发明用于制备高性能尿酸/聚苯并咪唑复合高温质子交换膜。

燃料电池系统及其氢气回流装置

NºPublicación:  CN223809122U 16/01/2026
Solicitante: 
国鸿氢能科技(嘉兴)股份有限公司
CN_223809122_U

Resumen de: CN223809122U

本实用新型涉及燃料电池技术领域,公开了一种燃料电池系统及其氢气回流装置,包括外壳,所述外壳内形成第一容纳腔和第二容纳腔,所述第一容纳腔和所述第二容纳腔之间设置有弹性分隔件,所述外壳上开设有连通所述第一容纳腔的进氢口和出氢口,所述外壳上还开设有连通所述第二容纳腔的进气口和出气口,所述第二容纳腔进气时将所述弹性分割件压向所述第一容纳腔以协助所述第一容纳腔排氢。本申请简化了回氢装置的设置,无需为回氢装置配置单独的电气线路,降低了功耗需求,提高了安全系数,防止对电气系统的可靠性引入不可预知的风险。

一种燃料电池双极板密封结构

NºPublicación:  CN223809119U 16/01/2026
Solicitante: 
重庆氢潼新能源研究院有限公司
CN_223809119_U

Resumen de: CN223809119U

本实用新型公开了一种燃料电池双极板密封结构,涉及燃料电池技术领域,包括密封框,密封框的上表面开设有第一密封槽,第一密封槽的内部卡接设置有第一密封块,第一密封块的顶部固定连接有第一电极板,密封框的下表面开设有第二密封槽,第二密封槽的内部卡接设置有第二密封块,第二密封块的底部固定连接有第二电极板。本实用新型通过第一电极板、第二电极板、密封框、第一密封块、第一密封槽、第二密封块、第二密封槽和密封垫的结构设计,可以实现在长时间工作后不会产生形变,从而保证双极板的密封性能,同时在第一密封槽和第二密封槽的内壁上设置的有由聚丙烯材质制作的密封垫,进一步提高密封的效果。

空冷燃料电池单体及电池

NºPublicación:  CN223809123U 16/01/2026
Solicitante: 
广东环华氢能科技有限公司
CN_223809123_U

Resumen de: CN223809123U

本实用新型公开了空冷燃料电池单体及电池,涉及燃料电池技术领域,解决了现有技术中的燃料电池结构复杂的问题。所述空冷燃料电池单体包括:双极板、第一扩散层、反应层以及第二扩散层;双极板包括阳极侧和阴极侧,第一扩散层设置于阳极侧和反应层之间,第二扩散层与反应层远离第一扩散层的另一面贴合;其中,反应层的尺寸大于第一扩散层的尺寸,第一扩散层和阳极侧通过第一胶层连接。本实用新型通过优化双极板、第一扩散层和反应层的结构,减少了不必要的组件,简化了电池单元的结构,降低了制造复杂度,同时采用单独的第一扩散层、反应层以及第二扩散层,可以根据具体需求调整各层的材料和厚度,实现定制设置所述电池单体,优化电池性能。

一种全钒液流电池用液流框

NºPublicación:  CN223809124U 16/01/2026
Solicitante: 
西安建筑科技大学
CN_223809124_U

Resumen de: CN223809124U

本实用新型公开了一种全钒液流电池用液流框,包括液流框,所述液流框中部开设有电极腔,所述液流框上一侧设置有进液组件,所述液流框上与所述进液组件相对一侧设置有出液组件,所述液流框顶底两端均设置有导热组件,所述导热组件外侧连接有散热组件,所述散热组件包括与所述导热组件固定相连的机架。通过设置散热组件,能够在液流框使用过程中,半导体制冷片通过安装板固定在机架内,通过半导体制冷片的吸热端吸收导热组件上的热量,然后散热扇通过半导体制冷片的放热端将这些吸收的热量排放至外界,从而对液流框快速进行散热降温,避免影响电解液化学反应的效率,提高电池充放电之间的转换效率。

一种质子交换膜燃料电池的活化方法

NºPublicación:  CN121355295A 16/01/2026
Solicitante: 
海卓动力(北京)能源科技有限公司
CN_121355295_PA

Resumen de: CN121355295A

本发明属于燃料电池技术领域,具体涉及一种质子交换膜燃料电池的活化方法。本发明将电堆进行启机,当电堆的冷却水入口温度达到40~75℃时将电堆进行活化,所述活化包括进行n次单元活化,n为≥3的整数,每1次单元活化包括1次拉载操作和1次阴极饥饿操作,且活化过程中的拉载操作和阴极饥饿操作交替进行。本发明提供的活化方法采取拉载操作与阴极饥饿操作交替进行的方式,其中拉载操作的主要目的是建立膜电极内各种物质通道,增湿膜电极。阴极饥饿操作的目的是清除催化剂表面的氧化物、杂质或附着物,提升催化剂活性面积,提高催化剂活性。本发明提供的活化方法可以大大缩短电堆生产周期,提升生产效率。

一种基于混合建模的全钒液流电池SOC估计方法

NºPublicación:  CN121348134A 16/01/2026
Solicitante: 
太原理工大学
CN_121348134_PA

Resumen de: CN121348134A

本发明公开了一种基于混合建模的全钒液流电池SOC估计方法,包括如下步骤:步骤1:获取全钒液流电池的样本数据;步骤2:构建包含多物理机制的SOC的物理基础建模框架;步骤3:构建具有自适应持续学习机制的SOC估算模型,并基于物理基础建模框架构建SOC估算模型损失函数中的物理信息约束;步骤4:对SOC估算模型进行训练与自适应更新,并通过训练后的SOC估算模型对SOC进行估算。本发明通过在SOC估算过程中集成多种物理机理和实时工况信息,显著提升了电池荷电状态的预测准确性和长期稳定性。

一种厚度可控的气水传输层及其制备方法及应用

NºPublicación:  CN121344649A 16/01/2026
Solicitante: 
重庆大学
CN_121344649_PA

Resumen de: CN121344649A

本发明公开了一种厚度可控的气水传输层的制备方法,包括如下步骤:1)料液制备:将含钛金属的粉末颗粒与有机溶剂混合均匀,获得混合浆料;2)丝网印刷:将步骤1)得到的混合浆料通过丝网涂覆于钛基材料表面,干燥后,得到预制气水传输层;3)真空烧结:将步骤2)得到的预制气水传输层进行真空烧结,冷却,得到厚度可控的气水传输层。该方法制备得到的气水传输层不仅可显著提升催化剂的利用率、降低PEM电解槽制氢电耗,利于降低PEM电解槽运行成本;此外,依据本申请的方法制备的气水传输层还可为膜电极提供额外支撑,减少运行过程中PEM由于阴阳极压力差导致的变形,从而提高膜电极使用寿命。

船舶氢燃料电池多级协同散热系统

NºPublicación:  CN121355290A 16/01/2026
Solicitante: 
江南造船(集团)有限责任公司
CN_121355290_PA

Resumen de: CN121355290A

本发明提供一种船舶氢燃料电池多级协同散热系统,包括:电堆单元;一级制冷回路,包括第二换热器和三通控制阀,所述第二换热器的第一管口和第二管口均与所述电堆单元连接,所述第一管口用于接收对所述电堆单元进行冷却后形成的高温冷却液并且所述第二换热器对高温冷却液进行降温,所述三通控制阀的进口与所述第二换热器的第三管口连接,且所述三通控制阀的其中一个出口与所述电堆单元连接;二级制冷回路,所述二级制冷回路的进液口与所述三通控制的另一出口连接,所述二级制冷回路的出液口与所述第二换热器的第四管口连接;中央集控单元,基于从所述第二换热器流出的高温冷却液的温度,通过控制所述三通控制阀以改变高温冷却液的流向。

一种氢燃料电池发动机空气滤芯堵塞在线监测方法

NºPublicación:  CN121355302A 16/01/2026
Solicitante: 
氢质氢离(北京)氢能科技有限公司
CN_121355302_PA

Resumen de: CN121355302A

本发明涉及燃料电池系统监测与控制技术领域,具体为一种氢燃料电池发动机空气滤芯堵塞在线监测方法;所述包括通过实时采集环境压力、电堆入口压力、空压机转速及空气质量流量数据,结合预标定的歧管压损模型和空压机二维性能映射表,反推计算滤芯压降值;通过比对实时压降与新滤芯标定压降的增幅比例,实现堵塞程度量化判断;当压降增幅达到15%时触发维护提醒,达到30%时限制空压机转速并提示维修。本发明利用传感器与算法模型,实现了滤芯堵塞的精准在线监测,降低人工维护成本,提升系统可靠性与安全性。

一种氢燃料电池系统的制冷冷却装置

NºPublicación:  CN223809120U 16/01/2026
Solicitante: 
九氢(上海)新能源科技有限公司
CN_223809120_U

Resumen de: CN223809120U

本实用新型属于冷却装置技术领域,尤其为一种氢燃料电池系统的制冷冷却装置,包括冷却液储液罐和进液口,所述冷却液储液罐的上侧固定有进液口,且冷却液储液罐的外侧依次安装有散热器和冷却液循环泵。该氢燃料电池系统的制冷冷却装置,当制冷冷却装置添加冷却液时,将进液口的箱盖打开,旋转旋钮,令连接管可将折叠波纹管向上顶起,当折叠波纹管逐渐移出进液口时,令齿柱可带动支架进行旋转,使得支架可带动折叠波纹管的上端向外侧旋转展开,令折叠波纹管一侧的口径进行扩展,可将冷却液通过折叠波纹管倒入冷却液储液罐的内部,令氢燃料电池系统的制冷冷却装置便于添加冷却液。

一种气体热交换装置及氢燃料电池

NºPublicación:  CN223809121U 16/01/2026
Solicitante: 
重庆氢潼新能源研究院有限公司
CN_223809121_U

Resumen de: CN223809121U

本实用新型公开了一种气体热交换装置及氢燃料电池,涉及氢燃料电池技术领域,所述气体热交换装置包括氢气预热器、中冷器和循环泵;所述氢气预热器通过预热器进水管与所述循环泵连接,所述中冷器通过预热器出水管与所述氢气预热装置连接,最后中冷器出水管将所述中冷器和所述循环泵连接,形成循环回路;气体热交换装置的冷却液通过循环回路,在中冷器中吸收热量,通过循环泵输送至氢气预热装置,对将进入氢燃料电池系统的氢气进行预热。本实用新型中的气体热交换装置能够有效解决氢燃料电池热管理系统功率不够、空气温度的冷却达不到预定温度且氢气循环回路温度不可控的技术问题。

一种固体氧化物燃料电池用电解池测试转换系统

NºPublicación:  CN223808540U 16/01/2026
Solicitante: 
氢鹏科技(深圳)有限公司
CN_223808540_U

Resumen de: CN223808540U

本申请涉及燃料电池领域,揭示了一种固体氧化物燃料电池用电解池测试转换系统,包括SOFC‑SOEC电堆,包含至少一个固体氧化物燃料电池单元;气体供给系统,包括与所述电堆相连接的燃料气体供应组件、氧化剂气体供应组件和吹扫气体供应组件;供水系统,与电堆相连通;温度控制系统,包括高温炉、加热元件及温度传感器,电堆安装在高温炉内,加热元件设置在电堆与气体供给系统以及供水系统相连通的管道之间,温度传感器用于测量电堆工作所需的温度;以及安全管控系统。该电解池测试转换系统能够快速在SOFC发电模式和SOEC电解模式之间切换,解决现有技术中只能单独测试SOFC或SOEC的限制问题。

一种双极板及氢燃料电池电堆

NºPublicación:  CN223809118U 16/01/2026
Solicitante: 
华创氢能科技(广东)有限公司
CN_223809118_U

Resumen de: CN223809118U

本实用新型提供了一种双极板及氢燃料电池电堆,所述双极板包括:依次叠放的正极板、膜电极以及负极板;沿着所述叠放的方向观察时,双极板呈长方形,在双极板的沿长方形的长度方向的两端,一端设置有第一空气出口和第一氢气入口,另一端设置有第一氢气出口和第一空气入口,第一空气出口与第一空气入口设置在所述长方形的一条对角线上,第一氢气入口与第一氢气出口设置在所述长方形的另一条对角线上。

一种催化剂涂布浆料制备、催化剂涂层制作、转印方法

NºPublicación:  CN121355270A 16/01/2026
Solicitante: 
陕西兴燃科技有限公司
CN_121355270_PA

Resumen de: CN121355270A

本发明涉及膜电极制备技术领域,具体为一种催化剂涂布浆料制备、催化剂涂层制作、转印方法。向容器中依次加入催化剂颗粒和一定量的超纯水将催化剂完全浸润,然后加入一定量的全氟磺酸树脂溶液,加入一定体积的球磨珠,将催化剂低温高速研磨分散均匀。然后加入低沸点的醇的水混合溶液,将上述溶液转移至新的容器,分散均匀后进行剪切,剪切结束后进行消泡处理,得到分散性较好的涂布浆料。将得到的催化剂浆料均匀的涂覆在离型膜上,放置在烘箱中真空干燥,得到均匀稳定的催化剂涂层。再将催化剂涂层转印到质子膜上,得到完整的膜电极样品。本发明提供的转印工艺可以将涂覆在离型膜上的催化剂涂层完全转印至质子膜上,保证催化剂涂层的完整性。

一种通过电沉积制备表面非晶甲醇电氧化催化剂的方法

NºPublicación:  CN121355271A 16/01/2026
Solicitante: 
中国科学院大学
CN_121355271_PA

Resumen de: CN121355271A

本发明提供了一种通过电沉积制备表面非晶甲醇电氧化催化剂的方法,属于催化剂技术领域。本发明所制备的Pt‑Ag双金属甲醇电氧化催化剂具有特殊的表面非晶结构,针对甲醇电氧化反应,表现出了十分优异的催化稳定性,并且组分可调、结构可控,通过对合成参数的系统优化,能有效兼顾催化剂性能和生产成本,对于推进直接甲醇燃料电池的实用化非常有利。本发明通过放大电沉积基底的尺寸,可获得由大尺寸基底负载的具有表面非晶结构的Pt‑Ag双金属甲醇电氧化催化剂,这为后续的规模化应用垫定了坚实的基础。

一种可调节密封应力的密封结构

NºPublicación:  CN121344634A 16/01/2026
Solicitante: 
无锡威孚高科技集团股份有限公司
CN_121344634_PA

Resumen de: CN121344634A

本发明提供了一种可调节密封应力的密封结构,包括金属板,金属板的一表面外周设置密封槽,密封槽的内侧壁设置内限制环,密封槽的外侧壁设置外限制环,内限制环和外限制环之间设置增压管。本发明的可调节密封应力的密封结构,可通过调节气压或液压补充密封接触应力,突破了密封材料自身的应力上限;密封结构内部的气压或液压在所有位置均是相等的,可以减小密封件表面的接触应力差异,降低泄漏风险。

一种燃料电池涂布方法

NºPublicación:  CN121339007A 16/01/2026
Solicitante: 
东方电气(成都)氢能科技有限公司
CN_121339007_A

Resumen de: CN121339007A

本发明公开了一种燃料电池涂布方法,包括以下步骤:包括以下步骤:浆料准备步骤:将催化剂、离聚物和溶剂混合,制备催化剂浆料;初级过滤步骤:将所述催化剂浆料在进入输送泵之前,进行第一级过滤,以去除大颗粒团聚物;输送步骤:经初级过滤后的浆料通过输送泵泵送;二级过滤步骤:经泵送后的浆料在进入涂布模头之前,进行第二级过滤,所述第二级过滤的精度高于所述第一级过滤;涂布步骤:经二级过滤后的浆料通过涂布模头涂布到膜电极基底上,形成催化剂涂层。

用于燃料电池系统开机启动水淹处理方法及装置

NºPublicación:  CN121355299A 16/01/2026
Solicitante: 
海卓动力(北京)能源科技有限公司
CN_121355299_PA

Resumen de: CN121355299A

本申请公开了一种用于燃料电池系统开机启动水淹处理方法及装置,涉及燃料电池系统技术领域,该方法包括:在燃料电池系统获取启动指令后,控制燃料电池电堆电流逐步加载至目标电堆电流的过程中,监测燃料电池电堆的电流及平均单体电压;若监测到燃料电池电堆电流小于电堆电流第一阈值且燃料电池电堆的平均单体电压小于设定平均电压第一阈值,则对燃料电池电堆的阴阳极腔体进行吹扫;在吹扫完成后,控制燃料电池系统重新正常启动并运行至目标电堆电流。本申请可解决在双极板出现泄漏后,导致燃料电池的输出性能降低的问题。

脱硫方法、脱硫装置、水素生成装置及び燃料電池システム

NºPublicación:  JP2026005769A 16/01/2026
Solicitante: 
パナソニックIPマネジメント株式会社
JP_2026005769_PA

Resumen de: JP2026005769A

【課題】硫化炭素を含むガスの脱硫に適した技術を提供する。【解決手段】脱硫方法は、原料ガス50とアミン保有剤102との第1接触により、原料ガス50に含まれる硫化炭素を低減することを含む。アミン保有剤102は、官能基としてアミンを有する。脱硫方法は、原料ガス50において、第1接触により生成した硫化水素を低減することを含む。【選択図】図2

燃料電池システム

NºPublicación:  JP2026005462A 16/01/2026
Solicitante: 
大阪瓦斯株式会社
JP_2026005462_PA

Resumen de: JP2026005462A

【課題】気化部で原燃料の流路の狭窄が発生した場合でもそれを解消できる燃料電池システムを提供する。【解決手段】水タンク19から供給される水を気化させる気化部5、改質部6、燃料ガスを用いて発電する複数の燃料電池セル8を有するセルスタック9を有し、原燃料を供給する原燃料ポンプ3bと、空気を供給する空気ポンプ22と、水タンク19と、水を気化部5に供給する水ポンプ21と、制御装置26とを備える燃料電池システムであって、制御装置26は、所定の処理実行条件が満たされた場合、原燃料ポンプ3bと空気ポンプ22と水ポンプ21とを停止させると共にセルスタック9での発電を停止させている間に、気化部5に所定の注入用液体を所定量だけ供給して、少なくとも所定の待機時間の間は気化部5からの注入用液体の排出を行わない液体注入処理を実行する。【選択図】図1

一种重复利用的柔性石墨板电堆装配方法

NºPublicación:  CN121355314A 16/01/2026
Solicitante: 
华燚新能源材料(上海)有限公司
CN_121355314_PA

Resumen de: CN121355314A

本发明提出了一种重复利用的柔性石墨板电堆装配方法,包括如下步骤:S1:电堆拆卸:在拆除电堆前,获得电堆内的实际压紧力N1;S2:电堆组装:对拆除后的电堆的各个组件按照组装顺序重新堆叠组装,对裸堆施加压装力,所述压装力的目标值设定为N2,N2的范围为(1~1.5)*N1,并且N2满足小于电堆设计压装力F;以及S3:电堆紧固:当对所述裸堆施加的压装力逐渐增加达到N2时,停止增加压装力,采用紧固组件对施加压装力后的裸堆进行紧固,完成电堆重新组装。本发明使得重新组装的电堆既保证了电堆密封性良好,又能防止堆内的柔性石墨板流道结构变形,避免了流道通量减少、流阻增大的问题。

一种燃烧烟气加热的可逆固体氧化物电池氢储能系统及其应用

NºPublicación:  CN121355307A 16/01/2026
Solicitante: 
中国科学院上海应用物理研究所
CN_121355307_PA

Resumen de: CN121355307A

本发明公开了一种燃烧烟气加热的可逆固体氧化物电池氢储能系统及其应用,其包括水蒸气发生器、氢气侧高温换热器、烟气氢气高温换热器、电堆组、第一气体输送装置、空气侧高温换热器、烟气空气高温换热器、氢气侧低温换热器、气水分离器等。本申请通过设置燃烧器,改变了通常采用电加热器对系统进行升温的操作方式,采用燃烧烟气对系统进行加热升温,能够大幅减少装置的冷启动时间。同时,本发明能够实现SOEC制氢与SOFC发电工况的灵活在线切换,灵活可靠。系统在SOFC发电工况下,将阳极尾气进行燃烧,回收尾气热量以维持系统温度;在SOEC制氢工况下,则利用少量产氢或者外来燃料进行燃烧,提供装置所需热量,以维持系统温度,拓宽RSOC系统的应用场景。

一种高温质子交换膜燃料电池催化剂浆料及制备方法、应用

NºPublicación:  CN121355279A 16/01/2026
Solicitante: 
武汉理工大学
CN_121355279_PA

Resumen de: CN121355279A

本发明公开了一种高温质子交换膜燃料电池(HT‑PEMFC)催化剂浆料及制备方法、应用,旨在解决现有HT‑PEMFC中磷酸(PA)从质子交换膜析出并毒化催化层Pt活性位点,导致电池性能下降的问题。该催化剂包括碳载体、负载于碳载体上的Pt纳米颗粒及包覆于Pt纳米颗粒表面的金属氧化物;催化剂浆料由上述催化剂、水、醇类分散剂及长链 EW≥106的聚苯并咪唑(OPBI)粘结剂组成,各组分按特定质量比复配,经多步超声分散制备而成。将该浆料喷涂于碳纸并与高温质子交换膜热压组装成膜电极组件(MEA),金属氧化物表面的路易斯酸位点可优先吸附磷酸根离子,保护Pt活性位点,显著提升阴极氧还原反应(ORR)活性,降低质子阻抗(1.06‑1.15Ωcm2),提高电化学活性面积(87‑96 m2/g),延长电池使用寿命,且制备工艺简单,易于工业化生产。

SPEEK基质子交换膜及其制备方法、全钒液流电池和储能装置

NºPublicación:  CN121355310A 16/01/2026
Solicitante: 
浙江星辰新能科技有限公司
CN_121355310_A

Resumen de: CN121355310A

本发明涉及一种SPEEK基质子交换膜及其制备方法、全钒液流电池和储能装置。该SPEEK基质子交换膜,以重量份计,包括85‑97份SPEEK和3‑15份阻隔材料。阻隔材料包括氧化石墨烯和附着于氧化石墨烯上的COF,COF由对苯二甲醛单体和三聚氰胺单体合成,三聚氰胺单体和对苯二甲醛单体的摩尔比为2:3,氧化石墨烯的质量为对苯二甲醛单体和三聚氰胺单体的质量之和的3%‑12%。该SPEEK基质子交换膜既具有较高的质子传导效率又具有较好的阻钒性能,应用在全钒液流电池中,可以提升全钒液流电池的电池性能,使得全钒液流电池具有较高的能量效率。

固体酸化物形電解セル

NºPublicación:  JP2026006757A 16/01/2026
Solicitante: 
株式会社デンソー
JP_2026006757_PA

Resumen de: WO2026009553A1

A solid oxide electrolysis cell (1) has: a metal support (2) having a through-pore formation region (22) in which a large number of through-pores (21) penetrating in the thickness direction are formed; and a cell portion (3) layered on one surface of the through-pore formation region (22). The cell portion (3) has, in order from the metal support (2) side, a fuel diffusion layer (31) that diffuses fuel gas, a fuel electrode layer (32) to which the fuel gas is supplied from the fuel diffusion layer (31), a solid electrolyte layer (33), and an air electrode layer (34) that pairs with the fuel electrode layer (32). The solid oxide electrolysis cell (1) satisfies the relationship: metal support porosity < fuel diffusion layer porosity < fuel electrode layer porosity, where the metal support porosity is the area ratio of voids in a cross section along the surface direction of the metal support (2), the fuel diffusion layer porosity is the area ratio of voids in a cross section along the surface direction of the fuel diffusion layer (31), and the fuel electrode layer porosity is the area ratio of voids in a cross section along the surface direction of the fuel electrode layer (32).

パラメータフィッティングの方法

NºPublicación:  JP2026006775A 16/01/2026
Solicitante: 
トヨタ自動車株式会社
JP_2026006775_PA

Resumen de: JP2026006775A

【課題】燃料電池システムにおける制御パラメータのチューニングの工数を低減する。【解決手段】燃料電池システムのパラメータフィッティングの方法は、配管に関する制御パラメータのフィッティングのため、前記第1弁および前記第2弁の開閉状態の組合せであって、前記第1弁および前記第2弁のいずれもが閉状態であるものを除いた組合せそれぞれについての、前記空気供給流路内への空気の流量に応じた前記空気供給流路内の圧力を示す流量圧力特性データを用いた反復法を実行する工程と、前記反復法に関する繰り返し終了条件が満たされた場合に、算出された前記制御パラメータを出力する工程と、を含む。【選択図】図2

電力供給装置

NºPublicación:  JP2026007506A 16/01/2026
Solicitante: 
株式会社大原興商
JP_2026007506_PA

Resumen de: JP2026007506A

【課題】構成を複雑化することなく、レドックスフロー電池及びレドックスフロー電池以外の二次電池の満充電の安定化と過充電防止が図られた電力供給装置を提供すること。【解決手段】本発明の蓄電池装置は、レドックスフロー電池1及び二次電池3に充電する際には、開閉スイッチ素子MC2を接続して二次電池3の充電を開始し、二次電池3が満充電となる前に、開閉スイッチ素子MC1を接続してレドックスフロー電池1の充電を開始し、直流充電電圧の電圧値が、二次電池3の充電電圧の上限に到達した段階で、スイッチ素子MC2を切断し、直流充電電圧の電圧値が、二次電池3の充電電圧の上限より高く、レドックスフロー電池1の充電電圧の上限を超えない範囲で定電圧充電に移行し、充電電流の電流値が所定の電流値以下になったときに、レドックスフロー電池が満充電になったと判断し、前記開閉スイッチ素子MC1を切断することを特徴とする。【選択図】図1

イオン交換器用カートリッジ及びイオン交換器用カートリッジのキャップの成型方法

NºPublicación:  JP2026006823A 16/01/2026
Solicitante: 
トヨタ紡織株式会社
JP_2026006823_PA

Resumen de: JP2026006823A

【課題】排気孔からの空気の排出が妨げられることを抑制できるイオン交換器用カートリッジ及びイオン交換器用カートリッジのキャップの成型方法を提供する。【解決手段】イオン交換器用カートリッジ14は、冷却液が流れる冷却回路に設けられるケース13を有したイオン交換器11に備えられ、ケース13に対してケース13の上端の開口部12を通じて着脱自在に取り付けられる。イオン交換器用カートリッジ14は、周壁21及び上壁22を有するとともに内部にイオン交換樹脂Rが収容され、かつ下部開口18が冷却液の通過を許容するとともにイオン交換樹脂Rの通過を阻止する第1多孔体30によって塞がれたキャップ19を備えている。周壁21には、キャップ19の内部の空気を排出する排気孔37が設けられる。排気孔37は、上下方向に延びるとともにイオン交換樹脂Rの径よりも狭い幅を有している。【選択図】図1

シール構造体、および電気化学反応セルスタック

NºPublicación:  JP2026007096A 16/01/2026
Solicitante: 
森村SOFCテクノロジー株式会社
JP_2026007096_PA

Resumen de: JP2026007096A

【課題】ガラスシール部におけるクラックの伸展を低減する。【解決手段】シール構造体は、第1接合対象部材と、第2接合対象部材と、第1接合対象部材と第2接合対象部材との間に介在するガラスシール部と、を備え、ガラスシール部が、第1接合対象部材に接する接合面と、接合面に対して角度をなし、第1接合対象部材および第2接合対象部材のいずれにも接しない非接合面と、非接合面を含む表面領域と、を有し、表面領域が棒状粒子を含み、棒状粒子の非接合面に対する平均配向角度が45°以上、90°以下である。【選択図】図7

ガス燃料を貯蔵するためのタンク装置を作動させる方法、およびガス燃料を貯蔵するためのタンク装置

NºPublicación:  JP2026501806A 16/01/2026
Solicitante: 
ロベルト・ボッシュ・ゲゼルシャフト・ミト・ベシュレンクテル・ハフツング
JP_2026501806_PA

Resumen de: CN120569589A

The invention relates to a method for operating a tank system (1) for storing gaseous fuel for a vehicle, comprising the following steps: measuring the temperature of the gas in the respective tank container (TB) by means of a respective temperature sensor at a determined time point or time (t) during a filling process; determining a temperature change and/or a temperature gradient according to the measured temperature; ascertaining or providing an expected temperature change and/or an expected temperature gradient of the gas in the respective tank container for a determined time point or determined time (t) during the filling process by means of a temperature model; the temperature change and/or the temperature gradient are compared with an expected temperature change and/or an expected temperature gradient in the corresponding tank container (TB1, TB2,..., TBn), and the functionality of the temperature sensor is thereby verified to be reliable.

ガス燃料を貯蔵するタンク装置を運転する方法およびガス燃料を貯蔵するタンク装置

NºPublicación:  JP2026501807A 16/01/2026
Solicitante: 
ロベルト・ボッシュ・ゲゼルシャフト・ミト・ベシュレンクテル・ハフツング
JP_2026501807_PA

Resumen de: CN120530279A

The invention relates to a method for operating a tank installation (1) for storing gaseous fuel, comprising one or more tank containers (TB1, TB2,..., TBn) and at least one valve device (2). The invention also relates to a tank arrangement (1) for storing gaseous fuel, comprising one or more tank containers (TB1, TB2,..., TBn) and at least one valve device (2).

青色水素を生成する燃料電池を有する燃焼システム

NºPublicación:  JP2026501513A 16/01/2026
Solicitante: 
ジーイー・ベルノバ・テクノロジー・ゲーエムベーハー
JP_2026501513_PA

Resumen de: CN120283317A

A combustion system is provided. The combustion system includes a top cycle. The combustion system further includes a fuel cell including an anode side, a cathode side, and an electrolyte. The anode side receives fuel via an anode inlet line and generates an anode output product containing a first portion of hydrogen. The cathode side receives an oxidant from a cathode inlet line. The combustion system further includes a separation system having a water gas shift reactor that produces a second portion of hydrogen from the anode output product. The top cycle is fluidly coupled to the separation system such that the top cycle receives the hydrogen produced from the anode output product.

膜ブロック

NºPublicación:  JP2026501514A 16/01/2026
Solicitante: 
マーレインターナショナルゲゼルシャフトミットベシュレンクテルハフツング
JP_2026501514_PA

Resumen de: WO2024153434A1

The invention relates to a membrane block (1) with multiple membrane elements (2). The respective membrane element (2) comprises a flat membrane (3) and a frame (4). Formed between the neighbouring membrane elements (2) are first flow channels (7) and second flow channels (8). For this purpose, the neighbouring membrane elements (2) in the membrane block (1) are shifted in relation to one another in the widthwise direction (BR) or in the lengthwise direction (LR). The invention also relates to a humidifier with the membrane block (1).

燃料电池的吹扫参数确定方法、装置、设备、介质及产品

NºPublicación:  CN121355308A 16/01/2026
Solicitante: 
海卓动力(北京)能源科技有限公司
CN_121355308_PA

Resumen de: CN121355308A

本申请公开了一种燃料电池的吹扫参数确定方法、装置、设备、介质及产品,涉及燃料电池技术领域,该方法包括确定燃料电池的目标吹扫温度和目标膜含水量;其中,所述燃料电池的电堆中包含多片单电池;基于所述目标膜含水量确定吹扫气体的目标相对湿度;基于所述目标吹扫温度、所述目标膜含水量以及所述目标相对湿度,确定所述燃料电池的目标高频阻抗;基于所述目标吹扫温度、所述目标膜含水量以及所述目标高频阻抗,确定所述燃料电池的吹扫参数;其中,所述吹扫参数中包含所述吹扫气体的优化相对湿度、所述负载电流以及目标吹扫时间,本申请提升电堆中的单电池间的吹扫一致性。

一种电网级储能系统

NºPublicación:  CN121355291A 16/01/2026
Solicitante: 
西安热工研究院有限公司华能武汉发电有限责任公司
CN_121355291_PA

Resumen de: CN121355291A

本发明公开了一种电网级储能系统,第一给水泵的出口经热化学反应器中的换热管后分为两路,其中一路与可逆固体氧化物燃料电池的蒸汽入口相连通,另一路与可逆固体氧化物燃料电池中换热管的入口相连通,可逆固体氧化物燃料电池中换热管的出口经第二给水泵与水罐相连通,可逆固体氧化物燃料电池的氧气出口与氧气储罐相连通,可逆固体氧化物燃料电池的氢气出口与氢气储罐相连通;第一给水泵的出口与热化学反应器的壳侧开口相连通,蒸汽储罐与热化学反应器的壳侧开口相连通,蒸汽储罐与可逆固体氧化物燃料电池中的换热管相连通,电网与可逆固体氧化物燃料电池的电源接口相连通,该系统能够实现可逆固体氧化物燃料电池的废热利用,同时提高电网的调峰能力。

氢剩余量校准方法、确定方法、装置、设备、车辆及介质

NºPublicación:  CN121346173A 16/01/2026
Solicitante: 
广州汽车集团股份有限公司
CN_121346173_PA

Resumen de: CN121346173A

本申请实施例提供一种氢剩余量校准方法、确定方法、装置、设备、车辆及介质,该方法包括:获取固态储氢装置的实测数据,所述实测数据包括实测温度、实测压力和实测氢剩余量;在所述实测温度和所述实测压力满足静置条件时,基于所述实测温度和所述实测压力查询所述固态储氢装置对应的预设映射表,确定目标氢剩余量;所述静置条件用于表征固态储氢材料的内部性能达到稳定状态;基于所述实测氢剩余量和所述目标氢剩余量,确定校准氢剩余量。该方法能够有效避免实测氢剩余量所导致的误差积累,从而保障固态储氢装置的正常工作。

一种相分离型聚丙烯酸酯基阴离子交换膜的制备方法及其产品和应用

NºPublicación:  CN121338851A 16/01/2026
Solicitante: 
盐城工学院
CN_121338851_PA

Resumen de: CN121338851A

本发明公开了一种相分离型聚丙烯酸酯基阴离子交换膜的制备方法及其产品和应用,包括预聚物的制备:将全氟己基丙烯酸酯、甲基丙烯酸甲酯、丙烯酸丁酯、8‑溴‑1‑辛烯混合,以偶氮二异丁腈为引发剂,在溶剂中,于氮气保护下进行自由基共聚反应,得到预聚物溶液;(2)加入甲基咪唑,在氮气保护下进行反应,得到功能化聚合物;(3)成膜:功能化聚合物溶于乙醇中,配制成均相铸膜液,经溶液浇铸与干燥,得到所述相分离型聚丙烯酸酯基阴离子交换膜。本发明实现了电导率‑溶胀同步优化;寿命长;高功率。本发明工艺简洁,采用一步自由基共聚,无需贵金属催化剂。

用于燃料电池系统的控制系统、控制方法以及能源系统

NºPublicación:  CN121355297A 16/01/2026
Solicitante: 
中国石油化工股份有限公司中石化石油化工科学研究院有限公司
CN_121355297_PA

Resumen de: CN121355297A

本发明涉及能源技术领域,公开了一种用于燃料电池系统的控制系统、控制方法以及能源系统。所述控制系统包括:场景获取装置,用于获取所述燃料电池系统的应用场景;以及控制器,用于选择与所获取的应用场景相匹配的运行模式,并且以所述运行模式控制所述燃料电池系统工作。本发明克服了传统燃料电池系统的单一运行模式,可根据实际应用场景来灵活地选择不同的运行模式,由此燃料电池系统可灵活地适用于不同的应用场景。

一种燃料电池系统及其氢电转化效率计算方法

NºPublicación:  CN121355305A 16/01/2026
Solicitante: 
中国科学院大连化学物理研究所
CN_121355305_PA

Resumen de: CN121355305A

本发明涉及一种燃料电池系统及其氢电转化效率计算方法,属于固态储氢及燃料电池技术领域,包括:电堆模块;固态储氢供氢模块,包括燃料罐,燃料罐内填装有三氢化铝材料,燃料罐用于完成三氢化铝热分解制氢与热分解产物单质铝水解制氢,两种反应密切耦合,所述燃料罐外侧设有燃料罐电热器;加热‑散热耦合模块,包括加热‑散热耦合器、共用风扇,所述加热‑散热耦合器内置有加热棒,用于启动阶段为电堆加热至启动温度、稳定阶段冷却电堆及电堆阴极尾气,所述共用风扇用于联动调节热量;水回收模块和电控单元。本发明水回收模块回收尾气水,回收率高,氢元素利用率高,通过全周期整合计算量化效率提升效果。

一种氢能源冷却防护装置

NºPublicación:  CN121355287A 16/01/2026
Solicitante: 
山东天蒙能源工程技术有限公司
CN_121355287_PA

Resumen de: CN121355287A

本发明提供了一种氢能源冷却防护装置,属于氢能源技术领域,包括防护箱、氢能源电池、供气组件、第一导流组件以及驱动组件,所述氢能源电池固定安装在所述防护箱内部,所述供气组件安装在所述防护箱底部,用于向所述防护箱内部输送空气气流,所述第一导流组件转动安装在所述防护箱内部并位于所述氢能源电池下方,用于针对输送至所述防护箱内部的空气气流进行导向,使得空气气流沿所述氢能源电池底部水平流动,所述驱动组件设置在所述第一导流组件内侧。本发明实施例相较于现有技术,在氢能源电池冷却散热时,能够改变空气气流沿氢能源电池底部的流动方向,使得氢能源电池冷却时不再区分前后部分,实现氢能源电池的全面均匀冷却。

喷水加湿系统、其控制方法、燃料电池和车辆

NºPublicación:  CN121355294A 16/01/2026
Solicitante: 
一汽解放汽车有限公司
CN_121355294_PA

Resumen de: CN121355294A

本发明涉及燃料电池技术领域,具体公开了一种喷水加湿系统、其控制方法、燃料电池和车辆。设置气源向水喷射器供给压缩气,降低水喷射器喷射到喷水混合管的喷射粒径,有助于提高雾化效果,并且在喷水混合管的下游设置膜加湿器进一步提高了雾化效率,在降低液态水形成的同时提高雾化程度和加湿效果,而且采用喷水加湿的方案,加湿量可调,从而能够满足全工况下的加湿需求。

氢气提纯结构

NºPublicación:  CN121344635A 16/01/2026
Solicitante: 
国家电投集团氢能科技发展有限公司
CN_121344635_PA

Resumen de: CN121344635A

本发明提供了一种氢气提纯结构,包括阳极模块,阳极模块上设置有混合气体入口和混合气体出口,以使氨气裂解后的混合产物自混合气体入口输送至阳极模块,混合产物包括氢气、氨气和氮气;膜电极模块,设置在阳极模块上,并在通电状态下与阳极模块之间形成阳极侧,以使氢气在阳极侧发生氧化反应形成氢离子,氨气和氮气自混合气体出口输出;阴极模块,设置在膜电极模块的远离阳极模块的一侧,并在通电状态下与膜电极模块之间形成阴极侧,以在氢离子通过膜电极模块后在阴极侧发生还原反应以形成纯氢气;解决了现有技术中的车载氨氢装置中氨裂解制氢气后氢气纯度提升与能耗控制之间存在矛盾的问题。

一种集成式固态储氢供氢装置及其使用方法

NºPublicación:  CN121355292A 16/01/2026
Solicitante: 
厦门厦钨氢能科技有限公司
CN_121355292_PA

Resumen de: CN121355292A

本申请公开了一种集成式固态储氢供氢装置及其使用方法,涉及固态储氢的技术领域,集成式固态储氢供氢装置包括换热箱体,所述换热箱体具有用于容纳冷却介质的腔室,所述换热箱体的侧壁上设置有连通至所述腔室的进水口与出水口;所述腔室具有两两相互垂直的长度方向、宽度方向以及高度方向;储氢管,所述储氢管设置有多根并固定设置在所述腔室内,所述储氢管沿着所述腔室的宽度方向和高度方向呈多排分布,其中,至少在一个方向上相邻排的储氢管彼此呈交错设置。本申请中通过储氢管交错排列更好地发挥集成式装置小体积、大流量的优点;在有限空间内将氢气汇集达到一定吸放氢性能,能够实现大规模的集成和大流量供氢。

一种包含涂层的导电性构件及其制备方法

NºPublicación:  CN121344545A 16/01/2026
Solicitante: 
纳狮新材料股份有限公司东莞瀚晶纳米材料有限公司
CN_121344545_PA

Resumen de: CN121344545A

本申请涉及一种包含涂层的导电性构件及其制备方法。本申请的涂层设置在基体上,所述涂层包括设置在所述基体上的非晶石墨层以及掺杂有导电金属的强度支撑层;所述非晶石墨层设置在所述基体和所述强度支撑层之间;所述强度支撑层包括以下物质中的至少一种:金属氮化物、金属碳化物或金属碳氮化物。本申请的涂层具有较好的耐磨性、耐腐蚀性和导电性,非常适合燃料电池双极板等工况的使用需求。

一种低成本的钒电解液电解还原合成方法

NºPublicación:  CN121344620A 16/01/2026
Solicitante: 
杭州赛奥储能设备有限公司
CN_121344620_A

Resumen de: CN121344620A

本发明公开了一种低成本的钒电解液电解还原合成方法,所述方法采用隔膜电解槽,以含氯离子的酸性水溶液为阳极液,以含高价态钒和氯离子的酸性水溶液为阴极液,将直流或者脉冲电流从阳极到阴极依次经过阳极液、隔膜和阴极液,将阴极液中的5价钒或4价钒还原成3价钒,回收阴极液作为电解合成的钒电解液。本发明方可以避免昂贵的铱钽涂层阳极的使用,在同等的电流密度下(20‑30A/dm2),电流效率可提高9.4‑13.0%。

电堆冷却系统及其控制方法

NºPublicación:  CN121355288A 16/01/2026
Solicitante: 
中国第一汽车股份有限公司
CN_121355288_PA

Resumen de: CN121355288A

本申请涉及电堆冷却技术领域,提供一种电堆冷却系统,包括:第一冷却回路、第二冷却回路和第一换热单元;第一冷却回路中电堆的冷却介质出口与第一散热单元的第一端连接,第一散热单元的第二端与第一三通阀的第一端连接,第一三通阀的第二端与电堆的冷却介质入口连接;第二冷却回路中第一高压部件的冷却介质出口与第二散热单元的第一端连接,第二散热单元的第二端与第二三通阀的第一端连接,第二三通阀的第二端与第一高压部件的冷却介质入口连接;第一换热单元的第一通路连接于第一三通阀的第三端和电堆的冷却介质入口之间,第一换热单元的第二通路连接于第二三通阀的第三端和第一高压部件的冷却介质入口之间。

甲醇重整制氢燃料电池系统的发电方法及装置

NºPublicación:  CN121355304A 16/01/2026
Solicitante: 
国家电投集团科学技术研究院有限公司
CN_121355304_PA

Resumen de: CN121355304A

本发明提出一种甲醇重整制氢燃料电池系统的发电方法及装置,方法包括:将燃料电池电堆阳极流道未利用的氢气与阴极流道流出的空气、金属膜提纯器的提纯尾气混合后作为氧化剂;氧化剂与甲醇液进行催化燃烧反应,产生催化燃烧烟气用于为重整、提纯及气化过热反应供热;将甲醇水溶液处理生成的甲醇水蒸汽从重整器上部进入以发生重整反应产生重整气;将重整气运送至金属膜提纯器进行提纯,得到目标纯度阈值的产品氢气;将产品氢气冷却后接入阳极流道,将空气经过增压及降温后输入到阴极流道,控制甲醇重整制氢燃料电池系统的发电运行。由此,集成重整器、金属膜提纯器、燃料电池电堆关键设备,优化系统结构,提高甲醇重整制氢燃料电池系统运行效率。

用于电化学系统的分隔器板

NºPublicación:  CN121359265A 16/01/2026
Solicitante: 
莱茵兹密封垫有限公司罗伯特·博世有限公司
CN_121359265_PA

Resumen de: WO2024256510A1

The invention relates to a separator plate for an electrochemical system. The electrochemical system can in particular be a fuel cell system, an electrochemical compressor, an electrolyzer or a redox flow battery. The invention also discloses an electrochemical system comprising multiple separator plates of this type.

用于电化学系统的分隔器板

NºPublicación:  CN121359268A 16/01/2026
Solicitante: 
莱茵兹密封垫有限公司罗伯特·博世有限公司
CN_121359268_PA

Resumen de: WO2024256513A1

The invention relates to a separator plate for an electrochemical system. The electrochemical system can in particular be a fuel cell system, an electrochemical compressor, an electrolyzer or a redox flow battery. The invention also discloses an electrochemical system comprising multiple separator plates of this type.

ENZYME ELECTRODE, METHOD FOR PRODUCING ENZYME ELECTRODE, BIOSENSOR, AND BIO BATTERY

NºPublicación:  US20260015646A1 15/01/2026
Solicitante: 
MURATA MFG CO LTD [JP]
Murata Manufacturing Co., Ltd
US_20260015646_PA

Resumen de: US20260015646A1

An enzyme electrode that includes: an electrode support; an oxidoreductase; a conjugate of a silane coupling agent and an electron mediator; and a sol-gel matrix, wherein the oxidoreductase and the conjugate are fixed to the electrode support by the sol-gel matrix, and the silane coupling agent has a silicon atom, a reactive functional group, and a hydrolyzable group, and a structure in which the silicon atom and the reactive functional group are linked by a linking group having 4 or more carbon atoms.

DEVICE, TRANSPORT UNIT AND METHOD FOR TRANSPORTING NON-RIGID ELEMENTS

NºPublicación:  US20260015193A1 15/01/2026
Solicitante: 
GROB WERKE GMBH & CO KG [DE]
GROB-WERKE GmbH & Co. KG
US_20260015193_PA

Resumen de: US20260015193A1

A device, a transport unit and a method for transporting non-rigid elements for the manufacture of a battery and/or fuel cell. The device has a transport mechanism for transporting the elements from a first region to a second region, a guide plate for guiding the transport mechanism, a drive unit for moving the transport mechanism, a lifting device for coupling the drive unit and the transport mechanism, and an assembly frame. The guide plate has a plate-like main body, a closed guide contour and a through-opening; the transport mechanism is guided by the guide contour; the drive unit has a drive shaft which extends in the first direction and is axially fixedly received in the through-opening; and the lifting device couples the transport mechanism and the drive unit to each other in a torque-transmitting manner and can adjust a distance between the two in a second direction.

AIRCRAFT PROPULSION SYSTEM AND METHOD

NºPublicación:  US20260015095A1 15/01/2026
Solicitante: 
GKN AEROSPACE SERVICES LTD [GB]
GKN AEROSPACE SERVICES LIMITED
US_20260015095_PA

Resumen de: US20260015095A1

The present invention relates to an aircraft propulsion system (100) comprising: a fuel cell arrangement comprising at least one fuel cell (110); an air source (130) for providing air to the fuel cell arrangement; a compressor arrangement comprising a first compressor (120) in fluid communication with the air source and a fuel cell of the fuel cell arrangement; and, a turbine arrangement comprising a first turbine (124) mechanically coupled to the first compressor, wherein the first turbine is in fluid communication with the at least one fuel cell (110), the system being arranged so that, in use, air from the air source (130) flows in turn to the first compressor (120), the fuel cell arrangement and the first turbine (124).

AIRCRAFT PROPULSION SYSTEM, APPARATUS AND METHOD

NºPublicación:  US20260015094A1 15/01/2026
Solicitante: 
GKN AEROSPACE SERVICES LTD [GB]
GKN AEROSPACE SERVICES LIMITED
US_20260015094_PA

Resumen de: US20260015094A1

The present invention relates to a power unit suitable for use in an aircraft comprising: at least one fuel cell; at least two fuel sources for providing fuel to the at least one fuel cell; wherein a first fuel source is a hydrogen supply arranged to provide hydrogen to a first fuel cell of the at least one fuel cell, and wherein a second fuel source is an air gas supply arranged to provide air gas to a first fuel cell of the at least one fuel cell.

TWO-STAGE WATER SEPARATOR SYSTEM

NºPublicación:  US20260015265A1 15/01/2026
Solicitante: 
MANN HUMMEL GMBH [DE]
MANN+HUMMEL GmbH
US_20260015265_PA

Resumen de: US20260015265A1

A two-stage water separator device includes a water separator housing including a first-stage water separation chamber and a second-stage water separation chamber. The first-stage water separation chamber includes a water-laden volume flow inlet port defining a water-laden volume flow inlet channel for channeling a water-laden volume flow into the first-stage water separation chamber, and the second-stage water separation chamber includes a water-unladen volume flow outlet port defining a water-unladen volume flow outlet channel for channeling a water-unladen volume flow out of the second-stage water separation chamber, a reversal of flow direction from horizontal to vertical occurring between the water-laden volume flow and the water-unladen volume flow. The two-stage water separator device further includes an immersion tube including an immersion tube portion immersed in the second-stage water separation chamber and for fluidically connecting the water-unladen volume flow outlet port with the second-stage water separation chamber.

SOLID STATE DELIVERY SYSTEM

NºPublicación:  US20260015230A1 15/01/2026
Solicitante: 
GE AVIATION SYSTEMS LTD [GB]
GE Aviation Systems Limited
US_20260015230_PA

Resumen de: US20260015230A1

A solid state storage system includes a pressure-sealed storage unit defining an interior and having an outlet, an upper manifold and a lower manifold separated by a dividing plane having a set of ports, a set of chambers, and a solid state storage, wherein at least some gas is supplied to the outlet.

GAS PRODUCTION DEVICE AND METHOD

NºPublicación:  US20260015229A1 15/01/2026
Solicitante: 
ARIEL SCIENT INNOVATIONS LTD [IL]
ARIEL SCIENTIFIC INNOVATIONS LTD
US_20260015229_PA

Resumen de: US20260015229A1

A system including a gas production device including (a) a solid containing compartment configured to contain a solid, (b) at least one fluid channel with an inlet and an outlet comprising an opening along at least a portion of its length, the opening facing the solid, (c) a solution compartment configured to contain a solution, the solution compartment: (1) being in fluid communication with the fluid channel inlet and outlet, (2) located along a fluid pathway in between the fluid channel outlet and inlet, and (3) at least one hydrogen gas outlet, (d) a fluid flow driver in fluid communication with the fluid pathway, and (e) a fluid flow rate regulator connected to the fluid flow driver. Disclosed is also a method for producing a gas (e.g., hydrogen).

Separator and Electrochemical Conversion Cell Including the Same

NºPublicación:  US20260014527A1 15/01/2026
Solicitante: 
LG CHEM LTD [KR]
LG Chem, Ltd
US_20260014527_PA

Resumen de: US20260014527A1

A separator includes a base membrane and a hydrophilic porous structure layer or a hydrophobic porous structure layer. The hydrophilic porous structure layer or the hydrophobic porous structure layer is stacked on at least one side of the base membrane. The base membrane is an anion exchange membrane, a cation exchange membrane, or an amphoteric ion exchange membrane.

METHOD OF MANUFACTURING STACK PLATE OF HUMIDIFIER AND STACK PLATE

NºPublicación:  US20260014524A1 15/01/2026
Solicitante: 
MANN HUMMEL GMBH [DE]
MANN+HUMMEL GmbH
US_20260014524_PA

Resumen de: US20260014524A1

A method of manufacturing a stack plate of a humidifier, comprises providing a semipermeable membrane that is airtight but permeable to moisture, depositing a plastic layer forming a plastic frame to a first side of the semipermeable membrane so that the semipermeable membrane is arranged over a fluid passage of the plastic frame, and depositing a gasket layer forming a gasket to a second side of the semipermeable membrane, the gasket being for sealing the stack plate against another stack plate, and the second side opposing the first side at least in some areas where the semipermeable membrane is supported by the plastic frame on the first side.

FUEL INLET VALVE SYSTEMS FOR CONTROLLING FUEL FLOW TO FUEL CELL COLUMNS OF A FUEL CELL SYSTEM

NºPublicación:  WO2026015650A1 15/01/2026
Solicitante: 
BLOOM ENERGY CORP [US]
BLOOM ENERGY CORPORATION
WO_2026015650_PA

Resumen de: WO2026015650A1

Fuel inlet valve systems are that control fuel flow to fuel cell columns are disclosed. They include a valve with a valve stem coupled to a captive linear actuator that adjusts the position of the valve head based on actuator signals. The position of the valve head controls the fuel flow between the fuel inlet and the fuel cell column. The actuator signals are sent by a control system that may adjust the fuel flow to any of the fuel cell columns based on health of the fuel cell column, rebalancing the fuel cell system, or the like. The valve head includes a valve face that adjusts fuel flow based on its position with respect to a valve seat or a ceramic ball that adjusts fuel flow based on its position with respect to a metallic ring inside the fuel conduit leading to the fuel cell column.

PHENOTHIAZINE- AND CARBAZOLE-BASED COMPOUNDS: SYNTHESES AND USING THE SAME FOR ELECTROCHEMICAL ENERGY STORAGE

NºPublicación:  WO2026015388A1 15/01/2026
Solicitante: 
RES TRIANGLE INSTITUTE [US]
RESEARCH TRIANGLE INSTITUTE
WO_2026015388_A1

Resumen de: WO2026015388A1

Described herein are phenothiazine-based compounds and carbazole-based compounds and methods of making and using the same for electrochemical energy storage. The phenothiazine- based compounds can include perfluorination and a charge-bearing side chain, that may be permanent. The phenothiazine-based compounds and carbazole-based compounds have enhanced solubility and oxidation potential.

TILED BATTERY SYSTEM

NºPublicación:  WO2026014836A1 15/01/2026
Solicitante: 
STANDARD ENERGY INC [KR]
\uC2A4\uD0E0\uB2E4\uB4DC\uC5D0\uB108\uC9C0(\uC8FC)
WO_2026014836_PA

Resumen de: WO2026014836A1

The present document relates to a tiled battery system. The battery system according to the present document comprises: a plurality of battery tiles, each including a battery cell comprising an aqueous electrolyte and a separator and having a tile-shaped rectangular parallelepiped shape; and a fixing profile including an electrical connection configuration for connecting the plurality of battery tiles in series or in parallel, and a fixing configuration for fixing the widest surface of each of the plurality of battery tiles so as to be parallel to the plane of an indoor wall surface.

DISEL FUEL REFORMING REACTOR

NºPublicación:  WO2026015003A1 15/01/2026
Solicitante: 
HNPOWER INC [KR]
\uC5D0\uC774\uCE58\uC564\uD30C\uC6CC(\uC8FC)
WO_2026015003_PA

Resumen de: WO2026015003A1

Provided is a diesel fuel reforming reactor comprising: a reactor main body (100) in which a catalyst is provided and a reaction occurs; a two-fluid nozzle (200) fastened to an upper portion of the main body to atomize a first mixed fluid of air and diesel; and a mixing jacket (300) provided on a side surface of the main body to mix a second mixed fluid of air and steam, wherein the second mixed fluid in the mixing jacket (300) is mixed in the mixing jacket for a predetermined time and then introduced into the reactor main body (100) through a plurality of through-holes (310) formed on a side surface of the reactor main body.

ELECTROCHEMICAL CELL

NºPublicación:  WO2026014550A1 15/01/2026
Solicitante: 
MITSUI KINZOKU COMPANY LTD [JP]
\u4E09\u4E95\u91D1\u5C5E\u682A\u5F0F\u4F1A\u793E
WO_2026014550_PA

Resumen de: WO2026014550A1

Provided is a fuel electrode support-type electrochemical cell (10) in which an air electrode (12), a solid electrolyte layer (11) containing a solid electrolyte, a fuel electrode (13), and a support layer (14) are stacked in this order. An intermediate layer (17) is provided between the air electrode (12) and the solid electrolyte layer (11) and/or between the fuel electrode (13) and the solid electrolyte layer (11). The air electrode (12), the fuel electrode (13), the solid electrolyte layer (11), the intermediate layer (17), and the support layer (14) contain the same rare earth element. The rare earth element is preferably lanthanum.

CATALYST, METHOD FOR PRODUCING CATALYST, ELECTRODE, ION EXCHANGE MEMBRANE-ELECTRODE ASSEMBLY, AND VARIOUS ELECTROLYSIS DEVICES

NºPublicación:  WO2026014361A1 15/01/2026
Solicitante: 
IDEMITSU KOSAN CO LTD [JP]
\u51FA\u5149\u8208\u7523\u682A\u5F0F\u4F1A\u793E
WO_2026014361_PA

Resumen de: WO2026014361A1

The present invention provides an electrode catalyst having improved hydrophobic performance of the carrier, a method for producing this electrode catalyst, an electrode that uses this electrode catalyst, an ion exchange membrane-electrode assembly, and various electrolysis devices. The electrode catalyst comprises a carrier containing carbon, and inorganic particles and/or a metal complex supported on the carrier. The volatile content of the carrier is 0.7% or less.

STACK

NºPublicación:  WO2026013989A1 15/01/2026
Solicitante: 
NITERRA CO LTD [JP]
\u65E5\u672C\u7279\u6B8A\u9676\u696D\u682A\u5F0F\u4F1A\u793E
WO_2026013989_PA

Resumen de: WO2026013989A1

Provided is a stack (10) that can reduce resistance between a conducting plate (13) and a terminal (14). This stack is provided with: a cell (32) that includes an electrolyte (36) that separates a fuel electrode (33) and an air electrode (37) in the thickness direction; a conducting plate that is electrically connected to the cell; a terminal that protrudes in a direction that intersects the thickness direction; and a fusion section (46) where the conducting plate and the terminal are fused to connect the terminal to the conducting plate. The fusion section is provided at an end section (48) of the terminal and an end section (47) of the conducting plate in an overlapping section (45) where a part of the terminal overlaps with a part of the conducting plate; and at the end section of the terminal and the end section of the conducting plate, the fusion section accounts for at least 30% of the width (W) of the terminal in the overlapping section.

FREESTANDING THIN FILM, METHOD OF MANUFACTURING SAME, AND ELECTROCHEMICAL CELL

NºPublicación:  WO2026014104A1 15/01/2026
Solicitante: 
DENSO CORP [JP]
\u682A\u5F0F\u4F1A\u793E\u30C7\u30F3\u30BD\u30FC
WO_2026014104_PA

Resumen de: WO2026014104A1

A freestanding thin film (1) contains a solid electrolyte membrane (10) constituted by apatitic compound oxides. The solid electrolyte membrane (10): has one or more oriented polycrystalline layers (11) in the membrane-thickness direction Z, in which oriented crystalline particles (C) of apatitic compound oxides are gathered with their grain boundaries (C1) contacting in the film-plane X and Y directions; has a membrane density d of 4.2 g/cm2 or greater; and has a c-axis orientation ratio with respect to the membrane-thickness Z direction Z of 0.9 or greater as a value calculated by the Lotgering method.

BIOBATTERY, ELECTRONIC DEVICE, AND STENT FOR INTRABODY IMPLANTATION

NºPublicación:  WO2026014486A1 15/01/2026
Solicitante: 
GEL COAT BIOMATERIALS INC [JP]
\u682A\u5F0F\u4F1A\u793E\uFF27\uFF45\uFF4C\u3000\uFF23\uFF4F\uFF41\uFF54\u3000\uFF22\uFF49\uFF4F\uFF4D\uFF41\uFF54\uFF45\uFF52\uFF49\uFF41\uFF4C\uFF53
WO_2026014486_PA

Resumen de: WO2026014486A1

The present disclosure pertains to a battery and a stent comprising an electronic device. The present disclosure also pertains to a stent capable of generating a current in response to glucose. The present disclosure can provide a stent which has a hydrogel and a negative electrode, and in which the hydrogel is bonded to the surface of the stent and carries a sugar-oxidizing enzyme, the hydrogel and the negative electrode are linked together so as to be capable of receiving electrons generated by the enzyme in the hydrogel, and electrons are supplied from the negative electrode when glucose makes contact with the sugar-oxidizing enzyme.

Lewis/Bronsted acid/base and nickel phosphide binary catalyst-system (co-catalysts) for direct electrochemical CO2 reduction to hydrocarbons

NºPublicación:  AU2025279730A1 15/01/2026
Solicitante: 
RUTGERS THE STATE UNIVERSITY OF NEW JERSEY
Rutgers, The State University of New Jersey
AU_2025279730_A1

Resumen de: AU2025279730A1

Disclosed are cathodes comprising a conductive support substrate having an electro- catalyst coating containing nickel phosphide nanoparticles and a co-catalyst. The conductive support substrate is capable of incorporating a material to be reduced, such as CO2 or CO. A co- catalyst, either incorporated into the electrolyte solution, or into the conductive support, or adsorbed to, deposited on, or incorporated into the bulk cathode material, alters the electro- catalyst properties by increasing the carbon product selectivity through interactions with the reaction intermediates. Also disclosed are electrochemical methods for selectively generating hydrocarbon and/or carbohydrate products from CO2 or CO using water as a source of hydrogen. ec e c

Verfahren zum Herstellen einer Zelllage sowie elektroden-beschichtete Zelllage

NºPublicación:  DE102024206447A1 15/01/2026
Solicitante: 
BOSCH GMBH ROBERT [DE]
Robert Bosch Gesellschaft mit beschr\u00E4nkter Haftung
DE_102024206447_PA

Resumen de: DE102024206447A1

Die Erfindung betrifft ein Verfahren zum Herstellen einer elektroden-beschichteten Zelllage (100) für einen elektrochemischen Zellenstapel, insbesondere einen Brennstoffzellenstapel oder einen Elektrolysezellenstapel, und wenigstens eine katalysatorhaltige Elektrode (120, 130), insbesondere eine Anodenelektrode (120) und/oder eine Kathodenelektrode (130), für den Zellenstapel, auf ein Zellenstapel-Substrat (110) aufgebracht wird, wobei auf eine großflächige Außenseite des Zellenstapel-Substrats (110) durch ein Siebdruckverfahren ein Elektroden-Beschichtungsstoff als eine in zwei Längendimensionen flächig gemusterte und in ihre Dickendimension (D) strukturierte Siebdruckelektrode (120, 130) aufgedruckt wird.

Brennstoffzellenstapelstruktur

NºPublicación:  DE102024120042A1 15/01/2026
Solicitante: 
SCHAEFFLER TECHNOLOGIES AG [DE]
Schaeffler Technologies AG & Co. KG
DE_102024120042_PA

Resumen de: DE102024120042A1

Die Erfindung betrifft eine Brennstoffzellenstapelstruktur (1), umfassend eine Membranelektrodenanordnung (10) und an beiden Seiten der Membranelektrodenanordnung (10) angeordnete Stromsammelplatten (20), wobei jede der Stromsammelplatten (20) einen inneren, der Membranelektrodenanordnung (10) zugewandten Stromleiter (22) und einen äußeren, der Membranelektrodenanordnung (10) abgewandten Stromleiter (24) aufweist, wobei die Stromsammelplatten (20) ausgebildet sind, sich durch eine elektrische Verlustleistung der Stromsammelplatten (20) zumindest bereichsweise zu erwärmen, um die Membranelektrodenanordnung (10) zumindest bereichsweise zu erwärmen.

Membranelektrodeneinheit und Membrananordnung sowie Verfahren zu deren Montage

NºPublicación:  DE102024120024A1 15/01/2026
Solicitante: 
SCHAEFFLER TECHNOLOGIES AG [DE]
Schaeffler Technologies AG & Co. KG
DE_102024120024_PA

Resumen de: DE102024120024A1

Die vorliegende Erfindung betrifft eine Membrananordnung (10) für eine Membranelektrodeneinheit (11) einer elektrochemischen Zelle (100); umfassend:- eine Membran (1), welche aus einem ersten polymeren Material gebildet ist, welches ein einfach negativ geladenes Anion als eine erste funktionelle Gruppe umfasst;- eine optional auf die Membran (1) ein- oder beidseitig aufgebachte Elektrode (3a, 3b) umfassend ein Katalysatormaterial und das erste polymere Material; und- eine Dichtung (2) aus einem zweiten polymeren Material zur Abdichtung der Membran (1); wobeidie Dichtung (2) zumindest in einem die Membran (1) berührenden Montageabschnitt (4) quarternisierte Ammoniumgruppen NR4+oder Phosphoniumgruppen PR4+als eine zweite funktionelle Gruppe umfasst, wobei R für einen organischen Rest steht, sodass eine ionische Verbindung zwischen der zweiten funktionellen Gruppe des zweiten polymeren Materials des Montageabschnittes (4) der Dichtung (2) und der ersten funktionellen Gruppe des ersten polymeren Materials der Membran (1) ausgebildet ist. Weiterhin betrifft die Erfindung ein Verfahren zur Herstellung der Membrananordnung sowie eine Membranelektrodeneinheit.

POROUS TRANSPORT LAYER

NºPublicación:  AU2024307604A1 15/01/2026
Solicitante: 
ITM POWER UK LTD
ITM POWER UK LIMITED
AU_2024307604_PA

Resumen de: AU2024307604A1

A method for manufacturing a porous transport layer for use in a PEM electrode, comprises the steps of: providing a first powder having a first grade, and a second powder having a second grade, wherein the second grade of the second powder is finer than the first grade of the first powder; blending together the first and second powders; and constructing a porous construct by compacting together and sintering the blended powder; wherein the first grade of the first powder is selected such that the porous construct has a constant fluid transfer rate in use, and the second grade of the second powder is selected so as to produce enhanced fluid transfer properties in a surface-adjacent region of the porous construct in use.

PROTON EXCHANGE MEMBRANE AND CATALYST-COATED PROTON EXCHANGE MEMBRANE

NºPublicación:  AU2024312824A1 15/01/2026
Solicitante: 
UOP LLC [US]
UOP LLC
AU_2024312824_PA

Resumen de: AU2024312824A1

Proton exchange membranes are described. The proton exchange membranes comprise a reinforced membrane, a continuous nonporous hydrogen recombination catalyst coating layer comprising a mixture of hydrogen recombination catalyst and a proton conducting ionomer, and a continuous nonporous cross-linked polyelectrolyte multilayer coating comprising alternating layers of a polycation polymer and a polyanion polymer. Catalyst coated membranes incorporating the proton exchange membranes and methods of making the proton exchange membranes are also described.

ION-CONDUCTING MEMBRANE, METHOD FOR MANUFACTURING SUCH A MEMBRANE, ELECTROCHEMICAL CELL COMPRISING SUCH A MEMBRANE AND PLANT COMPRISING SUCH A CELL

NºPublicación:  AU2024305585A1 15/01/2026
Solicitante: 
GEN HY CUBE
GEN-HY CUBE
AU_2024305585_PA

Resumen de: AU2024305585A1

The invention relates to an ion-conducting membrane (10) for an electrochemical device, said membrane comprising a layer of a material comprising: - 5% to 30% by weight of a polymer binder and - 70% to 95% by weight of a powdered ceramic, the powdered ceramic comprising ceramic doped with yttrium oxide and/or ceramic doped with cerium oxide. The invention can be used to produce a non-porous membrane for low-temperature electrolysis (0°C to 150°C).

METHOD OF PREPARING A CATALYST LAYER

NºPublicación:  AU2024291727A1 15/01/2026
Solicitante: 
JOHNSON MATTHEY HYDROGEN TECH LIMITED
JOHNSON MATTHEY HYDROGEN TECHNOLOGIES LIMITED
AU_2024291727_PA

Resumen de: AU2024291727A1

According to the invention there is a method of preparing a catalyst layer for a fuel cell or an electrolyser. The method comprises the steps of: (i) providing a donor substrate having opposing first and second surfaces and providing a catalyst ink disposed as a layer on the second surface, wherein the catalyst ink comprises an electrocatalyst, an ion-conducting polymer, and a solvent; (ii) providing an acceptor substrate, wherein the second surface of the donor substrate faces towards the acceptor substrate; and (iii) irradiating the catalyst ink with laser radiation at a wavelength which is absorbed by the catalyst ink so as to transfer the catalyst ink from the donor substrate to the acceptor substrate.

SPINDLE CARTRIDGES AND METHODS FOR PRODUCING TUBULAR CERAMIC STRUCTURES

NºPublicación:  AU2024288048A1 15/01/2026
Solicitante: 
WATT FUEL CELL CORP
WATT FUEL CELL CORP
AU_2024288048_PA

Resumen de: AU2024288048A1

The present teachings relate to cartridges and methods for making tubular ceramic structures that can be tubular ceramic green bodies, which are convertible to tubular solid oxide fuel cells.

Luftbefeuchter

NºPublicación:  DE102024119463A1 15/01/2026
Solicitante: 
MAHLE INT GMBH [DE]
MAHLE International GmbH
DE_102024119463_PA

Resumen de: DE102024119463A1

Die Erfindung betrifft einen Luftbefeuchter (1) zum Befeuchten eines trockenen Zuluftstroms (4) mittels eines feuchten Abluftstroms (5), insbesondere für ein Brennstoffzellensystem, mit einem Membranstapel (3), in dem mehrere plattenförmige Membraneinheiten (10) in einer Stapelrichtung (S) übereinander angeordnet sind, wobei die jeweilige Membraneinheit (10) zwei für Luft undurchlässige und für Feuchtigkeit durchlässige Membranen (11) und einen in der Stapelrichtung (S) zwischen den beiden Membranen (11) angeordneten plattenförmigen Abstandhalter (12) aufweist.Ein vereinfachter Aufbau kann dadurch erzielt werden, dass bei der jeweiligen Membraneinheit (10) die beiden Membranen (11) in einem vom Membranrand (13) beabstandeten Stützbereich (14) jeweils wenigstens eine Membranöffnung (15) aufweisen, dass durch die Membranöffnungen (15) der Membranen (11) aller Membraneinheiten (10) des Membranstapels (3) zumindest ein Zuganker (27) hindurchgeführt ist, der sich an zwei Endplatten (28), die den Membranstapel (3) an seinen beiden, in der Stapelrichtung (S) voneinander abgewandten Stirnseiten abschließen, und/oder an einem den Membranstapel (3) einfassenden Gehäuse (2) in der Stapelrichtung (S) beiderseits des Membranstapels (3) abstützt.

VERTEILERBAUGRUPPE, STAPELENDPLATTE UND DOPPELSTAPEL-BRENNSTOFFZELLENSYSTEM

NºPublicación:  DE102025126840A1 15/01/2026
Solicitante: 
BOSCH GMBH ROBERT [DE]
Robert Bosch Gesellschaft mit beschr\u00E4nkter Haftung
DE_102025126840_PA

Resumen de: DE102025126840A1

Die vorliegende Anmeldung betrifft eine Verteilerbaugruppe für ein Doppelstapel-Brennstoffzellensystem, die Folgendes umfasst: eine erste Verteilerstruktur zur Zufuhr eines der beiden Medien Oxidationsmittel oder Kühlmittel, die einen ersten Verzweigungskanal und einen mit dem ersten Verzweigungskanal fluidisch verbundenen und sich zumindest teilweise über den ersten Verzweigungskanal erstreckenden ersten Hauptströmungskanal umfasst, wobei der erste Verzweigungskanal an der dem ersten Hauptströmungskanal abgewandten Seite offen ist, um auf der Oberfläche der Stapelendplatte abgedichtet angeschlossen zu werden, sodass eines der beiden Medien Oxidationsmittel oder Kühlmittel entlang der Oberfläche der Stapelendplatte darin geführt wird; und eine zweite Verteilerstruktur zur Zufuhr des anderen der beiden Medien Oxidationsmittel oder Kühlmittel, die zwei mit der Stapelendplatte senkrecht zur Oberfläche der Stapelendplatte verbundene Endplattenanschlüsse, einen die beiden Endplattenanschlüsse fluidisch verbindenden zweiten Verzweigungskanal und einen mit dem zweiten Verzweigungskanal fluidisch verbundenen und sich zumindest teilweise über den zweiten Verzweigungskanal erstreckenden zweiten Hauptströmungskanal umfasst. Ferner werden eine Stapelendplatte sowie ein Doppelstapel-Brennstoffzellensystem bereitgestellt.

Festoxid-Brennstoffzelle und Verfahren

NºPublicación:  DE102024206580A1 15/01/2026
Solicitante: 
SIEMENS ENERGY GLOBAL GMBH & CO KG [DE]
Siemens Energy Global GmbH & Co. KG
DE_102024206580_PA

Resumen de: DE102024206580A1

Die Erfindung betrifft eine Festoxid-Brennstoffzelle zumindest aufweisend eine Anode, einen Elektrolyt, eine Kathode, einen keramischen Interkonnektor, für den entweder Si3N4oder MoSi2als Matrix und entweder MoSi2oder Si3N4als Sekundärphase sowie optional SiC und/oder TiC als Material für den keramischen Interkonnektor verwendet wird.

Membranstapel und Luftbefeuchter

NºPublicación:  DE102024119465A1 15/01/2026
Solicitante: 
MAHLE INT GMBH [DE]
MAHLE International GmbH
DE_102024119465_PA

Resumen de: DE102024119465A1

Die Erfindung betrifft einen quaderförmigen Membranstapel (9) für einen Luftbefeuchter (1), der eine Stapelrichtung (S) und quer zur Stapelrichtung (S) vier Stapelseiten (10) aufweist, wobei der Membranstapel (9) eine parallel zur Stapelrichtung (S) verlaufende Höhenrichtung (Z), eine senkrecht zur Höhenrichtung (Z) verlaufende Längsrichtung (X) und eine senkrecht zur Höhenrichtung (Z) und senkrecht zur Längsrichtung (X) verlaufende Querrichtung (Y) aufweist, wobei die vier Stapelseiten (10) einen Zulufteinlass (ZE) und einen Zuluftauslass (ZA) bilden, die in der Längsrichtung (X) voneinander abgewandt sind, sowie einen Ablufteinlass (AE) und einen Abluftauslass (AA) bilden, die in der Querrichtung (Y) voneinander abgewandt sind, wobei der Membranstapel (9) mehrere Membranen (11) aufweist, die innerhalb des Membranstapels (9) jeweils einen Zuluftpfad (ZP), der den Zulufteinlass (ZE) mit dem Zuluftauslass (ZA) verbindet, von einem Abluftpfad (AP) trennen, der den Ablufteinlass (AE) mit dem Abluftauslass (AA) verbindet.Eine verbesserte Maßhaltigkeit lässt sich dadurch erreichen, dass je zwei Membranen (11), die in der Stapelrichtung (S) benachbart sind und in der Stapelrichtung (S) einen der Zuluftpfade (ZP) begrenzen, ein Membranpaar (18) bilden, dass die beiden Membranen (11) des jeweiligen Membranpaars (18) in einem an den Ablufteinlass (AE) angrenzenden ersten Randbereich (19) und in einem an den Abluftauslass (AA) angrenzenden zweiten Randbereich (20) jeweils dur

Verfahren zum Herstellen von Befeuchterzelle für Brennstoffzellenbefeuchter

NºPublicación:  DE102024119754A1 15/01/2026
Solicitante: 
SCHAEFFLER TECHNOLOGIES AG [DE]
Schaeffler Technologies AG & Co. KG
DE_102024119754_PA

Resumen de: DE102024119754A1

Die Erfindung betrifft ein Verfahren zum Herstellen von einer Befeuchterzelle (10) für einen Brennstoffzellenbefeuchter (1), umfassendBereitstellen eines sich flächig erstreckenden Luftführungselements (20) mit einem Rahmen (22), zwei ersten Öffnungen (24), zwei zweiten Öffnungen (26), einer sich zumindest bereichsweise zwischen den ersten Öffnungen (24) erstreckenden Strömungsstruktur (28), und einer Stützstruktur (30) zur Abstützung,Bereitstellen einer ersten (40) und einer zweiten (50) Membran,stoffschlüssiges Verbinden von den zwei Membranen (40, 50) mit dem Luftführungselement (20) auf gegenüberliegenden Flachseiten des Luftführungselements (20), um zwischen den ersten Öffnungen (24) zumindest einen ersten Luftführungsweg (L1) zu bilden, undAnbringen von einer an einem Rand des Luftführungselements (20) und um die ersten Öffnungen (24) umlaufenden Dichtung (60) und von Leitstrukturen (70) an der ersten Membran (40).

VERFAHREN UND SYSTEM ZUR THERMISCHEN AUFBEREITUNG EINES REAKTIONSMEDIUMS FÜR EINE BRENNSTOFFZELLE

NºPublicación:  DE102024206536A1 15/01/2026
Solicitante: 
STELLANTIS AUTO SAS [FR]
STELLANTIS AUTO SAS
DE_102024206536_PA

Resumen de: DE102024206536A1

Die vorliegende Entwicklung betrifft ein Verfahren und ein System zur thermischen Aufbereitung eines Reaktionsmediums für eine Brennstoffzelle umfassend:- einen mit der Brennstoffzelle (20) thermisch koppelbaren Kühlmittelkreislauf (11),- einen mit einer Abgasleitung (24) der Brennstoffzelle (20) thermisch gekoppelten ersten Wärmetauscher (30), welcher einen mit einem Kompressor (38) koppelbaren ersten Einlass (31) für ein der Brennstoffzelle (20) zuführbares Reaktionsmedium und einen mit der Abgasleitung (24) koppelbaren zweiten Einlass (33) für ein Reaktionsprodukt aufweist,- wobei der erste Wärmetauscher (30) zur Übertragung thermischer Energie vom über den ersten Einlass (31) zuführbaren Reaktionsmedium zum über die Abgasleitung (24) zuführbaren Reaktionsprodukt ausgestaltet ist.

Luftbefeuchter

NºPublicación:  DE102024119464A1 15/01/2026
Solicitante: 
MAHLE INT GMBH [DE]
MAHLE International GmbH
DE_102024119464_PA

Resumen de: DE102024119464A1

Die Erfindung betrifft einen Luftbefeuchter (1) zum Befeuchten eines trockenen Zuluftstroms (4) mittels eines feuchten Abluftstroms (5), insbesondere für ein Brennstoffzellensystem, mit einem Membranstapel (3), in dem mehrere plattenförmige Membraneinheiten (10) in einer Stapelrichtung (S) übereinander angeordnet sind, wobei die jeweilige Membraneinheit (10) zwei für Luft undurchlässige und für Feuchtigkeit durchlässige Membranen (11) und einen in der Stapelrichtung (S) zwischen den beiden Membranen (11) angeordneten plattenförmigen Abstandhalter (12) aufweist.Eine verbesserte Standzeit kann dadurch erzielt werden, dass bei der jeweiligen Membraneinheit (10) die beiden Membranen (11) in einem vom Membranrand (13) beabstandeten Stützbereich (14) jeweils wenigstens eine Membranöffnung (15) aufweisen, dass bei der jeweiligen Membraneinheit (10) der Abstandshalter (12) im Stützbereich (14) ein Stützelement (16) aufweist, das in der Stapelrichtung (S) durch die beiden Membranöffnungen (15) hindurch über die beiden Membranen (11) vorsteht, und dass in der Stapelrichtung (S) unmittelbar benachbarte Membraneinheiten (10) zumindest im Stützbereich (14) über die Stützelemente (16) in der Stapelrichtung (S) unmittelbar aneinander abgestützt sind.

Verfahren zum Betreiben eines Brennstoffzellensystems

NºPublicación:  DE102024206563A1 15/01/2026
Solicitante: 
BOSCH GMBH ROBERT [DE]
Robert Bosch Gesellschaft mit beschr\u00E4nkter Haftung
DE_102024206563_PA

Resumen de: DE102024206563A1

Verfahren zum Betreiben eines Brennstoffzellensystems (2), umfassend die Schritte eines Bestimmens (100) einer elektrischen Leistung einer elektrisch betriebenen Komponente (4) des Brennstoffzellensystems (2) an zumindest einem definierten Betriebspunkt des Brennstoffzellensystems (2), eines Vergleichens (200) der bestimmten elektrischen Leistung der elektrisch betriebenen Komponente (4) mit der elektrischen Leistung einer elektrisch betriebenen Komponente (4) eines Referenzbrennstoffzellensystems (2') an zumindest einem definierten Betriebspunkt, eines Ermittelns (300) einer Differenz zwischen der bestimmten elektrischen Leistung der elektrisch betriebenen Komponente (4) des Brennstoffzellensystems (2) und der bestimmten elektrischen Leistung der elektrisch betriebenen Komponente (4) des Referenzbrennstoffzellensystems (2') sowie eines Anpassens (400) der bestimmten elektrischen Leistung der elektrisch betriebenen Komponente (4) des Brennstoffzellensystems (2) um die ermittelte Differenz.

Verfahren und System zur Herstellung einer Elektrodenanordnung für eine Zelle eines elektrochemischen Energiewandlers

NºPublicación:  DE102024206446A1 15/01/2026
Solicitante: 
BOSCH GMBH ROBERT [DE]
Robert Bosch Gesellschaft mit beschr\u00E4nkter Haftung
DE_102024206446_PA

Resumen de: DE102024206446A1

Die vorgestellte Erfindung betrifft ein Herstellungsverfahren (100) für eine Elektrodenanordnung (300) für eine Zelle eines elektrochemischen Energiewandlers, wobei das Herstellungsverfahren (100) umfasst:- Auftragen (101) einer ersten Elektrodendispersion auf eine erste Transferwalze (201),- Auftragen (103) einer zweiten Elektrodendispersion auf eine zweite Transferwalze (203),- Übertragen (105) der ersten Elektrodendispersion und der zweiten Elektrodendispersion auf eine zwischen der ersten Transferwalze (201) und der zweiten Transferwalze (203) durchgeführte Membran (207), um die Elektrodenanordnung (300) zu formen,wobei die erste Transferwalze (201) eine erste Oberflächentextur aufweist, durch die beim Übertragen (105) der ersten Elektrodendispersion auf eine erste Seite der Membran (207) eine zu der ersten Oberflächentextur korrespondierende Oberflächentextur in einer durch die erste Elektrodendispersion gebildeten ersten Elektrode (301) ausgeformt wird, wobei die zweite Transferwalze (203) eine zweite Oberflächentextur aufweist, durch die beim Übertragen der zweiten Elektrodendispersion auf eine zweite Seite der Membran (207) eine zu der zweiten Oberflächentextur korrespondierende Oberflächentextur in einer durch die zweite Elektrodendispersion gebildeten zweiten Elektrode (303) ausgeformt wird.

Membranstapel und Luftbefeuchter

NºPublicación:  DE102024119462A1 15/01/2026
Solicitante: 
MAHLE INT GMBH [DE]
MAHLE International GmbH
DE_102024119462_PA

Resumen de: DE102024119462A1

Die Erfindung betrifft einen Membranstapel (9) für einen Luftbefeuchter (1) einer Brennstoffzelle zum Befeuchten eines trockenen Zuluftstroms (2) der Brennstoffzelle mittels eines feuchten Abluftstroms (3) der Brennstoffzelle,- wobei der Membranstapel (9) quaderförmig konfiguriert ist, eine Stapelrichtung (S) und quer zur Stapelrichtung (S) vier Stapelseiten (10) aufweist,- wobei der Membranstapel (9) eine parallel zur Stapelrichtung (S) verlaufende Höhenrichtung (Z), eine senkrecht zur Höhenrichtung (Z) verlaufende Längsrichtung (X) und eine senkrecht zur Höhenrichtung (Z) und senkrecht zur Längsrichtung (X) verlaufende Querrichtung (Y) aufweist,- wobei die vier Stapelseiten (10) einen Zulufteinlass (ZE) und einen Zuluftauslass (ZA) bilden, die in der Längsrichtung (X) voneinander abgewandt sind, sowie einen Ablufteinlass (AE) und einen Abluftauslass (AA) bilden, die in der Querrichtung (Y) voneinander abgewandt sind,- wobei der Membranstapel (9) mehrere Membranen (11) aufweist, die für Feuchtigkeit durchlässig und für Luft undurchlässig sind und die in der Stapelrichtung (S) aufeinanderfolgen, derart, dass die Membranen (11) innerhalb des Membranstapels (9) jeweils einen Zuluftpfad (ZP), der den Zulufteinlass (ZE) mit dem Zuluftauslass (ZA) verbindet, von einem Abluftpfad (AP) trennen, der den Ablufteinlass (AE) mit dem Abluftauslass (AA) verbindet.Eine verbesserte Funktionssicherheit lässt sich dadurch erreichen, dass der Membranstapel (9) mehrere Abstandshalt

Membranstapel und Luftbefeuchter

NºPublicación:  DE102024119466A1 15/01/2026
Solicitante: 
MAHLE INT GMBH [DE]
MAHLE International GmbH
DE_102024119466_PA

Resumen de: DE102024119466A1

Die Erfindung betrifft einen Membranstapel (9) für einen Luftbefeuchter (1) einer Brennstoffzelle zum Befeuchten eines trockenen Zuluftstroms (2) der Brennstoffzelle mittels eines feuchten Abluftstroms (3) der Brennstoffzelle,- wobei der Membranstapel (9) quaderförmig konfiguriert ist, eine Stapelrichtung (S) und quer zur Stapelrichtung (S) vier Stapelseiten (10) aufweist,- wobei der Membranstapel (9) eine parallel zur Stapelrichtung (S) verlaufende Höhenrichtung (Z), eine senkrecht zur Höhenrichtung (Z) verlaufende Längsrichtung (X) und eine senkrecht zur Höhenrichtung (Z) und senkrecht zur Längsrichtung (X) verlaufende Querrichtung (Y) aufweist,- wobei die vier Stapelseiten (10) einen Zulufteinlass (ZE) und einen Zuluftauslass (ZA) bilden, die in der Längsrichtung (X) voneinander abgewandt sind, sowie einen Ablufteinlass (AE) und einen Abluftauslass (AA) bilden, die in der Querrichtung (Y) voneinander abgewandt sind,- wobei der Membranstapel (9) mehrere Membranen (11) aufweist, die für Feuchtigkeit durchlässig und für Luft undurchlässig sind und die in der Stapelrichtung (S) aufeinanderfolgen, derart, dass die Membranen (11) innerhalb des Membranstapels (9) jeweils einen Zuluftpfad (ZP), der den Zulufteinlass (ZE) mit dem Zuluftauslass (ZA) verbindet, von einem Abluftpfad (AP) trennen, der den Ablufteinlass (AE) mit dem Abluftauslass (AA) verbindet.Eine verbesserte Funktionssicherheit lässt sich dadurch erreichen, dass der Membranstapel (9) mehrere Abstandshalt

Verfahren zum Betreiben einer Brennstoffzelle sowie derartige Brennstoffzelle

NºPublicación:  DE102024206583A1 15/01/2026
Solicitante: 
FORSCHUNGSZENTRUM JUELICH GMBH [DE]
HYDROGENIOUS LOHC TECH GMBH [DE]
Forschungszentrum J\u00FClich GmbH,
HYDROGENIOUS LOHC TECHNOLOGIES GMBH
DE_102024206583_PA

Resumen de: DE102024206583A1

Ein Verfahren zum Betreiben einer Brennstoffzelle (1) umfasst ein Zuführen eines wasserstoffbeladenen Trägermaterials in einen Anodenraum (3) der Brennstoffzelle (1), ein Dehydrieren des wasserstoffbeladenen Trägermaterials in dem Anodenraum (3) und dadurch Freisetzen von Wasserstoff von dem Trägermaterial, ein Zuführen eines sauerstoffhaltigen Gases oder Gasgemisches in einen Kathodenraum (4) der Brennstoffzelle (1), einen Transport von Sauerstoffionen von dem Kathodenraum (4) durch einen Elektrolyten (5) in den Anodenraum (3), ein Verstromen des freigesetzten Wasserstoffs mittels der Sauerstoffionen in dem Anodenraum (3), eine Oxidation des dehydrierten Trägermaterials durch Kontaktieren mit einem Oxidationskatalysator in dem Anodenraum (3) und dadurch zusätzliches Freisetzen von Wasserstoff von dem Trägermaterial sowie ein Verstromen des zusätzlich freigesetzten Wasserstoffs mittels der Sauerstoffionen in dem Anodenraum (3).

A METHOD OF PRODUCING METAL COMPOUNDS FOR COATING APPLICATIONS

NºPublicación:  WO2026012574A1 15/01/2026
Solicitante: 
CERES POWER LTD [GB]
ROBERT BOSCH GES MIT BESCHRAENKTER HAFTUNG [DE]
CERES POWER LIMITED,
ROBERT BOSCH GESELLSCHAFT MIT BESCHR\u00C4NKTER HAFTUNG
WO_2026012574_PA

Resumen de: WO2026012574A1

The invention relates to a method for producing metal compounds for coating applications (10), said method comprising providing a metal beta-dicarbonylate, wherein the metal is a metal of the fourth group in the periodic table, providing a metal carboxylate, wherein the metal is said metal of the fourth group in the periodic table, forming a reaction mixture comprising said metal beta-dicarbonylate, said metal carboxylate, and at least one solvent, and reacting the metal beta-dicarbonylate with the metal carboxylate to obtain a metal compound for coating applications (10). The invention also relates to a metal compound for coating applications (10), to a coating solution (12) and to a method of coating a work piece (14).

SYSTEM AND PROCESS FOR IMPROVING THE ELECTROLYSIS OF SALTWATER

NºPublicación:  WO2026013303A1 15/01/2026
Solicitante: 
THE UNIV COURT OF THE UNIV OF ABERDEEN [GB]
THE UNIVERSITY COURT OF THE UNIVERSITY OF ABERDEEN
WO_2026013303_PA

Resumen de: WO2026013303A1

The invention provides a system and process for facilitating the direct electrolysis of saltwater, such as seawater. The system comprises an acid-base flow battery comprising an acid solution outlet, an alkaline solution outlet and a saltwater inlet; and a water electrolyser downstream of the acid-base flow battery for producing hydrogen, comprising a negative electrode and a positive electrode.

METHOD FOR PRODUCING A CELL LAYER, AND ELECTRODE-COATED CELL LAYER

NºPublicación:  WO2026012870A1 15/01/2026
Solicitante: 
ROBERT BOSCH GMBH [DE]
ROBERT BOSCH GMBH
WO_2026012870_PA

Resumen de: WO2026012870A1

The invention relates to a method for producing an electrode-coated cell layer (100) for an electrochemical cell stack, in particular a fuel cell stack or an electrolysis cell stack, and at least one catalyst-containing electrode (120, 130), in particular an anode electrode (120) and/or a cathode electrode (130), for the cell stack, is applied to a cell stack substrate (110), wherein an electrode coating material is printed, by means of a screen printing method, onto a large-area outer side of the cell stack substrate (110), said electrode coating material being printed as a screen-printed electrode (120, 130) which has a planar pattern in two length dimensions and is structured in its thickness dimension (D).

METHOD FOR OPERATING A FUEL CELL SYSTEM

NºPublicación:  WO2026012884A1 15/01/2026
Solicitante: 
ROBERT BOSCH GMBH [DE]
ROBERT BOSCH GMBH
WO_2026012884_PA

Resumen de: WO2026012884A1

A method for operating a fuel cell system (2), comprising the steps of determining (100) an electrical power of an electrically operated component (4) of the fuel cell system (2) at at least one defined operating point of the fuel cell system (2), comparing (200) the determined electrical power of the electrically operated component (4) with the electrical power of an electrically operated component (4) of a reference fuel cell system (2') at at least one defined operating point, ascertaining (300) a difference between the determined electrical power of the electrically operated component (4) of the fuel cell system (2) and the determined electrical power of the electrically operated component (4) of the reference fuel cell system (2'), and adjusting (400) the determined electrical power of the electrically operated component (4) of the fuel cell system (2) by the ascertained difference.

SYSTEM FOR HUMIDIFYING GAS, IN PARTICULAR AIR

NºPublicación:  WO2026013485A1 15/01/2026
Solicitante: 
POLITECNICO DI MILANO [IT]
POLITECNICO DI MILANO
WO_2026013485_PA

Resumen de: WO2026013485A1

The present invention relates to a system (1) for humidifying gas, in particular air, comprising: - a first branch (2) for transporting dry gas (200) to be humidified, having an inlet (3) and an outlet (4); - a second branch (5) for transporting humid gas (201), having an inlet (6) and an outlet (7); - a humidifier device (8), operatively connected to the first branch (2) and the second branch (5), configured to exchange water between dry gas (200) in the first branch (2) and humid gas (201) in the second branch (5) wherein the humidifier device (8) comprises a membrane humidifier; - at least one accumulator device (9) operatively connected to the humidifier device (8) along the first branch (2) and/or at least one accumulator device (9) operatively connected to the humidifier device (8) along the second branch (5), configured to draw and release water or water vapor from/into the dry gas (200) stream flowing through the first branch (2) or from/into the humid gas (201) stream flowing through the second branch (5), wherein the at least one accumulator device (9) comprises adsorbent material capable of adsorbing and desorbing water or water vapor from/into the dry air (200) stream flowing through the first branch (2) or from/into the humid air (201) stream flowing through the second branch (5).

FUEL CELL SYSTEM USING A BATTERY PACK IN GENERALLY CYLINDRICAL FORM

NºPublicación:  WO2026012950A1 15/01/2026
Solicitante: 
AMPERE S A S [FR]
AMPERE S.A.S
WO_2026012950_PA

Resumen de: WO2026012950A1

The invention relates to a fuel cell-based electrical power supply system, the system comprising a fuel cell (80), an electric battery arrangement (85) downstream of the fuel cell, a dihydrogen gas supply arrangement, a plurality of locations, each location being configured to receive a hydrogen tank (3) in the form of a generally cylindrical bottle, at least one of the locations (1) being configured to receive, instead of a hydrogen tank, a battery pack having a shape substantially close to a hydrogen tank (3).

PREPARATION OF POLYMERS FOR AEM WATER ELECTROLYSIS WITH REDUCED TENDENCY TO SWELL

NºPublicación:  WO2026012895A1 15/01/2026
Solicitante: 
EVONIK OPERATIONS GMBH [DE]
EVONIK OPERATIONS GMBH
WO_2026012895_PA

Resumen de: WO2026012895A1

The invention is concerned with the preparation of anion-conducting polymers intended for use in alkaline membrane water electrolysis. Specifically, the intention is to reduce the tendency of anion-conducting polymers to swell in alkaline aqueous solutions, without severely impairing the specific anion conductivity of these polymers. This is achieved by adding a further reactant to the reaction mixture. In total, the polymer is prepared from three reactants, namely from 4,4-bis(4-hydroxy-3,5-dimethylphenyl)-1-methylpiperidine (formula I), from 4,4'-difluorobenzophenone (formula II), and from 4,4'- dihydroxybenzophenone (formula III) or from bis(4-hydroxy-3,5-dimethylphenyl)methanone (formula IV).

Brennstoffzellenabgasanlage, Brennstoffzellensystem und Verfahren zum Verringern des Wasserstoffgehalts in Brennstoffzellenabgas

NºPublicación:  DE102024119423A1 15/01/2026
Solicitante: 
PUREM GMBH [DE]
Purem GmbH
DE_102024119423_PA

Resumen de: DE102024119423A1

Eine Brennstoffzellenabgasanlage für ein Brennstoffzellensystem, insbesondere in einem Fahrzeug, umfasst eine Wasser-Abscheideanordnung (24) zum Abscheiden von in Brennstoffzellenabgas (B) enthaltenem Wasser (W) sowie eine Wasserstoff-Katalysatoranordnung (30) zum katalytischen Umsetzen von im Brennstoffzellenabgas (B) enthaltenem Wasserstoff stromabwärts der Wasser-Abscheideanordnung (24).

SOLID OXIDE FUEL CELL WITH CERAMIC INTERCONNECTOR AND HEATING METHOD

NºPublicación:  WO2026012662A1 15/01/2026
Solicitante: 
SIEMENS ENERGY GLOBAL GMBH & CO KG [DE]
SIEMENS ENERGY GLOBAL GMBH & CO. KG
WO_2026012662_PA

Resumen de: WO2026012662A1

The invention relates to a solid oxide fuel cell at least having an anode, an electrolyte, a cathode, a ceramic interconnector for which either Si3N4 or MoSi2 is used as matrix and either MoSi2 or Si3N4 is used as secondary phase, and SiC and/or TiC is optionally used as material for the ceramic interconnector.

CERAMIC INTER-ELECTRODE SEPARATOR

NºPublicación:  WO2026011207A1 15/01/2026
Solicitante: 
HYSATA PTY LTD [AU]
HYSATA PTY LTD
WO_2026011207_PA

Resumen de: WO2026011207A1

Disclosed are robust, thin, flexible and/or porous ceramic inter-electrode separators comprising porous metal substrates, that are suitable for use in electrochemical cells, and methods of fabrication thereof. In one example there is disclosed a ceramic inter-electrode separator for an electrochemical cell, comprising a porous metal substrate and a porous sintered bed comprising metal oxide particles of at least one metal oxide, wherein the metal oxide particles are attached to each other and to the porous metal substrate. The porous sintered bed, taken in cross-section, has an overall thickness of less than 0.20 mm. The separator is flexible having a bend diameter of less than 6 cm. The porous sintered bed has a porosity in the range of 55% to 95%. The metal oxide particles can comprise a single metal oxide, with one or more distinct particle size, or can comprise two or more different metal oxides having distinct particle sizes.

燃料電池システムおよび燃料電池システムの起動方法

NºPublicación:  JP2026004771A 15/01/2026
Solicitante: 
株式会社SOKEN
JP_2026004771_PA

Resumen de: JP2026004771A

【課題】燃料電池スタック内の残留水の除去時における凍結を抑制し、燃料電池スタックの耐久性を向上させる。【解決手段】燃料電池システムは、燃料電池スタックと、カソードガス流路を減圧する減圧部と、スタック温度を取得する温度取得部と、減圧部を制御する減圧制御部とを備える。減圧制御部は、(i)燃料電池システムの起動時におけるスタック温度である起動時温度が予め定められた閾値温度以下である場合に、カソードガス流路の凍結が生じない程度の減圧速度である第1減圧速度でカソードガス流路を減圧する第1制御と、(ii)起動時温度が閾値温度よりも高い場合に、カソードガス流路内に存在する液水の気化熱を利用してスタック温度を低減可能な減圧速度である第2減圧速度でカソードガス流路を減圧する第2制御と、のうちの少なくとも一方を実行する。【選択図】図1

ガス処理システム、その運転方法、及びその製造方法、並びに燃料電池システム

NºPublicación:  JP2026005091A 15/01/2026
Solicitante: 
パナソニックIPマネジメント株式会社
JP_2026005091_PA

Resumen de: JP2026005091A

【課題】改質器を含むガス処理システムをアップデートすることによって合理的に得ることができる水素ガス仕様のガス処理システムであって、水素ガスの成分を調整するための処理を必要に応じて実行できるガス処理システムを提供する。【解決手段】ガス処理システム210は、ガス処理ユニット211及び制御器296を含む。ガス処理ユニット211は、改質器150を含む。ガス処理ユニット211には、水素ガス201が供給される。ガス処理ユニット211は、水素ガス201の成分を調整するための少なくとも1つの処理を実行可能である。制御器296は、ガス処理ユニット211に少なくとも1つの処理を実行させるか否かを設定する。【選択図】図2

触媒層付き電解質膜の製造装置

NºPublicación:  JP2026004665A 15/01/2026
Solicitante: 
パナソニックIPマネジメント株式会社
JP_2026004665_PA

Resumen de: JP2026004665A

【課題】触媒層付き電解質膜の外観品質を向上させることができる製造装置を提供すること。【解決手段】高分子電解質膜の表面に触媒インクを塗工して触媒層付き電解質膜を製造する製造装置は、幅方向に直交する長手方向に沿って高分子電解質膜を搬送方向に搬送する搬送部と、高分子電解質膜の表面に触媒インクを吐出する触媒インク吐出部と、触媒インク吐出部の周囲に配置され、触媒インク吐出部による吐出領域の周囲に、少なくとも水を含む溶媒を吐出する溶媒吐出部と、触媒インク吐出部および溶媒吐出部を制御する制御部と、を備える。【選択図】図1

MANIFOLD ASSEMBLY, STACK END PLATE, AND DUAL-STACK FUEL CELL SYSTEM

NºPublicación:  US20260018644A1 15/01/2026
Solicitante: 
ROBERT BOSCH GMBH [DE]
BOSCH HYDROGEN POWERTRAIN SYSTEMS CHONGQING CO LTD [CN]
Robert Bosch GmbH,
Bosch Hydrogen Powertrain Systems (Chongqing) Co., Ltd
US_20260018644_PA

Resumen de: US20260018644A1

A manifold assembly for a dual-stack fuel cell system includes a first manifold structure for delivering one of an oxidant and a coolant, the first manifold structure including a first branch channel and a first main manifold channel in fluid communication with the first branch channel and extending at least partially superposed over the first branch channel, wherein the first branch channel is open on a side opposite to the first main manifold channel for sealing connection to a surface of a stack end plate, such that one of the oxidant and coolant is guided along the surface of the stack end plate therein. The manifold assembly further includes a second manifold structure for delivering the other of the oxidant and coolant, the second manifold structure including two end plate interfaces configured to be connected to the stack end plate in a manner perpendicular to the surface of the stack end plate, a second branch passage fluidly connecting the two end plate interfaces, and a second main manifold channel in fluid communication with and extending at least partially superposed over the second branch passage. A stack end plate and a dual-stack fuel cell system are also disclosed.

ELECTROCHEMICAL DEVICE, BATTERIES, METHOD FOR HARVESTING LIGHT AND STORING ELECTRICAL ENERGY, AND DETECTION METHODS

NºPublicación:  US20260018711A1 15/01/2026
Solicitante: 
MAX PLANCK GESELLSCHAFT ZUR FOERDERUNG DER WSS E V [DE]
MAX-PLANCK-GESELLSCHAFT ZUR F\u00D6RDERUNG DER WISSENSCHAFTEN E.V
US_20260018711_PA

Resumen de: US20260018711A1

The present invention relates to an electrochemical device, comprising a negative electrode comprising a nitrogen-containing electron storage material, a positive electrode, and an electrolyte, wherein the nitrogen-containing electron storage material has a two-dimensional or a three-dimensional covalent structure, contains heptazine and/or triazine moieties, and is capable of intercalating and de-intercalating cations. The present invention is further directed to a uses the material, a photorechargeable battery, an autophotorechargeable battery, a redox-flow-battery, a method for harvesting light and storing electrical energy, a method for detecting and removing oxygen, and a method for detecting light.

NANOGRID DEVICE FOR OFF-GRID POWER

NºPublicación:  US20260019031A1 15/01/2026
Solicitante: 
SESAME SOLAR INC [US]
Sesame Solar, Inc
US_20260019031_PA

Resumen de: US20260019031A1

A nanogrid device for off-grid power includes a housing and a plurality of energy-receiving components coupled to the housing. The energy-receiving components are movable relative to the housing from a first, stored position to a second, fully deployed position. The energy-receiving components are configured to form an A-frame structure in the second, fully deployed position, and the housing is configured to be disposed underneath the A-frame structure in the second, fully deployed position.

Flow Battery Fluid Exchange System and Method

NºPublicación:  US20260018641A1 15/01/2026
Solicitante: 
BAGOT III MICHAEL H [US]
Bagot, III Michael H
US_20260018641_PA

Resumen de: US20260018641A1

The flow battery system includes a positively charged tank comprising a positively charged electrolyte, a negatively charged tank comprising a negatively charged electrolyte, a cell stack comprising a positive electrode and a negative electrode separated by a membrane operable to allow permeation of an ion between the positive electrode and the negative electrode, a plurality of flow tubes connecting these components, a power source operable to provide an electric current to said electrodes, a pump operable to pump electrolyte throughout the system, and a drainage tube and diverter that tie into the existing system and utilize the existing system's power source and pumps to pump electrolyte into and out of the system to allow for routine maintenance and repairs.

燃料電池セルの製造方法

NºPublicación:  JP2026004642A 15/01/2026
Solicitante: 
トヨタ自動車株式会社
JP_2026004642_PA

Resumen de: JP2026004642A

【課題】プレート部材とセパレータとを粘着剤で接合する場合に粘着剤の厚みが部分的に変化することを抑制する。【解決手段】膜電極接合体および膜電極接合体を支持するフレームを有するプレート部材と、プレート部材を挟持する一対のセパレータのうちの1つと、を接合する燃料電池セルの製造方法は、フレームのセパレータと対向する面である第1面に、予め定められた幅を有する線状に粘着剤を塗布する第1工程と、粘着剤の幅方向の端部に、粘着剤よりも硬度の高い硬化部を作成する第2工程と、第1面と対向する面である第2面を有し、第2面を上方に向けて配置されているセパレータに対して、第1面を下方に向けて吊り下げられているプレート部材を相対的に移動させて、硬化部と第2面とを接触させる第3工程と、硬化部が第2面に接触した状態で、第2面に平行な方向にプレート部材をセパレータに対して相対的に移動させて位置決めを行う第4工程と、を備える。【選択図】図5

燃料電池

NºPublicación:  JP2026004942A 15/01/2026
Solicitante: 
トヨタ自動車株式会社
JP_2026004942_PA

Resumen de: US20260005266A1

A fuel cell disclosed in the present specification includes a membrane electrode assembly, a separator adjacent to the membrane electrode assembly, and a gas channel through which fuel gas, oxygen gas, or air passes. The gas channel is provided on a face of the separator, the face facing the membrane electrode assembly. The gas channel has a wave shape extending in a lateral direction while meandering in an up-down direction. The gas channel includes an upward convex curved portion and a downward convex curved portion that are alternately connected. The downward convex curved portion is shorter than the upward convex curved portion. By making the downward convex curved portion shorter than the upward convex curved portion, water remaining in the downward convex curved portion is easily blown downstream by the force of the gas. That is, the amount of water remaining in the gas channel can be reduced.

触媒層付き電解質膜の製造装置

NºPublicación:  JP2026004961A 15/01/2026
Solicitante: 
パナソニックIPマネジメント株式会社
JP_2026004961_PA

Resumen de: JP2026004961A

【課題】触媒層付き電解質膜の外観品質を向上させることができる製造装置を提供すること。【解決手段】高分子電解質膜の表面に触媒インクを塗工して触媒層付き電解質膜を製造する製造装置は、幅方向に直交する長手方向に沿って高分子電解質膜を搬送方向に搬送する搬送部と、高分子電解質膜の表面に触媒インクを吐出する触媒インク吐出部と、触媒インク吐出部よりも搬送方向の上流側の位置で、高分子電解質膜の表面に混合薬液を吐出する薬液吐出部と、混合薬液は、少なくとも水を含む第1薬液と、蒸発速度が水よりも遅い液体を含む第2薬液とを含む。【選択図】図1

SYSTEMS AND METHODS FOR HARNESSING THERMAL GRADIENT ENERGY

NºPublicación:  US20260018642A1 15/01/2026
Solicitante: 
NANA RAHUL S [US]
FERIA RAFAEL A [US]
Nana Rahul S,
Feria Rafael A
US_20260018642_PA

Resumen de: US20260018642A1

A method and system of generating electrical power or hydrogen from thermal energy is disclosed. The method includes adding heat to (or removing heat from) a salinity gradient generator configured to generate a more concentrated and a less concentrated saline solution. The method further includes drawing the more concentrated saline solution and the less concentrated saline solution from the salinity gradient generator and feeding the more concentrated saline solution and the less concentrated saline solution into a power generator. Feeding the saline solutions into the power generator causes the power generator to receive the saline solutions and generate power by performing a controlled mixing of the more concentrated saline solution and the less concentrated saline solution. The method further includes drawing, from the power generator, a combined saline solution comprising the mixed saline solutions and feeding the combined saline solution to the salinity gradient generator.

POWER OUTLET ASSEMBLY FOR ELECTRIC STACK, PARTICULARLY FUEL CELL STACK

NºPublicación:  US20260018643A1 15/01/2026
Solicitante: 
POWERCELL SWEDEN AB [SE]
POWERCELL SWEDEN AB
US_20260018643_PA

Resumen de: US20260018643A1

An electric cell stack assembly includes at least an electric energy generating cell stack body with a plurality of stacked unit cells. Each unit cell is a unit fuel cell includes a bipolar plate and a membrane electrode assembly, a first and second terminal plate sandwiching the cell stack body, which are adapted to collect the electric energy generated by the cell stack body. Each terminal plate includes a power output terminal, which is connectable to an external connector, and a tightening arrangement adapted to tighten the external connector to the power output terminal, for providing an electric connection between the external connector and the power output terminal. The tightening arrangement includes at least a first nut and a threaded element wherein the threaded element is adapted to be screwed into the first nut with a first end, and wherein the first nut is adapted to provide a tightening stop for the threaded element.

ARTIFICIAL PHOTOSYNTHESIS ENERGY SYSTEMS AND METHODS

NºPublicación:  US20260018639A1 15/01/2026
Solicitante: 
SHAHEEN INNOVATIONS HOLDING LTD [AE]
SHAHEEN INNOVATIONS HOLDING LIMITED
US_20260018639_PA

Resumen de: US20260018639A1

There is provided an artificial photosynthesis energy device, the device comprising: an artificial photosynthesis fuel generator, incorporating: an inlet for receiving at least one of a feed material and at least one byproduct, a reactor which uses light energy from a light source to convert the at least one of the feed material and the at least one byproduct to a fuel, and an outlet which feeds the fuel to a power generator which generates electricity and produces the at least one byproduct from the fuel; the power generator, incorporating: an inlet fluidly connected to the outlet of the artificial photosynthesis fuel generator, and an outlet, wherein the device further comprises: a recycler which directs at least a portion of the at least one byproduct from the outlet of the power generator to the inlet of the artificial photosynthesis fuel generator.

GAS FLOW RATE MEASUREMENT FOR REDOX FLOW BATTERY SYSTEMS AND OTHER CLOSED SYSTEMS AND METHODS OF MAKING AND USING

NºPublicación:  US20260018637A1 15/01/2026
Solicitante: 
COUGAR CREEK TECH LLC [US]
Cougar Creek Technologies, LLC
US_20260018637_PA

Resumen de: US20260018637A1

A U-tube arrangement for monitoring, observing, or measuring gas flow or gas generation of in a closed system can include a U-tube having a first arm, a second arm, and a bridge connecting the first arm to the second arm; a liquid disposed in the U-tube; an attachment conduit for coupling to the closed system and in fluid communication with the first arm of the U-tube and the closed system; a first valve for controlling fluid flow between the first arm of the U-tube and the closed system; an external conduit in fluid communication with the second arm of the U-tube and either an external atmosphere or external pressure source; and liquid level sensors disposed along at least one of the first arm or the second arm.

SUSTAINABLE ENERGY DELIVERY SYSTEM, CONTROLLER, AND METHOD

NºPublicación:  US20260018638A1 15/01/2026
Solicitante: 
EQT CORP [US]
EQT Corporation
US_20260018638_PA

Resumen de: US20260018638A1

An integrated low-carbon energy system includes a controller configured to control an amount of H2 gas added to pipe-based delivery system that carries mixture of a fossil fuel in gaseous form with the H2 gas as a minority component by volume, an H2-compatible fuel cell that converts the mixed gas into electricity, a data interface that receives an H2 allocation request signal on behalf of a facility that receives electricity produced by the H2-compatible fuel cell, wherein in response to the H2 allocation request signal, the controller is configured to control a change an addition rate of H2 from a first level to a second level that corresponds with a level requested in the request signal.

Selectively Annealed Electrochemical Catalyst

NºPublicación:  US20260018640A1 15/01/2026
Solicitante: 
ROBERT BOSCH GMBH [DE]
Robert Bosch Gmbh
US_20260018640_PA

Resumen de: US20260018640A1

An electrochemical cell includes a membrane electrode assembly having an electrode catalyst material including a plurality of catalyst nanoparticles at least some of which include a magnetic material and an AC magnet generating oscillating magnetic field adjacent the catalyst material, the oscillating magnetic field having a frequency of up to 500 KHz.

HIGH-TEMPERATURE PEM FUEL CELL SYSTEM WITH HEAT PUMP FOR HEATING A REFORMER AND METHOD OF ITS OPERATION AS WELL AS USE THEREOF

NºPublicación:  US20260018636A1 15/01/2026
Solicitante: 
BLUE WORLD TECH HOLDING APS [DK]
BLUE WORLD TECHNOLOGIES HOLDING APS
US_20260018636_PA

Resumen de: US20260018636A1

A reformer in a HT-PEM fuel cell system, is heated by using a heat pump transferring thermal energy from the cooling circuit to the reformer for the catalytic reformation. As the heating of the reformer does not require a reformer-burner that consumes H2 and/or fuel, the H2 gas from the anode exhaust is advantageously recycled to the fuel cell by mixing with syngas. A separation of H2 gas from the anode in, for example by electrochemical separation, exhaust gas leaves an option to collect the remaining CO2 after condensing the water.

APPARATUS AND METHOD FOR CONTROLLING FUEL CELL

NºPublicación:  US20260018634A1 15/01/2026
Solicitante: 
HYUNDAI MOTOR COMPANY [KR]
KIA CORP [KR]
HYUNDAI MOTOR COMPANY,
KIA CORPORATION
US_20260018634_PA

Resumen de: US20260018634A1

An apparatus for controlling a fuel cell includes a cooling module that cools a fuel cell stack, a first temperature sensor that measures ambient air temperature of a vehicle, and a processor that, when a cooling fan of the cooling module is detected to be defective, determines a fail-safe control method depending on a defect situation of the cooling fan, sets a first limit level depending on the ambient air temperature, sets a second limit level depending on a state of charge (SOC) of a battery and an output requirement, and controls limitation of output of the fuel cell stack, based on at least one of the fail-safe control method, the first limit level, or the second limit level.

APPARATUS FOR GENERATING ELECTRICITY

NºPublicación:  US20260018632A1 15/01/2026
Solicitante: 
EMISSION FREE GENERATORS INC [US]
EMISSION FREE GENERATORS, INC
US_20260018632_PA

Resumen de: US20260018632A1

A power generation system includes a housing, a lid defining an opening in the housing, and a chamber inside the housing configured to receive a cartridge comprising a powdered fuel mixture. The system also includes a fluid reservoir that stores a fluid configured to react with the powdered fuel mixture to produce hydrogen gas. A processor is configured to control ingress of the fluid from the fluid reservoir to the powdered fuel mixture in the cartridge and control egress of the gas from the cartridge to the gas storage compartment. The system also includes a generator configured to generate electricity from the gas in the gas storage compartment.

PRODUCTION OF A COMPONENT WITH A GAS-TIGHT ION-CONDUCTING FUNCTIONAL LAYER, AND COMPONENT

NºPublicación:  US20260018624A1 15/01/2026
Solicitante: 
FORSCHUNGSZENTRUM JUELICH GMBH [DE]
Forschungszentrum J\u00FClich GmbH
US_20260018624_PA

Resumen de: US20260018624A1

The invention relates to a method for producing a component (11) having a gas-tight, ion-conducting ceramic functional layer (9), comprising the steps of: ceramic powder material is pressed with a sintering additive by a pressing tool (1) at a pressure of at least 50 MPa,the pressed ceramic powder material and the sintering additive are sintered.The invention also relates to a component producible with the method.

METHOD OF THERMAL MANAGEMENT OF FUEL CELL SYSTEM USING MEA TEMPERATURE ESTIMATION

NºPublicación:  US20260018633A1 15/01/2026
Solicitante: 
HYUNDAI MOTOR COMPANY [KR]
KIA CORP [KR]
HYUNDAI MOTOR COMPANY,
KIA CORPORATION
US_20260018633_PA

Resumen de: US20260018633A1

Disclosed is a method of thermal management of a fuel cell system capable of estimating the temperature of a membrane electrode assembly (MEA) of a fuel cell stack based on data that can be collected in real time and performing thermal management of the fuel cell stack based on the estimated temperature of the MEA, the method including determining, by a controller, a heating value and thermal resistance of a fuel cell stack during driving of a vehicle, estimating the temperature of an MEA provided to the fuel cell stack based on the heating value and the thermal resistance of the fuel cell stack, and performing thermal management of the fuel cell stack based on the estimated temperature of the MEA.

COMPLIANT SOLID-STATE IONICALLY CONDUCTIVE COMPOSITE MATERIALS AND METHOD FOR MAKING SAME

NºPublicación:  US20260018603A1 15/01/2026
Solicitante: 
BLUE CURRENT INC [US]
Blue Current, Inc
US_20260018603_A1

Resumen de: US20260018603A1

Provided herein are ionically conductive solid-state compositions that include ionically conductive inorganic particles in a matrix of an organic material. The resulting composite material has high ionic conductivity and mechanical properties that facilitate processing. In particular embodiments, the ionically conductive solid-state compositions are compliant and may be cast as films. In some embodiments of the present invention, solid-state electrolytes including the ionically conductive solid-state compositions are provided. In some embodiments of the present invention, electrodes including the ionically conductive solid-state compositions are provided. The present invention further includes embodiments that are directed to methods of manufacturing the ionically conductive solid-state compositions and batteries incorporating the ionically conductive solid-state compositions.

LOAD REDUCTION LIMITATION IN HIGH-TEMPERATURE OPERATION

NºPublicación:  US20260018635A1 15/01/2026
Solicitante: 
ROBERT BOSCH GMBH [DE]
Robert Bosch GmbH
US_20260018635_PA

Resumen de: US20260018635A1

The present invention relates to a method for operating a fuel cell (1) of a fuel cell system (2) for a vehicle. According to the method, a predetermined load reduction is implemented in stages so that, combined with cooling of the fuel cell (1), unacceptable operating conditions, which can, for example, lead to increased wear of the fuel cell (1), are avoided. The invention also relates to a fuel cell system (2) for a vehicle.

MEMBRANE STACK AND AIR HUMIDIFIER

NºPublicación:  US20260018630A1 15/01/2026
Solicitante: 
MAHLE INT GMBH [DE]
MAHLE International GmbH
US_20260018630_PA

Resumen de: US20260018630A1

A membrane stack for an air humidifier of a fuel cell for humidifying a dry supply air flow of the fuel cell via a humid exhaust air flow of the fuel cell may include a plurality of membranes and a plurality of spacers. The membranes may be permeable to humidity and impermeable to air. The membranes may be arranged one above another in a stacking direction such that at least a subset of the membranes each separate a respective supply air path of a plurality of supply air paths, which each connect a supply air inlet to a supply air outlet, from a respective exhaust air path of a plurality of exhaust air paths, which each connect an exhaust air inlet to an exhaust air outlet. The spacers may each be arranged in the stacking direction between two directly adjacent membranes and in one of the exhaust air paths.

FUEL-CELL EXHAUST SYSTEM, FUEL CELL SYSTEM AND METHOD FOR REDUCING THE HYDROGEN CONTENT IN FUEL-CELL EXHAUST GAS

NºPublicación:  US20260018631A1 15/01/2026
Solicitante: 
PUREM GMBH [DE]
Purem GmbH
US_20260018631_PA

Resumen de: US20260018631A1

A fuel-cell exhaust system for a fuel cell system includes a water separation arrangement for separating water contained in fuel-cell exhaust gas and a hydrogen catalyst arrangement for catalytically converting hydrogen contained in the fuel-cell exhaust gas downstream of the water separation arrangement. The fuel-cell exhaust system is especially suited for a fuel cell system in a vehicle.

MEMBRANE ELEMENT FOR HUMIDIFIER AND HUMIDIFIER

NºPublicación:  US20260018629A1 15/01/2026
Solicitante: 
MANN HUMMEL GMBH [DE]
MANN+HUMMEL GmbH
US_20260018629_PA

Resumen de: US20260018629A1

A membrane element for a humidifier, includes a membrane media bellows being zigzag-pleated and comprising a membrane media that is moisture permeable but gas impermeable, the membrane media bellows extending at least partially in a circumferential direction about a longitudinal axis, the membrane media bellows further comprising pleats extending essentially parallel to the longitudinal axis, and the membrane media bellows further comprising inner pleat folds at an inner circumference and outer pleat folds at an outer circumference, a support body comprising a hollow body and an outer wall arranged at the inner circumference of the membrane media bellows, and a bypass valve integrated into the support body, the bypass valve being for selectively blocking and unblocking a fluid passage through the support body.

PROTON EXCHANGE MEMBRANE FUEL CELLS BIPOLAR PLATE ASSEMBLY

NºPublicación:  US20260018627A1 15/01/2026
Solicitante: 
ZEROAVIA LTD [GB]
ZEROAVIA LTD
US_20260018627_PA

Resumen de: US20260018627A1

A proton exchange membrane fuel cell bipolar plate (PEM FC BPP) assembly is provided. The PEM FC BPP assembly includes a cathode plate, an anode plate, and an insert. The insert is positioned between the cathode plate, an anode plate; and is comprised of a metal, a composite, a foil, a mesh, or a combination thereof, the insert includes at least one corrugated structure having peaks provided from 1-10 mm apart. The at least one corrugated structure is bonded to the anode and cathode plates at, at least one of its peaks and troughs. The disclosure also includes an electric device which includes the PEM FC BPP with cooling insert and where the electric device includes an electric vertical take-off and landing (eVTOL) aircraft.

FLUOROELASTOMER COMPOSITIONS FOR FUEL CELL SEALS

NºPublicación:  US20260018628A1 15/01/2026
Solicitante: 
SOLVAY SPECIALTY POLYMERS ITALY S P A [IT]
SOLVAY SPECIALTY POLYMERS ITALY S.P.A
US_20260018628_A1

Resumen de: US20260018628A1

The present invention relates to fuel cells that incorporate seal means, in particular seal means for sealing a bipolar plate to a membrane in a PEM fuel cell stack. The resulting fuel cell stack exhibits superior leak resistance and reduced ion leaching in water.

FUEL CELL STACK

NºPublicación:  US20260018626A1 15/01/2026
Solicitante: 
POWERCELL SWEDEN AB [SE]
POWERCELL SWEDEN AB
US_20260018626_PA

Resumen de: US20260018626A1

A fuel cell stack includes at least a fuel cell stack body with a plurality of unit fuel cells, wherein each unit fuel cell includes a bipolar plate and a membrane electrode assembly, which are alternatingly stacked in a stacking direction, a first and second terminal plate sandwiching the fuel cell stack body, wherein the first and second terminal plate are adapted to collect the electric energy generated by the fuel cell stack body, a first insulation plate and a second insulation plate sandwiching the terminal plates, wherein the insulation plates are adapted to electrically insulate the terminal plates, and a first and second end plate sandwiching the insulation plates, wherein at least one first sealing element is arranged between at least one insulation plate and the adjacent end plate.

FUEL CELL SEPARATOR

NºPublicación:  US20260018625A1 15/01/2026
Solicitante: 
TOYOTA JIDOSHA KK [JP]
TOYOTA JIDOSHA KABUSHIKI KAISHA
US_20260018625_PA

Resumen de: US20260018625A1

The fuel cell separator includes a metal base material, a titanium layer provided on the metal base material, and a carbon layer provided on the titanium layer, in which a ratio of TiC components of a boundary area between the titanium layer and the carbon layer is 70% or less.

PLATE STACK OF SUBSTANTIALLY FLAT PLATES

NºPublicación:  US20260016233A1 15/01/2026
Solicitante: 
ALFA LAVAL CORP AB [SE]
ALFA LAVAL CORPORATE AB
US_20260016233_PA

Resumen de: US20260016233A1

The present invention relates to a stack of substantially flat plates stacked one on top of the other along a stacking direction. The substantially flat plates define at least a first plate interspace between a first plate and an opposing second plate of the stack. One of the plates in the first plate interspace defining a first ridge protruding a first distance in the first plate interspace. The first distance is less than the thickness of the plates in the first plate interspace. The plates in the first plate interspace being permanently joined at the first ridge.

SOLID OXIDE ELECTROLYTIC CELLS USING ZEOLITE-TEMPLATED CARBON (ZTC) AS ELECTROCATALYST

NºPublicación:  US20260015741A1 15/01/2026
Solicitante: 
SAUDI ARABIAN OIL COMPANY [SA]
Saudi Arabian Oil Company
US_20260015741_PA

Resumen de: US20260015741A1

Solid oxide electrolytic cell assembly (SOEC) and methods for making SOECs are provided. An exemplary method includes forming a functionalized zeolite templated carbon (ZTC). The functionalized ZTC is formed by forming a CaX zeolite, depositing carbon in the CaX zeolite using a chemical vapor deposition (CVD) process to form a carbon/zeolite composite, treating the carbon/zeolite composite with a solution including hydrofluoric acid to form a ZTC, and treating the ZTC to add catalyst sites. In the method, the functionalized ZTC is incorporated into electrodes by forming a mixture of the functionalized ZTC with a calcined solid oxide electrolyte, and calcining the mixture. The method includes forming an electrode assembly, forming the SO electrolytic cell assembly, and coupling the SO electrolytic cell assembly to a heat source.

MEDIATED HYDROGEN ANODE FOR USE IN REDUCTIVE ELECTROSYNTHESIS

NºPublicación:  US20260015743A1 15/01/2026
Solicitante: 
WISCONSIN ALUMNI RES FOUNDATION [US]
Wisconsin Alumni Research Foundation
US_20260015743_PA

Resumen de: US20260015743A1

An electrosynthetic cell and its use are disclosed. The electrosynthetic cell can be used in a reductive electrosynthesis of one or more desired chemical products from one or more chemical reactants. The electrosynthetic cell comprises a hydrogen anode half-cell and a cathode half-cell. The hydrogen anode half-cell comprises hydrogen (H2), a first liquid phase solution that is in contact with an anode and a heterogeneous redox catalyst capable of catalyzing the oxidation of H2 to H+, and a redox mediator capable of transferring or accepting electrons and/or protons while undergoing reduction or oxidation. The cathode half-cell comprises a second liquid phase solution comprising the one or more chemical reactants that is in contact with a cathode and a reductive synthesis catalyst capable of catalyzing the reductive synthesis of the one or more desired chemical products from the one or more chemical reactants.

System and process for improving the electrolysis of saltwater

NºPublicación:  GB2642534A 14/01/2026
Solicitante: 
THE UNIV COURT OF THE UNIV OF ABERDEEN [GB]
The University Court of the University of Aberdeen
GB_2642534_PA

Resumen de: GB2642534A

A system and process for facilitating the direct electrolysis of saltwater, such as seawater, is described. The system comprises an acid-base flow battery (ABFB) 230 with an acid solution outlet 403, an alkaline solution outlet 402 and a saltwater inlet 401; and a water electrolyser 340 downstream of the ABFB for producing hydrogen 408, the electrolyser comprising a negative electrode and a positive electrode. The ABFB is in fluid communication with the water electrolyser, such that, in use, an alkaline solution from the alkaline solution outlet of the acid-base flow battery passes into a positive electrode channel of the water electrolyser proximal the positive electrode. By coupling a water electrolyser with an upstream acid-base flow battery in this way, the base solution by-product from the ABFB is fed into the positive (anode) channel of the electrolyser. In this way, the pH proximal the positive electrode is increased. As a result, saltwater is subjected to electrolysis without the evolution of chlorine or bromine at the positive electrode. The brine by-product of the process may be subjected to freshwater-saltwater reverse electrodialysis (RED) to convert dilution energy to usable electricity.

PRODUCTION OF POLYMERS FOR AEM WATER ELECTROLYSIS WITH A REDUCED SWELLING TENDENCY

NºPublicación:  EP4678681A1 14/01/2026
Solicitante: 
EVONIK OPERATIONS GMBH [DE]
Evonik Operations GmbH
EP_4678681_PA

Resumen de: EP4678681A1

Die Erfindung befasst sich mit der Herstellung von Anionen leitenden Polymeren, welche für den Einsatz in der alkalischen Membranwasserelektrolyse bestimmt sind. Konkret soll die Quellungsneigung von Anionen leitenden Polymeren in alkalischen wässrigen Lösungen reduziert werden, ohne dass die spezifische Anionenleitfähigkeit dieser Polymere stark beeinträchtigt wird. Dies gelingt durch die Zugabe eines weiteren Edukts in das Reaktionsgemisch. Insgesamt wird das Polymer aus drei Edukten hergestellt, nämlich aus 4,4-bis-(4-hydroxy-3,5-dimethyl-phenyl)-1-methyl-piperidin (Formel I), aus 4,4'-Difluorbenzophenon (Formel II), sowie aus 4,4'-Dihydroxybenzophenon (Formel III) bzw. aus Bis(4-hydroxy-3,5-dimethylphenyl)methanone (Formel IV).

INERTING SYSTEM AND INERTING METHOD FOR WARMING A FUEL-CELL BEFORE STARTING THE FUEL-CELL

NºPublicación:  EP4678537A1 14/01/2026
Solicitante: 
AIRBUS OPERATIONS SLU [ES]
Airbus Operations S.L.U
EP_4678537_PA

Resumen de: EP4678537A1

The invention relates to an inerting system and an inerting method, comprising a casing (11) housing a hydrogen fuel cell, a source of inert gas (14), an inert gas circuit (33) with the casing forming part of the inert gas circuit, characterized in that it comprises a heat exchanger (16) to heat up the inert gas and circulate the inert gas through the casing before starting up the fuel cell so as to warm up the fuel cell in order to avoid formation of water ice in the fuel cell.

METHOD OF MANUFACTURING STACK PLATE OF HUMIDIFIER AND STACK PLATE

NºPublicación:  EP4678274A1 14/01/2026
Solicitante: 
MANN & HUMMEL GMBH [DE]
MANN+HUMMEL GmbH
EP_4678274_PA

Resumen de: EP4678274A1

A method of manufacturing a stack plate (100, 102) of a humidifier, in particular for a fuel cell stack, comprises providing a semipermeable membrane (10) to be arranged over a fluid passage (50) of a plastic frame (22) and arranged between the plastic frame (22) and a gasket (32), depositing a plastic layer (20) forming the plastic frame (22) to a first side (12) of the semipermeable membrane (10), and depositing a gasket layer (30) forming the gasket (32) to a second side (14) of the semipermeable membrane (10), the second side (14) opposing the first side (12) at least in some areas (38) where the semipermeable membrane (10) is supported by the plastic frame (22) on the first side (12).

TWO-STAGE WATER SEPARATOR SYSTEM

NºPublicación:  EP4678265A1 14/01/2026
Solicitante: 
MANN & HUMMEL GMBH [DE]
MANN+HUMMEL GmbH
EP_4678265_PA

Resumen de: EP4678265A1

A two-stage water separator device (1; 1') includes a water separator housing (2) including a first-stage water separation chamber (3) and a second-stage water separation chamber (4). The first-stage water separation chamber (3) includes a water-laden volume flow inlet port (8) defining a water-laden volume flow inlet channel (15) for channeling a water-laden volume flow into the first-stage water separation chamber (3), and the second-stage water separation chamber (4) includes a water-unladen volume flow outlet port (9) defining a water-unladen volume flow outlet channel (19) for channeling a water-unladen volume flow out of the second-stage water separation chamber (4), a reversal of flow direction from horizontal to vertical occurring between the water-laden volume flow and the water-unladen volume flow.

MEMBRANE ELEMENT FOR HUMIDIFIER AND HUMIDIFIER

NºPublicación:  EP4678268A1 14/01/2026
Solicitante: 
MANN & HUMMEL GMBH [DE]
MANN+HUMMEL GmbH
EP_4678268_PA

Resumen de: EP4678268A1

A membrane element (10) for a humidifier (100), in particular for a fuel cell system, includes a membrane media bellows (12) being zigzag-pleated and comprising a membrane media, the membrane media bellows (12) extending at least partially in a circumferential direction about a longitudinal axis (14), the membrane media bellows (12) further comprising pleats (16) extending essentially parallel to the longitudinal axis (14), and the membrane media bellows (12) further comprising inner pleat folds (20) at an inner circumference (18) and outer pleat folds (24) at an outer circumference (22), a support body (40) comprising an outer wall (42) arranged at the inner circumference (18) of the membrane media bellows (12), and a bypass valve (30) for selectively blocking and unblocking a fluid passage (38) through the support body (40).

METHOD FOR PRODUCING A CATALYST-COATED MEMBRANE FOR AN ELECTROCHEMICAL CELL, AND ELECTROLYTE CELL PRODUCED ACCORDINGLY

NºPublicación:  EP4677139A1 14/01/2026
Solicitante: 
SIEMENS ENERGY GLOBAL GMBH & CO KG [DE]
Siemens Energy Global GmbH & Co. KG
CN_121219441_PA

Resumen de: AU2024282686A1

The invention relates to a method for producing a catalyst-coated membrane (25) for an electrochemical cell (25). In the method, a powdery sulphonated fluorine-free polymer (1) is first provided in a step (S1). In a further step (S2) of the method, the sulphonated fluorine-free polymer (1) is dispersed in a water-free solvent (3) to form a plastisol (5). Then, in a step (S3), a catalyst material (7) is mixed with the plastisol (5) to form a catalyst paste (9). In a step (S4), the catalyst paste (9) is then applied to a membrane substrate (11).

METHOD FOR PRODUCING A MEMBRANE-ELECTRODE ASSEMBLY FOR AN ELECTROLYSIS CELL VIA DIRECT MEMBRANE DEPOSITION AND ELECTROLYSIS CELL THUS PRODUCED

NºPublicación:  EP4677660A1 14/01/2026
Solicitante: 
SIEMENS ENERGY GLOBAL GMBH & CO KG [DE]
Siemens Energy Global GmbH & Co. KG
CN_121100417_PA

Resumen de: AU2024268013A1

A method is specified for producing a membrane-electrode assembly (20) for an electrolysis cell (30) via direct membrane deposition. The method comprises (i) providing a carrier substrate (1), more particularly a gas diffusion layer, for the electrolysis cell (30), (ii) directly applying a paste-like first catalyst material (2) to the carrier substrate (1), (iii) drying/curing the first catalyst material (2), (iv) directly applying an ionomer plastisol (3) for the membrane of the electrolysis cell, (v) drying/curing the ionomer plastisol (3), (vi) directly applying a second paste-like catalyst material (4) to the ionomer plastisol (3), and (vii) drying/curing the second catalyst material (4). Additionally specified are a correspondingly produced membrane-electrode assembly (20), an electrolysis cell (30) comprising said assembly, and a corresponding cell stack.

PH SENSOR FOR STOMA DEJECTA

NºPublicación:  EP4676332A1 14/01/2026
Solicitante: 
HOLLISTER INC [US]
Hollister Incorporated
WO_2024186970_PA

Resumen de: WO2024186970A1

A sensor device for measuring pH of stoma dejecta includes a microbial fuel cell (MFC). The sensor device measures electric current generated in the MFC and analyzes the electric current measurements to determine pH of stoma dejecta or a change in pH of stoma dejecta.

FUEL CELL COOLING SYSTEM AND COOLING METHOD USING THE SYSTEM

NºPublicación:  EP4676768A1 14/01/2026
Solicitante: 
CATERPILLAR INC [US]
Caterpillar, Inc
CN_118630253_PA

Resumen de: CN118630253A

The invention relates to a fuel cell cooling system comprising a cooling circuit in which a coolant circulates, in which a fuel cell and a radiator configured to cool the fuel cell are arranged. The fuel cell cooling system further includes a hydrogen evaporator for converting liquid hydrogen from the liquid hydrogen tank into gaseous hydrogen, air passing through the hydrogen evaporator to exchange heat with the hydrogen therein, the hydrogen evaporator being disposed on an intake path of the radiator such that the air pre-cooled by the hydrogen evaporator flows into the radiator as intake air. The invention also relates to a fuel cell cooling method implemented by using the fuel cell cooling system.

ELECTRODE AND ELECTROCHEMICAL CELL

NºPublicación:  EP4677662A1 14/01/2026
Solicitante: 
CERES IP CO LTD [GB]
Ceres Intellectual Property Company Limited
CN_120814072_PA

Resumen de: CN120814072A

An electrode for an electrochemical cell. The electrode comprises at least a first layer comprising a first electrode material, the first electrode material being a composition Ppy: Pr (1-(x + y)) LnxO (2-0.5 x-delta). Ln is selected from at least one rare earth metal, delta is oxygen deficit degree, y is greater than or equal to 0.0001 and less than or equal to 0.05, and x is greater than or equal to 0.01 and less than or An electrochemical cell comprising said electrode and a stack of said electrochemical cells, a method for producing said electrode and said composition.

ELECTRODE AND ELECTROCHEMICAL CELL

NºPublicación:  EP4677661A1 14/01/2026
Solicitante: 
CERES IP CO LTD [GB]
Ceres Intellectual Property Company Limited
KR_20250159150_PA

Resumen de: CN120836092A

An electrode for an electrochemical cell. The electrode comprises at least a first layer comprising a first electrode composition comprising Pr (1-x) LnxO (2-0.5 x-delta) and a lithium source. Ln is selected from at least one rare earth metal selected from the group consisting of La, Nd, Sm, Eu, Gd, Tb, Dy, Ho, Er, Tm, Yb, Lu, Sc, Y and mixtures thereof. Delta is oxygen deficit degree, 0.01 < = x < = 0.4. An electrochemical cell comprising said electrode and a stack of electrochemical cells, a method for producing said electrode and said composition.

BALANCING AND MEASUREMENT DEVICE FOR REDOX FLOW BATTERIES

NºPublicación:  EP4677669A1 14/01/2026
Solicitante: 
HALIDE ENERGY OY [FI]
Halide Energy Oy
CN_121079802_PA

Resumen de: AU2024233811A1

The present invention relates to a device for electrochemical balancing of electrolytes of a redox flow battery, a redox flow battery system device, methods using thereof and uses thereof.

COMPONENT FOR AN ELECTROCHEMICAL CELL, REDOX FLOW CELL, FUEL CELL, AND ELECTROLYSER

NºPublicación:  EP4677665A1 14/01/2026
Solicitante: 
SCHAEFFLER TECHNOLOGIES AG [DE]
Schaeffler Technologies AG & Co. KG
CN_120476487_PA

Resumen de: CN120476487A

The invention relates to a component (1) of an electrochemical cell (10), comprising a metal substrate (2) and a layer system (3) which is galvanically and/or chemically applied at least partially to the metal substrate (2), wherein the layer system (3) optionally comprises a first layer (3a) arranged on the metal substrate (2) and at least one second layer (3b) arranged on the metal substrate (2) or, if present, on the first layer (3a), and at least one second layer (3b) is formed from an alloy comprising at least two of the elements tin, copper, nickel, silver, zinc, bismuth, antimony, cobalt, manganese, tungsten, tantalum, niobium, wherein non-metallic particles comprising electrically conductive particles are present in the alloy in a bonded manner. On the free side of at least one second layer (3b) of the layer system (3) facing away from the metal substrate (2), which free side is optionally oxidized, a cover layer (33) is formed either a) from a metal carbide or metal nitride or amorphous carbon or b) from at least one self-organizing organic monolayer or at least one polymer.

HYDROGEN STORAGE MATERIAL AND FUEL CELL CONTAINING THE SAME

NºPublicación:  EP4677659A1 14/01/2026
Solicitante: 
PROMETHEON TECH BV [BE]
Prometheon Technologies BV
KR_20250165583_PA

Resumen de: MX2025010333A

The present disclosure relates to fuel cells comprising fuel storage materials made from mesoporous N-doped carbon materials. The fuel storage materials comprise a proton conducting polymeric material and a composite material comprising a scaffold of coalesced (N-doped) carbon nanofoam particles, and a coating on the scaffold, said coating comprising N-doped graphitic carbon. The fuel storage materials allow fuel reserves to be stored inside the fuel cell, and are typically incorporated adjacent to an electrode to provide fuel to the electrode when the fuel cell is operating in redox mode.

SYSTEM FOR POWERING AN ELECTRIC MOTOR OF A HYBRID ELECTRIC VEHICLE USING A HYDROGEN FUEL CELL

NºPublicación:  EP4677666A1 14/01/2026
Solicitante: 
AMPERE SAS [FR]
AMPERE s.a.s
CN_120770081_PA

Resumen de: CN120770081A

The invention relates to a system (100) for supplying electric power to an electric motor (82) of a hybrid electric vehicle, the power supply system (100) comprising a hydrogen fuel cell unit (26), a hydrogen tank (160) capable of supplying the hydrogen fuel cell unit (26), and a voltage booster (740) at an output of the hydrogen fuel cell unit (26), the voltage booster (740) comprising an induction coil (741), the hydrogen tank (160) is a low-temperature tank capable of maintaining hydrogen in a liquid state and having a temperature lower than the liquefaction temperature of the hydrogen, and the induction coil (741) is immersed in the hydrogen tank (160) and is formed of a material that is a superconductor at the temperature of the liquid hydrogen in the hydrogen tank (160).

ELECTROCHEMICAL CELL STACK

NºPublicación:  EP4677142A1 14/01/2026
Solicitante: 
SCHAEFFLER TECHNOLOGIES AG [DE]
Schaeffler Technologies AG & Co. KG
KR_20250154491_PA

Resumen de: CN120659909A

An electrochemical cell stack (1) comprising a plurality of cells (2) separated from one another by bipolar plates (5, 5 '), where each cell (2) is formed by two half-cells (3, 4) between which a membrane (6) surrounded by a support frame (7) is arranged, and where a porous transport layer (10, 11) is present in each half-cell (3, 4). The support frame (7) describes a step shape having two adjacent cross-sectional areas (12, 13), in which the edge (18) of the membrane (6) lies in a step (17) formed by the cross-sectional areas (12, 13) and the porous transport layer (10) of the half-cell (3) extends into the step (17), and in which the porous transport layer (10) of the half-cell (3) extends into the step (17). According to the invention, the support frame (7) comprises at least one sealing arrangement (15) injection molded onto the support frame (7) and comprising an electrically insulating sealing material, according to the invention, the sealing arrangement (15) comprises three sealing regions (19, 20, 21), each having at least one sealing lip (22, 22 '), in particular a first sealing region (19) and a second sealing region (20) and a third sealing region (21), which are assigned to narrower regions of the two cross-sectional regions (12, 13) facing the membrane (6), the first sealing region and the second sealing region each contact exactly one bipolar plate (5, 5 '), and the third sealing region is located on a side of the support frame (7) facing away from the step (17)

A SYSTEM FOR REGENERATION OF ELECTROLYTES OF AN ALL-IRON FLOW BATTERY

NºPublicación:  EP4677668A1 14/01/2026
Solicitante: 
R FLO LLC [UA]
R.Flo LLC
UA_129667_C2

Resumen de: UA129667C2

The invention relates to the energy industry and concerns an iron-iron flow battery system, which implements the process of electrolyte regeneration by introducing into the positive electrolyte circuit of an iron-hydrogen battery powered by hydrogen produced during charging at the negative electrode of an iron-iron flow battery, and Fe3+ ions generated during charging at its positive electrode, and a flow iron-oxygen electrolyzer, which uses the current generated by the flow iron-hydrogen battery to reduce Fe3+ ions in the negative electrolyte and generate hydrogen protons to restore its acidity. As a result, the system reduces the excess Fe3+ released on the positive electrode to Fe2+ in the positive electrolyte, maintains a stable pH value in the negative electrolyte, and reduces the Fe3+ ions in the negative electrolyte that pass from the positive electrolyte through the membrane to Fe2+ ions, thereby reducing corrosion of the negative electrode. The invention ensures elimination of the imbalance in the degree of charge of the positive and negative electrolytes. 28

A METHOD FOR REGENERATING ELECTROLYTES OF AN ALL-IRON FLOW BATTERY

NºPublicación:  EP4677667A1 14/01/2026
Solicitante: 
R FLO LLC [UA]
R.Flo LLC
UA_129666_C2

Resumen de: UA129666C2

The invention belongs to the energy industry and relates to a method of regenerating electrolytes in an iron-iron flow battery system by introducing into the positive electrolyte circuit of an iron-hydrogen battery powered by hydrogen produced during charging at the negative electrode of the iron-iron battery, and Fe3+ ions formed during charging on its positive electrode, and an iron-oxygen electrolyzer, which, using the current received from the operation of the iron-hydrogen battery, restores Fe3+ ions in the negative electrolyte and generates hydrogen protons to restore its acidity. As a result of this implementation of the method, excess Fe3+ released at the positive electrode is reduced to Fe2+ in the positive electrolyte, a stable pH value is maintained in the negative electrolyte, and Fe3+ ions passing from the positive electrolyte through the membrane are reduced in the negative electrolyte to Fe2+ ions, thereby reducing corrosion of the negative electrode. The invention ensures elimination of the imbalance in the degree of charge of the positive and negative electrolytes.

FUEL CELL EXHAUST SYSTEM, FUEL CELL SYSTEM, AND METHOD FOR REDUCING HYDROGEN CONTENT IN FUEL CELL EXHAUST

NºPublicación:  EP4679541A1 14/01/2026
Solicitante: 
PUREM GMBH [DE]
Purem GmbH
EP_4679541_PA

Resumen de: EP4679541A1

Eine Brennstoffzellenabgasanlage für ein Brennstoffzellensystem, insbesondere in einem Fahrzeug, umfasst eine Wasser-Abscheideanordnung (24) zum Abscheiden von in Brennstoffzellenabgas (B) enthaltenem Wasser (W) sowie eine Wasserstoff-Katalysatoranordnung (30) zum katalytischen Umsetzen von im Brennstoffzellenabgas (B) enthaltenem Wasserstoff stromabwärts der Wasser-Abscheideanordnung (24).

CARTRIDGE FOR FUEL CELL HUMIDIFIER, AND FUEL CELL HUMIDIFIER

NºPublicación:  EP4679542A1 14/01/2026
Solicitante: 
KOLON INC [KR]
Kolon Industries, Inc
EP_4679542_PA

Resumen de: EP4679542A1

The present invention relates to a cartridge for a fuel cell humidifier, and to a fuel cell humidifier, the cartridge comprising: an inner case having openings at both ends; and a hollow fiber membrane bundle inside the inner case, wherein the inner case comprises: a first variable case having an inner inlet through which a first gas flows in; a second variable case distanced from the first variable case along the first axial direction and having an inner outlet through which the first gas is discharged; and a central case to which at least one of the first and second variable cases movably couples.

METHODS AND SYSTEMS FOR REDUCING CROSSOVER IN REDOX FLOW BATTERIES

NºPublicación:  EP4677671A2 14/01/2026
Solicitante: 
XL BATTERIES INC [US]
XL Batteries, Inc
AU_2024239686_PA

Resumen de: AU2024239686A1

The disclosure provides redox flow batteries that have long-duration or long-lifetime for energy storage applications. The water-soluble perylene diimide based molecules can be used as energy storage materials in the anode chambers. The water-soluble ferrocene- based molecules can be used as energy storage materials in the cathode chambers. The redox flow batteries have negligible crossover rates across the membranes.

CARBON-AIR SECONDARY BATTERY

NºPublicación:  EP4679573A1 14/01/2026
Solicitante: 
INST OF SCIENCE TOKYO [JP]
INSTITUTE OF SCIENCE TOKYO
EP_4679573_PA

Resumen de: EP4679573A1

The present invention provides a carbon/air secondary battery that can secure a large amount of stored electricity, has high charge/discharge efficiency, and has good cycle characteristics.A secondary battery 1 has a reactor 20 in which a negative electrode 21 is installed inside, which is separated from the outside by an electrolyte 23 and which is configured to store carbon that deposits during charging inside, and a structure 60 which surrounds the reactor 20 and suppresses heat loss due to radiant heat transfer from the reactor 20. During charging, carbon dioxide is electrolyzed on the surface of the negative electrode 21, causing carbon to deposit on the negative electrode side, which is a closed system, and at the positive electrode 22, oxygen is generated from oxide ions which are generated at the negative electrode 21 and are permeating the electrolyte 23. During discharging, oxide ions are generated from oxygen at the positive electrode 22, and carbon and/or carbon monoxide are electrochemically oxidized on the surface of the negative electrode 21 to generate carbon dioxide.

METHOD AND SYSTEM FOR GENERATING ELECTRICAL POWER FROM HYDROGEN PRODUCED FROM WASTE MATERIAL

NºPublicación:  EP4677048A1 14/01/2026
Solicitante: 
GREENHILL ENERGY PTY LTD [AU]
Greenhill Energy Pty Ltd
AU_2024235178_PA

Resumen de: AU2024235178A1

A method and system for generating electrical power for supply to a utility scale electrical grid managed by a central management authority is disclosed. The method and system comprise processing waste material and an environmental air supply to generate a hydrogen supply and generating electrical power based on the hydrogen supply, wherein the electrical power is generated to have predetermined supply characteristics configured to meet stability requirements of the utility scale electrical grid.

SYSTEMS AND METHODS FOR LOW-COST REDOX FLOW BATTERIES

NºPublicación:  EP4677664A1 14/01/2026
Solicitante: 
ULTRALIFE BATTERIES INC A DELAWARE CORP [US]
Ultralife Batteries Inc. (a Delaware corporation)
AU_2024233222_PA

Resumen de: AU2024233222A1

The disclosure provides batteries that have long-duration or long-lifetime for energy storage applications. In one aspect, the disclosure provides perylene diimide molecules that are water soluble and can be used as energy storage materials. In operation, the perylene diimide molecules are oxidized in an anode chamber and the electrons released in the oxidation process flow to the cathode chamber where they reduce a molecule in the cathode chamber. The perylene diimide molecules in accordance with many embodiments are highly compatible with polymeric materials that are inexpensive and easy to process, hence allowing for significantly reduced manufacturing costs.

USE OF A FUEL CELL TO DECARBONIZE A HYDROCARBON CRACKING SYSTEM

NºPublicación:  EP4677670A2 14/01/2026
Solicitante: 
CHEVRON PHILLIPS CHEMICAL CO LP [US]
Chevron Phillips Chemical Company LP
WO_2024186508_A2

Resumen de: WO2024186508A2

Processes and systems that utilize a fuel cell for carbon capture from a petrochemical stream that contains hydrogen and methane. The petrochemical stream can be the tail gas of a hydrocarbon cracking system, or any other petrochemical stream containing hydrogen and methane. The petrochemical stream can be separated into a hydrogen product stream and a methane product stream, before sending the methane product stream to the fuel cell. The fuel cell converts methane to carbon dioxide and hydrogen to water, while generating electricity that can be used to power equipment.

REGENERATION DEVICE FOR REGENERATING USED FUEL OF FUEL CELL THAT USES METAL AS FUEL, REGENERATION METHOD, AND FUEL CELL COMPRISING REGENERATION DEVICE

NºPublicación:  EP4679572A1 14/01/2026
Solicitante: 
SOJITZ INSTITUTE OF INNOVATIVE TECH LTD [JP]
PUBLIC UNIV CORPORATION SUWA UNIV OF SCIENCE FOUNDATION [JP]
Sojitz Institute of Innovative Technologies, Ltd,
Public University Corporation Suwa University of Science Foundation
EP_4679572_PA

Resumen de: EP4679572A1

The present invention provides a fuel regeneration apparatus capable of preventing a short circuit due to an increase in the volume of metal. The present invention relates to a regeneration apparatus for regenerating fuel containing a metal oxide of a fuel cell using a metal as fuel, the apparatus comprising a container configured to be capable of accommodating the fuel containing the metal oxide, wherein the container comprises electrodes configured to be capable of applying a current to the fuel to reduce the metal oxide to a metal, and a crushing unit configured to be capable of mechanically crushing at least a part of the reduced metal generated on a surface of a negative electrode among the electrodes.

THIN FILM DEVICE AND METHOD FOR MANUFACTURING SAME

NºPublicación:  EP4679076A1 14/01/2026
Solicitante: 
MITSUI KINZOKU COMPANY LTD [JP]
Mitsui Kinzoku Company, Limited
EP_4679076_PA

Resumen de: EP4679076A1

A method for fabricating a thin film device 10. The method includes steps of (a) forming a structure 90 by forming a laminate structure above a substrate 11 and (b) removing an unnecessary portion from the structure 90 to form a bridge structure 20. The laminate structure includes a first electrode layer 31, a ceramic layer 50, a second electrode layer 41, a third insulating layer 123, and a heater layer 61 in the order described. The bridge structure 20 includes a stage 21 supporting the laminate structure and at least one bridge 22 extending from the periphery of the stage 21.

SHEET, SEALING MATERIAL, FUEL CELL, ELECTROLYTIC CELL, METHOD FOR PRODUCING SHEET, AND METHOD FOR PRODUCING SEALING MATERIAL

NºPublicación:  EP4678364A1 14/01/2026
Solicitante: 
NICHIAS CORP [JP]
NICHIAS CORPORATION
EP_4678364_PA

Resumen de: EP4678364A1

To provide a sheet and a sealing material which contain clay as a base and are excellent in water resistance in a high-temperature environment. The sheet contains swelling clay and non-swelling clay. The swelling clay contains a first component and a second component having a structure different from a structure of the first component. The non-swelling clay is clay in which ions of the first component and the second component are exchanged in a dispersion medium, and is clay that exhibits a non-swelling property by heating. The sheet includes the first component, the second component, and a third component that is optionally contained. The first component is the swelling clay in which an interlayer is substituted with Li, the second component is Na-type montmorillonite or K-type montmorillonite, the third component is a filler. In the sheet, when a total weight of the first component, the second component, and the third component is set to 100 wt%, a content of the first component is 25 wt% or more and 80 wt% or less, a content of the second component is 10 wt% or more and 50 wt% or less, and a content of the third component is 0 wt% or more and 80 wt% or less.

PROCESSING METHOD, PROCESSING DEVICE, AND PROCESSING PROGRAM RELATED TO ELECTROCHEMICAL CELL

NºPublicación:  EP4679071A1 14/01/2026
Solicitante: 
TOSHIBA KK [JP]
Kabushiki Kaisha Toshiba
EP_4679071_PA

Resumen de: EP4679071A1

In an embodiment, a processing method related to an electrochemical cell, in which at least one of an anode and a cathode includes a catalyst, is provided. In the processing method, whether or not a target electrochemical cell can be reused as it is is determined based on a sum of a cell membrane resistance caused by a membrane and a cell catalyst resistance caused by a catalyst. In the processing method, whether or not the target electrochemical cell can be regenerated without separating the anode and the cathode is determined based on the cell catalyst resistance when it is determined that the target electrochemical cell cannot be reused as it is.

An electrode, a method of producing it, and a fuel cell with such electrode

NºPublicación:  DK202430381A1 14/01/2026
Solicitante: 
BLUE WORLD TECH HOLDING APS [DK]
Blue World Technologies Holding ApS
WO_2026008113_PA

Resumen de: DK202430381A1

In a method of producing electrodes (20), for example for fuel cells, two aqueous coatings (15, 16) are subsequently applied onto a porous hydrophobic electroconductive substrate (10). A first coating containing a sacrificial hydrophilic polymer, for example HEC and/or PPC, is applied for temporarily hydrophilizing the substrate surface. For providing a catalyst layer, CL, a second coating is applied on the first coating. The second coating comprises an electroconductive filler and a catalyst and water soluble polymeric binders, for example PVA and HPC. By heating the coatings, the sacrificial polymer decomposes and evaporates and binds the catalyst layer to the substrate.

二次電池用粘着剤

NºPublicación:  JP2026501385A 14/01/2026
Solicitante: 
スタンダードエナジーインコーポレイテッド
JP_2026501385_PA

Resumen de: WO2024144352A1

The present invention relates to a pressure-sensitive adhesive for a secondary battery and, more specifically, to a pressure-sensitive adhesive for a secondary battery, which can replace a gasket used when a cell module of a secondary battery is assembled.

燃料電池用触媒及びその製造方法

NºPublicación:  JP2026501263A 14/01/2026
Solicitante: 
コロンインダストリーズ、インコーポレイテッド
JP_2026501263_PA

Resumen de: KR20230140280A

The present invention relates to a method of manufacturing a catalyst for fuel cells and a catalyst for fuel cells. According to the present invention, the method of manufacturing a catalyst for fuel cells comprises the steps of: (a) infiltrating a metal catalyst precursor or metal catalyst seed into pores in a porous carrier; (b) preparing metal catalyst particles by reducing the metal catalyst precursor or metal catalyst seed; (c) removing the metal catalyst particles outside the carrier pores or with weak binding force; and (d) adding an additional metal catalyst precursor and a reducing agent to reduce and grow the metal catalyst particles to obtain more stably supported post-grown metal catalyst particles.

保護コーティング用のガラス組成物

NºPublicación:  JP2026501321A 14/01/2026
Solicitante: 
ソリデラソチエタペルアツィオニ
JP_2026501321_PA

Resumen de: MX2025007299A

The present invention relates to glass compositions and coating materials comprising same suitable for coating metallic components for use high temperature and corrosive environments, for example in electrochemical devices and in particular solid oxide fuel cell (SOFC) and solid oxide electrolyser cell (SOEC) stacks.

多孔性炭素支持体及び燃料電池用触媒

NºPublicación:  JP2026501353A 14/01/2026
Solicitante: 
ザカーボンスタジオインコーポレイテッド
JP_2026501353_PA

Resumen de: CN120418994A

The present disclosure relates to a porous carbon body, and more specifically, to a porous carbon body satisfying surface area physical properties of pores having a size of 2 nm to 5 nm, surface area physical properties of pores having a size of 2 nm to 100 nm, and surface area physical properties of pores having a size of 2 nm to 100 nm. And a porous carbon body having physical properties in an overlap graph in which a first pore volume distribution graph obtained from a nitrogen adsorption isotherm overlaps a second pore volume distribution graph obtained from a nitrogen desorption isotherm.

多孔性炭素支持体及び燃料電池用触媒

NºPublicación:  JP2026501355A 14/01/2026
Solicitante: 
ザカーボンスタジオインコーポレイテッド
JP_2026501355_PA

Resumen de: CN120418994A

The present disclosure relates to a porous carbon body, and more specifically, to a porous carbon body satisfying surface area physical properties of pores having a size of 2 nm to 5 nm, surface area physical properties of pores having a size of 2 nm to 100 nm, and surface area physical properties of pores having a size of 2 nm to 100 nm. And a porous carbon body having physical properties in an overlap graph in which a first pore volume distribution graph obtained from a nitrogen adsorption isotherm overlaps a second pore volume distribution graph obtained from a nitrogen desorption isotherm.

電気化学リアクタおよび電気化学リアクタを作動させる方法

NºPublicación:  JP2026501340A 14/01/2026
Solicitante: 
フラウンホーファー-ゲゼルシャフトツァーフェルデルングデアアンゲヴァンテンフォーシャングアインゲトラーゲナーフェアアイン
JP_2026501340_PA

Resumen de: CN120418995A

The invention relates to an electrochemical reactor (1), in particular a redox flow cell, a fuel cell, an electrolytic cell or an electrosynthesis cell, comprising a stack (Z) consisting of a plurality of cells (2) which are separated from each other by at least one bipolar plate (3) and are stacked in a stacking direction (R), wherein the cells (2) each have two electrodes (5, 6) and a separator (10) arranged between the two electrodes (5, 6), and wherein the at least one bipolar plate (3) is flexible. In order to be able to increase mass transfer and material distribution with low construction and equipment investment and low material load, an oscillator (13) which excites at least one bipolar plate (3) to generate oscillations is integrated in the bipolar plate (3).

表面伝導性及び耐久性に優れた燃料電池分離板用チタン板材及びその製造方法

NºPublicación:  JP2026501334A 14/01/2026
Solicitante: 
ポスコカンパニーリミテッド
JP_2026501334_PA

Resumen de: CN120435576A

Disclosed in the present specification is a titanium separator plate having excellent surface conductivity and durability. The titanium sheet material for a fuel cell separator according to the present invention comprises: a Ti base material comprising, in mass%, 0.001-0.09% of Si, with the balance being Ti and unavoidable impurities; and a surface film layer in which the contents of Ti, Si, and O measured by angle-resolved X-ray photoelectron spectroscopy using an Al-K alpha X-ray source at a photoelectron emission angle of 45 DEG are respectively greater than 0%, the surface film layer satisfying the following formula (1). Formula (1) 0.2 < = Si (atomic%)/Ti (atomic%) + Si (atomic%) < = 0.8

二次電池用粘着剤

NºPublicación:  JP2026501387A 14/01/2026
Solicitante: 
スタンダードエナジーインコーポレイテッド
JP_2026501387_PA

Resumen de: WO2024144268A1

The present invention relates to an adhesive for a secondary battery and, more specifically, to an adhesive for a secondary battery, for adhering a frame and a current collector of a secondary battery, the adhesive being able to replace a gasket used when assembling a cell module of a secondary battery.

イオン伝導体分散液、これから製造された高分子電解質膜、膜-電極アセンブリおよび燃料電池

NºPublicación:  JP2026501408A 14/01/2026
Solicitante: 
コロンインダストリーズ、インコーポレイテッド
JP_2026501408_PA

Resumen de: WO2023204482A1

Provided is an ion conductor dispersion capable of improving the chemical and mechanical durability of a polymer electrolyte membrane. The ion conductor dispersion according to the present invention includes an ion conductor, a crosslinking agent, and a solvent, and has a contact angle of at most 135° with respect to a polytetrafluoroethylene (PTFE) porous membrane. Here, the contact angle is measured 1 second after the ion conductor composition is dropped on the polytetrafluoroethylene (PTFE) porous membrane under the conditions of 25°C and a relative humidity of 60%.

高分子電解質膜、その製造方法およびこれを含む電気化学装置

NºPublicación:  JP2026501407A 14/01/2026
Solicitante: 
コロンインダストリーズ、インコーポレイテッド
JP_2026501407_PA

Resumen de: KR20230143051A

The present invention relates to a polymer electrolyte film, a manufacturing method thereof, and an electrochemical device including the same. The polymer electrolyte film includes a porous support and an ion conductor filled in pores of the porous support. Therefore, the polymer electrolyte film can increase mechanical durability and increase chemical durability at the same time.

カーボンブラックの後処理方法、及びこれによって後処理されたカーボンブラック

NºPublicación:  JP2026501373A 14/01/2026
Solicitante: 
オーシーアイカンパニーリミテッド
JP_2026501373_PA

Resumen de: CN120457172A

The present invention relates to a method for post-processing a carbon black and a carbon black post-processed by the method, and more particularly, to a method for post-processing a wet-granulated furnace black, a carbon black post-processed by the method, and a use thereof.

氢气计量比测量方法、燃料电池氢气回路控制方法及系统

NºPublicación:  CN121331870A 13/01/2026
Solicitante: 
东风汽车集团股份有限公司
CN_121331870_PA

Resumen de: CN121331870A

本申请涉及氢气计量比测量方法、燃料电池氢气回路控制方法及系统,其通过获取入堆氢气浓度和二次流氢气浓度,直接计算出燃料电池入堆处的氢气计量比,解决了传统压差法因未考虑气体组分变化导致的计量比计算误差问题。所述控制方法基于实时测量的氢气计量比,通过实际氢气计量比小于需求氢气计量比,认定存在欠气风险时,然后通过计算需求氢泵总气体体积流量并查询氢泵Map图来精准调节氢气循环泵转速,以增加氢气供应。同时,结合实时浓度监测进行闭环调节,并设有基于浓度阈值分级触发的排氮补氢逻辑,实现了氢气计量的高精度与回路控制的主动安全,有效避免了氮气渗透导致的欠气风险。

一种燃料电池流场板及燃料电池

NºPublicación:  CN121331859A 13/01/2026
Solicitante: 
上海空间电源研究所
CN_121331859_PA

Resumen de: CN121331859A

本发明公开了一种燃料电池流场板及燃料电池,所述燃料电池流场板包括:流场板本体、流道、流道脊和弧形导流通道;其中,所述流道呈蛇形结构设置在所述流场板本体上,所述流道包含若干直流段与转向段,所述转向段连接相邻所述直流段的端部,所述转向段的延伸方向与所述直流段的延伸方向相互垂直,所述转向段与所述直流段的连接处形成转角,相邻所述直流段之间的流场板本体基材形成所述流道脊;所述弧形导流通道设于所述转角处,所述弧形导流通道的两端与所述流道连通。本发明通过在转角处设置弧形导流通道,以形成局部液态水扰动,减少液态水在流道的转向段的积聚,进而促进反应气体的顺畅传输。

一种移动式高集成氢燃料发电系统

NºPublicación:  CN121331881A 13/01/2026
Solicitante: 
永安行科技股份有限公司常州永安行氢能科技有限公司
CN_121331881_PA

Resumen de: CN121331881A

本发明公开了一种移动式高集成氢燃料发电系统,属于氢能应用领域。包括外框架、集成框架、电堆、进气组件、电气组件和散热组件。集成框架包括偏置于在外框架一角的主安装板,设置在主安装板下方、呈阶梯形的副安装板,以及设置在副安装板一端与主安装板上之间的若干个流体预装接口;电堆设置于主安装板上方;进气组件设置于副安装板上方,电气组件安装于外框架上,设置于电堆上方;散热组件包括分别设置在外框架两侧面的主散热单元和辅助散热单元。本发明通过设置集成框架,将系统的主体部分即燃料电池模块和电气组件高度集成,将散热模块包围主体部分设置,提高了集成度和空间利用率,也极大的方便系统的组装和维修。

一种高传质耐腐蚀金属双极板及其制备方法

NºPublicación:  CN121331857A 13/01/2026
Solicitante: 
安徽明天新能源科技有限公司
CN_121331857_A

Resumen de: CN121331857A

本发明公开了一种高传质耐腐蚀金属双极板及其制备方法,属于燃料电池技术领域。该双极板包括依次层叠的基体层、中间过渡层及功能涂层;基体层为钛‑铌‑锆合金,表面经微弧氧化处理形成微孔阵列;中间过渡层为氮化钛层;功能涂层由硼掺杂石墨烯基质及嵌入其中的铂‑铱二元纳米颗粒。在燃料电池运行条件下,基体层溶出的Nb5+、Zr4+离子与功能涂层的硼缺陷位点结合,形成疏水性Nb‑Zr‑B‑O钝化膜,同时铂‑铱纳米颗粒催化氧还原反应促使硼掺杂石墨烯微区发生可逆构型转变。本发明解决了传质效率与耐腐蚀性能相互制约的矛盾,适用于宽温域燃料电池系统,具有显著产业化价值。

一种液流电池的流道散热管理系统及方法

NºPublicación:  CN121331871A 13/01/2026
Solicitante: 
内蒙古工业大学
CN_121331871_PA

Resumen de: CN121331871A

本发明公开了一种液流电池的流道散热管理系统及方法,涉及液流电池散热技术领域。该液流电池的流道散热管理系统,通过搭建温度不均判定,散热场景确定,调整参数匹配和动态优化闭环完整流程,既避免了散热管理的盲目性,通过分步骤递进实现先诊断后调控的精准性,又适配充电时电流波动、热负荷累积的动态工况,通过实时监测与针对性调整确保温度均一化效果贯穿全充电周期,最终保障电池充电效率与使用寿命,解决了现有技术难以确定电解液流量和冷却介质流量,以及电解液和冷却介质的初始温度,导致在电池充电情况下电极面温差大使电芯内部温度不均的问题。

一种液流电池公共管道漏电电流抑制装置以及方法

NºPublicación:  CN121331884A 13/01/2026
Solicitante: 
贵州电网有限责任公司
CN_121331884_PA

Resumen de: CN121331884A

本发明公开了一种液流电池公共管道漏电电流抑制装置,应用于液流电池电堆的公共电解液歧管,所述歧管用于连接电堆内的多个电池单元与外部电解液储罐;所述液流电池公共管道漏电电流抑制装置包括多个浮动电极及电势耗散区;由于其导电性且与电解液接触,当漏电电流试图通过时,这些浮动电极会如同一个无源的、被动响应的电极。根据其所处的局部电解液电势,它们会吸附或释放电荷,从而在自身表面形成一个感应电势。这个感应电势的存在,会局部改变电解液在浮动电极附近区域的电势分布,使其趋于平坦。形象地说,浮动电极将歧管内的长距离连续电势梯度“打断”成若干个小段,每个小段的电势梯度显著减小,从而大大降低了总的漏电电流。

一种亲水性液流电池双极板、制备方法及其应用

NºPublicación:  CN121331855A 13/01/2026
Solicitante: 
浙江大学温州研究院温州锌时代能源有限公司
CN_121331855_PA

Resumen de: CN121331855A

本申请公开了一种亲水性液流电池双极板、制备方法及其应用,其中制备方法包括以下步骤:S1:将聚乙烯、导电填料和反应助剂制成双极板基材;S2:将双极板基材在第一改性溶液中进行反应,制得双极板前驱体,第一改性溶液包括引发剂、界面剂和第一溶剂;S3:将双极板前驱体在第二改性溶液中进行反应,制得所述亲水性液流电池双极板。本申请在第一改性溶液中添加引发剂和界面剂,引发剂分解产生自由基,界面剂可以使自由基更均匀接触聚乙烯基材表面,有利于后续亲水基团的引入。

一种适用于增湿的中空纤维膜及其制备方法

NºPublicación:  CN121314405A 13/01/2026
Solicitante: 
石家庄聪膜新材料科技有限公司
CN_121314405_PA

Resumen de: CN121314405A

本发明提供一种适用于增湿的中空纤维膜结构,包括:外表面为海绵孔结构,内表面为海绵孔结构,中间为单层指状孔结构,外表面海绵孔结构用于提高膜的机械强度和分离杂质,内表面海绵孔结构用于减少高气流量下气体泄漏和控制水蒸汽渗透率,中间单层指状孔结构用于水蒸汽的储存和传输,同时,本发明提供了制备上述新结构的适用于增湿的中空纤维膜的制备方法。

一种高抗弯强度的燃料电池柔性石墨极板及其制备方法

NºPublicación:  CN121331854A 13/01/2026
Solicitante: 
天能电池集团股份有限公司
CN_121331854_PA

Resumen de: CN121331854A

本发明属于燃料电池领域,具体涉及一种高抗弯强度的燃料电池柔性石墨极板及其制备方法。本发明通过创新性地在模压阶段于流道板脊背和沟槽处预制胶槽结构,并结合优化的干湿真空与正压浸渍工艺,显著提高了浸渍胶在柔性石墨基体中的填充率和均匀性,为极板提供了卓越的基底强度与气密性。在此基础上,进一步向预留胶槽内填入微米级玻璃纤维并注入高强度树脂,成功在极板关键受力区域构建了牢固的纤维复合材料增强结构,其抗弯强度获得了大幅提升,解决了大尺寸燃料电池对极板机械强度的苛刻要求。

金属多孔体、该金属多孔体的制造方法以及燃料电池

NºPublicación:  CN121320776A 13/01/2026
Solicitante: 
住友电气工业株式会社
CN_121320776_PA

Resumen de: US2021083301A1

A metal porous body having a frame of a three-dimensional network structure, the frame being formed of a plurality of bone members connected to each other, the plurality of bone members defining openings in a surface of the metal porous body, the plurality of bone members defining voids inside the metal porous body, the openings and the voids communicating with each other, a porosity being from 1 volume % to 55 volume %, a density being from 3 g/cm3 to 10 g/cm3.

增湿器耐高温胶封装工艺及封装设备

NºPublicación:  CN121314872A 13/01/2026
Solicitante: 
平原滤清器有限公司
CN_121314872_PA

Resumen de: CN121314872A

本发明公开了一种增湿器耐高温胶封装工艺及封装设备,属于燃料电池技术领域。针对现有中空纤维膜增湿器封装工艺依赖手工预堵易导致膜孔堵塞、单一胶种难以兼顾密封性与爬膜控制、离心排气效率低且振动设备易损伤膜丝的问题,提出一种无需预堵的梯度注胶与低频振动协同工艺。该工艺先注入2-4mm厚低粘度胶形成50-60mm爬膜长度的密封屏障,再在其上注入40-50mm厚主密封胶,并在每次注胶后30秒内施加4-10Hz、3分钟的垂直低频振动以排气;配套设备采用弹簧‑橡胶复合减震结构与高精度承载台,确保振动方向可控、胶层均匀。本发明实现零堵塞、零气孔,单班产能超200件,适用于燃料电池系统中空纤维膜增湿器的高效可靠封装。

一种移动式燃料电池供电系统

NºPublicación:  CN121331883A 13/01/2026
Solicitante: 
北京长征天民高科技有限公司
CN_121331883_PA

Resumen de: CN121331883A

本发明提供了一种移动式燃料电池供电系统,属于燃料电池技术领域,包括集成仓、燃料电池组件、散热组件、储氢组件、行走结构以及电压转换组件。燃料电池组件设置于集成仓内;散热组件与燃料电池组件连接,散热组件用于将燃料电池组件工作过程中产生的热量排放到外界;储氢组件设置于集成仓内,储氢组件与燃料电池组件连通;行走结构与集成仓连接;电压转换组件与集成仓连接;氢气由储氢组件释放并最终进入燃料电池内部参加电化学反应,经电化学反应产生的电流,通过电压转换组件输出至外界负载。本发明提供的系统,通过集成仓结构优化氢气供应系统布局,合理分布氢气管路和燃料电池系统,保证了储氢瓶安全固定的同时兼顾移动式供电。

一种沉积型液流电池沉积状态的在线检测与自动异常恢复方法

NºPublicación:  CN121331872A 13/01/2026
Solicitante: 
中国科学院沈阳自动化研究所
CN_121331872_A

Resumen de: CN121331872A

本发明涉及一种沉积型液流电池沉积状态的在线检测与自动异常恢复方法,包括:采集沉积型液流电池在充放电全周期过程中的多源异构数据,进行包括但不限于数据平滑、周期识别和位置编码、构造输入特征和归一化处理后,制作数据集;构建基于PatchTST与LSTM融合结构的预测模型,所述模型结构包括PatchTST模块、Transformer编码器、LSTM模块、线性全连接层;利用数据集数据对初始化后的网络进行迭代训练,并结合损失函数反向调整模型的超参数,获得最优的理想模型,用于输出完整预测周期的电压和电流序列;根据理想模型的预测结果计算异常检测条件,生成触发自动异常恢复的放电策略,实现对生产过程的实时监控预测和调控。本发明可以实现提前3个周期预测电压、电流的方式去间接反应此时的电池有关沉积情况的运行状态,达到及时并提前对锌基液流电池进行维护的目的。

全钒液流电池热管理系统

NºPublicación:  CN121331862A 13/01/2026
Solicitante: 
贵州志喜科技有限公司
CN_121331862_PA

Resumen de: CN121331862A

本申请公开了全钒液流电池技术领域的全钒液流电池热管理系统,包括控温机构和服务器;控温机构包括储水罐和多个温控组件,储水罐中装有液体,储水罐上设有进气口和排气口,进气口安装有风机;温控组件包括抽水泵,抽水泵连通有进水管,进水管与储液罐连通,抽水泵还连通有导热管,导热管的端部穿过储水罐的顶部;导热管上设有电热管;服务器包括温度采集模块、数据处理模块、执行模块和PID控制模块;温度采集模块用于采集温度信号输送至数据处理模块;数据处理模块用于根据接收到温度信号,判断阴极储液罐、阳极储液罐和电堆状态;执行模块用于开启和调节抽水泵、风机和电热管;PID控制模块用于计算调节信号并输送至执行模块。

电化学电池以及用于制造用于电化学电池的组件的方法和设施

NºPublicación:  CN121336300A 13/01/2026
Solicitante: 
燃料电池中心两合股份有限公司
CN_121336300_PA

Resumen de: WO2024256503A1

The invention relates to a method for manufacturing an assembly for an electrochemical cell, wherein the assembly comprises at least the following structural components: a first plate (10; 10') for supplying and/or discharging fluid, a proton exchange membrane (42), a first electrode (31) arranged between the first plate and the proton exchange membrane, and a first gas diffusion layer (21) arranged between the first plate and the first electrode, and wherein the method comprises the steps of A) providing a base comprising only a portion of the structural components, in particular the first plate and/or the first gas diffusion layer; and B) assembling the assembly, wherein the assembling involves adding the remaining structural components; or the steps of a) providing a base that is different from the structural components; and b) assembling the assembly, wherein the assembling involves adding the structural components; wherein a casing is formed by applying one or more layers of moulding material (70-72) to the provided base, a strength of this moulding material increases after said application, and at least one layer of the moulding material forming the casing or at least a circumferential section of the casing is applied before step B) or b). The invention also relates to an electrochemical cell, in particular a fuel cell or electrolysis cell, a cell stack with cells of this type, as well as a method and a system for manufacturing assemblies for cells or cell stacks of thi

一种纳米金属/钨氧化物复合电极及其在液流电池中的应用

NºPublicación:  CN121331842A 13/01/2026
Solicitante: 
辽宁大学
CN_121331842_PA

Resumen de: CN121331842A

本发明公开一种纳米金属/钨氧化物复合电极及其在液流电池中的应用。涉及液流电池材料技术领域,制备方法包括:将钨盐溶于乙醇溶液并搅拌,完全溶解后加入第二金属盐搅拌至完全溶解,获得前驱液,将碳基材料浸入前驱液中,置于水热釜中进行水热反应,冷却至室温,洗涤,得到纳米金属/钨氧化物复合电极。将该复合电极应用于液流电池中,在提高V2+/V3+离子对电催化活性的同时,可抑制析氢副反应,提升电池的能量效率。

一种长寿命LCP增强型含氟质子或含氟离子交换膜及高压电解槽

NºPublicación:  CN121321074A 13/01/2026
Solicitante: 
上海汉纭新能源科技有限公司上海汉丞实业有限公司上海汉圃新材料科技有限公司
CN_121321074_PA

Resumen de: CN121321074A

本发明还公开了一种一种长寿命LCP增强型含氟质子或含氟离子交换膜及高压电解槽,交换膜包含:(1)含氟质子交换树脂或离子交换树脂;(2)至少一层液晶聚合物编织网或无纺布。本发明可用于制备耐高压、增强型含氟质子交换膜或离子交换膜,可大幅解决含氟质子交换膜与含氟离子交换膜在电解水制氢所产生的氢气对质子交换膜物理结构的破坏,或电解稀盐水制氢所产生的氯气对质子交换膜物理结构的伤坏。尤其适用于高压电解槽隔膜。

一种基于钠化钒液制备氧化钒的电解液的方法和钒氧化还原液流电池

NºPublicación:  CN121331880A 13/01/2026
Solicitante: 
攀钢集团钒钛资源股份有限公司四川省钒钛新材料科技有限公司
CN_121331880_A

Resumen de: CN121331880A

本发明属于储能电池技术领域,具体涉及一种基于钠化钒液制备氧化钒的电解液的方法和钒氧化还原液流电池。方法包括如下步骤:S1.钠化浸出:采用含钠化合物处理含钒原料,生成钠化钒液;S2.价态调控:将所述钠化钒液分成两部分,第一部分调节pH至酸性,之后加入还原剂发生还原反应,得到含V3+/V4+的负极电解液;第二部分加入氧化剂发生氧化反应,得到含V4+/V5+的正极电解液。本发明的方法采用钒渣替代高纯度V2O5制备电解液,使得原料成本降低;本发明所制备的电解液使电池能量效率高;同时,本发明的制备方法采用一体化流程,省去中间产物处理环节,使得制备步骤更简洁,生产效率显著提升。

非平层液流电池储能系统

NºPublicación:  CN121331882A 13/01/2026
Solicitante: 
湖南钒谷新能源技术有限公司大力储能技术湖北有限责任公司
CN_121331882_PA

Resumen de: CN121331882A

本发明提供一种非平层液流电池储能系统,该系统包括电解液储罐组件、功率单元、输送管道和保护单元,输送管道包括进液主管和回液主管,保护单元包括设置在进液主管的第一保护组件和/或设置在回液主管的第二保护组件,第一保护组件设置于进液主管总高度的1/2‑2/3处,第二保护组件设置于回液主管总高度的1/2‑2/3处,或第二保护组件与回液主管并联。本发明通过在进液主管和回液主管的特定位置分别设置第一保护组件和第二保护组件,不但能够阻挡进液主管中回流液体下坠,有效缓解液锤冲击波速度和功率单元内的负压,还能有效减小回液主管中液锤现象产生的虹吸导致功率单元产生负压,并且减小回液主管的液锤冲击力给管路造成的损坏。

燃料电池系统及其氢气温度控制单元和控制方法

NºPublicación:  CN121331873A 13/01/2026
Solicitante: 
罗伯特·博世有限公司
CN_121331873_PA

Resumen de: CN121331873A

本发明提供了一种燃料电池系统及其氢气温度控制单元和控制方法。所述燃料电池系统能够用于氢燃料电池车,并包括用于加热氢气的热交换器以及用于将冷却剂泵送到热交换器中的水泵。所述控制方法包括:获取热交换器的入口参数,其包括:在热交换器入口处的冷却剂入口温度和冷却剂入口流速,以及在热交换器入口处的氢气入口温度;采用热交换器的热学模型基于获取的入口参数计算在热交换器出口处的氢气出口温度,作为氢气出口温度的实际值;计算氢气出口温度的实际值与目标值之间的温度差值;基于所述温度差值确定冷却剂入口流速的调节量;以及基于冷却剂的入口流速的调节量控制水泵的转速,以使得氢气出口温度的实际值变为与目标值相等。

一种氢能两轮车燃料电池性能在线监测方法及系统

NºPublicación:  CN121331875A 13/01/2026
Solicitante: 
顺蓝氢能源科技(苏州)有限公司
CN_121331875_PA

Resumen de: CN121331875A

本发明提供一种氢能两轮车燃料电池性能在线监测方法及系统,其中,方法包括:建立对照数据表;在氢能两轮车运行过程中实时监测电堆的输出电压和输出电流;根据输出电流查找对照数据表确定理论电压值,计算理论电压值和输出电压的电压差值;将输出电压、输出电流、电压差值、氢能两轮车内部的检测温度和氢气压力上传至车中控,车中控解析数据并上传至云平台;获取云平台回传至车中控的燃料电池在线监测结果。本发明的一种氢能两轮车燃料电池性能在线监测方法及系统,利用云端计算资源判断电堆性能的衰减状况,减少了本地算力占用和能耗,帮助用户及时发现燃料电池异常,提高电池系统效率和氢气利用率。

模块化串并联储能堆栈式微生物燃料电池污水处理系统

NºPublicación:  CN121331879A 13/01/2026
Solicitante: 
华北电力大学(保定)
CN_121331879_PA

Resumen de: CN121331879A

本发明公开了模块化串并联储能堆栈式微生物燃料电池污水处理系统,涉及污水处理中的能源利用技术领域。包括箱体、阳极室、空气阴极和阳极,阳极室的数量设置为若干个,且其均设置在箱体内部,空气阴极与阳极均设置在阳极室上;箱体设置为顶部开放的矩形腔体结构,其顶部边缘均匀设置有多个通气孔,其底部设置有输水口,箱体的内底部固定设置有阳极室支撑架,阳极室支撑架的夹角处设置有固定柱。本发明采用上述结构的模块化串并联储能堆栈式微生物燃料电池污水处理系统,以解决现有堆栈式微生物燃料电池污水处理系统处理效率偏低、产出电能品位不高、维护不便以及适应性差等问题,提升系统的污水处理效能、能源回收质量、维护便捷性与场景适应性。

流体供给装置和电化学系统

NºPublicación:  CN121336304A 13/01/2026
Solicitante: 
罗伯特·博世有限公司
CN_121336304_PA

Resumen de: WO2024240740A1

The invention relates to a fluid supply device for an electrochemical system, with at least one housing (14a; 14b; 14c; 14d; 14e; 14f; 14g; 14h; 14i), with at least one fluid inlet (16a; 16b; 16c; 16d; 16e; 16f; 16g; 16h; 16i) for admitting a fluid, in particular air, into the housing (14a; 14b; 14c; 14d; 14e; 14f; 14g; 14h; 14i), and with at least one process fluid unit (18a; 18b; 18c; 18d; 18e; 18f; 18g; 18h; 18i) arranged in the housing (14a; 14b; 14c; 14d; 14e; 14f; 14g; 14h; 14i) for supplying an electrochemical unit (20a; 20b; 20c; 20d; 20e; 20f; 20g; 20h; 20i) of the electrochemical system with the fluid. According to the invention, the fluid supply device comprises an electronics cooling unit (22a; 22b; 22c; 22d; 22e; 22f; 22g; 22h; 22i) arranged in the housing (14a; 14b; 14c; 14d; 14e; 14f; 14g; 14h; 14i) for cooling an electronics unit (24a; 24b; 24c; 24d; 24e; 24f; 24g; 24h; 24i) of the electrochemical system by means of the fluid.

一种电堆堆叠单元及制备工艺

NºPublicación:  CN121331885A 13/01/2026
Solicitante: 
玉柴芯蓝(江苏)氢能源科技有限公司
CN_121331885_PA

Resumen de: CN121331885A

本发明涉及燃料电池技术领域,具体为一种电堆堆叠单元及制备工艺,用于构成燃料电池堆的堆芯,包括堆叠单元一和堆叠单元二,其中堆叠单元一包括膜电极与阳极单板,膜电极与阳极单板通过第一连接单元固定连接构成一个不可拆分的整体子单元;堆叠单元二包括阴极单板以及固定设置于阴极单板空气面和阴极单板冷却面上的第二连接单元与第三连接单元,阴极单板与第二连接单元、第三连接单元构成另一个不可拆分的整体子单元;在电堆堆芯中,堆叠单元一与堆叠单元二依次交替设置。本发明的核心优势在于维护时仅需更换易损的第二堆叠单元,保留了价格昂贵的膜电极和阳极单板,极大降低了维护成本。

一种废塑料连续炭化-活化制备可控比表面积炭材料的系统

NºPublicación:  CN121317742A 13/01/2026
Solicitante: 
东南大学
CN_121317742_PA

Resumen de: CN121317742A

本发明属于废弃塑料资源高值化利用与炭材料制备技术领域,涉及一种废塑料连续炭化‑活化制备可控比表面积炭材料的系统。该系统包括破碎干燥,螺旋连续运输,炭化/活化热解、KOH精准配混,洗涤计量功能单元:氮气氛围阻断KOH吸湿路径,分段温控实现炭孔结构定向演化;物料均匀干燥混合机构协同搅拌装置,保障KOH与热解炭的配比精度;离心分离‑储气罐‑压缩机耦合完成热解气纯化回收,酸洗洗涤模块实现产物脱碱,计量收集单元支撑产线闭环。与现有技术相比,本发明系统突破间歇工艺稳定性缺陷,可制备比表面积600~2000m²/g的多孔炭材料,为废塑料高值资源化的工业化落地提供核心装备支撑。

一种燃料电池系统及阳极尾气循环方法

NºPublicación:  CN121331863A 13/01/2026
Solicitante: 
山东国创燃料电池技术创新中心有限公司
CN_121331863_PA

Resumen de: CN121331863A

本发明涉及一种燃料电池系统及阳极尾气循环方法,包括空气供给机构,空气供给机构与主空气管路的一端连接,主空气管路的另一端连接至电堆的阴极进口,电堆的阴极出口连接至燃烧器,还包括燃料罐,燃料罐与燃料管路的一端连接,燃料管路的另一端连接至电堆的阳极进口,燃料管路上设有重整器,电堆的阳极出口连接至燃烧器,电堆的阳极出口还与尾气循环管路的一端连接,尾气循环管路的另一端连接至燃料管路,尾气循环管路上设有增压器的压侧,增压器的涡侧连接入第一空气旁通管路,第一空气旁通管路一端与风机连接,另一端连接至主空气管路,本发明的燃料电池系统简化了结构。

制造加湿器的堆叠板的方法和堆叠板

NºPublicación:  CN121331865A 13/01/2026
Solicitante: 
曼·胡默尔有限公司
CN_121331865_PA

Resumen de: EP4678274A1

A method of manufacturing a stack plate (100, 102) of a humidifier, in particular for a fuel cell stack, comprises providing a semipermeable membrane (10) to be arranged over a fluid passage (50) of a plastic frame (22) and arranged between the plastic frame (22) and a gasket (32), depositing a plastic layer (20) forming the plastic frame (22) to a first side (12) of the semipermeable membrane (10), and depositing a gasket layer (30) forming the gasket (32) to a second side (14) of the semipermeable membrane (10), the second side (14) opposing the first side (12) at least in some areas (38) where the semipermeable membrane (10) is supported by the plastic frame (22) on the first side (12).

一种高原环境下PEMFC系统健康管理方法

NºPublicación:  CN121331867A 13/01/2026
Solicitante: 
西南交通大学
CN_121331867_PA

Resumen de: CN121331867A

本发明公开一种高原环境下PEMFC系统健康管理方法,包括步骤:建立基于PEMFC系统运行参数的质子交换膜和铂催化剂的老化模型;建立基于膜电极组件老化与环境交互的PEMFC系统老化模型;建立PEMFC系统健康评价指标,构建环境、负荷、温湿度和健康评价指标之间的映射模型,探索高海拔环境下PEMFC系统的最优健康运行域;基于最优健康运行域,采用基于拟连续滑模控制的多变量解耦协调控制器实现PEMFC最优健康运行域的跟踪控制,延长电池使用寿命并保持高效输出。本发明能够有效提高高海拔环境下PEMFC系统的使用寿命和输出性能。

一种基于多变工况下的燃料电池系统

NºPublicación:  CN223797359U 13/01/2026
Solicitante: 
浙江锋源氢能科技有限公司锋源氢能(广州)有限公司
CN_223797359_U

Resumen de: CN223797359U

本实用新型涉及一种基于多变工况下的燃料电池系统,包括:燃料电池堆,其上设有第一端和第二端;空压机,其上设有压气端和涡轮端,压气端连接至第一端,涡轮端连接至第二端,压气端和第一端之间设有第一开关件,涡轮端和第二端之间设有第二开关件,压气端连接的管道和涡轮端连接的管道之间设有第三开关件;其中,燃料电池堆初始开机或者运行时,第三开关件关闭,第一开关件和第二开关件打开;燃料电池堆停机时,第三开关件打开,第一开关件和第二开关件关闭。本实用新型所述的基于多变工况下的燃料电池系统,在急速拉载需要极快的响应速率;带涡轮回收系统停机吹扫需要更加充分。

一种增加空气尾排热量回收利用的氢燃料电池及发电系统

NºPublicación:  CN223795841U 13/01/2026
Solicitante: 
浙江锋源氢能科技有限公司锋源氢能(广州)有限公司
CN_223795841_U

Resumen de: CN223795841U

本实用新型涉及一种增加空气尾排热量回收利用的氢燃料电池及发电系统,包括电池堆、空气供给单元、换热单元、气液分离装置和氢气分离装置,空气供给单元用于向电池堆中输入空气;换热单元包括气液换热器和储水箱,储水箱中的水通过气液换热器对电池堆输出的混合气中的热量进行利用;气液分离装置和氢气分离装置用于分离混合气中的水及氢气进行再利用。本氢燃料电池设置有换热单元对电池堆排出的混合气体中的热量进行回收利用,提升燃料电池的整体效率,且设置有气液分离装置和氢气分离装置对电池堆排出的混合气体中的水及未反应的氢气进行回收利用,进一步提升燃料电池的效率,降低成本,并且可以避免对空气造成污染。

一种钒电池用测试电堆

NºPublicación:  CN223797358U 13/01/2026
Solicitante: 
杭州德海艾科能源科技有限公司
CN_223797358_U

Resumen de: CN223797358U

本申请涉及钒液流电池的领域,尤其是涉及一种钒电池用测试电堆,其包括对称设置的一对多功能板、被压紧在两个多功能板之间的铜电极、双极板、石墨毡和离子交换膜;多功能板相互靠近的端面上开设有用于嵌设双极板和石墨毡的第一嵌设槽,第一嵌设槽侧壁上开设有分液孔,多功能板上开设有连通分液孔的主干路。本申请将电极框和端板一体化设置形成多功能板,该多功能板一方面起到支撑电堆的作用,另一方面,具有进液和出液的功能,同时,将端板和电极框一体化设计后,能够减少一个密封层,降低电解液漏液的可能性。

一种集装箱顶部结构及钒液流电池集装箱

NºPublicación:  CN223797360U 13/01/2026
Solicitante: 
陕西川承储能科技有限公司
CN_223797360_U

Resumen de: CN223797360U

本实用新型提供一种集装箱顶部结构及钒液流电池集装箱,涉及全钒液流电池技术领域,包括:第一主梁和第二主梁,长梁和短梁分别至少设置有两条,所述长梁设置于一对所述第一主梁之间,且所述长梁的两端分别连接所述第二主梁,所述短梁设置于一对所述第二主梁之间,且所述短梁的两端分别连接所述第一主梁;所述长梁和所述短梁将所述第一主梁和所述第二主梁分割成多个网格,每个所述网格内设置有盖板。根据本实用新型通过在集装箱顶部做交叉型网架,然后把小块的盖板,紧凑的安装在顶部,形成集装箱顶盖;由于每块盖板可单独拆卸,操作轻便快捷,便于集装箱内部系统集成时的安装,以及出现局部问题时的后期检修维护。

聚亚芳基聚合物

NºPublicación:  CN121335938A 13/01/2026
Solicitante: 
世索科特殊聚合物美国有限责任公司
CN_121335938_A

Resumen de: WO2024218155A1

A polyarylene polymer comprising sulfonic acid functional groups with high ion exchange capacity which provides films and membranes having good mechanical properties. The membranes are suitable for use as proton exchange membranes in electrochemical devices as well as filtration membranes.

一种非晶态氧化钴@氮掺杂碳材料及制备方法和应用

NºPublicación:  CN121317895A 13/01/2026
Solicitante: 
安庆师范大学
CN_121317895_PA

Resumen de: CN121317895A

本发明涉及电极材料制备技术领域,具体涉及一种非晶态氧化钴@氮掺杂碳材料及制备方法和应用。制备方法包括:以可溶性钴盐为钴源,将钴源与碳氮化合物混合,并进行煅烧处理,得到非晶态氧化钴@氮掺杂碳材料。本发明借助碳氮化合物的限域与抑晶协同效应,通过一步空气煅烧即能够制得非晶态氧化钴@氮掺杂碳材料;其制备过程简单,无需严苛气氛条件,解决了现有技术制备流程复杂的问题;同时,本发明的该材料呈薄片状结构,有效避免了颗粒团聚问题。将其制备成电极应用于电催化析氢时,其析氧反应过电位低于传统四氧化三钴催化剂,且具有良好的稳定性。

多层功能化溶液流延法制备高性能全氟磺酸离子膜

NºPublicación:  CN121331877A 13/01/2026
Solicitante: 
贵州志喜科技有限公司
CN_121331877_A

Resumen de: CN121331877A

本方案公开了本方案公开了高分子材料加工领域的多层功能化溶液流延法制备高性能全氟磺酸离子膜,包括以下步骤:(1)转型;(2)清洗;(3)分层制备流延液:将清洗后的钠型树脂分为三份,分别与不同比例的水、异丙醇及功能添加剂混合,在高压反应釜中溶解,得到表层流延液、中间增强流延液和底层流延液;其中,表层流延液中添加 0.5~2% 的抗污染添加剂,中间增强流延液中添加 1~3% 的纳米增强剂;(4)动态溶剂替换;(5)多层流延与在线监测;)6)固化;(7)二次转型。本方案实现了全氟磺酸离子膜在厚度提高的同时,兼具高质子传导率、高强度、抗污染性及长寿命,且工艺稳定可控,适用于大规模生产。

用于燃料电池的双极板,包括这种双极板的燃料电池以及生产这种燃料电池的方法

NºPublicación:  CN121336302A 13/01/2026
Solicitante: 
森碧欧法国公司
CN_121336302_PA

Resumen de: WO2024227908A1

The invention relates to a bipolar plate which has two plates, anode and cathode, which are provided with channels for circulating a reactive fluid. The bottom walls of the channels form identical parallel corrugations (26, 36) which are regularly distributed along a distribution axis (Y26, Y36) and are spaced apart in pairs by a pitch, denoted p. Each of the corrugations defines a mean axis (X26, X36) which is perpendicular to the distribution axis. Each corrugation (26, 36) is delimited by two opposite and parallel longitudinal edges (26A, 26B, 36A, 36B) which are spaced apart by a corrugation width, denoted I1 or l2, and define a neutral fibre (26C, 36C) midway between the two longitudinal edges. Each corrugation (26, 36) includes first and second top portions (26.1, 36.1, 26.2, 36.2) which are arranged on the same first or second side of the mean axis of the corrugation and aligned in a direction parallel to the mean axis. The corrugations have the same offset D along the distribution axis (Y26, Y36). The offset is such that D = p + x where min(l1, l2)/2 < x < (I1 + l2)/2.

融合分数阶线性动力算子的全钒液流电池SOC估计方法

NºPublicación:  CN121324942A 13/01/2026
Solicitante: 
太原理工大学
CN_121324942_PA

Resumen de: CN121324942A

本发明公开了融合分数阶线性动力算子的全钒液流电池SOC估计方法,步骤如下:步骤1:构建全钒液流电池的分数阶二阶等效电路模型,模型中分数阶RC网络的响应解耦为受当前时刻输入激励影响的瞬时响应部分和受历史输入序列影响的记忆响应部分;步骤2:通过线性动力算子网络对瞬时响应部分进行拟合,通过长短期记忆网络对记忆响应部分进行拟合,计算电池的极化电压;步骤3:获取电池端电压,根据电池端电压和极化电压获取去极化电压,并将去极化电压与实时采集的温度、流量以及电流进行融合,获得多维特征向量,作为卷积神经网络的输入对SOC进行估计。本发明实现了全钒液流电池在高动态变工况下的高精度、强鲁棒SOC在线估计。

燃料电池空气加热的系统

NºPublicación:  CN121331860A 13/01/2026
Solicitante: 
济南绿动氢能科技有限公司国家电投集团氢能科技发展有限公司
CN_121331860_PA

Resumen de: CN121331860A

本发明公开了一种燃料电池空气加热系统,所述燃料电池空气加热系统包括加热组件、换热组件和增湿组件,加热组件和换热组件均适于通入空气,以便对空气加热,增湿组件与加热组件和换热组件的至少一者连通,以便加热后的空气流入增湿组件内增湿,增湿组件适于与燃料电池电堆连通,以便增湿后的空气流入燃料电池电堆内。本发明的燃料电池空气加热系统具有结构简单、加热效率高、废热利用等优点。

一种PAN纤维的预处理方法及其在液流电池电极材料中的应用

NºPublicación:  CN121321389A 13/01/2026
Solicitante: 
辽宁大学
CN_121321389_PA

Resumen de: CN121321389A

本发明公开了一种PAN纤维的预处理方法及其在液流电池电极材料中的应用。预处理方法包括:将适量高锰酸钾溶于去离子水中,混合均匀得到高锰酸钾预处理水溶液;将PAN纤维浸泡在高锰酸钾预处理水溶液中,随后置于低温环境下进行冷冻处理;将冷冻处理后的PAN纤维进行干燥处理,获得预处理的PAN纤维。将获得的预处理的PAN纤维进行预氧化、碳化,得到PAN基碳纤维电极材料。将所得PAN基碳纤维电极材料用作氧化还原液流电池的电极,能够有效改善电池的电极反应动力学,提升电池的能量转换效率以及倍率性能。本发明方法操作简单、相比传统电极制备工艺能耗低、流程简单、易于实现大规模生产,在钒电池电极材料领域具有良好的应用前景。

一种聚薁乙烯类聚合物及其应用

NºPublicación:  CN121319255A 13/01/2026
Solicitante: 
中国科学院上海有机化学研究所
CN_121319255_PA

Resumen de: CN121319255A

本发明公开了一种聚薁乙烯类聚合物及应用。本发明提供了一种聚薁乙烯类聚合物,所述聚合物具有如式I所示结构通式。本发明提供的聚薁乙烯类聚合物具有结构多样性,所述聚合物的主链可与薁单元的不同位点相连接,并且可在薁单元的其余位点引入多种不同的官能团,所述聚合物可为薁乙烯类单体的均聚物,也可为薁乙烯类单体与其它芳基乙烯、甲基丙烯酸酯等单体的共聚物。本发明提供的聚薁乙烯类聚合物具有良好的热稳定性、较高的玻璃化转变温度、可逆的质子响应性以及良好的溶液加工性。本发明提供的聚薁乙烯类聚合物用于基于质子响应方面的应用,例如,可用于制备燃料电池质子交换膜、金属防腐、细菌防护、酸致变色器件。

一种太阳能供电多方式供水的含氢综合能源系统

NºPublicación:  CN121320981A 13/01/2026
Solicitante: 
内蒙古电力(集团)有限责任公司内蒙古电力经济技术研究院分公司
CN_121320981_PA

Resumen de: CN121320981A

本公开提供太阳能供电多方式供水的含氢综合能源系统,属于综合能源系统领域。综合能源系统包括:斯特林发动机和太阳能电池板,将太阳能转化为电能,并输至电源控制装置;生活热水供水系统,冷却水升温后输到第一换热器,冷水输到第一换热器换热形成生活热水;供暖供水系统,空气源热泵产生热量传给第二换热器,供暖冷水输到第二换热器换热,换热后热水进入供暖装置;膜蒸馏装置和太阳能界面水蒸发装置,产生纯水;碱性电解水系统将纯水分解;光催化制氢系统;电源控制装置为膜蒸馏装置和碱性电解水系统供电。本公开能源系统实现太阳能供电、多方式供水和碱性电解水自供水,解决现有能源系统中碱性电解水不能自供水、不能多方式供水等问题。

燃料电池停机吹扫方法及系统

NºPublicación:  CN121331869A 13/01/2026
Solicitante: 
无锡威孚氢隆动力科技有限公司
CN_121331869_PA

Resumen de: CN121331869A

本发明关于一种燃料电池停机吹扫方法及系统,涉及燃料电池领域。本技术方案以电压稳定性为判据,依托欧姆极化引发的电压平台期,可精准锁定吹扫终点,避免传统判定偏差;并且,通过构建动态公式闭环控制,由实时内阻反推电堆含水量,再根据含水量判断膜电极状态,反向优化吹扫流量、温度与时间,形成参数自优化机制,既实现全参数可控,又显著降低能耗;此外,本方案能够消除露点测量的滞后性,同时避免过度吹扫导致的质子交换膜损伤,兼顾吹扫效率与电堆使用寿命。

质子交换膜燃料电池最大功率点跟踪装置及控制方法

NºPublicación:  CN121331874A 13/01/2026
Solicitante: 
郑州轻工业大学
CN_121331874_PA

Resumen de: CN121331874A

本发明提出了一种质子交换膜燃料电池最大功率点跟踪装置及控制方法,最大功率点跟踪装置包括PEMFC电堆和输入电流/输出功率双闭环DC/DC变换器,PEMFC电堆与输入电流/输出功率双闭环DC/DC变换器相连接;输入电流/输出功率双闭环DC/DC变换器用于调节PEMFC电堆的输出电流,并将输出电流转化为相应的输出电压或输出功率。同时,本发明还公开其控制方法。本发明在适应PEMFC系统运行参数变化方面展现出显著优势,避免了在最大功率点附近的振荡现象,提高了跟踪精度和稳定性。同时,本发明计算量更小,实时性更强,能够快速响应PEMFC系统的动态变化,工况适应性好,为PEMFC系统的最大功率点跟踪提供了一种高效、可靠的解决方案。

一种储能系统

NºPublicación:  CN121331878A 13/01/2026
Solicitante: 
宁德时代新能源科技股份有限公司
CN_121331878_A

Resumen de: CN121331878A

本申请提供一种储能系统,包括储能模块和释能模块,储能模块被配置为将氧化物还原为单质,以获得并存储单质燃料;释能模块被配置为燃烧单质燃料以产生能量和氧化物,储能模块包括氧化物还原装置,氧化物还原装置包括电解还原装置,电解还原装置的阴极包括金属合金电极、金属陶瓷复合电极中一种或多种;基于金属合金电极的质量计,金属合金电极包括质量占比为40%‑90%的铜元素、10%‑40%的镍元素、0%‑50%的铁元素和0%‑5%的掺杂元素;和/或,基于金属陶瓷复合电极的总质量计,金属陶瓷复合电极包括质量占比为50%‑95%的陶瓷和5%‑50%的金属元素。本申请提供的储能系统保障了稳定、低碳能源供应。

一种燃料电池电堆一致性优化方法

NºPublicación:  CN121331876A 13/01/2026
Solicitante: 
东风汽车集团股份有限公司
CN_121331876_PA

Resumen de: CN121331876A

本申请涉及一种燃料电池电堆一致性优化方法,燃料电池电堆一致性优化方法包括:对电堆中组成单电池的物料进行基础性能测试并分析找出对电堆性能影响最大的关键性能参数X;利用关键性能参数X找到电堆中单电池电压极差最大的位置作为临界点;以临界点为分界,对电堆中物料的关键性能参数X的性能进行梯度布置以提升电堆单电池电压一致性。本申请利用关键性能参数X的性能优势去弥补电堆的固有劣势,从而修复电堆单电池的一致性波动,减小了单电池极差提升了电堆整体性能,且不需要额外添置设备或改变结构,成本较低,解决了相关技术中结构复杂且增加制造成本的技术问题。

一种燃料电池氢气供给控制方法和氢气供给系统

NºPublicación:  CN121331864A 13/01/2026
Solicitante: 
东风汽车集团股份有限公司
CN_121331864_A

Resumen de: CN121331864A

一种燃料电池氢气供给控制方法和氢气供给系统,根据燃料电池电堆的目标工况,对用于控制进入燃料电池电堆的氢气流量和压力的比例阀,进行前馈加反馈的复合闭环控制;判断燃料电池系统的需求功率是否大于或等于预设的功率阈值;若是,则根据燃料电池电堆的氢气供给系统的实际压力参数和氢气回流需求,计算氢气供给系统中用于控制气体回流的回氢泵的前馈转速,并根据前馈转速控制回氢泵运行;否则,基于氢气供给系统中气体回流的流量偏差,确定回氢泵的补偿转速,根据前馈转速和补偿转速控制回氢泵运行,实现了对进入燃料电池电堆氢气流量和压力的精确控制,有效提高了燃料电池系统的氢气利用率。

一种复合石墨燃料电池双极板及其制备方法

NºPublicación:  CN121331853A 13/01/2026
Solicitante: 
安徽明天新能源科技有限公司
CN_121331853_A

Resumen de: CN121331853A

本发明公开一种复合石墨燃料电池双极板及其制备方法,属于燃料电池技术领域。其制备方法包括以下步骤:S1、将无水乙醇加入到置有酚醛树脂的容器中,超声分散,之后加入导电助剂,超声分散20~30min;之后加入改性石墨,搅拌10min后加入蒸馏水,超声搅拌,得到混合料;S2、将混合料经模压成型‑固化步骤后制得双极板。本发明导电助剂中的巯基可以锚定改性石墨表面的纳米银,从而使导电助剂和改性石墨可以紧密结合,并且改性石墨与树脂相容性好,因此三者之间可以均匀分散,具有导电均匀性和力学均匀性,有利于制备得到导电和力学性能高的双极板。

燃料电池用隔膜

NºPublicación:  CN121331856A 13/01/2026
Solicitante: 
丰田自动车株式会社
CN_121331856_PA

Resumen de: CN121331856A

本发明提供燃料电池用隔膜。本发明的燃料电池用隔膜的特征在于,具备金属基材、设置于上述金属基材上的钛层、和设置于上述钛层上的碳层,上述钛层与上述碳层的边界区域的TiC成分比为70%以下。

用于运输柔软的元件的设备、运输单元和方法

NºPublicación:  CN121331886A 13/01/2026
Solicitante: 
格鲁博工厂有限及两合公司
CN_121331886_PA

Resumen de: EP4678575A1

Die vorliegende Erfindung betrifft eine Vorrichtung (1), eine Transporteinheit (43) sowie ein Verfahren (50) zum Transportieren von biegeschlaffen Elementen (48), insbesondere für die Herstellung einer Batterie- und/oder Brennstoffzelle. Die Vorrichtung (1) umfasst eine Transporteinrichtung (2) zum Transportieren eines biegeschlaffen Elements (48) von einem ersten Bereich (A) zu einem zweiten Bereich (B), eine Führungsplatte (3) zur Führung der Transporteinrichtung (2), eine Antriebseinheit (4) zum Bewegen der Transporteinrichtung (2), eine Hubeinrichtung (5) zur Kopplung der Antriebseinheit (4) und der Transporteinrichtung (2), und einen Montagerahmen (6), wobei die Führungsplatte (3) einen plattenartigen Hauptkörper (13), eine in sich geschlossene Führungskontur (14) und eine Durchgangsöffnung (15) aufweist; die Transporteinrichtung (2) mittels der Führungskontur (14) geführt ist; die Antriebseinheit (4) eine Antriebswelle (16) aufweist, die sich in der ersten Richtung (X) erstreckt, und axial fest in der Durchgangsöffnung (15) der Führungsplatte (4) aufgenommen ist; und die Hubeinrichtung (5) die Transporteinrichtung (2) und die Antriebseinheit (4) drehmomentübertragend miteinander koppelt und dazu eingerichtet ist, einen Abstand zwischen der Antriebswelle (16) und der Transporteinrichtung (2) in einer zweiten Richtung (Z) positionsabhängig anzupassen.

基于逻辑回归算法的燃料电池氢泵堵塞预测方法和系统

NºPublicación:  CN121331868A 13/01/2026
Solicitante: 
国鸿氢能科技(嘉兴)股份有限公司
CN_121331868_A

Resumen de: CN121331868A

本发明实施例提供了基于逻辑回归算法的燃料电池氢泵堵塞预测方法和系统,通过T‑BOX设备采集燃料电池系统的原始数据,得到燃料电池系统的原始数据包,对燃料电池系统的原始数据包进行校验和解析,得到燃料电池系统的运行数据,将燃料电池系统的运行数据输入氢泵堵塞预测模型,得到氢泵堵塞预测值,基于氢泵堵塞预测值确定氢泵堵塞风险等级,并当氢泵堵塞风险等级达到预警程度时,向相关负责人以及通过T‑BOX双向通信向现场控制器推送氢泵堵塞预警信息。本发明实现了数据的实时采集、堵塞故障的准确预测和预警信号的下发,具备自动化程度高、时效性高且提供可视化数据展示的优点,解决了使用场景受限、检测频率受限、操作性差、成本高的问题。

具有至少两个过滤元件的过滤系统

NºPublicación:  CN121335748A 13/01/2026
Solicitante: 
曼·胡默尔有限公司
CN_121335748_PA

Resumen de: WO2024251487A1

The invention relates to a filter system (100) comprising a filter housing (110) having a fluid inlet (102) and a fluid outlet (104), and comprising at least two replaceable filter elements (10, 30) for filtering a fluid, in particular for filtering air, which filter elements are located between the fluid inlet (102) and the fluid outlet (104). The filter elements (10, 30) each have a filter body (12, 32) having a filter material (14, 34) through which, when used as intended, the fluid can flow in a flow direction (50). The filter elements (10, 30) have, on mutually opposing end faces (16, 36), seals (20, 40) extending around outer edges (18, 38), wherein, when the filter elements (10, 30) are installed in the filter housing (110) as intended, a peripheral abutment element (52) is located between the seals (20, 40) and has, on mutually opposing sides, sealing faces (55, 59) for the sealing abutment of the seals (20, 40). The invention also relates to a filter element (10, 30).

用于向包括燃料电池的飞行器的推进电机供电的供电系统

NºPublicación:  CN121336303A 13/01/2026
Solicitante: 
赛峰动力设备公司
CN_121336303_PA

Resumen de: WO2024256299A1

The invention relates to a system (1) for supplying electrical power to at least one aircraft-propelling electric motor (M), the system (1) for supplying electrical power comprising a fuel cell (2), which is configured to be fed with a flow of air (FA) and with a flow of hydrogen (FH) and configured to supply electric power to an electrical distribution unit (3) that is configured to be connected to said propelling electric motor (M), the fuel cell (2) comprising at least a first electrochemical line (LA) and a second electrochemical line (LB) that are mounted electrically in parallel, each electrochemical line (LA, LB) comprising at least two independent stacks (E1-E8) mounted electrically in series, each stack (E1-E8) comprising a plurality of electrochemical cells.

一种燃料电池疏水气体扩散层及其制备方法

NºPublicación:  CN121331858A 13/01/2026
Solicitante: 
江西杜科新材料有限公司
CN_121331858_A

Resumen de: CN121331858A

本发明涉及燃料电池技术领域,尤其是涉及一种燃料电池疏水气体扩散层及其制备方法。燃料电池疏水气体扩散层的制备方法,包括以下步骤:(1)原料减压脱水步骤:将氟化物与丙烯酸在80℃~100℃减压脱水,得到第一前体;(2)酯化反应步骤:向所述第一前体中加入催化剂,以使第一前体发生酯化反应得到第二前体;(3)纯化步骤:减压蒸馏去除所述第二前体中的未反应单体,得到具有疏水性的丙烯酸改性氟化物;(4)涂层制备步骤:丙烯酸改性氟化物低温制作气体扩散层疏水涂层。本发明通过丙烯酸与氟化物改性结合,制备一种低温短时增加疏水性的疏水材料。

一种数据中心多能流优化控制方法、系统、设备及介质

NºPublicación:  CN121332616A 13/01/2026
Solicitante: 
贵州电网有限责任公司
CN_121332616_PA

Resumen de: CN121332616A

本发明公开了一种数据中心多能流优化控制方法、系统、设备及介质,属于电力系统储能设备技术领域,包括:通过光电热一体化模块采集太阳能,并将太阳能转化为电能与热能;通过电解制氢模块接收光电热一体化模块的电能,将电能转化为氢能储存;当光电热一体化模块的电能不足时,通过燃料电池模块消耗储存的氢能发电补充负载需求,同时产生余热;通过中央控制模块控制光电热一体化模块、电解制氢模块、燃料电池模块,以及余热回收模块间的能量流动和功率分配。本发明的有益效果为:通过集成光电热一体化模块、电解制氢模块和燃料电池模块,构建了完整的可再生能源存储转化链条,有效解决了光伏发电波动性与数据中心稳定负载需求不匹配的问题。

燃料电池系统启动方法

NºPublicación:  CN121331866A 13/01/2026
Solicitante: 
未势能源科技有限公司
CN_121331866_A

Resumen de: CN121331866A

本发明提供了一种燃料电池系统启动方法,包括:S10:对燃料电池系统的温度进行检测,当燃料电池系统的温度小于等于第一设定温度a℃,通过液体介质对电堆进行加热,并将空压机压缩后的空气送入电堆;S20:执行S10直至燃料电池系统的温度大于a℃,启动燃料电池系统。当燃料电池系统的温度小于等于a℃,通过加热液体介质对电堆进行加热以实现暖堆。空压机压缩后的空气温度会上升,通过空压机压缩后的空气进入电堆,压缩后升温的空气在燃料电池系统中流通以对燃料电池系统整体进行加热。当燃料电池系统的温度大于a℃,启动燃料电池系统。本方案实现了燃料电池系统均匀升温的效果。

燃料电池联合发电系统

NºPublicación:  CN121331861A 13/01/2026
Solicitante: 
未势能源科技有限公司
CN_121331861_PA

Resumen de: CN121331861A

本发明公开了一种燃料电池联合发电系统,包括:燃料电池堆、温差发电装置、换热器、空气压缩机、散热器、第一DC‑DC电源模块、第二DC‑DC电源模块,温差发电装置的第二空气入口设于温差发电装置的冷端,温差发电装置的第二冷却液进口设于温差发电装置的热端,第二空气入口与空气源连通,第二空气出口依次通过空气压缩机、换热器与燃料电池堆的第一空气入口连通,第一冷却液进口与进液管路连通,第一冷却液出口通过换热器与第二冷却液进口连通,以使流入换热器的空气和冷却液换热。由此,有利进一步提高温差发电装置二次发电效率,进而提高燃料电池联合发电系统的整体发电效率。

钒电池电解液及其制备方法与制备系统

NºPublicación:  CN121317873A 13/01/2026
Solicitante: 
成都先进金属材料产业技术研究院股份有限公司
CN_121317873_PA

Resumen de: CN121317873A

本发明属于钒电池领域,公开了一种钒电池电解液及其制备方法与制备系统。方法包括:向碱性钒液中加入铵盐,采用pH调节剂调节pH至4~6,在20~85℃的温度下,进行弱酸性铵盐沉钒反应,得到十钒酸铵钠固体;将十钒酸铵钠固体与含铵根的转晶剂溶液混合,在pH为8~10、温度为90~100℃的条件下,进行固相转晶铵钠置换反应,得到高纯偏钒酸铵固体;对高纯偏钒酸铵固体进行煅烧,得到高纯五氧化二钒;对高纯五氧化二钒进行电解,制得钒电池电解液。本发明的方案采用一步沉钒便可制备得到纯度大于99.9%的高纯五氧化二钒并以此高纯五氧化二钒制备得到电化学性能优异的钒电解液。

一种新能源船舶的氢燃料电池余热梯级利用系统

NºPublicación:  CN121323382A 13/01/2026
Solicitante: 
三点水新能源科技(安徽)有限公司
CN_121323382_A

Resumen de: CN121323382A

本发明提供一种新能源船舶的氢燃料电池余热梯级利用系统,涉及新能源船舶技术领域,用于与船舶的氢燃料电池的电堆连接,该余热梯级利用系统包括:一级换热单元,一级换热单元的输入部与电堆的冷却液出口连接,一级换热单元的换热部分布在船舶的生活热水储罐内;二级换热单元,二级换热单元的输入部与一级换热单元的输出部连接,二级换热单元的换热部分布在船舶的锂电池舱室内;三级换热单元,三级换热单元的输入部与二级换热单元的输出部连接,三级换热单元的换热部分布在船舶甲板的设备上,三级换热单元的输出部与电堆的冷却液进口连接;实现了能源的梯级、高效利用,显著提升了整船能效,并解决了冬季防冻的难题。

一种全钒液流电池电堆内漏检测方法及装置

NºPublicación:  CN121323886A 13/01/2026
Solicitante: 
河北旭辉电气股份有限公司河北清华发展研究院
CN_121323886_PA

Resumen de: CN121323886A

本发明公开了一种全钒液流电池电堆内漏检测方法,包括以下步骤:S1、外漏预检;S2、干燥处理;S3、介质填充;S4、压力控制;S5、泄漏监测与判定;本发明基于气液压差设计与HCl气体溶解放大效应,将微小泄漏产生的微量水体积变化转化为负极腔的显著压力下降,实现0.1mL/min级别微小内漏的精准、快速检测,检测灵敏度较传统方法提升5‑10倍;在内检前进行外漏预检,能够有效排除外部干扰,结合压力传感器对电堆负极腔出气口的压力进行监测,能够将误判率降低至0.5%以下,抗干扰能力较强;克服了现有全钒液流电池电堆内漏检测技术中“灵敏度低、检测周期长、抗干扰能力弱”的缺陷。

一种基于生物质炭材料的模块化人工湿地水质稳定系统

NºPublicación:  CN121318019A 13/01/2026
Solicitante: 
智泉再生资源技术发展(苏州)有限公司
CN_121318019_PA

Resumen de: CN121318019A

本发明公开了一种基于生物质炭材料的模块化人工湿地水质稳定系统,包括若干个独立湿地模块,其相互之间通过快接接口横向或纵向连接,独立湿地模块包括垂直分层水质净化系统、自适应水力调控系统和能源自供系统;垂直分层水质净化系统包括供水层、基质层和植物‑微生物层,基质层包括磁性生物炭层、中层缓释微生物载体层及底层透水导电混凝土层,各层集成光纤传感器并连接至中央控制系统;若干个仿生水力结构,其设置在独立湿地模块内,形成螺旋上升的水流路径;本发明通过垂直分层水质净化系统、自适应水力调控系统和能源自供系统的配合,实现水质净化与能源利用的功能,从而保证湿地水质的稳定性。

一种用于燃料电池电堆的限位结构

NºPublicación:  CN223785143U 09/01/2026
Solicitante: 
吕梁澜起能源发展有限公司
CN_223785143_U

Resumen de: CN223785143U

本实用新型涉及燃料电池电堆领域,具体涉及一种用于燃料电池电堆的限位结构,包括一号端板、二号端板、螺栓、密封板、电堆和弹性板,一号端板和二号端板之间安装电堆,一号端板和二号端板之间通过螺栓进行固定,电堆前后两侧均安装密封板,前端位置的密封板和一号端板之间安装弹性板,后端位置的密封板和二号端板之间安装弹性板,通过螺栓和螺纹筒将一号端板和二号端板进行固定,能够使一号端板和二号端板保持稳定状态。

一种便于清洁的燃料电池用过滤器

NºPublicación:  CN223774447U 09/01/2026
Solicitante: 
江苏三氢科技有限公司
CN_223774447_U

Resumen de: CN223774447U

本实用新型涉及燃料电池领域,尤其涉及一种便于清洁的燃料电池用过滤器;包括:壳体、内嵌套、滤网、阀杆以及更换部;其中,内嵌套包括:内嵌套框架、设于内嵌套框架顶端的前端挡板以及设于内嵌套框架底端的后端挡板;内嵌套框架中部贯通且设有用于卡固滤网的沟槽;后端挡板上开设有排水孔;更换部与壳体连通;阀杆设于更换部内,阀杆的底端延伸至更换部外;本实用新型通过内嵌套与阀杆的配合,使得滤网清洁时无需整体拆卸,仅需将内嵌套下拉至更换部即可对滤网进行清洁或更换;清洁滤网时,前端挡板将壳体与更换部隔离,避免冷却液流出;后端挡板上的排水孔能将更换部内的冷却液排入壳体中,避免冷却液的浪费。

一种新能源商用车燃料电池冷却包气室

NºPublicación:  CN223785139U 09/01/2026
Solicitante: 
浙江银兴机械股份有限公司
CN_223785139_U

Resumen de: CN223785139U

本实用新型提供一种新能源商用车燃料电池冷却包气室,包括包括气室,所述气室内用于放置电池包体,所述气室的一端设有散热风机,另一端开设有通风槽,所述气室内部两侧设有挡板,所述挡板与气室壁之间形成流通腔,所述挡板上开设有若干竖槽。本实用新型一种新能源商用车燃料电池冷却包气室,通过在气室两侧设置流通腔以及非等间隔设置的竖槽,在靠近出风口(即靠近散热风机)处设有更密集的竖槽,通过压风风机将冷空气流过竖槽压入气室内,使得靠近出风口处受到未升温的空气补充,从而实现减小了出风口处的电池包温差,提高了电池包温度的一致性。

燃料电池供氢系统及车辆

NºPublicación:  CN223785140U 09/01/2026
Solicitante: 
广州汽车集团股份有限公司
CN_223785140_U

Resumen de: CN223785140U

本实用新型公开了一种燃料电池供氢系统及车辆,所述燃料电池供氢系统包括加热切换回路、第一冷却水路、第二冷却水路、设置在所述第一冷却水路上的燃料电池系统、设置在所述第二冷却水路上的储氢系统,以及设置在所述加热切换回路上的加热器;所述燃料电池系统与所述储氢系统之间设有供氢通道;所述第一冷却水路通过所述加热切换回路与所述第二冷却水路并联。本实用新型实现了高效快速地利用燃料电池系统工作过程中释放的热量,提升了燃料电池热量的利用效率,也加快了储氢系统的温度响应性,降低了成本,节省了布置空间。

一种纳米级间隙型储氢合金及其制备方法与应用

NºPublicación:  CN121294905A 09/01/2026
Solicitante: 
中国华能集团香港有限公司中国华能集团清洁能源技术研究院有限公司华能国际工程技术有限公司
CN_121294905_PA

Resumen de: CN121294905A

本发明公开了一种纳米级间隙型储氢合金及其制备方法与应用,制备方法包括熔炼目标间隙型储氢合金,得到铸锭;对铸锭进行氢等离子体金属反应,具体为:将铸锭置于氢等离子体反应器中,向氢等离子体反应器内充入高纯氩气和高纯氢气,通过离子束轰击铸锭表面物理剥离的方式,对铸锭进行氢等离子体金属反应;待反应结束收集生成的纳米级间隙型储氢合金;目标间隙型储氢合金包括TiMn2型储氢合金和LaNi5型储氢合金中的至少一种,当目标间隙型储氢合金为TiMn2型储氢合金时,制得的纳米级间隙型储氢合金的粒径为5‑500纳米;当目标间隙型储氢合金为LaNi5型储氢合金时,制得的纳米级间隙型储氢合金的粒径为5‑500纳米。

一种应用氨分解反应的大型余热发电系统

NºPublicación:  CN121296272A 09/01/2026
Solicitante: 
福大紫金氢能科技股份有限公司福州大学
CN_121296272_PA

Resumen de: CN121296272A

本发明公开了一种应用氨分解反应的大型余热发电系统,包括氨气供应单元、氨分解反应高炉、冷却单元、换热器、纯化装置、燃烧器和发电单元。氨分解反应高炉采用套管式结构,在壳体与氨分解部分之间设置水蒸发部件,用于回收反应余热产生蒸汽。冷却单元通过多个水冷器对分解气体进行分级冷却,并与水蒸发部件形成循环。发电单元包括燃料电池、内燃机和汽轮发电机,协同利用氨分解产物及余热进行发电。纯化装置和发电单元排出的尾气通过燃烧器回用至氨分解部分。本发明通过优化热交换和能量回收结构,耦合多种发电方式,显著提高了系统能量利用效率,实现了化工废气的高效回收利用,降低了能源消耗,具有显著的节能环保效益。

一种燃料电池数字孪生AI智能控制预警系统及方法

NºPublicación:  CN121307096A 09/01/2026
Solicitante: 
哈尔滨学院
CN_121307096_PA

Resumen de: CN121307096A

本发明提供了一种燃料电池数字孪生AI智能控制预警系统及方法;采集燃料电池运行过程中的多类型运行参数信息;构建燃料电池的数字孪生AI模型,对燃料电池在多种操作条件下运行状态和性能特征的毫秒级快速模拟;通过智能训练燃料电池的操控参数信息,并根据数字孪生AI模型模拟的结果,进行燃料电池运行过程智能操控,自主学习优化电池控制策略;基于数字孪生AI模型和优化电池控制策略,预测燃料电池剩余寿命,以及运行状态趋势;提前预警燃料电池故障及预警提示剩余寿命;避免故障扩大对燃料电池造成严重损害,并提前准备更新燃料电池器件;输入电池运行交互操控指令及燃料电池运行控制数据,直观显示燃料电池运行状态。

一种燃料电池微网系统的氢泄漏检测方法、分级柔性保护方法及装置

NºPublicación:  CN121307093A 09/01/2026
Solicitante: 
广东电网有限责任公司广州供电局
CN_121307093_PA

Resumen de: CN121307093A

本发明提供了一种燃料电池微网系统的氢泄漏检测方法、分级柔性保护方法及装置,方法将燃料电池发电仓所在区域内各传感器在所采集的氢气浓度以及各传感器的坐标输入至泄漏位置预测模型中,泄漏位置预测模型根据氢气浓度提取第一编码特征,根据各传感器的坐标提取第二编码特征,基于第一编码特征和第二编码特征生成时序特征;根据第一编码特征、第二编码特征以及图结构特征,生成空间关系特征;结合时序特征和空间关系特征,生成时空融合特征,基于时空融合特征确定出氢气泄漏位置。此外,在确定氢气泄漏位置后,根据三级预警方式构建了分级柔性保护机制。通过实施本发明,可确定氢气泄漏位置提高故障排查效率,并降低非必要停机次数。

一种液流电池端板及液流电池电堆

NºPublicación:  CN223785138U 09/01/2026
Solicitante: 
艾博特瑞能源科技(苏州)有限公司
CN_223785138_U

Resumen de: CN223785138U

本实用新型涉及一种液流电池端板及液流电池电堆,所述液流电池端板内置SOC检测装置,并且其四角上分设有四个通道,SOC检测装置连接在四个通道上,四个通道分别为电堆正极进液通道、电堆正极出液通道、电堆负极进液通道和电堆负极出液通道。本实用新型的液流电池端板内置SOC检测装置,能够对每个电堆都进行实时且准确的状态监控,并且无需占用额外的空间;本实用新型的液流电池端板上还设置有供电堆的电解液通入、通出的通道,让电解液能够在端板部分延长流动路径,从而减小旁路电流。

一种用于弱碱性锌基液流电池负极电解液及其制备方法

NºPublicación:  CN121307114A 09/01/2026
Solicitante: 
扬州大学
CN_121307114_PA

Resumen de: CN121307114A

本发明公开了一种用于弱碱性锌基液流电池负极电解液及其制备方法,包括,锌盐、去离子水以及络合剂;其中,所述络合剂为2‑膦酸丁烷‑1,2,4‑三羧酸、三乙烯四胺、甘氨酸、二乙基乙二胺、赖氨酸、N‑(磷酰甲基)亚氨基二乙酸、亚氨基二乙酸、羟基亚乙基二磷酸、亚氨基二琥珀酸、N‑(磷酸甲基)甘氨酸、羟基乙酸、氮基三亚甲基磷酸、阿伦磷酸的一种或几种。本发明解决锌基液流电池负极在沉积锌时易形成枝晶及延缓析氢等副反应的问题,提高锌负极在循环过程中的可逆性以及弱碱性锌基液流电池的循环寿命,同时还可提高全电池电压。

一种Cs沉淀沸石结构膜电极的制备方法

NºPublicación:  CN121307067A 09/01/2026
Solicitante: 
江苏源氢新能源科技股份有限公司
CN_121307067_A

Resumen de: CN121307067A

本发明公开了一种Cs沉淀沸石结构膜电极的制备方法,先将可溶性碳酸盐、有机模板剂和结构导向剂溶于水后,加入钛源并通入气相二氧化硅作,形成稳定凝胶,再与碳粉混合研磨制得沸石‑碳复合粉末;该粉末分散成浆料并涂覆于基材,再将其浸入含铂前驱体与碱性铯盐的有机溶剂中,后加入还原剂,通过化学还原使铂、铯物种共沉积于微孔层;扩散层与质子交换膜热压,组装成膜电极。通过上述方式,本发明方法制备的膜电极展现出优异的耐久性,性能衰减率显著低于传统Pt/C催化剂;在不同湿度条件下均能保持高电流密度输出,环境适应性增强;同时避免了高湿工况下的“水淹”现象,使膜电极兼具高催化活性、长寿命稳定性及良好的工况适应性。

一种基于流量函数模型的燃料电池热管理温度控制方法

NºPublicación:  CN121307083A 09/01/2026
Solicitante: 
江苏中车氢芯动力科技有限公司
CN_121307083_PA

Resumen de: CN121307083A

本发明涉及燃料电池热管理技术领域,尤其为一种基于流量函数模型的燃料电池热管理温度控制方法,包括以下步骤:S1,通过燃料电池系统台架测试,标定并建立一组流量函数模型,模型定义了水泵转速、热控制阀TCV角度、风扇转速与系统冷却液流量及散热量之间的数学关系;S2,在燃料电池运行过程中,实时计算系统的总需求散热量,并基于散热量和预设的温差目标,推导出电堆需求流量和散热器需求流量;S3,监测TCV的实时开度,并根据开度判断当前所处的冷却循环模式,模式包括小循环模式、大循环模式以及混水循环模式;通过模型前馈与PID反馈的协同,提升在不同工况下的温度稳定性与部件协调性,有效抑制温度波动,增强系统适应性。

金属分离板

NºPublicación:  CN121311977A 09/01/2026
Solicitante: 
现代制铁株式会社
CN_121311977_PA

Resumen de: WO2025058447A1

The present application relates to a metal separator, a fuel cell comprising the metal separator, and a fuel cell stack comprising the fuel cell. According to the metal separator of the present application, it is possible to secure airtightness while preventing deformation of manifold inlet-and-outlet holes, and to uniformly distribute the flow rate of an injected and discharged reaction gas.

一种固态储氢材料可控水解制氢装置及方法

NºPublicación:  CN121288748A 09/01/2026
Solicitante: 
西安一九零八新能源科技有限公司
CN_121288748_PA

Resumen de: CN121288748A

本发明公开了一种固态储氢材料可控水解制氢装置及方法,所述装置包括:反应料仓,其用于容纳固态储氢材料并通过固液接触触发水解反应,其内部设有分隔结构以形成可变容积的缓冲区;恒压水仓,其用于存储反应水并通过压力差驱动水迁移,调节所述反应料仓内的固液接触面积;和净化单元,其用于对反应产生氢气进行固体杂质脱除及液态水分离。所述装置通过反应料仓与恒压水仓实时调节水迁移量,进而控制固液接触面积,解决了传统技术中因反应不可控导致的速率波动大的问题。

一种阴离子交换膜电堆结构设计方法

NºPublicación:  CN121307077A 09/01/2026
Solicitante: 
北京京能科技有限公司
CN_121307077_PA

Resumen de: CN121307077A

本发明公开一种阴离子交换膜电堆结构设计方法,包括设计分层式双极流道、配置动态水管理模块、设置界面阻抗调控层,通过分层式双极流道改善反应物流场分布,动态水管理模块实时调节电堆内部湿度与压力,界面阻抗调控层降低膜‑电极界面接触阻抗,实现电堆性能协同优化;该方法解决现有电堆浓差极化、水管理失衡、界面阻抗叠加问题,提升电堆输出稳定性与使用寿命,适用于燃料电池、电解水等阴离子交换膜电堆应用场景。

一种基于纤维骨架复合相变材料的氢燃料电池被动热管理及减振装置

NºPublicación:  CN121307119A 09/01/2026
Solicitante: 
方翠萍
CN_121307119_PA

Resumen de: CN121307119A

本发明公开了一种基于纤维骨架复合相变材料的氢燃料电池被动热管理及减振装置。该装置采用三层式结构,由内至外依次包括贴覆于电堆表面的绝缘导热层、多功能复合层体及外部防护外壳。其中,多功能复合层体由至少两层复合相变材料层与至少一层镂空金属箔层交替叠合构成,复合相变材料层通过将相变材料基体吸附于多孔纤维骨架中而形成。本发明通过纤维骨架封装解决了相变材料泄漏问题,利用相变潜热效应和镂空金属箔的高导热性实现高效被动热管理,通过多层异质复合结构提供优异的振动阻尼特性,同时借助密封外壳与透气设计确保环境适应性。该装置无需外部能源驱动,具有零能耗、零噪音、高可靠性的优点。

一种基于液氢冷能梯级利用与自增循环的航空器动力系统

NºPublicación:  CN121291778A 09/01/2026
Solicitante: 
南京工业大学
CN_121291778_PA

Resumen de: CN121291778A

本发明属于新能源飞行器动力技术领域,涉及一种基于液氢冷能梯级利用与自增循环的航空器动力系统,包括液氢储罐、燃料电池堆、氢气供应单元、空气供应单元、冷却单元。本发明将液氢冷能与燃料电池废热协同利用,利用低温氢气直接参与电堆冷却,通过将液氢汽化后的低温氢气作为冷却介质引入燃料电池堆内部冷却流道,实现了对电堆废热的主动吸收与冷能回收,同时,有效解决了现有液氢‑电动力系统中存在的依赖冷能浪费严重、热管理系统复杂冗余等问题,使得eVTOL更加轻量化、紧凑化,此外,利用液氢在汽化器中吸热汽化后体积急剧膨胀所产生的自增效应,形成内部压力驱动,推动氢气在系统内流动,从而通过减少液氢泵而减少系统部件数量。

数字孪生驱动的燃料电池维护系统和方法

NºPublicación:  CN121307097A 09/01/2026
Solicitante: 
上海汉翱新能源科技有限公司
CN_121307097_PA

Resumen de: CN121307097A

本发明提供一种数字孪生驱动的燃料电池维护系统和方法,采集燃料电池运行过程中的温度、气体流量、压力参数;对采集到的数据进行储存,并实时校准和修正和预处理,由基础物理模型转化为数字模型,再将物理模型和数学模型融合,形成最终的数字孪生模型;通过训练集学习数据规律:算法通过“损失函数”计算误差;根据实时检测值结合数字孪生模型的模拟结果,提取故障特征参数建立故障诊断与预测模型;最后根据故障诊断与预测模型判断燃料电池当前状态。其优点在于多维度动态镜像呈现电池运行状态,且各维度监测都精准且全面。

一种基于特斯拉阀的单向传输流场控制器件设备

NºPublicación:  CN121307079A 09/01/2026
Solicitante: 
南通大学
CN_121307079_PA

Resumen de: CN121307079A

本发明涉及器件设备技术领域,尤其涉及一种基于特斯拉阀的单向传输流场控制器件设备,所述控制器件设备为川型流场、蛇型流场或螺型流场,所述川型流场、蛇型流场和螺型流场均由多级特斯拉阀单流道组成,所述多级特斯拉阀单流道与反应物进/出口连通,所述多级特斯拉阀单流道由若干个单级特斯拉阀组成。本发明设计的结构简单,易于加工生产,相较于其他燃料电池,本发明中利用了新的流场结构,通过控制流场的形状实现对电池器件中流体场的调控,可适应燃料电池的各种情况,因此在燃料电池应用中有很好的前景与价值。

一种一体化燃料电池膜电极及其制备方法

NºPublicación:  CN121307109A 09/01/2026
Solicitante: 
无锡威孚高科技集团股份有限公司
CN_121307109_PA

Resumen de: CN121307109A

本发明提供一种一体化燃料电池膜电极,包括从上至下依次设置的阴极支撑层、阴极一体化结构组件、质子交换膜、阳极一体化结构组件、阳极支撑层,阴极一体化结构组件包括从上至下依次设置的第一疏水性微孔层、第一亲水性微孔层和阴极催化层,阳极一体化结构组件包括从上至下依次设置的第二疏水性微孔层、第二亲水性微孔层和阳极催化层。本发明构建了由亲水层与疏水层组成的梯度复合微孔结构,其中亲水层采用亲水剂和导电剂共混材料,疏水层采用疏水剂和导电剂共混材料,亲水层优先吸附反应生成水并形成连续水相通道,疏水层则通过微米级孔隙结构实现毛细管排水效应;实验数据显示,该结构可提升水淹现象发生临界电流密度。

固定座成型模具、液流电池储液罐成型模具及其成型产品

NºPublicación:  CN121307092A 09/01/2026
Solicitante: 
山东思弗迩科技开发有限公司
CN_121307092_PA

Resumen de: CN121307092A

本发明公开了固定座成型模具、液流电池储液罐成型模具及其成型产品,固定座成型模具包括拆卸连接的第一型模和第二型模,第一型模设有第一半圆型面;第二型模设有第二半圆型面,第一半圆型面与第二半圆型面配合形成圆柱面,固定座成型模具的外侧布设有熔融材料,脱模后熔融材料形成有镂空的布液管固定座,液流电池储液罐成型模具由固定座成型模具和箱体成型模具构成,该模具成型的产品能够在罐体内部一体成型布液管固定座,免去传统布液管固定座焊接工艺过程,成型质量可靠,使用稳定性高。

一种剩余污泥原位处理系统及方法

NºPublicación:  CN121292762A 09/01/2026
Solicitante: 
中建三局集团有限公司
CN_121292762_PA

Resumen de: CN121292762A

本发明提供一种剩余污泥原位处理系统及方法,涉及污水处理技术领域,所述系统,包括:微生物电池网络,包括驱动装置和微生物电池装置,用于降解剩余污泥中的胞外聚合物;初始控制单元,用于控制驱动装置将微生物电池装置插入至待处理的剩余污泥中;获取单元,用于获取剩余污泥的高度数据;污泥分析单元,用于根据高度数据进行污泥减量分析,得到相应的污泥降解程度信号;以及更新单元,用于根据污泥降解程度信号,生成对微生物电池装置的更新调整指令,对各微生物电池装置进行再次控制调整,以优化对剩余污泥的原位处理。本发明提供的系统及方法,能够实现污泥减量化的同时,还通过微生物电池装置实现能源的回收。

燃料电池空气系统湿度控制方法、系统、车辆及存储介质

NºPublicación:  CN121307103A 09/01/2026
Solicitante: 
中国第一汽车股份有限公司
CN_121307103_PA

Resumen de: CN121307103A

本申请涉及电池电堆湿度控制技术领域,特别涉及一种燃料电池空气系统湿度控制方法、系统、车辆及存储介质,其中,方法包括:获取电堆的电堆状态和湿度传感器预设时长内的湿度数据;根据湿度数据计算电堆内部的湿度变化率,根据电堆状态和湿度变化率的至少一个,确定电堆的湿度控制策略,其中,湿度控制策略包括调整第二阀门开度和第三阀门开度的至少一个;按照湿度控制策略控制电堆的湿度。由此,解决了相关技术中非极端工况能力冗余引发水淹以及进堆气体湿度调控精确度不足效率低等问题。

全钒液流电池的隔膜及其制备方法、全钒液流电池和储能装置

NºPublicación:  CN121307111A 09/01/2026
Solicitante: 
浙江星辰新能科技有限公司
CN_121307111_PA

Resumen de: CN121307111A

本发明涉及一种全钒液流电池的隔膜及其制备方法、全钒液流电池和储能装置。该隔膜包括纤维膜和COF增强膜;COF增强膜包括和COF增强膜依次层叠的第一、第二质子交换层,第一质子交换层包括混合在一起的阻隔材料和第一粘结剂,第二质子交换层包括第二粘结剂;阻隔材料包括氧化石墨烯和附着于氧化石墨烯上的COF,COF由对苯二甲醛单体和三聚氰胺单体合成,三聚氰胺单体和对苯二甲醛单体的摩尔比为2:3,氧化石墨烯的质量为对苯二甲醛单体和三聚氰胺单体的质量之和的3%‑12%;第一、第二粘结剂均包括全氟磺酸树脂和/或磺化聚醚醚酮。该隔膜能构建连续性阻隔层,并且该隔膜具有高的质子传导效率和高的阻钒性能,可以提升全钒液流电池的能量效率。

实现液流电池满充满放的恒功率转恒压控制方法及系统

NºPublicación:  CN121307095A 09/01/2026
Solicitante: 
液流储能科技有限公司
CN_121307095_PA

Resumen de: CN121307095A

本申请涉及一种实现液流电池满充满放的恒功率转恒压控制方法及系统。其方法部分主要包括:实时采集液流电池运行参数,采集的运行参数包括电堆端电压、电解液温度以及电池循环次数;根据电解液温度、电池循环次数以及额定电压,动态计算临界电压阈值;当实时的电堆端电压达到或超出临界电压阈值时,从恒功率模式切换至恒压模式;在恒压模式下,通过PID调节机制动态调节功率输出,使电堆端电压稳定在临界电压阈值处。本申请通过动态判定恒功率转恒压的切换时机以及精准调控恒压阶段电压,实现电池安全满充满放的目的,提升储能利用率与电池循环寿命。

一种燃料电池催化层三维团聚体结构建模方法

NºPublicación:  CN121307062A 09/01/2026
Solicitante: 
长安大学
CN_121307062_PA

Resumen de: CN121307062A

本发明提供了一种燃料电池催化层三维团聚体结构建模方法,属于燃料电池催化层技术领域,包括以下步骤:S1.制定催化层三维团聚体的催化层体积参数和对应的碳载体,铂颗粒和离聚物的体积分数;S2.基于预设的种子数和催化层的目标孔隙率特征来构建相应的数学模型,利用脚本参数化建模方法,生成催化层的实际孔隙率值;S3.生成初始的碳载体结构;S4.生成铂颗粒;S5.生成离聚物;S6.生成最终的催化层三维团聚体结构模型,输出运行所需时间,并计算得到催化层的孔隙率,该方法通过建立精确的三维参数化模型,实现了对催化层微观结构的可视化呈现与定量分析,为催化剂的设计优化与性能评估提供了全新的技术手段。

燃料电池排气设备、燃料电池系统和方法

NºPublicación:  CN121307107A 09/01/2026
Solicitante: 
普瑞姆有限公司
CN_121307107_PA

Resumen de: CN121307107A

本发明涉及一种用于特别是车辆中的燃料电池系统的燃料电池排气设备,该燃料电池排气设备包括:用于分离在燃料电池排气(B)中包含的水(W)的水分离组件(24),以及用于在所述水分离组件(24)的下游催化转化在所述燃料电池排气(B)中包含的氢气的氢气催化器组件(30)。

燃料电池评价系统、倾斜测试装置、燃料电池评价方法和燃料电池评价系统用的程序

NºPublicación:  CN121311981A 09/01/2026
Solicitante: 
株式会社堀场制作所
CN_121311981_PA

Resumen de: WO2024262315A1

This fuel cell evaluation system evaluates a test piece that is a fuel cell to be mounted on a movable body or a portion of the fuel cell, the fuel cell evaluation system comprising: a hydrogen gas supply line for supplying hydrogen gas to the test piece; an electric discharge unit that controls an electric discharge load on the test piece; and an inclination test device that has a mounting base on which the test piece is mounted and that inclines the mounting base so as to change the orientation of the test piece according to the movement state of the movable body.

一种储能与热管理一体化系统

NºPublicación:  CN121291815A 09/01/2026
Solicitante: 
北京宇航系统工程研究所
CN_121291815_PA

Resumen de: CN121291815A

本发明提供一种储能与热管理一体化系统,包括:循环泵、热排散器、连接管路、燃料电池系统和补能蓄电池组;所述循环泵用于驱动冷却水在所述连接管路中流动;所述冷却水用于流经大功率设备,带走所述大功率设备的热量;所述热排散器用于降低所述冷却水的温度;所述燃料电池系统,用于以所述冷却水为原料,通过电解作用产生氢气和氧气,所述氢气和氧气用于制备电能;所述补能蓄电池组,用于存储所述电能,并为所述大功率设备提供电能。

堆叠模块及其使用方法

NºPublicación:  CN121311982A 09/01/2026
Solicitante: 
埃尔克根公司
CN_121311982_PA

Resumen de: AU2023445093A1

An object of the invention is a stack module of solid oxide cell stacks comprising a fuel inlet manifold (150) and a fuel outlet manifold (152) between the two adjacent stacks (103). The stack module comprises at least two stack bundles, each stack bundle containing a row or a matrix of the stacks (103) together with a fuel inlet manifold (150) supplying fuel for the stacks and a fuel outlet manifold (152) collecting fuel gas from the stacks (103), which are connected to the manifolds (150, 152) parallel in terms of their fuel inlet and fuel outlet, the stack module being located inside an air tight cover (169) comprising needed interfaces into the air tight cover (169) and out from the air tight cover (169), and fuel gas flow characteristics in the manifolds (150, 152) being optimized with the size of the holes connecting the manifolds and the stack based on the pressure drop characteristics of the manifolds (150, 152) and stacks connected parallel to that, and the stacks are electrically isolated from the fuel manifold structures (150, 152) with an electrical isolation structure (172) and the other end of the stack is electrically separated from other structures, and the stack module comprises a side sealing solution (166) between the neighboring stacks (103a) in a stack bundle and between the stacks (103b) at the end of the bundle and the air tight cover (169) preventing air flowing from an inlet chamber directly to an outlet chamber without flowing through the stacks, the

一种金属有机凝胶催化剂的通量化制备及甲醇燃料电池的阳极催化剂

NºPublicación:  CN121307059A 09/01/2026
Solicitante: 
三峡大学湖北三峡实验室
CN_121307059_PA

Resumen de: CN121307059A

本发明公开了一种金属有机凝胶的通量化制备方法,以铁盐及其他任意混配金属盐和有机配体为原料通过控制比例及温度制备一系列金属有机凝胶材料,将其直接作为甲醇燃料电池的阳极催化剂。本发明合成方法简单、重现性好、可批量生产,制备的金属有机凝胶具有优异甲醇燃料电池阳极氧化性能。

用于从流体流中分离水的水分离器

NºPublicación:  CN121311288A 09/01/2026
Solicitante: 
曼·胡默尔有限公司
CN_121311288_PA

Resumen de: WO2024256161A1

The invention concerns a water separator (100) for separating water from a fluid flow, in particular from a gas flow of a fuel cell system, comprising at least a first separation stage (10) with a first flow-conducting region (18), which is connected to a fluid conduit (17). In the fluid conduit (17), a coarse water separator (20) is arranged. A separation region (22) is connected to a water outlet (24). The water separator (100) comprises at least a second separation stage (30) with a second flow-conducting region (38), wherein the second separation stage (30) is arranged downstream of the first separation stage (10). In this context, the second flow-conducting region (38) comprises at least one separation element (50, 60) which is exposed to the oncoming fluid flow.

一种质子陶瓷电解质材料及其制备方法与应用

NºPublicación:  CN121292961A 09/01/2026
Solicitante: 
苏州大学
CN_121292961_PA

Resumen de: CN121292961A

本发明公开了一种质子陶瓷电解质材料及其制备方法与应用,制备方法包括以下步骤:按化学计量比称取碳酸钡、氧化铝及镧系金属氧化物并混合得原料,原料经球磨、干燥、煅烧、再次球磨后的物料干燥后等量分两份,一份与粘结剂混合压片,另一份与碳酸钡混合制牺牲粉末,将片状样品用牺牲粉末包埋后烧结,得到质子陶瓷电解质材料Ba2MAlO5。本发明以固相反应法制备Ba2MAlO5,工艺简洁高效、无复杂设备与特殊条件,操作少、可控性强,适合规模化量产。本发明提供的质子陶瓷电解质材料本身含本征氧空位,无需额外异价掺杂引入,既规避传统掺杂的元素偏析、晶格破坏问题,又能稳定保证高氧空位浓度,为高质子电导率奠定基础。

膜电极组件

NºPublicación:  CN121311979A 09/01/2026
Solicitante: 
瑞典电池公司
CN_121311979_PA

Resumen de: SE2450775A1

:Disclosed is a membrane electrode assembly (6) for a fuel cell stack (2) comprising at least an electricity generating subassembly (14) comprising an ion-conducting membrane (16), and two electro catalyst layers (18, 20) being arranged at either side of the membrane serving as anode (18) and cathode (20), wherein the membrane electrode assembly further comprises at least one subgasket (26) surrounding the electricity generating subassembly (14), wherein at least one subgasket (26, 28) has a first side (26-1; 28-1) facing to the electricity generating subassembly (14) and a second side (16-2; 28-2) being opposite of the first side and facing away from the electricity generating subassembly (14), wherein at least one voltage monitoring interface element (10) is arranged at the membrane electrode assembly (6), which is adapted to contact a voltage providing component of the membrane electrode assembly (6) or of the fuel cell stack, wherein the voltage monitoring interface element (10) is entirely arranged at and supported by at least one side of the subgasket (26; 28), wherein the respective side (26-1, 28-1; 26-2, 28-2) of the subgasket (26; 28) which supports the voltage monitoring interface element (10) is at least partially exposed towards an external environment for providing a connection area (11).

一种加入仿水滴阻块的质子交换膜燃料电池流道结构

NºPublicación:  CN121307078A 09/01/2026
Solicitante: 
长春大学
CN_121307078_PA

Resumen de: CN121307078A

本发明适用于质子交换膜燃料电池流道结构优化领域,提供了一种加入仿水滴阻块的质子交换膜燃料电池流道结构,包括流道,所述流道内设有阻块;其中,所述阻块为两侧具有流线型的仿水滴结构,沿着气体流动方向,阻块为前小后大的布置方向。本发明通过阻块的加入,迫使气体改变传质方向,提高气体的垂直速度分量,使气体以更快的速度进入扩散层到达催化层进行化学反应,提高电流密度,阻块从入口到出口的均匀布置,改善了气体出口处供应不足的问题;与传统的直流道和梯形流道相比,新型流道结构很好的提高了电池的电流密度,由于其阻块形状的特点和流道的设计,流道进出口的压降很小,产生较小的寄生功率,有着最好的净功率性能。

一种用于燃料电池膜电极的复合催化层及其制备方法与应用

NºPublicación:  CN121307065A 09/01/2026
Solicitante: 
上海交通大学贵州梅岭电源有限公司
CN_121307065_PA

Resumen de: CN121307065A

本发明涉及一种用于燃料电池膜电极的复合催化层及其制备方法与应用,复合催化层的制备方法包括将Pt/C催化剂、Fe‑N‑C催化剂、全氟磺酸离聚物树脂和分散溶剂进行混合制备催化剂浆料,之后将催化剂浆料喷涂在含阳极催化层的半侧膜电极另一侧上形成均匀的复合催化层。与现有技术相比,本发明适用于质子交换膜燃料电池膜电极制备,以同时实现低成本、高活性和高稳定性的燃料电池运行。

Procédé de fabrication d’un interconnecteur pour dispositifs électrochimiques à oxyde solide

NºPublicación:  FR3164325A1 09/01/2026
Solicitante: 
GENVIA [FR]
SERVICES PETROLIERS SCHLUMBERGER [FR]
GENVIA,
SERVICES PETROLIERS SCHLUMBERGER
FR_3164325_PA

Resumen de: FR3164325A1

La présente invention concerne un procédé de fabrication d’au moins un interconnecteur pour dispositifs électrochimiques à oxyde solide, ledit interconnecteur comprenant au moins une plaque métallique micro-usinée par gravure chimique ou gravure laser, ladite plaque métallique micro-usinée étant éventuellement revêtue d’une couche de contact électrique ; un interconnecteur obtenu selon ledit procédé ; son utilisation dans un dispositif électrochimique à oxyde solide, de préférence dans une pile à combustible ou un électrolyseur ; et une unité à répétition unique (SRU) pour dispositifs électrochimiques à oxyde solide comprenant ledit interconnecteur.

Plaque bipolaire pour pile à combustible

NºPublicación:  FR3164324A1 09/01/2026
Solicitante: 
CLHYNN [FR]
CLHYNN
FR_3164324_PA

Resumen de: FR3164324A1

Plaque bipolaire pour pile à combustible La présente invention concerne une plaque bipolaire (14) pour pile à combustible comprenant une première face (18) et une deuxième face, un premier ensemble de canaux (26) s’étendant sur la première face et un deuxième ensemble de canaux s’étendant sur la deuxième face, la plaque bipolaire comprenant en outre des unités de refroidissement (30) comprenant des conduits de circulation (36) formés par des orifices traversant l’épaisseur de la plaque bipolaire de la première face à la deuxième face, lesdits conduits de circulation étant configurés pour faire circuler un fluide de refroidissement dans la plaque bipolaire. Les unités de refroidissement sont entourées par le premier ensemble de canaux sur la première face et par le deuxième ensemble de canaux sur la deuxième face. Figure pour l'abrégé : 2

一种在涡轮级间集成火焰燃料电池的涡轮发动机混动系统

NºPublicación:  CN121296280A 09/01/2026
Solicitante: 
哈尔滨工业大学
CN_121296280_PA

Resumen de: CN121296280A

本发明公开了一种在涡轮级间集成火焰燃料电池的涡轮发动机混动系统,包括压气机、燃烧室、高压涡轮及低压涡轮,其还包括富燃燃烧室、燃料电池电堆、贫燃燃烧室、燃料储罐及分流器;富燃燃烧室、燃料电池电堆及贫燃燃烧室构成火焰燃料电池系统并布置在发动机的涡轮级间;利用高压涡轮排出的高温燃气,直接为燃料电池提供无需额外预热的高温氧化剂,并通过富燃燃烧制备燃料气,实现燃料电池高效发电。燃料电池出口含有未反应燃料的尾气在贫燃燃烧室中再燃,对气流进行二次加热后驱动低压涡轮做功,兼具级间燃烧增推的效果。本发明结构简单,布局合理,利用涡轮级间的余热和空间,显著简化燃料电池的热管理系统,实现了推进与发电功能的高效协同。

一种制氢与用氢一体化的浆态燃料电池

NºPublicación:  CN121307106A 09/01/2026
Solicitante: 
上海空间电源研究所
CN_121307106_PA

Resumen de: CN121307106A

本发明公开了一种制氢与用氢一体化的浆态燃料电池,包含:从上到下依次堆叠的上端板、若干单电池、膜分离板、下端板,单电池包含从上到下依次设置的阳极板、膜电极、阴极板;阳极板的正面设置有阳极流道,背面设置有浆态制氢流道;阳极板的正面与其相邻的膜电极的阳极面构成阳极反应单元,阳极板的背面与其相邻的阴极板的背面构成制氢反应单元;浆料从上端板流入制氢反应单元进行反应,反应产物经过膜分离板被分离,分离出的氢气回流经过阳极反应单元,从上端板流出;分离出的液固混合物从下端板流出。本浆态燃料电池将制氢与用氢系统集成于同一燃料电池中,能够简化系统架构、提高能量利用效率和热管理能力。

用于运输载具的电池组件和泵

NºPublicación:  CN121307080A 09/01/2026
Solicitante: 
洛克希德·马丁公司
CN_121307080_PA

Resumen de: CN121307080A

本公开提供了一种电池组件。电池组件包括多个加强件组件。所述多个加强件组件中的每个加强件组件包括:加强件主体;加强件主体的内表面,所述内表面形成穿过加强件主体的中空通道;阴极组件;以及阳极组件。电池组件还包括泵,所述泵与加强件主体的中空通道流体连通,其中泵被配置为使电解质循环通过所述中空通道。

液流电池容量恢复系统及方法

NºPublicación:  CN121307115A 09/01/2026
Solicitante: 
大连融科储能集团股份有限公司
CN_121307115_PA

Resumen de: CN121307115A

本申请公开了一种液流电池容量恢复系统及方法,属于液流电池技术领域,该液流电池容量恢复系统通过将正极储液罐、负极储液罐经由进气管路组件和气体回流管路组件与紫外光催化微反应器相连,使正极电解液产生的氧化气体与负极电解液产生的还原气体得以混合,并在微反应器内经紫外光照射引发燃爆反应,生成的酸性气体最终被送回正极电解液吸收。从而,该系统无需引入外部化学恢复剂或异相催化剂,通过将电池运行中固有的副反应气体转化为可被正极回收的酸性组分,自主地校正了正负极电解液的离子失衡,保持正极电解液和负极电解液的价态平衡,从而抑制并恢复了因副反应持续发生所导致的电池容量衰减,增长液流电池的使用寿命。

一种燃料电池的水淹和膜干燥故障诊断方法、装置及设备

NºPublicación:  CN121307098A 09/01/2026
Solicitante: 
湖北工业大学
CN_121307098_PA

Resumen de: CN121307098A

本发明提供一种燃料电池的水淹和膜干燥故障诊断方法、装置及设备,其中,该方法包括:获取燃料电池在不同运行条件下的运行参数,并对所述运行参数进行预处理;通过基尼重要性对所述燃料电池的运行参数进行重要性评估,得到所述运行参数的重要性分数,调用预先构建的增强型多序列时空图注意力网络,并通过混合量子退火粒子群Adam优化算法对所述增强型多序列时空图注意力网络进行训练;获取所述燃料电池的待测数据,将所述待测数据的特征参数输入所述增强型多序列时空图注意力网络,确定所述燃料电池的故障类型。通过本发明,有效降低了系统故障风险并延长了燃料电池的使用寿命,解决了现有的相关技术中存在的燃料电池故障诊断效果不佳的问题。

用于运行燃料电池系统的方法以及控制设备

NºPublicación:  CN121311980A 09/01/2026
Solicitante: 
罗伯特·博世有限公司
CN_121311980_PA

Resumen de: WO2024235847A1

The invention relates to a method for operating a fuel cell system (1), in which method a gaseous fuel, in particular hydrogen, is supplied to the anode side of a fuel cell stack (2) of the fuel cell system (1), and air as an oxygen supplier is supplied to the cathode side, and in which method the following steps are carried out before the fuel cell system (1) is shut down: a) determining at least one parameter within the fuel cell system (1) and comparing said at least one parameter with at least one predefined first threshold value; b) activating at least one device in order to release thermal energy at a critical point and/or component (3, 4) within the fuel cell system (1) if the first threshold value has been undershot; and c) initiating a drying procedure. The invention also relates to a control device (10) for a fuel cell system (1).

一种用于梯级热耦合控制系统的动态热管理方法及系统

NºPublicación:  CN121297557A 09/01/2026
Solicitante: 
青海黄河上游水电开发有限责任公司光伏产业技术分公司国家电投集团黄河上游水电开发有限责任公司
CN_121297557_PA

Resumen de: CN121297557A

本公开属于热管理技术领域,特别涉及一种用于梯级热耦合控制系统的动态热管理方法及系统。所述方法包括:判断当前梯级热耦合控制系统的运行状态;基于运行状态,实时获取梯级热耦合控制系统的运行参数;根据运行参数调节热流路径,得到实际热流值;利用热流预测模型获取热流预测值,并与实际热流值对比,得到热流差值;根据热流差值调整梯级热耦合控制系统的运行参数,控制梯级热耦合控制系统的动态热流量。本公开基于LSTM神经网络构建了目标函数,配合相变进度‑电阻值映射模型,可以实时调整相变材料的状态,进而实现热流量的分布,完成对梯级热耦合控制系统的动态管理。

一种氯化胆碱和磷酸低共熔体系活化制备N、P共掺杂石墨毡的方法及其在液流电池中的应用

NºPublicación:  CN121307060A 09/01/2026
Solicitante: 
辽宁大学
CN_121307060_PA

Resumen de: CN121307060A

本发明提供一种氯化胆碱和磷酸低共熔体系活化制备N、P共掺杂石墨毡的方法及其在液流电池中的应用。以氯化胆碱和磷酸按比例制备成低共熔体系,将石墨毡浸渍在低共熔体系,后续无需干燥可直接进行热处理;氯化胆碱和磷酸分别作为氮源和磷源,在热解过程中向石墨毡纤维表面引入N和P杂原子,增加石墨毡电极的缺陷活性位点,有效提升电极的电化学反应活性。本发明制备的石墨毡作为液流电池电极,能有效改善石墨毡电极的电化学比表面积及电催化活性,提高电池的能量转化效率和倍率性能。本发明采用无溶剂策略将活化剂引入石墨毡表面,简化了工艺流程,有助于降低成本,提升处理效率,实用性强,适合大规模生产,具有广阔的应用前景。

一种液流电池电堆的装配工艺

NºPublicación:  CN121307117A 09/01/2026
Solicitante: 
湖南金维储能科技有限公司湖南金维新材料科技有限公司湖南金格伦新材料科技有限公司
CN_121307117_PA

Resumen de: CN121307117A

本发明属于液流电池技术领域,特别涉及一种液流电池电堆的装配工艺,包括:S1、一体注塑包覆成型双极板液流框组合单体,双极板液流框组合单体在双极板的一侧为正极侧液流框,边缘形成下延环墙,另一侧为负极侧液流框,边缘形成下凹肩部;S2、在相邻两个双极板液流框组合单体之间放置隔膜,隔膜的边缘到达下延环墙内壁或下凹肩部的侧边部;将隔膜主通液孔分别与正极侧液流框及负极侧液流框的主通液孔对齐,在主通液孔的外围进行激光焊接;再沿着双极板液流框组合单体的下延环墙进行一圈激光焊接,使隔膜边缘的两个侧面分别与两个双极板液流框组合单体的下延环墙内壁和下凹肩部焊接。本发明省去了橡胶密封组件,有效保证电堆整体的使用寿命。

无循环泵燃料电池氢气循环系统的控制方法、设备及介质

NºPublicación:  CN121307094A 09/01/2026
Solicitante: 
美嘉帕拉斯特汽车零部件(上海)有限公司
CN_121307094_PA

Resumen de: CN121307094A

本发明提出了一种无循环泵燃料电池氢气循环系统的控制方法、设备及介质,其通过引射器控制策略,实现了稳态下针对不同负载对引射器尺寸的双自由度精确维持与微调(喷嘴直径和混合式直径的独立无极调节),扩大高效工作区,以确保不同负载下的引射效率最大化,并协同主比例阀控制策略,克服在稳态下系统内部微小的流量波动,确保压力稳定无静差。

一种固体氧化物燃料电池外部下压装置及其使用方法

NºPublicación:  CN121307120A 09/01/2026
Solicitante: 
中国矿业大学(北京)
CN_121307120_PA

Resumen de: CN121307120A

本发明涉及一种固体氧化物燃料电池外部下压装置及其使用方法,该装置包括机架、一个或多个下压组件;所述机架用于固定所述一个或多个下压组件;所述下压组件包括伺服电机、连接件、压力传感器、模具弹簧以及压杆;所述伺服电机固定在机架顶端,伺服电机通过连接件与压力传感器相连接;所述压力传感器的另一端与模具弹簧相连接;所述模具弹簧的另一端与压杆固定连接,所述压杆向固体氧化物燃料电池顶部施加压力。本发明结构简单,能够实现对燃料电池上顶板的多个点同时施加载荷,也可单独调节每个点载荷大小,从而实现对燃料电池上施加下压力的控制。

一种纤维毡及其制备方法和应用

NºPublicación:  CN121295543A 09/01/2026
Solicitante: 
中复神鹰碳纤维股份有限公司
CN_121295543_PA

Resumen de: CN121295543A

本公开提供了一种纤维毡及其制备方法和应用。该纤维毡包括聚丙烯腈纤维和植物纤维,聚丙烯腈纤维与植物纤维的质量比为1:0.38~0.67;纤维毡的孔隙率为78~86%;在纤维毡的孔隙中,微孔孔隙的体积占比为15~25%,介孔孔隙的体积占比为60~70%、大孔孔隙的体积占比为15~20%;其中,微孔孔隙的孔径为1~5μm,介孔孔隙的孔径为20~100μm、大孔孔隙的孔径为100~1000μm。本公开所提供的纤维毡中,植物纤维作为刚性骨架,可弥补聚丙烯腈原丝的连续性,提高纤维毡的抗拉强度,且植物纤维在热解后还能产生微孔,提升纤维毡的孔隙率。此外,该纤维毡的孔隙率为78~86%,且具有多级孔隙网络,可以满足纤维毡在新能源领域,如锂硫电池、燃料电池等方面的性能要求。

一种无涡轮火焰燃料电池-喷气发动机集成混动系统

NºPublicación:  CN121296328A 09/01/2026
Solicitante: 
哈尔滨工业大学
CN_121296328_PA

Resumen de: CN121296328A

本发明涉及一种无涡轮火焰燃料电池‑喷气发动机集成混动系统,属于航空发动机技术领域,包括:燃料供给机构、内部为函道的机匣及均位于函道内的压气机、电动机及火焰燃料电池,火焰燃料电池的进气口与压气机的出气口连通且其燃料进口与燃料供给机构的供料出口连通;电动机与火焰燃料电池电性连接且与压气机传动连接。本发明利用电动机替换传统涡轮结构驱动压气机转动,由于没有了耐温能力有限的涡轮叶片,系统贫燃燃烧室的出口温度不再受涡轮前温度的严格制约,仅取决于喷管材料的耐受极限,因此可以达到远高于传统发动机的燃气温度,从而获得极高的排气速度和比推力,大幅提升了发动机的做功能力。

一种平板式固体氧化物燃料电池电极表面温度测量装置及方法

NºPublicación:  CN121298050A 09/01/2026
Solicitante: 
豆文宣
CN_121298050_PA

Resumen de: CN121298050A

本申请公开了一种平板式固体氧化物燃料电池电极表面温度测量装置及方法,包括自下而上依次叠设的SOFC安装底座、阳极流场板、微型温度传感器阵列、阳极侧密封垫、SOFC阳极燃料流动输送通道、阳极朝下的SOFC单电池、银网、阴极侧密封垫、阴极流场板、盖板和承压结构;阳极流场板两侧分别连接阳极燃料进气管和阳极燃料出气管;阳极流场板连接阳极极耳,阳极极耳连接电导线接入电子负载和数据采集仪;阴极流场板内置有阴极空气流动输送通道,两侧分别连接阴极空气进气管和阴极空气出气管;阴极流场板连接阴极极耳,阴极极耳连接电导线接入电子负载和数据采集仪;微型温度传感器阵列连接电导线接入数据采集仪。记录和采集运行状态下SOFC电极表面温度分布数据。

一种甲醇制氢燃料电池发电机

NºPublicación:  CN121307102A 09/01/2026
Solicitante: 
江柴控股集团有限公司
CN_121307102_PA

Resumen de: CN121307102A

本发明涉及燃料电池发电机技术领域,具体涉及一种甲醇制氢燃料电池发电机:包括燃料电池发电机本体和进气系统,当燃料电池发电机本体的发动机高速运转时,进气主管的混合气通过第一进气管路,输送至气缸中,并且由于第一进气管路为单体直线通道,能够减少进气阻力,保证有足够的混合气量快速进入气缸,当燃料电池发电机本体的发动机低速运转时,进气主管的混合气通过第二进气管路输送至气缸中,并且由于第二进气管路为蛇形盘管通道,其内部设置有导流叶片,可以增加混合气在第二进气管路中的停留时间,提高进气效率,采用上述结构,使得进气系统能够保证在各种工况下都能为燃烧提供充足且合适的混合气。

用于燃料电池的气液分离装置

NºPublicación:  CN121307089A 09/01/2026
Solicitante: 
中国第一汽车股份有限公司
CN_121307089_PA

Resumen de: CN121307089A

本发明公开了一种用于燃料电池的气液分离装置,涉及气液分离技术领域,用于燃料电池的气液分离装置,包括:分离装置本体、第一分离结构和热电制冷片,分离装置本体限定出气液分离空间,且分离装置本体包括气体入口和气体出口,气液分离空间连通气体入口和气体出口,热电制冷片包括制冷部和制热部,制冷部位于气体入口处以使流入气液分离空间内的气体流经制冷部,制热部位于气体出口处以使流出气液分离空间的气体流经制热部。根据本申请的气液分离装置,有利于使气液分离装置的结构简单,有利于减小气液分离装置的空间占用,有利于提高燃料电池的回氢温度,有利于提高气液分离装置的可靠性,有利于延长燃料电池的使用寿命。

电池的仿真建模方法、装置和非易失性存储介质

NºPublicación:  CN121302618A 09/01/2026
Solicitante: 
未势能源科技有限公司
CN_121302618_PA

Resumen de: CN121302618A

本发明公开了一种电池的仿真建模方法、装置和非易失性存储介质。其中,该方法包括:获取基于目标账户输入的目标电池的建模参数;基于建模参数,采用gasket单元对目标电池中的密封胶条进行建模,得到第一模型;选择目标建模模型对目标电池中膜电极组件进行建模,得到第二模型,其中,目标建模模型中包括以下至少之一:gasket单元、非线性弹性体泡沫材料本构模型、弹性体模型、非线性弹性体材料本构模型;对目标电池中的双极板进行建模,得到第三模型;基于第一模型、第二模型和第三模型,确定目标电池的仿真模型。本发明解决了相关技术中电池的仿真建模计算规模较大导致计算周期长、效率较低的技术问题。

用于运输载具的电池组件

NºPublicación:  CN121307081A 09/01/2026
Solicitante: 
洛克希德·马丁公司
CN_121307081_PA

Resumen de: CN121307081A

本公开提供了一种电池组件。所述电池组件包括交叉节点组件。交叉节点组件包括:交叉节点主体;所述交叉节点主体的内表面,所述内表面形成中空内部;以及所述交叉节点主体中的多个开口,其中所述多个开口与所述中空内部流体连通。电池组件包括多个加强件组件。加强件组件包括:加强件主体;加强件主体的内表面,该内表面形成通过所述加强件主体的中空通道,其中所述中空通道与交叉节点主体的所述多个开口中的相应开口流体连通;以及至少一个电池。

膜片堆叠和空气加湿器

NºPublicación:  CN121307087A 09/01/2026
Solicitante: 
马勒国际有限公司
CN_121307087_PA

Resumen de: CN121307087A

本发明涉及一种用于燃料电池的空气加湿器的膜片堆叠,膜片堆叠长方体形地配置、具有堆叠方向并且横向于堆叠方向具有四个堆叠侧,膜片堆叠具有高度方向、纵向方向和横向方向,四个堆叠侧形成进气入口和进气出口以及排气入口和排气出口,膜片堆叠具有多个膜片,多个膜片对于湿气而言是能穿透的并且对于空气而言是不能穿透的,并且多个膜片在堆叠方向上相继,使得膜片在膜片堆叠内分别将进气路径与排气路径分隔开,进气路径将进气入口与进气出口连接,排气路径将排气入口与排气出口连接。通过下述方式能够实现改进的功能安全性:膜片堆叠具有多个间距保持件,间距保持件在堆叠方向上分别布置在排气路径中的一个排气路径中的两个直接相继的膜片之间。

复合质子交换膜和经催化剂涂覆的复合质子交换膜

NºPublicación:  CN121311631A 09/01/2026
Solicitante: 
环球油品有限责任公司
CN_121311631_PA

Resumen de: AU2024312898A1

Composite proton exchange membranes are described. The composite protonexchange membranes comprise three layers including a proton exchange membrane layer, a continuous nonporous organic-inorganic composite coating layer, and a continuous nonporous cross-linked polyelectrolyte multilayer coating. Catalyst coated membranes incorporating the composite proton exchange membranes and methods of making the composite proton exchange membranes are also described.

一种一体式三维迷宫孔隙气体扩散层及其制备方法

NºPublicación:  CN121307056A 09/01/2026
Solicitante: 
大连交通大学
CN_121307056_PA

Resumen de: CN121307056A

本发明公开了一种一体式三维迷宫孔隙气体扩散层及其制备方法,属于质子交换膜燃料电池领域。该方法通过计算机辅助设计并三维打印获得具有预设迷宫微通道网络的可去除模板;将不同疏水剂含量的碳基前驱体浆料依次在模板外侧真空抽滤沉积,利用渗透阻力差与沉积顺序形成沿厚度方向连续变化的梯度疏水结构;经固化并在惰性气氛下碳化后,模板自动移除,得到与模板结构互补的三维迷宫孔隙网络及无界面分层的一体式扩散层。该结构可实现可设计化气体通道、多尺度水气共传输,提高水管理能力,降低传输阻力,增强燃料电池功率密度与稳定性。本方法流程简单、结构可控性强,适用于不同类型燃料电池的定制化制备。

一种固体氧化物燃料电池阴极修饰方法及其制备的电池

NºPublicación:  CN121307055A 09/01/2026
Solicitante: 
中自科技股份有限公司
CN_121307055_PA

Resumen de: CN121307055A

本发明固体氧化物燃料电池领域,公开了一种固体氧化物燃料电池阴极修饰方法及其制备的电池,方法包括:S1、获取待加工的具有多孔阴极骨架的固体氧化物燃料电池;S2、配制包含镧系钙钛矿材料前驱体的浸渍液;S3、采用超声喷涂设备将浸渍液均匀喷涂至多孔阴极骨架表面;S4、将喷涂后的固体氧化物燃料电池放置于真空泵中进行抽真空预处理;S5、第一阶段热处理;S6、重复步骤S3至S5,直至催化剂质量负载量达到设定取值范围;S7、第二阶段热处理,完成阴极催化层的原位形成。本发明能够实现纳米催化剂均匀负载、显著提升电池中低温性能、且适合规模化生产。

一种基于尾气CO2回收利用的SOFC-GT混合循环发电系统

NºPublicación:  CN121307105A 09/01/2026
Solicitante: 
重庆大学
CN_121307105_PA

Resumen de: CN121307105A

本发明公开了一种基于尾气CO2回收利用的SOFC‑GT混合循环发电系统,包括SOFC‑GT联合发电子系统、尾气处理模块及电化学还原模块。尾气处理模块接收SOFC‑GT联合发电子系统排出的气体,尾气处理模块用于吸收气体中的CO2,提纯后解吸输出CO2。电化学还原模块包括电解槽,电解槽接收解吸输出的CO2,电解槽利用电能驱动CO2发生电化学还原反应生成CO2还原物,CO2还原物反馈至SOFC‑GT联合发电子系统被利用。上述基于尾气CO2回收利用的SOFC‑GT混合循环发电系统,实现了碳元素在系统内部的闭环流动,将传统的排放废物转化为高价值燃料,显著提升了碳利用效率和系统经济性,降低了混合气的储存和利用成本。

用于电催化的微型层叠电解池及其应用

NºPublicación:  CN121295214A 09/01/2026
Solicitante: 
江苏科技大学
CN_121295214_PA

Resumen de: CN121295214A

本发明属于电催化领域,公开了用于电催化的微型层叠电解池及其应用。该微型层叠电解池包括压板、中室、紧固件以及阴极、交换膜和阳极;中室包括流体腔、流体腔外壁、流体通道和内嵌管道;还可以包括流体加速带。多个中室和压板组合连用,在其间插入各类片状电极以及交换膜,可满足各种电催化领域的不同需求。该电解池在保证使用功能与目前主流的流动电解池一致的前提下,具有材料成本低、单池改装能力强,密封性好等特点。

一种膜电极及其制备方法、应用

NºPublicación:  CN121307108A 09/01/2026
Solicitante: 
合肥综合性国家科学中心能源研究院(安徽省能源实验室)
CN_121307108_PA

Resumen de: CN121307108A

本发明涉及膜电极技术领域,尤其涉及一种膜电极及其制备方法、应用。其技术方案包括以下步骤:以下步骤:对商业碳纳米管在300‑800℃下进行高温预处理10‑60min,获得具有开口结构的碳纳米管,将所得碳纳米管加入高速搅拌的金属氧酸盐水溶液中,在25‑80℃、10‑1000r/min搅拌转速下进行封装反应,制得金属氧酸盐封装于碳纳米管内部的复合物;将所述复合物与Nafion离聚物、乙醇及商业铂碳催化剂混合。本发明成功实现了膜电极在综合性能、长效耐久性与制造成本之间的最优平衡,为高性能燃料电池的开发提供了关键技术支撑。

一种用于氢燃料电池的高温防护装置

NºPublicación:  CN121307084A 09/01/2026
Solicitante: 
浙江工业大学之江学院
CN_121307084_PA

Resumen de: CN121307084A

本发明提供一种用于氢燃料电池的高温防护装置,涉及电池防护设备领域,包括底座和设置于底座上的电池本体,所述电池本体的外部设置有防护机构,防护机构包括第一防护板、第二防护板、第一顶板、第二顶板、转环,所述底座的顶部两侧均固定连接有第一防护板,所述第一防护板的顶部固定连接有第一顶板,所述转环转动配合于底座上。该用于氢燃料电池的高温防护装置,通过防护机构的设置,转环驱动第二防护板旋转,实现电池暴露与封闭的快速切换,兼顾防护与应急散热需求,通过降温组件的设置,风机强制对流,配合通风孔形成风道,常规工况下稳定控温,能够在电池本体运作的过程中开启风机,风机开启后,风机向防护空间内吹风。

一种氢能系留电源控制方法及相关装置

NºPublicación:  CN121307099A 09/01/2026
Solicitante: 
珠海电力建设工程有限公司中云智能科技(广州)有限公司
CN_121307099_PA

Resumen de: CN121307099A

本发明公开了一种氢能系留电源控制方法及相关装置,涉及氢能系留技术领域,其方法包括:获取环境温度值、环境湿度值以及系统持续运行时间;基于所述环境温度值、环境湿度值和系统持续运行时间判断输氢管道内的水蒸气是否处于高凝结风险;若判断所述水蒸气处于高凝结风险时,则按照预设周期调节氢气供给管路上的流量控制阀在所述输氢管道内形成氢气脉冲,所述氢气脉冲在所述输氢管道内按照预设持续时间和预设流量强度对凝结水进行剥离和雾化。本发明保证了氢能系留电源系统在复杂环境和长时间运行下的稳定性和可靠性,降低了不必要的运维负担。

燃料电池的故障诊断方法、装置及计算机可读存储介质

NºPublicación:  CN121307100A 09/01/2026
Solicitante: 
中国第一汽车股份有限公司
CN_121307100_PA

Resumen de: CN121307100A

本申请实施例提供一种燃料电池的故障诊断方法、装置及计算机可读存储介质。其中,方法包括:在确定燃料电池出现故障的情况下,获取燃料电池中底部第一单体电池的位置、底部第二单体电池的位置、氢气进堆温度和氢气循环泵功耗;在底部第一单体电池位置和底部第二单体电池的位置为预设位置,或者,底部第一单体电池位置为预设位置且氢气进堆温度小于预设温度阈值,或者,底部第一单体电池位置为预设位置且氢气循环泵功耗大于预设功耗阈值的情况下,确定燃料电池为水淹故障。由此,该方法提高了故障诊断的准确性和及时性,减少了误判和漏判的可能性,有助于及时采取相应的恢复措施,延长燃料电池的使用寿命,提升系统的整体可靠性和稳定性。

两级水分离器系统

NºPublicación:  CN121288423A 09/01/2026
Solicitante: 
曼·胡默尔有限公司
CN_121288423_PA

Resumen de: CN121288423A

本发明涉及两级水分离器系统。一种两级水分离器装置(1;1')包括水分离器壳体(2),其包括第一级水分离腔室(3)和第二级水分离腔室(4)。所述第一级水分离腔室(3)包括载水体积流入口端口(8),所述载水体积流入口端口(8)限定载水体积流入口通道(15),以用于将载水体积流引导到所述第一级水分离腔室(3)中,并且所述第二级水分离腔室(4)包括不载水体积流出口端口(9),所述不载水体积流出口端口(9)限定不载水体积流出口通道(19),以用于将不载水体积流引导出所述第二级水分离腔室(4),在所述载水体积流和所述不载水体积流之间发生从水平到竖直的流动方向转变。

一种燃料电池吹扫效果综合评价优化方法及相关装置

NºPublicación:  CN121302722A 09/01/2026
Solicitante: 
同济大学
CN_121302722_PA

Resumen de: CN121302722A

本申请公开了一种燃料电池吹扫效果综合评价优化方法及相关装置,涉及燃料电池技术领域,该方法包括:基于实验设计方法,获取不同吹扫条件组合及对照实验组的实验结果;吹扫条件包括:气体计量比、背压、相对湿度、温度和负载电流密度;所述对照实验组为待优化的吹扫条件组合;基于实验结果,计算不同吹扫条件组合中的吹扫评价指标;吹扫评价指标包括:吹扫时间、HFR弛豫程度和一致性;基于吹扫评价指标和多指标参数分析方法,进行吹扫效果的综合评价分析,建立吹扫条件与吹扫评价指标之间的数学模型;以数学模型作为目标函数,基于多目标优化方法对多个吹扫评价指标进行协同优化,得到优化结果。本申请可提升燃料电池的整体吹扫效果。

燃料电池运行故障诊断方法、设备、介质及产品

NºPublicación:  CN121307101A 09/01/2026
Solicitante: 
同济大学
CN_121307101_PA

Resumen de: CN121307101A

本申请公开了一种燃料电池运行故障诊断方法、设备、介质及产品,涉及电池诊断领域,该方法包括:实时获取目标燃料电池的目标工况数据,目标工况数据包括当前负载电流值和当前阻抗谱数据;将目标工况数据作为目标深度学习模型的输入,通过目标深度学习模型预测目标燃料电池的故障状态;其中,目标深度学习模型已经通过训练学习得到目标工况数据与故障状态之间的映射关系,通过引入当前负载电流值作为额外的预测依据,可以提高故障工况的预测准确率,解决了目前燃料电池运行故障诊断方法存在诊断精度不足的问题。

离子交换膜与电极框的热熔贴合结构及贴合方法

NºPublicación:  CN121307112A 09/01/2026
Solicitante: 
中国电气装备集团科学技术研究院有限公司
CN_121307112_PA

Resumen de: CN121307112A

本发明提供了一种离子交换膜与电极框的热熔贴合结构及贴合方法,包括第一胶体、第二胶体、离子交换膜、第一电极框以及第二电极框。第一电极框具有第一粘接区和第二粘接区,第一粘接区呈环形,第一粘接区域的中心位于第一电极框的中心区域,第二粘接区呈环形,第二粘接区环设于第一粘接区的周向边缘。第一胶体的第一表面粘接于第一粘接区,第二胶体的第一表面粘接于第二粘接区,离子交换膜的第一表面粘接于第一胶体的第二表面和第二胶体的第二表面,第二电极框粘接于离子交换膜的第二表面。第一胶体为SEPS胶膜,第二胶体为聚烯烃胶膜。解决了现有技术中存在的离子交换膜和电极框在长时间高低温或者压力交变的过程中易发生剥离的问题。

一种自修复尖晶石防护涂层及其制备方法与应用

NºPublicación:  CN121295294A 09/01/2026
Solicitante: 
广东省科学院新材料研究所
CN_121295294_PA

Resumen de: CN121295294A

本发明公开了一种自修复尖晶石防护涂层及其制备方法与应用,属于燃料电池技术领域。该自修复尖晶石防护涂层包括在基体表面由内至外依次设置的第一防护层和第二防护层;第一防护层的成分包括Mn‑Co尖晶石及稀土元素,Mn与Co的摩尔比为1:1至1:2,稀土元素包括Ce、Y、Gd、La、Sm和Sc中的至少一种;第二防护层的成分包括Cu‑Mn尖晶石以及自修复相,Cu与Mn的摩尔比为1:1至1:4,自修复相包括B2O3、SiO2、五氧化二钒、氧化钼等。该自修复尖晶石防护涂层能有效阻止Cr的向外扩散以及O的向内扩散,并能有效填补裂纹等缺陷,可大幅提高固体氧化物燃料电池的冷热循环性能、快速启停能力、抗振动能力等。

一种液流电池用多级孔隙石墨毡及其制备方法

NºPublicación:  CN121307052A 09/01/2026
Solicitante: 
常州大学
CN_121307052_PA

Resumen de: CN121307052A

本发明公开了一种液流电池用多级孔隙石墨毡及其制备方法,属于化学储能技术领域。本发明旨在解决现有石墨毡电极催化活性低、催化剂易脱落等问题。其制备方法包括:将热固性树脂、造孔剂和含铋化合物均匀混合制备成前驱体混合液;然后将石墨毡浸没于该混合液中进行溶剂热处理,使前驱体均匀渗透并牢固附着在石墨毡纤维表面;在惰性气氛下高温热解。热解过程中,树脂原位转化为导电多孔碳层,造孔剂分解形成丰富的多级孔道,含铋化合物被碳热还原为高度分散的金属铋纳米催化剂,并被限域在多孔碳骨架中。本发明制备的石墨毡电极兼具高催化活性、优异的传质通道和高稳定性,且制备工艺简单,成本可控,适用于大规模生产。

ガス燃料を貯蔵するためのタンク装置を作動させる方法、およびガス燃料を貯蔵するためのタンク装置

NºPublicación:  JP2026500949A 09/01/2026
Solicitante: 
ロベルト・ボッシュ・ゲゼルシャフト・ミト・ベシュレンクテル・ハフツング
JP_2026500949_PA

Resumen de: CN120569590A

The invention relates to a method for operating a tank arrangement (1) for storing gaseous fuel for a motor vehicle, said tank arrangement (1) comprising a plurality of tank containers (TB1, TB2,..., TBn) and comprising at least one valve device (2). The invention also relates to a tank arrangement (1) for storing gaseous fuel for a motor vehicle (F), comprising a plurality of tank containers (TB1, TB2,..., TBn) and at least one valve device (2) on the tank containers.

H2で作動する自動車のH2タンクに配置するためのH2タンク弁

NºPublicación:  JP2026500922A 09/01/2026
Solicitante: 
ロベルト・ボッシュ・ゲゼルシャフト・ミト・ベシュレンクテル・ハフツング
JP_2026500922_PA

Resumen de: CN120380284A

The invention relates to an H2 tank valve (1) for arrangement on an H2 tank (40) of an H2-operated motor vehicle, comprising: at least one flange (42a) for connecting the H2 tank valve (1) to an interior of the H2 tank (40); a temperature sensor module (10) arranged at least partially inside the at least one flange (42a) for detecting a current temperature inside the H2 tank (40) when the flange (42a) is connected to the H2 tank (40); and a plug connector (30) which can be electrically connected to the temperature sensor module (10) for current and data transmission, the plug connector (30) being arranged laterally outside the at least one flange (42a).

一种用于锌溴液流电池的改性碳塑双极板及其制备方法和锌溴液流电池

NºPublicación:  CN121307075A 09/01/2026
Solicitante: 
西安热工研究院有限公司
CN_121307075_PA

Resumen de: CN121307075A

本发明属于锌溴液流电池技术领域,特别涉及一种用于锌溴液流电池的改性碳塑双极板及其制备方法和锌溴液流电池,包括:对碳塑双极板进行除污处理,获得清洁的碳塑双极板;利用预设的气体等离子体对清洁的碳塑双极板进行表面改性处理,以在清洁的碳塑双极板表面引入含氧官能团,并形成预设的微观形貌结构,获得改性碳塑双极板;其中,预设的气体等离子体为等离子体态的空气、等离子体态的氧气或等离子体态的空气‑氧气混合气体;本发明通过等离子体表面处理技术对锌溴液流电池碳塑双极板进行改性的方法,实现亲水性、电化学性能和锌沉积行为的协同优化,解决锌枝晶引发的电池失效问题,提升电池循环寿命及能量效率。

一种燃料电池电堆量化设计方法、装置、电子设备和存储介质

NºPublicación:  CN121302708A 09/01/2026
Solicitante: 
上海捷氢科技股份有限公司
CN_121302708_PA

Resumen de: CN121302708A

本申请公开了一种燃料电池电堆量化设计方法、装置、电子设备和存储介质,该方法和装置应用于电子设备,具体为对燃料电池的多种运行状态进行量化处理,包含干湿状态、传质状态、及二者的平衡状态,得到对应的多种运行状态参数;对燃料电池的多种运行特性,建立特性函数,包含电压一致性、一致性稳定性、最优性能、性能的稳定性、及一致性与性能的同步性;获取通过对所述燃料电池进行仿真或台架试验所产生的一组运行参数敏感性数据;基于所述运行参数敏感性数据构建所述运行状态的增量曲线和量化方程;基于运行状态的增量方程对各运行特性函数进行关联与量化定义,得到多种指示函数,所述指示函数用于在设计过程中对所述电堆的运行状态或运行特性进行量化设计或评价。通过量化设计或评价可以在设计过程中能够对相互耦合的多种特性进行取舍,从而提高了设计的科学性和效率。

一种氢燃料电池应急电源车的供氢供氧方法

NºPublicación:  CN121307104A 09/01/2026
Solicitante: 
国网浙江省电力有限公司嘉善县供电公司龙泉产业创新研究院浙江大学国网电力科学研究院武汉南瑞有限责任公司国网浙江省电力有限公司电力科学研究院华中科技大学国网浙江省电力有限公司嘉兴供电公司
CN_121307104_PA

Resumen de: CN121307104A

一种氢燃料电池应急电源车的供氢供氧方法,包括:一、提供一种氢燃料电池应急电源车的供氢供氧系统;二、信息获取;三、数据处理;本发明的FL‑LADRC算法在保证扰动抑制能力的前提下,具有结构简洁、计算负担低、实现成本小的特点,尤其适合嵌入式平台或资源受限设备使用。该方法通过引入滑模微分观测器解决了阴极压力不可测的问题,并结合改进的扩张状态观测器对氧气流量与阴极压力间的动态耦合关系进行实时补偿,有效消除了“氧饥饿”与“水淹”等运行风险,提升了燃料电池空气供给系统的稳态精度与动态鲁棒性,另外,采用了IGA‑BP预测以及NNMPC控制算法相较于传统的PID控制算法有显著的性能提升,更能满足应急电源车在保电作业中的紧迫性和稳定性要求。

一种阴极闭式空冷燃料电池系统及其低温启动方法

NºPublicación:  CN121307090A 09/01/2026
Solicitante: 
苏州溯驭技术有限公司
CN_121307090_PA

Resumen de: CN121307090A

本发明提供了一种阴极闭式空冷燃料电池系统及其低温启动方法,可以实现可靠的低温启动,提升电堆的低温环境适应性并延长其使用寿命,包括步骤:当监测到电堆温度低于低温第一阈值时,启动冷却路加热器和空气路加热器,协同控制冷却路风扇的转速和鼓风机转速,使得冷却空气出口处的温度与空气路出口处的温度的差值维持在预设区间内;当监测到电堆温度达到低温第一阈值后,施加负载电流,负载电流以预设的斜率随时间增加;当监测到电堆温度达到预设的第二低温阈值后,继续增加负载电流至目标电流,随后根据监测到的电堆温度与梯度目标温度的偏差以及电堆温度的变化趋势协同调节冷却路风扇的转速,直至电堆温度升至接近电堆最佳运行温度。

一种船舶用钒电池电池、储能装置及动力系统

NºPublicación:  CN121307113A 09/01/2026
Solicitante: 
江苏飞钒新能源科技有限公司
CN_121307113_PA

Resumen de: CN121307113A

本发明公开了一种船舶用钒电池电池、储能装置及动力系统,所述系统包括:船舶用钒电池的正极材料:由粘结剂、导电剂以及以磷酸钒锂为核心的混合材料构成;混合材料、粘结剂和导电剂的质量比为:92:5:3;船舶用钒电池的负极材料:由粘结剂、导电剂以及以GrHC构成;GrHC、粘结剂和导电剂的质量比为:94:3:3;本发明能够通过正极材料、负极材料、电解液及其配方,以及优化石墨/硬碳复合材料的制备流程和电芯制造流程,提高电池的充放电效率,降低了电池因发热产生的安全隐患和性能衰减,有效提升了电池的能量转换效率,便于进行精准的电池管理,确保电池在不同环境温度下都能稳定运行。

一种改性碳负载铂合金催化剂及其制备方法和应用

NºPublicación:  CN121307064A 09/01/2026
Solicitante: 
格林美股份有限公司格林美(深圳)超级绿色技术研究中心有限公司
CN_121307064_PA

Resumen de: CN121307064A

本发明提供了一种改性碳负载铂合金催化剂及其制备方法和应用,所述制备方法包括以下步骤:将多孔碳载体、铂源、掺杂金属源与溶剂混合进行反应,对反应得到的固体物料进行第一热处理得到多孔碳负载铂合金催化剂;对多孔碳负载铂合金催化剂进行ALD沉积碳源处理,形成碳包覆前驱体;使用含氮混合气对碳包覆前驱体进行第二热处理,得到所述改性碳负载铂合金催化剂。本发明所述方法通过对催化剂颗粒的直接、定点、均匀的保护,能够在氮掺杂进入催化剂内部的基础上,在多孔碳载体内部实现完整、均匀且氮掺杂的石墨包覆层,以氮作为媒介,从根本上提升金属‑碳界面的化学锚定强度,抑制金属粒子团聚与溶解。

一种电解质单面设计的电芯、电池及其应急发电装置

NºPublicación:  CN121307315A 09/01/2026
Solicitante: 
深圳市博容能源有限公司
CN_121307315_PA

Resumen de: CN121307315A

本发明涉及一种电解质单面设计的电芯、电池及其应急发电装置,沿气流方向依次层叠设置的支撑导流组件、电流收集组件、催化反应组件、离子传导组件及阴极供能组件,各组件通过封装壳体固定连接;所述支撑导流组件包括刚性隔板,所述刚性隔板朝向电流收集组件的一侧表面一体成型有若干阵列分布的凸起结构,所述电流收集组件为镍网,镍网的一侧表面与刚性隔板的凸起结构顶部呈面接触配合,镍网远离凸起结构的一侧表面与催化反应组件紧密贴合,所述催化反应组件通过粘结剂固定于镍网表面,所述电解质层紧密覆盖于催化反应组件远离镍网的一侧,所述阴极极供能层与电解质层单侧接触,以实现防止离子传导组件中的水分渗透,提高电化学反应速率的目的。

一种在燃烧室集成火焰燃料电池的涡轮发动机混动系统

NºPublicación:  CN121296281A 09/01/2026
Solicitante: 
哈尔滨工业大学
CN_121296281_PA

Resumen de: CN121296281A

本发明公开了一种在燃烧室集成火焰燃料电池的涡轮发动机混动系统,包括:压气机、火焰燃料电池组件以及涡轮;火焰燃料电池组件设置在压气机与涡轮之间,以取代传统燃烧室;压气机与涡轮同轴布置;火焰燃料电池组件包括:富燃燃烧室和固体氧化物燃料电池电堆;压气机的出口与富燃燃烧室的空气入口连通;富燃燃烧室的出口与固体氧化物燃料电池电堆的阳极入口连通,燃料供应管路的出口与富燃燃烧室的燃料入口连通;固体氧化物燃料电池电堆与机上用电负载连接,并为机上用电负载。本发明中的涡轮发动机混动系统可以同时兼顾推进与发电。

一种无定形硼磷共掺杂钴钼硫化物及其制备方法和应用

NºPublicación:  CN121306799A 09/01/2026
Solicitante: 
中原工学院
CN_121306799_PA

Resumen de: CN121306799A

本发明属于能量存储与转化技术领域,公开了一种无定形硼磷共掺杂钴钼硫化物及其制备方法和应用,用以解决CoMoS4的电化学性能较差的技术问题。步骤为:将钴盐、钼盐、脲和磷酸硼加入到去离子水中,得到溶液A;将泡沫镍置于溶液A中,经水热反应,得到硼磷共掺杂钴钼前驱体;硼磷共掺杂钴钼前驱体置于硫化剂的水溶液中,经二次水热反应,得到BP‑CoMoS4。硼磷共掺杂可以促进形成无定形区结构,暴露更多活性位点,改善CoMoS4材料的导电性。本发明中的无定形BP‑CoMoS4价格低廉,制备简便,易于大规模应用和产业化,其为开发同时适用于超级电容器和碱性DMFC阳极催化剂的高性能双金属硫化物提供新的策略。

金属分离板

NºPublicación:  CN121311978A 09/01/2026
Solicitante: 
现代制铁株式会社
CN_121311978_PA

Resumen de: WO2025058446A1

The present application relates to a metal separator, a fuel cell comprising the metal separator, and a fuel cell stack comprising the fuel cell. According to the metal separator of the present application, deformation of manifold inlet and outlet holes can be prevented, airtightness can be ensured, and the flow rates of injected and discharged reaction gases can be uniformly distributed.

一种钠盐及磷酸铵盐协同改性的全钒液流电池正极电解液、全钒液流电池及其制备方法和应用

NºPublicación:  CN121307116A 09/01/2026
Solicitante: 
平高集团有限公司
CN_121307116_PA

Resumen de: CN121307116A

本发明涉及一种钠盐及磷酸铵盐协同改性的全钒液流电池正极电解液、全钒液流电池及其制备方法和应用,属于全钒液流电池技术领域。通过以全钒液流电池正极电解液作为溶剂,加入钠盐和磷酸铵盐,进行搅拌,得到改性全钒液流电池正极电解液。其中铵根离子的水解平衡可以维持电解液酸碱度的相对稳定,钠离子可以降低欧姆极化并改善钒离子传输动力学,磷酸根离子能够与钒离子形成钒‑氧‑钒键来提升离子络合状态的稳定性。所使用的钠盐及磷酸铵盐原材料成本低廉,改性实现路径简单,钠盐及磷酸铵盐添加剂的协同作用可以有效提升钒电解液的稳定性及氧化还原反应活性,保障电池的高效、稳定运行。

介孔碳载体及其制备方法、燃料电池催化剂

NºPublicación:  CN121292412A 09/01/2026
Solicitante: 
中汽创智科技有限公司
CN_121292412_PA

Resumen de: CN121292412A

本申请公开了一种介孔碳载体及其制备方法、燃料电池催化剂,制备方法包括:使用酸溶液对植物叶片进行浸渍处理,得到浸渍产物;对浸渍产物进行冷冻干燥,得到冷冻干燥产物;对冷冻干燥产物进行碳化处理,得到具有初始介孔结构的初始碳载体;将初始碳载体置于刻蚀气体氛围中进行热处理,对初始介孔结构进行调节,得到介孔碳载体。本申请通过采用生物质原料以及采用气相氧化刻蚀工艺,能够制备得到具有丰富介孔结构且比表面积大的介孔碳载体。

燃料电池瞬态负载自适应控制系统及其控制方法与应用

NºPublicación:  CN121308291A 09/01/2026
Solicitante: 
深圳市雄韬电源科技股份有限公司
CN_121308291_PA

Resumen de: CN121308291A

本申请涉及一种燃料电池瞬态负载自适应控制系统,包括燃料电池、功率型储能单元、能量型储能单元、DC/DC变换器、负载及多级协调控制器;所述燃料电池与所述DC/DC变换器连接;所述DC/DC变换器分别与所述多级协调控制器、所述功率型储能单元、所述能量型储能单元、所述负载连接。本申请还提供一种燃料电池瞬态负载自适应控制方法及其应用。本申请将功率型储能单元与能量型储能单元结合,形成分级瞬态功率缓冲体系,使得功率型储能单元优先响应瞬态功率,从而消除能量型储能单元的倍率限制瓶颈,避免燃料电池受到电流冲击;同时,可以同步控制阴极的氧气扩散,有效降低了阴极气体饥饿发生率,延长了膜电极寿命。

燃料电池的活化方法、装置、设备、存储介质和程序产品

NºPublicación:  CN121307091A 09/01/2026
Solicitante: 
清研易氢能源科技(常州)有限公司
CN_121307091_A

Resumen de: CN121307091A

本申请涉及一种燃料电池的活化方法、装置、计算机设备、计算机可读存储介质和计算机程序产品。所述方法包括:在空冷燃料电池处于环境仓的情况下,控制空冷燃料电池基于第一预设电压进行放电,在检测到空冷燃料电池的电堆温度达到第一预设温度的情况下,控制空冷燃料电池进行降温处理,在检测到空冷燃料电池的电堆温度达到第二预设温度的情况下,控制空冷燃料电池基于第二预设电压进行放电,在检测到当前的放电时间达到时间阈值的情况下,控制空冷燃料电池停止放电。采用本方法能够提升空冷燃料电池的活化效率。

一种固体氧化物燃料电池余热梯级回收系统

NºPublicación:  CN121307082A 09/01/2026
Solicitante: 
天津大学
CN_121307082_PA

Resumen de: CN121307082A

本发明涉及一种固体氧化物燃料电池余热梯级回收系统,包括固体氧化物燃料电池电堆SOFC、尾部燃烧器、碱金属热电转换器AMTEC、热电发电机TEG、空气预热器、燃料预热器。阴极进气先流经AMTEC冷侧,与AMTEC热端的高温尾气初次换热升温后,再进入空气预热器进一步加热至SOFC高效反应温度;阳极燃料气通过燃料预热器与空气预热器出口尾气热交换,从常温提升至反应温度;SOFC尾气经尾部燃烧器燃烧生成高温气体,高温气体先进入AMTEC热端通过温差发电,AMTEC冷端释放热量用于阴极进气初次预热;经过空气预热器与燃料预热器降温后的AMTEC中高温尾气进入TEG热端二次发电。

一种锌溴液流电池多功能双极板及其制备方法和应用

NºPublicación:  CN121307076A 09/01/2026
Solicitante: 
华能赫章风力发电有限公司西安热工研究院有限公司
CN_121307076_A

Resumen de: CN121307076A

本发明公开了一种锌溴液流电池多功能双极板及其制备方法和应用,方法包括:将聚苯胺加入到十六烷基三甲基溴化铵乙醇溶液中,搅拌超声后,得到混合溶液并喷涂于预处理后的聚丙烯双极板的正极侧,干燥后,得到聚苯胺修饰的聚丙烯双极板;将β‑环糊精溶解在NaOH溶液中,再加入环氧氯丙烷,搅拌反应后,洗涤至中性,烘干、研磨过筛,得到环糊精聚合物分散在Nafion溶液中,得到环糊精聚合物溶液并喷涂于聚苯胺修饰的聚丙烯双极板的负极侧,干燥后,得到锌溴液流电池多功能双极板。在双极板正极侧负载聚苯胺降低溴渗透源、溴反应活化能,在负极侧用环糊精聚合物Nafion溶液修饰稳定电解液pH值、促进锌均匀致密沉积、减少尖锐枝晶形成,提升电池电化学性能和长期稳定性。

一种氢电动力包

NºPublicación:  CN121307118A 09/01/2026
Solicitante: 
浙江天能氢能源科技有限公司
CN_121307118_PA

Resumen de: CN121307118A

本发明提供一种氢电动力包,包括系统框架,所述系统框架包括上层置物层、中层置物层和下层置物层,所述系统框架外围覆盖有蒙皮,蒙皮上设有通风口,所述蒙皮上设有对外接头,所述对外接头包括空气入口、氢气入口、阴极尾排口、通讯口、电压输出口、充电插座;上层置物层设有DCDC、逆变器、水箱和空气滤清器;中层置物层设有燃料电池系统,燃料电池系统包括电堆,所述系统框架的一侧对应中层置物层的高度设有散热器总成;下层置物层设有储能系统和启动系统。本发明快速部署的模块化设计,可以将氢能电池包设计得更小巧,支持模块化的电源扩展;本发明的氢能电池包既可发电也可储能,即插即用,具有自启动功能。

用于加湿器的膜元件以及加湿器

NºPublicación:  CN121307088A 09/01/2026
Solicitante: 
曼·胡默尔有限公司
CN_121307088_PA

Resumen de: CN121307088A

一种用于加湿器(100)的膜元件(10),包括:膜介质波纹部(12),所述膜介质波纹部(12)呈锯齿状褶皱并包括膜介质,所述膜介质是水分可渗透但是气体不可渗透的,所述膜介质波纹部(12)围绕纵向轴线(14)至少部分地沿周向方向延伸,所述膜介质波纹部(12)还包括基本平行于纵向轴线(14)延伸的褶皱(16),并且所述膜介质波纹部(12)还包括位于内部周边(18)处的内部褶皱折叠部(20)和位于外部周边(22)处的外部褶皱折叠部(24);支撑本体(40),包括中空本体和设置在膜介质波纹部(12)的内部周边(18)处的外壁(42);以及集成到支撑本体(40)中的旁通阀(30),所述旁通阀(30)用于选择性地阻断和连通穿过支撑本体(40)的流体通路(38)。

单级水分离器系统

NºPublicación:  CN121288422A 09/01/2026
Solicitante: 
曼·胡默尔有限公司
CN_121288422_PA

Resumen de: CN121288422A

一种单级水分离器设备(1)包括:水分离器壳体(2),其包括水分离室(3)和水收集室(4);载水体积流入口端口(8),其限定用于将载水体积流引导至水分离室(3)中的载水体积流入口通道(11);水体积流出口端口(10),其限定用于将水体积流引导出水收集室(4)的水体积流出口通道(12);未载水体积流出口端口(9),其限定用于将未载水体积流引导出水分离室(3)的未载水体积流出口通道(13);以及浸入管(5),其包括浸入在水分离室(3)中并且用于将未载水体积流出口端口(9)与水分离室(3)流体地连接的浸入管部分(7)。

一种制氢储氢能源设备及系统

NºPublicación:  CN121307085A 09/01/2026
Solicitante: 
永安行科技股份有限公司常州永安行氢能科技有限公司
CN_121307085_PA

Resumen de: CN121307085A

本发明提供了一种制氢储氢能源设备及系统,属于氢储能技术领域,所述制氢储氢能源设备包括柜体,上端面上开设有取放口,用于取放储氢装置;所述储氢装置,安装在所述柜体的上部;燃料电池发电装置,预安装在所述储氢装置的下方;蓄水箱、制氢装置、气水分离装置和能量管理装置均固设于所述柜体的底部。本发明提供的制氢储氢能源设备同时具有制氢、用氢和发电三个功能,可以利用太阳能和水便捷地转化为绿色氢能与电能,具有使用安全、结构小型化、使用和维修便捷化,以及成本适中等优点。

氢燃料电池参数优化方法与装置

NºPublicación:  CN121302943A 09/01/2026
Solicitante: 
武汉飞思特新能源科技有限公司
CN_121302943_PA

Resumen de: CN121302943A

本申请公开了一种氢燃料电池参数优化方法与装置,涉及燃料电池技术领域,该方法包括:根据催化物层微观结构和宏观变量建立多物理场耦合模型,用于量化铂催化剂分布对电池性能的影响。基于反应物浓度分布特征和多物理场耦合模型,确定各向异性的铂分布函数。从多物理场耦合模型提取多物理场指标,并基于神经网络构建铂分布函数与多物理场指标间的代理模型,基于代理模型,通过多目标优化算法对铂分布参数进行优化,并通过多属性决策方法筛选出最优的各向异性指数铂分布参数组合。通过多目标优化算法与多属性决策方法,实现关键多物理场指标协同优化,能够精确地筛选出当前燃料电池参数的最优铂分布,显著提高氢燃料电池最优参数的求解精度性能。

燃料电池供氢装置、燃料电池系统及燃料电池车辆

NºPublicación:  CN223785141U 09/01/2026
Solicitante: 
未势能源科技有限公司
CN_223785141_U

Resumen de: CN223785141U

本实用新型提供了一种燃料电池供氢装置、燃料电池系统及燃料电池车辆,本实用新型的燃料电池供氢装置包括气液分离器,以及设于气液分离器一侧的引射器和储水盒。其中,气液分离器的上下两端分别设有分离口和排液口,并在气液分离器的侧部设有尾气进口,尾气进口用于和电堆的阳极出口连通。而引射器竖直布置,且引射器的一级气体进口用于和供氢管路连通,引射器的二级气体进口与分离口连通,引射器的出气口用于和电堆的阳极入口连通。并且,储水盒设于引射器的底部,并与引射器和气液分离器连通。本实用新型所述的燃料电池供氢装置,可有效避免电堆阳极侧堵水,利于提升电堆和系统的寿命和可靠性。

一种磁吸式巡检线连接结构及燃料电池

NºPublicación:  CN223785415U 09/01/2026
Solicitante: 
浙江天能氢能源科技有限公司
CN_223785415_U

Resumen de: CN223785415U

本实用新型提供一种磁吸式巡检线连接结构及燃料电池,用于连接燃料电池双极板,所述燃料电池双极板为石墨双极板,所述石墨双极板由两片单侧具有流场区的石墨单极板粘合获得,所述磁吸式巡检线连接结构包括母磁吸头和公磁吸头,所述母磁吸头嵌入在所述石墨双极板边缘、位于两片石墨单极板交界面处,所述母磁吸头至少部分为磁性材料,所述母磁吸头具有导电连接孔,所述公磁吸头至少部分为磁性材料,使得所述公磁吸头与所述母磁吸头能够通过磁吸连接,所述公磁吸头的一端具有伸入到所述导电连接孔并与所述导电连接孔侧壁导电连接的导电连接凸起。本实用新型结构简单,可以灵活更换测试对象,快捷可靠地实现了小堆电堆测试任务的巡检信号采集。

一种超低铂载量复合膜电极及其一体化制备方法和应用

NºPublicación:  CN121307110A 09/01/2026
Solicitante: 
宝莲华新能源技术(上海)股份有限公司哈尔滨工业大学
CN_121307110_PA

Resumen de: CN121307110A

一种超低铂载量复合膜电极及其一体化制备方法和应用,涉及氢燃料电池膜电极及制法和应用,它是要解决现有的燃料电池膜电极启动及低载工况性能差的问题。本发明的复合膜电极的阴阳极均由界面反应层和体相反应层复合而成;所述界面反应层为与质子交换膜相邻的贵金属层,总铂载量≤0.0625 mg/cm2,来提供高效的反应初始动力学;所述体相反应层为与气体扩散层相邻的非贵金属层,其内部复合刚性疏水骨架和由酸洗造孔剂溶出后形成的纳米级孔道,用于提供海量活性位点并保障传质通畅。制法包括:材料预处理复合、三相复合浆料制备、一体化涂覆与转印、原位酸洗造孔。该膜电极的峰值功率密度达2007.8 mW/cm2,可用于燃料电池领域。

液流电池双极板、制备方法及其应用

NºPublicación:  CN121290788A 09/01/2026
Solicitante: 
浙江大学温州研究院温州锌时代能源有限公司
CN_121290788_A

Resumen de: CN121290788A

本申请公开了一种液流电池双极板、制备方法及其应用,其中制备方法为:将聚合物树脂、自由基引发剂、自由基调控剂和多官能团单体混合后加入仪器,制得长支链聚合物,将长支链聚合物与导电填料混合后熔融,物料通过设备挤出置于模具中热压成型,制得液流电池双极板。本申请可以有效解决液流电池在长时间充放电过程中温度冷热交替,以及内部压力不断变化条件下而造成双极板失效的问题,大幅度提升双极板的使用寿命。

一种高透氧性的全氟磺酰亚胺型质子交换树脂及其制备方法与应用

NºPublicación:  CN121293422A 09/01/2026
Solicitante: 
武汉理工大学
CN_121293422_PA

Resumen de: CN121293422A

本发明涉及质子交换膜燃料电池与水电解制氢技术领域,提出了一种高透氧性的全氟磺酰亚胺型质子交换树脂及其制备方法与应用。其中全氟磺酰亚胺型质子交换树脂由含磺酰亚胺的全氟杂环烯烃醚单元组成。本发明所制备的全氟磺酰亚胺型质子交换树脂透氧性好,质子电导率高,且具有高的化学稳定性、高的离子交换容量。得到的高透氧磺酰亚胺型质子交换树脂在通用溶剂中的可加工性好,能够作为质子交换膜燃料电池与PEM水电解槽的催化剂层电解质材料应用。

一种模块化无人机氢燃料电池系统

NºPublicación:  CN121307086A 09/01/2026
Solicitante: 
北京氢源智能科技有限公司
CN_121307086_PA

Resumen de: CN121307086A

本发明公开了一种模块化无人机氢燃料电池系统,包括电池模块和燃料罐模组;电池模块顶面的各边角处分别设有快拆组件,快拆组件用于与无人机机体可拆卸连接;燃料罐模组包括对称分布于电池模块相对两侧的燃料罐组件,各燃料罐组件均包括燃料罐舱和可拆卸插装于燃料罐舱内的燃料罐体,各燃料罐舱的顶部分别固定设有连接件,连接件用于与无人机机体固定连接。在本发明中,燃料罐模组独立布置于电池模块的外侧,燃料罐体通过可拆卸插装结构装配于燃料罐舱内;该布局使燃料罐体与电池模块中的氢燃料电池保持安全距离,降低了氢气泄漏时对电池模块的安全威胁,同时通过燃料罐体的可拆卸设计便于快速更换以补充氢燃料,从而提升无人机的作业效率。

燃料电池系统及其吹扫排气结构和设有该系统的车辆

NºPublicación:  CN223785142U 09/01/2026
Solicitante: 
未势能源科技有限公司
CN_223785142_U

Resumen de: CN223785142U

本实用新型涉及燃料电池领域,并提供了一种燃料电池系统及其吹扫排气结构和设有该系统的车辆。该燃料电池系统的吹扫排气结构包括设于电堆壳体上的吹扫出口和尾排管路之间的吹扫排气管路,以及并联在吹扫排气管路上的排气分支管路;排气分支管路上设有气体引流装置,气体引流装置用于将电堆壳体内的气体引流至尾排管路。该燃料电池系统的吹扫排气结构,通过设置的排气分支管路和气体引流装置,可将电堆壳体内的气体快速引流至尾排管路中,增加电堆壳体内气体的流动速度,提高空气补入量,从而能够快速降低电堆壳体内的氢气浓度,缩短燃料电池系统启动时间,同时也可利用引流至尾排管路中的空气,辅助快速降低尾排管路内的氢气浓度。

Brennstoffzellensystem, Brennstoffzellenvorrichtung und Verfahren zur Montage

NºPublicación:  DE102024206391A1 08/01/2026
Solicitante: 
BOSCH GMBH ROBERT [DE]
Robert Bosch Gesellschaft mit beschr\u00E4nkter Haftung

Resumen de: DE102024206391A1

Die Erfindung geht aus von einem Brennstoffzellensystem mit zumindest einer Brennstoffzellenvorrichtung (10a; 10b; 10c), welche zumindest einen Abgasanschlussstutzen (12a; 12b; 12c) aufweist, der dazu eingerichtet ist, einen Abgasstrom (14a; 14b; 14c) aus der Brennstoffzellenvorrichtung (10a; 10b; 10c) abzuführen, mit zumindest einem Rohrleitungsabgassystem (16a; 16b; 16c), welches zumindest eine Rohrleitungsanschlusseinheit (18a; 18b; 18c) aufweist, die fluidisch mit dem Abgasanschlussstutzen (12a; 12b; 12c) verbunden ist, und die dazu eingerichtet ist, den Abgasstrom (14a; 14b; 14c) der zumindest einen Brennstoffzellenvorrichtung (10a; 10b; 10c) an das Rohrleitungsabgassystem (16a; 16b; 16c) abzuleiten.Es wird ein Steckverbindungsrohrelement (20a; 20b; 20c) vorgeschlagen, welches dazu eingerichtet ist, zu einer abgedichteten Steckverbindung der Brennstoffzellenvorrichtung (10a; 10b; 10c) mit dem Rohrleitungsabgassystem (16a; 16b; 16c), in die Rohrleitungsanschlusseinheit (18a; 18b; 18c) eingesteckt zu werden.

Energiesystem und Verfahren zum Betreiben eines Energiesystems

NºPublicación:  DE102024119145A1 08/01/2026
Solicitante: 
ENERGIE MIT PLAN GMBH [DE]
Energie mit Plan GmbH

Resumen de: DE102024119145A1

Die vorliegende Erfindung betrifft ein Energiesystem (2) und ein Verfahren zu dessen Betrieb. Das Energiesystem (2) weist auf: eine Energieerzeugungsvorrichtung (3) oder eine Schnittstelle zu einer Energieerzeugungsvorrichtung (3), die zur Erzeugung elektrischer Energie bereitgestellt ist, und die insbesondere als Photovoltaikeinrichtung (3a) ausgebildet ist; ein erstes Untersystem (10), mit einer Elektrolyseeinrichtung (13), welche zur Erzeugung von Wasserstoff bereitgestellt ist, und mit einer Batterieeinrichtung (12), die zur kurzzeitigen Speicherung und Bereitstellung von elektrischer Energie bereitgestellt ist; ein zweites Untersystem (20), mit einer ersten Speichereinrichtung (21), insbesondere einer Hochdruckspeichereinrichtung, die zum Speichern des von der Elektrolyseeinrichtung (13) erzeugten Wasserstoffs bereitgestellt ist. Damit möglichst viele Komponenten des Energiesystems (2) zu dessen erweiterter Funktion beitragen und für einen effizienten Betrieb über eine optimierte Steuerung optimal gesteuert und im Energiesystem (2) eingebunden werden können, ist wenigstens eine als Hydridkompressoreinrichtung (31, 41) ausgebildete Kompressoreinrichtung (30, 40) bereitgestellt, welche zum Komprimieren des erzeugten Wasserstoffs vor der Einspeicherung in die erste Speichereinrichtung (21) ausgebildet ist. Zur Steuerung des Energiesystems (2) ist eine Steuereinrichtung (60) bereitgestellt, die eine intelligente, vorzugsweise vorausschauende Energiemanagementeinrichtung

EJECTOR, PARTICULARLY FOR USE WITH A BLOWER FOR RECIRCULATING HYDROGEN IN A PROTON EXCHANGE MEMBRANE FUEL CELL

NºPublicación:  WO2026010719A1 08/01/2026
Solicitante: 
CATERPILLAR INC [US]
CATERPILLAR INC
GB_2642321_PA

Resumen de: WO2026010719A1

An ejector (100, 200, 300) includes a convergent portion (101, 201, 301); a cylindrical throat (102, 202, 302) downstream of the convergent portion and having a length Tl and a diameter Td; and a divergent portion (103, 203, 303) downstream of the throat and having a length Dl and a divergence angle Da between its internal surface and the flow axis (Fx). The primary nozzle has a minimum diameter Nd and an orifice (122, 222, 322) coaxial with the flow axis (Fx) and separated from an upstream end of the throat by a separation distance NTl, wherein: 6.1 ≥ (Td / Nd) ≥ 4.5, and 7.0 ≥ (Tl / Td) ≥ 3.5, and 1.1 ≥ (NTl / Td) ≥ 0.3, and 4.5° ≥ Da ≥ 2.0°, and (Dl / Td) ≥ 10. Preferably the secondary or suction inlet is coaxial with a primary flowpipe (123) defining the primary nozzle for a distance upstream of the nozzle orifice. The ejector (100, 200, 300) may be arranged in parallel with a downsized blower (521) to recirculate hydrogen at the anode (512) of a proton exchange membrane fuel cell power supply unit (500), wherein the ejector operates alone in a high load range (H) of the unit, and progressively replaces the operation of the blower (521) through a medium load range (M) which may be from about 25% to 44% of the maximum power output P of the unit.

SYSTEMS AND METHODS OF USING PURE HYDROGEN AS FUEL IN A TURBOCHARGED FUEL CELL

NºPublicación:  WO2026010710A1 08/01/2026
Solicitante: 
CATERPILLAR INC [US]
CATERPILLAR INC

Resumen de: WO2026010710A1

Provided herein are systems and methods for using pure hydrogen as fuel in a turbocharged fuel cell. A vehicle may include a storage (200) configured to store pressurized hydrogen, a fuel cell (204), a catalytic converter (226), and a turbo compressor (220, 224). The fuel cell includes an anode loop fluidically coupled to the storage and configured to receive the pressurized hydrogen therefrom, and a cathode loop configured to receive oxygen. The catalytic converter, arranged downstream from the anode loop, recovers excess hydrogen from the pressurized hydrogen used by the anode loop and recovers excess oxygen from the oxygen used by the cathode loop. The turbo compressor includes an expander (224) to recover heat from the catalytic converter (226).

SYSTEMS AND METHODS OF FAST START-UP AND WARM-UP IN TURBOCHARGED FUEL CELLS

NºPublicación:  WO2026010700A1 08/01/2026
Solicitante: 
CATERPILLAR INC [US]
CATERPILLAR INC

Resumen de: WO2026010700A1

Provided herein are systems and methods for improving warm-up times for fuel cells. A method of the present disclosure includes detecting, by one or more processors, a warm-up condition of a fuel cell, and controlling, by the one or more processors, a first valve and a second valve, to cause pressurized oxygen and pressurized hydrogen to be supplied to a catalytic converter arranged downstream from the fuel cell, to cause the catalytic converter to produce heat to be transferred to a coolant loop of the fuel cell, during the warm-up condition.

SYSTEM FOR A METHANOL-BASED FUEL CELL

NºPublicación:  WO2026010699A1 08/01/2026
Solicitante: 
CATERPILLAR INC [US]
CATERPILLAR INC

Resumen de: WO2026010699A1

Provided herein are systems and methods for using a methanol solution in a fuel cell. A vehicle may include a storage configured to store fuel; a reformer configured to produce hydrogen from the fuel received from the storage; and a fuel cell. The fuel cell may include an anode loop fluidically coupled to the reformer and configured to receive the hydrogen therefrom; and a cathode loop configured to receive oxygen. A catalytic converter arranged downstream from the fuel cell may be configured to recover excess hydrogen from the hydrogen used by the anode loop and to recover excess oxygen from the oxygen used by the cathode loop. The catalytic converter may further supply heat to an expander of a turbo compressor through the reformer.

ASSEMBLY AND METHOD FOR ELECTRICALLY CONTACTING MULTIPLE LINED-UP CONNECTION ELEMENTS OF A SUPERORDINATE UNIT

NºPublicación:  WO2026008720A1 08/01/2026
Solicitante: 
SIEMENS AG [DE]
SIEMENS AKTIENGESELLSCHAFT
DE_102024206313_PA

Resumen de: WO2026008720A1

The invention relates to an assembly and a corresponding method for electrically contacting multiple lined-up connection elements of a superordinate unit. The assembly according to the invention has a profile rail and a clamping device which are interlockingly and releasably coupled to one another. The profile rail has multiple holes in its lower face, which holes are designed in such a way that the connection elements protrude therethrough when the profile rail is fastened to the superordinate unit. The clamping device has at least one terminal block which is designed in such a way that the terminal block has, on its lower face opposite a connection element, a contact mechanism having at least one contact face which contacts at least portions of the connection element of the superordinate unit in order to make electrical contact.

DISPERSION CONTAINING A RADICAL SCAVENGER

NºPublicación:  WO2026008971A1 08/01/2026
Solicitante: 
JOHNSON MATTHEY HYDROGEN TECH LIMITED [GB]
JOHNSON MATTHEY HYDROGEN TECHNOLOGIES LIMITED

Resumen de: WO2026008971A1

Dispersion According to the present invention there is provided a dispersion comprising: a solvent; and a radical scavenger dispersed in the solvent. The radical scavenger comprises particles and each particle comprises cerium, a metal (M) and oxygen, wherein the metal (M) is present in an oxidation state of +5. There is also provided an ion-conducting membrane, catalyst- coated ion-conducting membrane, membrane electrode assembly, electrochemical device, and associated methods of producing a dispersion.

BIPOLAR PLATE FOR FUEL CELL

NºPublicación:  WO2026008820A1 08/01/2026
Solicitante: 
CLHYNN [FR]
CLHYNN
FR_3164324_PA

Resumen de: WO2026008820A1

The present invention relates to a bipolar plate (14) for a fuel cell, comprising a first face (18) and a second face, a first set of channels (26) extending over the first face and a second set of channels extending over the second face, the bipolar plate further comprising cooling units (30) comprising circulation ducts (36) formed by orifices passing through the thickness of the bipolar plate from the first face to the second face, the circulation ducts being configured to circulate a cooling fluid in the bipolar plate. The cooling units are surrounded by the first set of channels on the first face and by the second set of channels on the second face.

Brennstoffzellenabgasanlage, Brennstoffzellensystem und Verfahren zum Verringern des Wassergehalts in Brennstoffzellenabgas

NºPublicación:  DE102024119112A1 08/01/2026
Solicitante: 
PUREM GMBH [DE]
Purem GmbH
CN_121282239_PA

Resumen de: DE102024119112A1

Eine Brennstoffzellenabgasanlage (20) für ein Brennstoffzellensystem (10), insbesondere in einem Fahrzeug, umfasst eine Mischanordnung (24) zur Aufnahme von aus wenigstens einer Brennstoffzelle (12) eines Brennstoffzellensystems (10) abgegebenem Brennstoffzellenabgas (B) und zur Aufnahme eines Mischgases (L) und zur Erzeugung eines Gemisches (G) aus Brennstoffzellenabgas (B) und Mischgas (L) sowie eine Wasser-Abscheideanordnung (50) im Bereich der Mischanordnung (24) oder/und stromabwärts der Mischanordnung (24) zum Abscheiden von aus dem Gemisch (G) auskondensiertem Wasser (W) und zur Abgabe des Gemisches (G).

Brennstoffzellenabgasanlage, Brennstoffzellensystem und Verfahren zum Verringern des Wassergehalts in Brennstoffzellenabgas

NºPublicación:  DE102024119111A1 08/01/2026
Solicitante: 
PUREM GMBH [DE]
Purem GmbH
CN_121282238_PA

Resumen de: DE102024119111A1

Eine Brennstoffzellenabgasanlage (20) für ein Brennstoffzellensystem (10), insbesondere in einem Fahrzeug, umfasst eine Wärmetauscheranordnung (24) mit einem von Brennstoffzellenabgas (B) durchströmbaren ersten Wärmetauscherbereich (26) und einem von Kühlgas (L) durchströmbaren zweiten Wärmetauscherbereich (30), wobei der erste Wärmetauscherbereich (24) und der zweite Wärmetauscherbereich (30) zur Übertragung von Wärme von dem Brennstoffzellenabgas (B) auf das Kühlgas (L) in Wärmeübertragungswechselwirkung stehen, sowie eine Mischanordnung (46) zur Aufnahme von aus dem ersten Wärmetauscherbereich (36) abgegebenem, gekühltem Brennstoffzellenabgas (B) und aus dem zweiten Wärmetauscherbereich (30) abgegebenem, erwärmtem Kühlgas (L) in einem Mischvolumen (48) zur Erzeugung eines Gemisches (G) aus gekühltem Brennstoffzellenabgas (B) und erwärmtem Kühlgas (L) und zur Abgabe des Gemisches (G).

METHOD FOR INCREASING THE SERVICE LIFE OF A FUEL CELL

NºPublicación:  WO2026008274A1 08/01/2026
Solicitante: 
DAIMLER TRUCK AG [DE]
DAIMLER TRUCK AG
DE_102024118642_PA

Resumen de: WO2026008274A1

The invention relates to a method for increasing the service life of a fuel cell which is used to provide electrical drive energy in a vehicle, for which purpose, when the vehicle is parked, an anticipated standstill duration is estimated, on the basis of which a decision is made as to whether an air/air start is accepted or cyclical hydrogen replenishment is initiated, wherein the anticipated standstill duration is estimated on the basis of various parameters which take into account legal driving time regulations and standstill times of foreseeable duration. The method according to the invention is characterised in that the parameters, together with personal driver-related data from a specified time period before the vehicle is parked, are used as input parameters for a deep learning model in order to estimate the standstill duration.

METHOD FOR OPERATING A FUEL CELL SYSTEM, COMPUTER PROGRAM PRODUCT, CONTROL UNIT, AND FUEL CELL SYSTEM

NºPublicación:  WO2026008212A1 08/01/2026
Solicitante: 
ROBERT BOSCH GMBH [DE]
ROBERT BOSCH GMBH
DE_102024206380_PA

Resumen de: WO2026008212A1

The invention relates to a method for operating a fuel cell system (100) which is designed with at least one fuel cell stack (101), wherein the at least one fuel cell stack (101) has a corresponding air system (10), comprising: detecting a start request of the fuel cell system (100), checking whether a start under freezing conditions is required; if so, then: limiting a start method under freezing conditions to closed-loop controller modes for the air system (10) without using freezing-critical valves for the closed-loop control operation, carrying out the start method under freezing conditions without using freezing-critical valves for the closed-loop control operation, checking whether freezing-critical valves are ready for use; if so, then: enabling freezing-critical valves for the closed-loop control operation as a function of their readiness for use, continuing the start method with enabled valves.

GAS DIFFUSION LAYER (GDL), ELECTROCHEMICAL CELL COMPRISING THE GDL, AND METHOD FOR PRODUCING THE GDL

NºPublicación:  WO2026008182A1 08/01/2026
Solicitante: 
SIEMENS ENERGY GLOBAL GMBH & CO KG [DE]
SIEMENS ENERGY GLOBAL GMBH & CO. KG
DE_102024206263_PA

Resumen de: WO2026008182A1

The invention relates to a gas diffusion layer (1) for an electrochemical cell (10), which comprises a substrate (2) through which a gas can be transported, a coating (6) which is applied directly to the substrate (2), and an adhesion-promoting layer (3) which is applied directly to the substrate (2) and includes chromium in a proportion of at least 90% by mass and has a thickness which is in a range from 0.01 µm to 1 µm, and a contact layer (4) which is an outer surface of the gas diffusion layer (1), and is electrically conductively connected to the adhesion-promoting layer (3), has carbon in a proportion of at least 90% by mass and has a thickness in a range from 0.05 µm to 500 µm.

Vorrichtung zur Ableitung eines wasserstoffhaltigen Mediums aus einem Anodenkreis eines Brennstoffzellensystems und zur Bestimmung der H2-Konzentration eines Fluides in einer Abgasleitung eines Brennstoffzellensystems und Brennstoffzellensystem

NºPublicación:  DE102024206395A1 08/01/2026
Solicitante: 
BOSCH GMBH ROBERT [DE]
Robert Bosch Gesellschaft mit beschr\u00E4nkter Haftung

Resumen de: DE102024206395A1

Vorrichtung (1) zur Ableitung eines wasserstoffhaltigen Gemisches (26) aus einem Anodenkreis (3) eines Brennstoffzellensystems (100) und zur Bestimmung der H2-Konzentration eines Fluides in einer Abgasleitung (12) eines Brennstoffzellensystems (100), wobei die Vorrichtung (1) ein mit dem Anodenkreis (3) verbundenes Purgeventil (44) aufweist, welches über eine Purgeleitung (40) das wasserstoffhaltige Gemisch (26) aus dem Anodenkreis (3) ableitet. Erfindungsgemäß wird dabei das wasserstoffhaltige Gemisch (26) mittels mindestens eines Treibstrahls (24) über mindestens ein Dosierelement (2), insbesondere eine Düse (6), unter einem Winkel (α) in ein Abgasrohr (4) eines Kathodenkreises (5) eingedüst, wobei das wasserstoffhaltige Gemisch (26) stromabwärts einer Turbine (49) einer Abluft (28) zugeführt wird.Die Erfindung betrifft ferner ein Brennstoffzellensystem (100) mit einer erfindungsgemäßen Vorrichtung (1)

Gasdiffusionslage, elektrochemische Zelle mit der Gasdiffusionslage und Verfahren zum Herstellen der Gasdiffusionslage

NºPublicación:  DE102024206263A1 08/01/2026
Solicitante: 
SIEMENS ENERGY GLOBAL GMBH & CO KG [DE]
Siemens Energy Global GmbH & Co. KG

Resumen de: DE102024206263A1

Die erfindungsgemäße Gasdiffusionslage (1) für eine elektrochemische Zelle (10), mit einem Substrat (2), durch das ein Gas transportiert werden kann, einer Beschichtung (6), die unmittelbar auf das Substrat (2) aufgebracht ist sowie eine Haftvermittlungsschicht (3), die unmittelbar auf das Substrat (2) aufgebracht ist, Chrom mit einem Anteil von mindestens 90 Massen-% aufweist und eine Dicke hat, die in einem Bereich von 0,01 µm bis 1 µm liegt, und eine Kontaktschicht (4) aufweist, die eine außenliegende Oberfläche der Gasdiffusionslage (1) ist, elektrisch leitfähig mit der Haftvermittlungsschicht (3) verbunden ist, Kohlenstoff mit einem Anteil von mindestens 90 Massen-% aufweist und eine Dicke hat, die in einem Bereich von 0,05 µm bis 500 µm liegt.

Prüfaufbau und Prüfverfahren zum Prüfen von Gastransportmaschinen

NºPublicación:  DE102025120744A1 08/01/2026
Solicitante: 
FEV GROUP GMBH [DE]
FEV Group GmbH
DE_102024118578_PA

Resumen de: DE102025120744A1

Die Erfindung betrifft einen Prüfaufbau zum Prüfen von Gastransportmaschinen, beispielsweise Wasserstofftransportmaschinen.Der erfindungsgemäße Prüfaufbau zum Prüfen von Gastransportmaschinen umfasst eine Aufnahme (1) für den Prüfling (2), einen ersten Eingangspfad (3), dessen Eingang mit einer ersten Gasquelle (8) verbunden ist und dessen Ausgang mit einem Eingang des Prüflings (2) verbindbar ist, einen Ausgangspfad (4), dessen Eingang mit einem Ausgang des Prüflings (2) verbindbar ist, wobei der erste Eingangspfad (3) einen ersten Druckregler (5) zum Regeln des Drucks am Eingang des Prüflings (2) aufweist, und der Ausgangspfad einen zweiten Druckregler (6) zum Regeln des Drucks am Ausgang des Prüflings (2) aufweist.

Anordnung und Verfahren zur elektrischen Kontaktierung einer Vielzahl von aufgereihten Anschlusselementen einer übergeordneten Einheit

NºPublicación:  DE102024206313A1 08/01/2026
Solicitante: 
SIEMENS AG [DE]
Siemens Aktiengesellschaft

Resumen de: DE102024206313A1

Die Erfindung betrifft eine Anordnung und ein entsprechendes Verfahren zur elektrischen Kontaktierung einer Vielzahl von aufgereihten Anschlusselementen einer übergeordneten Einheit. Die erfindungsgemäße Anordnung weiset eine Profilschiene und eine Klemmvorrichtung auf, welche formschlüssig und lösbar miteinander gekoppelt sind. Die Profilschiene weist auf ihrer Unterseite eine Vielzahl von Aussparungen auf, welche derart ausgebildet sind, dass die Anschlusselemente hindurchragen, wenn die Profilschiene auf der übergeordneten Einheit befestigt ist. Die Klemmvorrichtung weist zumindest eine Reihenklemme auf, welche derart ausgebildet ist, dass die Reihenklemme auf ihrer Unterseite gegenüberliegend eines Anschlusselementes einen Kontaktmechanismus mit zumindest einer Kontaktfläche aufweist, welche zur elektrischen Kontaktierung das Anschlusselement der übergeordneten Einheit zumindest abschnittsweise berührt.

Verfahren zum Betreiben eines Brennstoffzellensystems, Strahlpumpenmodul

NºPublicación:  DE102024205908A1 08/01/2026
Solicitante: 
BOSCH GMBH ROBERT [DE]
Robert Bosch Gesellschaft mit beschr\u00E4nkter Haftung

Resumen de: DE102024205908A1

Die Erfindung betrifft ein Verfahren zum Betreiben eines Brennstoffzellensystems umfassend ein Anodensubsystem (1) zur Versorgung mindestens eines Stacks (2) mit wasserstoffhaltigem Anodengas, bei dem das Anodengas dem Stack (2) zugeführt und nach Verlassen des Stacks (2) mithilfe einer Strahlpumpe (4) rezirkuliert wird, wobei sich das Anodengas im laufenden Betrieb mit Stickstoff anreichert. Erfindungsgemäß wird eine Körperschallamplitude der Strahlpumpe (4) überwacht und bei Erreichen einer vorab bestimmten Körperschallamplitude auf eine kritische Stickstoffkonzentration im Anodengas geschlossen.Die Erfindung betrifft ferner ein Strahlpumpenmodul (10).

Verfahren zum Betreiben eines Brennstoffzellensystems sowie Brennstoffzellensystem

NºPublicación:  DE102024205912A1 08/01/2026
Solicitante: 
BOSCH GMBH ROBERT [DE]
Robert Bosch Gesellschaft mit beschr\u00E4nkter Haftung
CN_121215816_PA

Resumen de: DE102024205912A1

Die Erfindung betrifft ein Verfahren zum Betreiben eines Brennstoffzellensystems und ein Brennstoffzellensystem. Das Verfahren umfasst die Schritte Bestimmen eines Startstroms einer Dosierventileinrichtung, wobei der Startstrom mit einem Schwellwert eines Ansteuerstroms der Dosierventileinrichtung korrespondiert, bei dem ein Massenstrom durch die Dosierventileinrichtung startet oder stoppt bzw. bei dem die Dosierventileinrichtung öffnet oder schließt; sowie dauerhaftes Anpassen bzw. Korrigieren einer Vorsteuerung des Ansteuerstroms der Dosierventileinrichtung, um eine Druckregelung eines Anodenkreises zu optimieren, wobei ein Brennstoff aus einer Brennstoffleitung einem Brennstoffzellenstack zugeführt wird. Das Brennstoffzellensystem ist ausgestattet mit - einen Brennstoffzellenstack mit einer Anode und einer Kathode; - einen Rezirkulationskreis zur Rezirkulation eines Rezirkulationsmediums an der Anode; - eine Brennstoffleitung zur Versorgung des Brennstoffzellenstacks mit einem Brennstoff, insbesondere Wasserstoff; - eine Dosierventileinrichtung, welche mit der Brennstoffleitung und mit dem Rezirkulationskreis verbunden ist; - eine Steuereinrichtung, welche mit der Dosierventileinrichtung verbunden ist und dazu eingerichtet ist, ein derartiges Verfahren durchzuführen.

Verfahren zum Betreiben eines Brennstoffzellensystems sowie Brennstoffzellensystem

NºPublicación:  DE102024205892A1 08/01/2026
Solicitante: 
BOSCH GMBH ROBERT [DE]
Robert Bosch Gesellschaft mit beschr\u00E4nkter Haftung

Resumen de: DE102024205892A1

Die Erfindung betrifft ein Verfahren zum Betreiben eines Brennstoffzellensystems und ein Brennstoffzellensystem. Das Verfahren umfasst die Schritte: Vorbestimmen eines Soll-Verhältnisses von einer inaktiven Phase bzw. Schließdauer, also einer Dauer einer Geschlossen-Phase bzw. Geschlossenstellung, im Verhältnis zu einer aktiven Phase bzw. Öffnungsdauer, also einer Dauer einer Offen-Phase bzw. Offenstellung, einer Dosierventileinrichtung; sowie Ansteuern der Dosierventileinrichtung, um eine Durchflussmenge eines frischen Brennstoffes zu steuern, welches einem Brennstoffzellenstack aus einer Brennstoffleitung zugeführt wird, wobei die Dosierventileinrichtung in Abhängigkeit des vorbestimmten Soll-Verhältnisses getaktet bzw. gepulst betrieben wird. Das Brennstoffzellensystem ist ausgestattet mit - einen Brennstoffzellenstack mit einer Anode und einer Kathode; - einen Rezirkulationskreis zur Rezirkulation eines Rezirkulationsmediums an der Anode; - eine Brennstoffleitung zur Versorgung des Brennstoffzellenstacks mit einem Brennstoff, insbesondere Wasserstoff; - eine Dosierventileinrichtung, welche mit der Brennstoffleitung und mit dem Rezirkulationskreis verbunden ist; - eine Steuereinrichtung, welche mit der Dosierventileinrichtung verbunden ist und dazu eingerichtet ist, ein derartiges Verfahren durchzuführen.

Verfahren zur Erhöhung der Lebensdauer einer Brennstoffzelle

NºPublicación:  DE102024118642A1 08/01/2026
Solicitante: 
DAIMLER TRUCK AG [DE]
Daimler Truck AG

Resumen de: DE102024118642A1

Die Erfindung betrifft ein Verfahren zur Erhöhung der Lebensdauer einer Brennstoffzelle, welche zur Bereitstellung von elektrischer Antriebsenergie in einem Fahrzeug eingesetzt wird, wozu beim Abstellen des Fahrzeugs eine voraussichtliche Stillstandsdauer abgeschätzt wird, anhand welcher entschieden wird, ob ein Luft/Luft-Start in Kauf genommen oder eine zyklische Wasserstoffnachdosierung initiiert wird, wobei die voraussichtliche Stillstandsdauer anhand von verschiedenen Parametern abgeschätzt wird, welche gesetzliche Fahrzeitregelungen und Stillstandszeiten vorhersehbarer Dauer berücksichtigen. Das erfindungsgemäße Verfahren ist dadurch gekennzeichnet, dass die Parameter zusammen mit persönlichen fahrerbezogenen Daten aus einer vorgegebenen Zeitspanne vor dem Abstellen des Fahrzeugs als Eingabeparameter für ein Deep-Learning-Modell zur Abschätzung der Stillstanddauer verwendet werden.

Lagersystem für ein Rezirkulationsgebläse eines Energiewandlers

NºPublicación:  DE102024205885A1 08/01/2026
Solicitante: 
BOSCH GMBH ROBERT [DE]
Robert Bosch Gesellschaft mit beschr\u00E4nkter Haftung

Resumen de: DE102024205885A1

Die vorgestellte Erfindung betrifft ein Lagersystem (100) für ein Rezirkulationsgebläse (203), wobei das Lagersystem (100) umfasst:- ein Lagergehäuse (20),- einen Lagerzapfen (2), durch den sich ein Zuführkanal (2.1) und ein Abführkanal (2.4) erstrecken,- eine zwischen dem Lagerzapfen (2) und dem Lagergehäuse (20) ausgebildete Lagerkammer (4.1),- eine Anzahl zwischen dem Lagerzapfen (2) und dem Lagergehäuse (20) angeordneter Lager (5.1, 5.2),- eine Anzahl an dem Lagerzapfen (2) angeordneter Zuführschmiernippel (1), die mit dem Zuführkanal (2.1) fluidleitend gekoppelt ist,- eine Anzahl an dem Lagerzapfen (2) angeordneter Abführschmiernippel (12), die mit dem Abführkanal (2.4) fluidleitend gekoppelt ist,wobei der Zuführkanal (2.1) dazu konfiguriert ist, durch die Anzahl Zuführschmiernippel (1) bereitgestelltes Lagerfett durch die Lagerkammer (4.1) zu der Anzahl Lager (5.1, 5.2) zu leiten, undwobei der Abführkanal (2.4) dazu konfiguriert ist, durch die Anzahl Lager (5.1, 5.2) austretendes Fluid über die Anzahl Abführschmiernippel (12) aus dem Lagersystem (100) auszuleiten.

Verfahren und Vorrichtung zum Betreiben eines Brennstoffzellensystems und Brennstoffzellensystem

NºPublicación:  DE102024206425A1 08/01/2026
Solicitante: 
BOSCH GMBH ROBERT [DE]
Robert Bosch Gesellschaft mit beschr\u00E4nkter Haftung

Resumen de: DE102024206425A1

Die Erfindung betrifft ein Verfahren (100) zum Betreiben eines Brennstoffzellensystems, das ein Luft-Teilsystem und einen Purge-Pfad aufweist. Das Luft-Teilsystem umfasst einen Luftzufuhrpfad zum Zuführen eines Eingangsluftstroms zu einer Kathode mit einer Fördereinrichtung zum Fördern des Eingangsluftstroms in dem Luftzufuhrpfad und mit einem Zufuhrventil zum Regulieren des Eingangsluftstroms und einen Abluftpfad zum Abführen eines Abluftstroms von der Kathode mit einem Abfuhrventil zum Regulieren des Abluftstroms und mit einem Wasserstoffsensor zum quantitativen Erfassen von Wasserstoff in dem Abluftstrom. Der Purge-Pfad mündet in den Abluftpfad und umfasst ein Purge-Ventil für einen Purge-Betrieb des Brennstoffzellensystems. In einem Schritt (101) des Überprüfens wird überprüft, ob das Purge-Ventil geschlossen ist. Nachfolgend wird in einem Schritt (105) des Einlesens ein Sensorsignal von dem Wasserstoffsensor eingelesen, wenn das Purge-Ventil geschlossen ist. Das Sensorsignal repräsentiert eine quantitative Information über Wasserstoff in dem Abluftstrom. Nachfolgend wird in einem Schritt (107) des Ermittelns unter Verwendung des Sensorsignals eine Diffusionsmenge an von einer Anode des Brennstoffzellensystems zu der Kathode diffundiertem Wasserstoff ermittelt. Nachfolgend wird in einem Schritt (109) des Erzeugens in Abhängigkeit von der im Schritt (107) des Ermittelns ermittelten Diffusionsmenge ein Steuersignal zum Betreiben des Brennstoffzellensystems erze

METHODS OF MANUFACTURE OF TEMPLATES WITH IrNi NANOBRANCHES (NBS), IrNiCu@Cu NANOSTRUCTURES AND ELECTROCATALYSTS COMPRISING IrNiCu@Cu NANOSTRUCTURES, AND APPLICATIONS THEREOF

NºPublicación:  US20260009160A1 08/01/2026
Solicitante: 
CITY UNIV OF HONG KONG [HK]
City University of Hong Kong
US_20260009160_PA

Resumen de: US20260009160A1

The present invention is concerned with the epitaxial growth of unconventional 2H Cu on hexagonal close-packed (hcp) IrNi template, leading to forming of IrNiCu@Cu nanostructures as electrocatalyst. IrNiCu@Cu-20 shows superior catalytic performance, with NH3 Faradaic efficiency (FE) of 86% at −0.1 (vs reversible hydrogen electrode (RHE)) and NH3 yield rate of 687.3 mmol gCu−1 h−1, far better than common face-centered cubic (fcc) Cu. IrNiCu@Cu-30 and IrNiCu@Cu-50 covered by hcp Cu shell display high selectivity towards nitrite (NO2−), with NO2− FE above 60% at 0.1 (vs RHE). IrNiCu@Cu-20 has the optimal electronic structures for NO3RR due to the highest d-band center and strongest reaction trend with the lowest energy barriers. The electrocatalysts are effective in electrochemical nitrate reduction NO3RR.

SYSTEMS AND METHODS FOR CONTROLLING COLD STARTUP OF A FUEL CELL

NºPublicación:  US20260008385A1 08/01/2026
Solicitante: 
TOYOTA MOTOR ENGINEERING & MFG NORTH AMERICA INC [US]
TOYOTA JIDOSHA KK [JP]
Toyota Motor Engineering & Manufacturing North America, Inc,
Toyota Jidosha Kabushiki Kaisha
US_20260008385_PA

Resumen de: US20260008385A1

Systems and methods described herein relate to controlling cold startup of a fuel cell. In one embodiment, a system for controlling cold startup of a fuel cell detects that a fuel cell and a high-voltage battery are at a temperature below a predetermined threshold temperature below which discharging power from the high-voltage battery is permitted and charging the high-voltage battery is not permitted. The system activates a battery heater and powers the battery heater using the high-voltage battery. The system starts up the fuel cell by drawing additional power from the high-voltage battery. The system consumes, in the battery heater, power generated by the fuel cell during startup until the fuel cell is fully started up to avoid charging the high-voltage battery while charging the high-voltage battery is not permitted.

METHOD FOR PRODUCING LAYERED SHEET STRUCTURES FROM TITANIUM OR TITANIUM ALLOYS FOR USE IN ELECTRODES OF PEM-TYPE ELECTROLYZERS AND/OR FUEL CELLS

NºPublicación:  US20260008102A1 08/01/2026
Solicitante: 
ELEMENT 22 GMBH [DE]
Element 22 GmbH
US_20260008102_PA

Resumen de: US20260008102A1

A method for producing layered sheet structures from titanium or titanium alloy metal for use in or as electrodes of PEM-type electrolyzers or fuel cells. The method includes providing a first sheet-like green part with voids or open spaces, where first sheet-like green part is a green part of a first metal sheet layer. The method alternatively includes providing a first metal sheet layer comprising a metallic frame structure with voids or open spaces. The method further includes providing a second sheet-like green part, where second sheet-like green part is a green part of a second metal sheet layer, which is porous. The method alternatively includes providing a second metal sheet layer, which is porous. The method further includes forming a stack with a combination of the first and second sheet-like green part and the first and second metal sheet. The method further includes bonding the metal sheet layers.

AIRCRAFT PROPULSION SYSTEM AND METHOD

NºPublicación:  US20260008551A1 08/01/2026
Solicitante: 
GKN AEROSPACE SERVICES LTD [GB]
GKN AEROSPACE SERVICES LIMITED
US_20260008551_PA

Resumen de: US20260008551A1

The present invention relates to a propulsion system for providing controllable propulsion comprising: a fuel cell arrangement (210) for generating electrical energy; a gas generator (250) comprising a compressor (256), a combustor (254) and a turbine (252), wherein the output from turbine is arranged to provide propulsion from rotational movement; a hydrogen source (212) for providing hydrogen to the fuel cell arrangement and the gas generator; an oxygen source (214) for providing oxygen to the gas generator (250), wherein, in use, the gas generator is used selectively to provide electrical energy for additional propulsion.

A FUEL CELL SYSTEM HAVING A SECONDARY HYDROGEN STORAGE TANK TO AVOID SHUTTING DOWN THE FUEL CELL SYSTEM DURING REFUELING

NºPublicación:  US20260009503A1 08/01/2026
Solicitante: 
VOLVO TRUCK CORP [SE]
Volvo Truck Corporation
US_20260009503_PA

Resumen de: US20260009503A1

A method in a continuous hydrogen delivery system having a plurality of primary hydrogen fuel tanks and at least one primary hydrogen fuel tank of the plurality of primary hydrogen fuel tanks acting as a secondary hydrogen fuel tank during refueling to maintain availability of hydrogen to fuel consumers during refueling of the primary hydrogen fuel tanks. The method further includes responsive to determining that the primary hydrogen fuel tanks is set up for refueling: before the refueling process begins: disconnecting the primary hydrogen fuel tanks from the primary fuel consumer while maintaining a connection of the secondary hydrogen fuel tank to at least one of the primary fuel consumer and the secondary fuel consumer. The method further includes after the tanks have been refueled: connecting the primary and the secondary hydrogen fuel tanks to at least one of the primary fuel consumer and the secondary fuel consumer.

CHECK VALVE, METHOD OF OPERATING A CHECK VALVE AND SOLENOID ASSEMBLY

NºPublicación:  US20260009476A1 08/01/2026
Solicitante: 
ROBERT BOSCH GMBH [DE]
Robert Bosch GmbH
US_20260009476_PA

Resumen de: US20260009476A1

The invention relates to a check valve (1) having a solenoid assembly (2), which comprises a solenoid actuator (12) having a solenoid (6) and an armature (7), which is pre-tensioned by a spring element (9) with a pre-tensioning force acting in a closing direction, wherein the armature (7) is movable along an axis of movement (10) in an opening direction to open the check valve (1) via a magnetic flux acting against the pre-tensioning force of the spring element (9), to open a fluidic connection between a fluid inlet (4) and a fluid outlet (5), which is blocked without the magnetic force, by a magnetic force pulling on the armature (7).In order to functionally improve the check valve (1), the solenoid assembly (2) is designed in such a way that a selectively asymmetric magnetic force distribution results with respect to the axis of movement (10) of the armature (7).

ABNORMALITY DETERMINATION DEVICE AND ABNORMALITY DETERMINATION METHOD

NºPublicación:  US20260009690A1 08/01/2026
Solicitante: 
HONDA MOTOR CO LTD [JP]
HONDA MOTOR CO., LTD
US_20260009690_PA

Resumen de: US20260009690A1

An abnormality determination device includes: a first gas density acquisition unit that acquires a first gas density, which is a density of a gas in a gas reservoir unit when the gas reservoir unit has been filled with the gas via a gas filling path; a second gas density acquisition unit that acquires a second gas density, which is a density of the gas in the gas reservoir unit when the gas is supplied from the gas reservoir unit via a gas supply path; and an abnormality determination unit that determines whether or not a first pressure sensor or a second pressure sensor is abnormal, based on the first gas density acquired by the first gas density acquisition unit and the second gas density acquired by the second gas density acquisition unit.

SYSTEM AND METHOD FOR PROVIDING SUPPLEMENTAL POWER AND COOLING TO ONE OR MORE SERVER RACKS

NºPublicación:  US20260013081A1 08/01/2026
Solicitante: 
TOYOTA MOTOR ENGINEERING & MFG NORTH AMERICA INC [US]
TOYOTA JIDOSHA KK [JP]
Toyota Motor Engineering & Manufacturing North America, Inc,
Toyota Jidosha Kabushiki Kaisha
US_20260013081_PA

Resumen de: US20260013081A1

Described herein are systems and methods for providing supplemental power and cooling to an electrical load, such as one or more server racks. In one example, a system includes a secondary power source that emits water as a by-product of operation and is connected to an electrical load that receives power from a primary power source and is cooled by a water-cooling system. The secondary power source is selectively configured to provide supplemental power to the electrical load when a condition has been met, wherein water produced during the operation of the secondary power source is provided to the water-cooling system.

FUEL CELL SYSTEM INCLUDING VALVED ANODE TAILGAS OXIDIZER CONDUIT ASSEMBLY

NºPublicación:  US20260011761A1 08/01/2026
Solicitante: 
BLOOM ENERGY CORP [US]
Bloom Energy Corporation
US_20260011761_PA

Resumen de: US20260011761A1

A fuel cell system includes a hotbox, a stack of fuel cells located in the hotbox and configured to generate power and an anode exhaust, an anode tail gas oxidizer (ATO) located in the hotbox and configured to oxidize a portion of the anode exhaust, a recycling conduit located outside of the hotbox and configured to receive the anode exhaust output from the hotbox, a fuel conduit assembly configured to provide fuel to the stack, and an ATO conduit assembly concentrically surrounding the fuel conduit assembly and configured to receive a first portion of the anode exhaust diverted from the recycling conduit and to provide the first portion of the anode exhaust to the ATO.

SYSTEMS AND METHODS OF USING PURE HYDROGEN AS FUEL IN A TURBOCHARGED FUEL CELL

NºPublicación:  US20260011760A1 08/01/2026
Solicitante: 
CATERPILLAR INC [US]
Caterpillar Inc
US_20260011760_PA

Resumen de: US20260011760A1

Provided herein are systems and methods for using pure hydrogen as fuel in a turbocharged fuel cell. A vehicle may include a storage configured to store pressurized hydrogen, a fuel cell, a catalytic converter, and a turbo compressor. The fuel cell includes an anode loop fluidically coupled to the storage and configured to receive the pressurized hydrogen therefrom, and a cathode loop configured to receive oxygen. The catalytic converter, arranged downstream from the anode loop, recovers excess hydrogen from the pressurized hydrogen used by the anode loop and recovers excess oxygen from the oxygen used by the cathode loop. The turbo compressor includes an expander to recover heat from the catalytic converter.

FLOW BATTERY BUBBLE DETECTION SYSTEM

NºPublicación:  US20260011759A1 08/01/2026
Solicitante: 
CPC CORP TAIWAN [TW]
CPC Corporation, Taiwan
US_20260011759_PA

Resumen de: US20260011759A1

A flow battery bubble detection system includes a flow battery having a cathode and an anode circulation flow path, an electrochemical cell and an exchange membrane. A portion of the cathode or the anode circulation flow path is formed as a light-transmissible flow path section. A detection device includes a light source, a receiving unit and a detection unit. The light source and receiving unit are connected to the detection unit and respectively arranged on opposite sides of the light-transmissible flow path section so that a detection light of a single wavelength emitted from the light source travels through the light-transmissible flow path section and is received by the receiving unit. The receiving unit outputs a detection voltage signal to the detection unit corresponding to the received detection light. The detection unit detects bubbles in the electrolyte flowing through the light-transmissible flow path section based on the detection voltage signal.

Method for Manufacturing Fuel Cell Separator and Fuel Cell Separator

NºPublicación:  US20260011754A1 08/01/2026
Solicitante: 
NOK CORP [JP]
HONDA MOTOR CO LTD [JP]
NOK CORPORATION,
Honda Motor Co., Ltd
US_20260011754_PA

Resumen de: US20260011754A1

To suppress a situation in which a separator is deformed due to pre-pressing performed on bead parts, a manufacturing method is provided that includes a press forming step of forming a first separator and a second separator by performing press forming on metal materials. Next, in a joining step, the first separator and the second separator are joined such that bead parts and a plurality of bridge parts face away from bead parts and a plurality of bridge parts. The manufacturing method also includes a pre-pressing step of plastically deforming the bead parts of the first separator and the second separator by applying a preload to the bead parts, the first separator and the second separator being joined together. In this pre-pressing step, deformation is suppressed at the plurality of bridge parts and at portions on bottom parts between the plurality of bridge parts.

High-Efficiency Integrated Absorption Cooling System Utilizing Fuel Cell Exhaust Heat

NºPublicación:  US20260011762A1 08/01/2026
Solicitante: 
SAMJUNGTECH CO LTD [KR]
SK ECOPLANT CO LTD [KR]
SAMJUNGTECH CO., LTD,
SK ECOPLANT CO., LTD
US_20260011762_PA

Resumen de: US20260011762A1

The absorption cooling system of the present invention includes a fuel cell unit (100) that discharges exhaust gas generated during power generation and an absorption cooling unit (200) that utilizes the exhaust gas as a heat source. The absorption cooling unit (200) includes an absorption chiller (10) that receives the exhaust gas as a heat source; an upper cooling tower (30) that lowers the temperature of the cooling water heated by the absorption chiller; a cooling water pump (40) that controls the flow of cooling water; a chilled water pump (50) that controls the flow of chilled water cooled by the absorption chiller; a system control unit (90) that controls the operation of the absorption cooling unit (200); a bypass valve (60) installed in the bypass pipe (12) that controls the external discharge of the exhaust gas supplied from the fuel cell unit (100); an exhaust gas introduction valve (70) installed in the exhaust gas introduction pipe (13) that controls the supply of the exhaust gas to the absorption chiller (10); and an exhaust gas intake device (20) that provides pressure so that the exhaust gas can be supplied to the absorption chiller (10).

SYSTEM FOR A METHANOL-BASED FUEL CELL

NºPublicación:  US20260011755A1 08/01/2026
Solicitante: 
CATERPILLAR INC [US]
Caterpillar Inc
US_20260011755_PA

Resumen de: US20260011755A1

Provided herein are systems and methods for using a methanol solution in a fuel cell. A vehicle may include a storage configured to store fuel; a reformer configured to produce hydrogen from the fuel received from the storage; and a fuel cell. The fuel cell may include an anode loop fluidically coupled to the reformer and configured to receive the hydrogen therefrom; and a cathode loop configured to receive oxygen. A catalytic converter arranged downstream from the fuel cell may be configured to recover excess hydrogen from the hydrogen used by the anode loop and to recover excess oxygen from the oxygen used by the cathode loop. The catalytic converter may further supply heat to an expander of a turbo compressor through the reformer.

FUEL-CELL EXHAUST SYSTEM, FUEL CELL SYSTEM AND METHOD FOR REDUCING THE WATER CONTENT IN FUEL-CELL EXHAUST GAS

NºPublicación:  US20260011757A1 08/01/2026
Solicitante: 
PUREM GMBH [DE]
Purem GmbH
US_20260011757_PA

Resumen de: US20260011757A1

A fuel-cell exhaust system for a fuel cell system includes a heat exchanger arrangement with a first heat exchanger area, through which fuel-cell exhaust gas can flow, and a second heat exchanger area, through which cooling gas can flow, the first heat exchanger area and the second heat exchanger area being in heat transfer interaction for transferring heat from the fuel-cell exhaust gas to the cooling gas, and a mixing arrangement for receiving cooled fuel-cell exhaust gas discharged from the first heat exchanger area and heated cooling gas discharged from the second heat exchanger area in a mixing volume for producing a mixture of cooled fuel-cell exhaust gas and heated cooling gas and for discharging the mixture.

Fuel Cell System

NºPublicación:  US20260011756A1 08/01/2026
Solicitante: 
HYUNDAI MOTOR COMPANY [KR]
KIA CORP [KR]
HYUNDAI MOTOR COMPANY,
KIA CORPORATION
US_20260011756_PA

Resumen de: US20260011756A1

Proposed is a fuel cell system, including a fuel cell stack connected to an intake line and an exhaust line, an air compressor connected to the intake line, and a heat energy storage part provided between the fuel cell stack and the air compressor on the intake line and absorbing and storing heat from the air on the intake line through a thermochemical reaction and releasing moisture into the air on the intake line.

SYSTEMS AND METHODS OF FAST START-UP AND WARM-UP IN TURBOCHARGED FUEL CELLS

NºPublicación:  US20260011758A1 08/01/2026
Solicitante: 
CATERPILLAR INC [US]
Caterpillar Inc
US_20260011758_PA

Resumen de: US20260011758A1

Provided herein are systems and methods for improving warm-up times for fuel cells. A method of the present disclosure includes detecting, by one or more processors, a warm-up condition of a fuel cell, and controlling, by the one or more processors, a first valve and a second valve, to cause pressurized oxygen and pressurized hydrogen to be supplied to a catalytic converter arranged downstream from the fuel cell, to cause the catalytic converter to produce heat to be transferred to a coolant loop of the fuel cell, during the warm-up condition.

A PROTON-EXCHANGE MEMBRANE

NºPublicación:  AU2024326124A1 08/01/2026
Solicitante: 
JOHNSON MATTHEY HYDROGEN TECH LIMITED
JOHNSON MATTHEY HYDROGEN TECHNOLOGIES LIMITED
AU_2024326124_PA

Resumen de: AU2024326124A1

The present invention provides a proton-exchange membrane comprising a blend of first and second ionomers, the first ionomer comprising a first main chain covalently bonded to a first side chain and the second ionomer comprising a second main chain covalently bonded to a second side chain; wherein each of the first and second side chains comprise a sulfonic acid end group; wherein a relaxation modulus of a membrane formed from the first ionomer is at least 10 times less than a relaxation modulus of a membrane formed from the second ionomer, preferably at least 100 times less; and wherein the relaxation modulus of the membrane formed from the second ionomer is greater than 10,000 MPa.

ELECTROCHEMICAL CELL

NºPublicación:  AU2024305070A1 08/01/2026
Solicitante: 
FORTESCUE FUTURE IND PTY LTD
FORTESCUE FUTURE INDUSTRIES PTY LTD
AU_2024305070_PA

Resumen de: AU2024305070A1

An electrochemical cell comprising a non electrically-conductive structural frame for supporting components of the electrochemical cell and a tensioning element, wherein the structural frame comprises engagement means adapted to engage the tensioning element, wherein the engagement means comprises at least two bosses on the structural frame, each boss adapted to engage with a corresponding aperture on the tensioning element.

ELECTROCHEMICAL CELL DEVICE, MODULE, AND MODULE HOUSING DEVICE

NºPublicación:  US20260011765A1 08/01/2026
Solicitante: 
KYOCERA CORP [JP]
KYOCERA Corporation
US_20260011765_PA

Resumen de: US20260011765A1

An electrochemical cell device includes a plurality of electrochemical cells arranged in a first direction, and including a first cell and a second cell. The plurality of electrochemical cells each include an element portion, a support body, and a fixing material. The support body supports the element portion. The fixing material fixes the element portion and the support body. The first cell is different from the second cell in a position of the fixing material when viewed in a plan view in the first direction.

INTEGRATED FUEL CELL SYSTEM INCLUDING INDEPENDENTLY CONTROLLABLE COLUMNS

NºPublicación:  US20260011763A1 08/01/2026
Solicitante: 
BLOOM ENERGY CORP [US]
Bloom Energy Corporation
US_20260011763_PA

Resumen de: US20260011763A1

A system includes a plurality of columns of fuel cells located in a hotbox, a direct current (DC) bus, a plurality of DC/DC converters, each DC/DC converter being electrically connected to a respective column of fuel cells and to the DC bus, and a controller configured for independently controlling the columns of fuel cells. The controller is configured to activate a first column of fuel cells by activating fuel flow to the first column of fuel cells and activating a first DC/DC converter of the plurality of DC/DC converters electrically connected to the first column of fuel cells while a second column of fuel cells is already active.

SOFC FOR THE COMBINED PRODUCTION OF ELECTRICITY AND NITRIC OXIDE

NºPublicación:  US20260011764A1 08/01/2026
Solicitante: 
YARA INT ASA [NO]
Yara International ASA
US_20260011764_PA

Resumen de: US20260011764A1

An SOFC for the combined production of electricity and a nitric oxide (NO) containing gas stream, wherein NO represents at least 10% by weight of the NO containing gas stream, comprising: an anodic side comprising a solid gas-permeable anode, a gas inlet and a gas outlet;a source of ammonia gas in fluid communication with the gas inlet at the anodic side;a cathodic side comprising a solid gas-permeable cathode, a gas inlet and a gas outlet;a fully dense electrolyte, separating the anodic side from the cathodic side;means for heating the SOFC to a temperature ranging from 550 to 800° C.; and means for collecting a current flowing between the anodic side and the cathodic side.

再生型燃料電池システム

NºPublicación:  JP2026002504A 08/01/2026
Solicitante: 
トヨタ自動車株式会社
JP_2026002504_PA

Resumen de: JP2026002504A

【課題】燃料電池の発電に使用される水素および酸素の減少を抑制できる技術を提供する。【解決手段】再生型燃料電池システムは、燃料電池と、水を貯蔵する水タンクと、水素と酸素とを結合させて水を生成する再結合器と、水タンクから供給された水を電気分解して燃料電池の電気化学反応に用いられる水素と酸素とを生成する水電解装置と、を備え、水タンクは、燃料電池から排出された水素を含む水を貯蔵する第1領域と、燃料電池から排出された酸素を含む水を貯蔵する第2領域と、第1領域と第2領域とを連通する連通部と、を備え、再結合器は、連通部に配置されている。【選択図】図3

燃料電池システムにおける液体の浸入抑制構造

NºPublicación:  JP2026002742A 08/01/2026
Solicitante: 
愛三工業株式会社
JP_2026002742_PA

Resumen de: JP2026002742A

【課題】二部材間のシール箇所への液体の浸入を抑制する構造を提供すること。【解決手段】水素供給装置は、外周面23aを有する流入ポート20と、流入ポート20の外周面23aを覆うように上方から組み付けられる被嵌合部30と、流入ポート20と被嵌合部30との間をシールするように流入ポート20の外周面23aに形成される凹部21に設けられる環状のシール部材22を有する。被嵌合部30は、凹部21に外周側から被せられる被せ部31と、被せ部31よりも下方に延びる延出部40を有する。延出部40の内周面45と流入ポート20の外周面24aとの間に、延出部40の外周面33より径方向の外側にある外部空間52と連通する第1隙間50が形成される。【選択図】図2

燃料ガス貯蔵システム

NºPublicación:  JP2026002472A 08/01/2026
Solicitante: 
トヨタ自動車株式会社
JP_2026002472_PA

Resumen de: US2025389392A1

A fuel gas storage system includes a first tank including a first supply valve and a first communication valve. The fuel gas storage system includes a second tank including a second supply valve and a second communication valve. The fuel gas storage system includes a supply pipe connecting the first supply valve and the second supply valve to an external device. The fuel gas storage system includes a communication pipe connecting the first communication valve and the second communication valve to each other. The fuel gas storage system includes a control unit configured to be able to control an opened-closed state of each of the first supply valve, the second supply valve, the first communication valve, and the second communication valve. The control unit is configured to be able to execute specific control.

燃料電池システム

NºPublicación:  JP2026002415A 08/01/2026
Solicitante: 
トヨタ自動車株式会社
JP_2026002415_PA

Resumen de: JP2026002415A

【課題】水素ガス流路からの水素ガス漏れを正確に判定する技術を提案する。【解決手段】燃料電池システムは、燃料電池と、水素ガスタンクと、水素ガス流路と、圧力計と、制御装置と、を備える。制御装置は、水素ガスタンクから燃料電池への水素ガスの供給が停止した後に、水素ガス流路内の圧力減少速度である第1圧力減少速度を算出する学習動作と、学習動作後において前記水素ガスタンクから燃料電池への水素ガスの供給が停止した後に、水素ガス流路内の圧力減少速度である第2圧力減少速度を算出し、第1圧力減少速度に基づいて定まる圧力減少速度閾値よりも第2圧力減少速度が大きいか否かを判定する判定動作を実行する。制御装置は、圧力減少速度閾値に基づいて判定動作を実行する。そのため、閾値が固定されている場合よりも、水素ガス流路からの水素ガス漏れを正確に判定することができる。【選択図】図3

IMPROVEMENTS TO ELECTRO-SYNTHETIC OR ELECTRO-ENERGY CELLS

NºPublicación:  AU2024290995A1 08/01/2026
Solicitante: 
HYSATA PTY LTD
HYSATA PTY LTD
AU_2024290995_PA

Resumen de: AU2024290995A1

Disclosed is an electro-synthetic or electro-energy cell, comprising a first gas diffusion electrode, and a second electrode. A spacer, including but not limited to a porous capillary spacer, is positioned at least partially between the first gas diffusion electrode and the second electrode. In one form the liquid electrolyte is transferred onto a side surface of the spacer beyond the electrodes. In one example there is also provided a liquid electrolyte reservoir, where the first gas diffusion electrode, the second electrode and the spacer are positioned outside of the liquid electrolyte reservoir. In one example the liquid electrolyte reservoir includes an aperture to release liquid electrolyte. In another form, an intermediate liquid feed structure is located at least partially between the spacer and the liquid electrolyte reservoir, wherein the liquid electrolyte is transferred by the intermediate liquid feed structure. Methods of operation and cell stacks are also disclosed.

積層体の製造方法、及び積層体、並びに固体酸化物形燃料電池

NºPublicación:  JP2026002199A 08/01/2026
Solicitante: 
旭化成株式会社
JP_2026002199_PA

Resumen de: JP2026002199A

【課題】積層体の製造に掛かる時間を従来プロセスと比べて削減しながらも、十分な発電性能を発揮することが可能な該積層体の製造方法を提供する。【解決手段】積層体の製造方法であって、前記方法は、金属支持層31を作製するための、第1原料粉末を用いて得られる第1原料層21、負極層32を作製するための、第2原料粉末を用いて得られる第2原料層22、電解質層33を作製するための、第3原料粉末を用いて得られる第3原料層23、正極層34を作製するための、第4原料粉末を用いて得られる第4原料層24、から選ばれる2種以上の原料層を積層し、そして原料積層体20a~20cを得る、積層工程と、前記原料積層体を、各原料層に含まれる材料の焼結温度未満の温度で同時に圧縮固化し、そして、前記金属支持層、前記負極層、前記電解質層、及び前記正極層から選ばれる2種以上の層を備える積層体30a~30cを得る、圧縮固化工程と、を有する。【選択図】図4

燃料電池

NºPublicación:  JP2026002272A 08/01/2026
Solicitante: 
株式会社日立ハイテク
JP_2026002272_PA

Resumen de: WO2025263018A1

The purpose of the present invention is to provide a fuel cell stack which has high output and high reliability by excluding divided cells that adversely affect the power generation output in cases where divided cells are constituted by dividing a fuel cell on a substrate. A fuel cell according to the present invention comprises a porous substrate, a first electrode layer, a solid electrolyte layer, and a second electrode layer. At least one of the first electrode layer and the second electrode layer is divided so as to form divided cells, and at least some of the divided cells each have an insulating buffer part that insulates the electrode layer from a collector (see Fig. 6).

水素収集ユニットを有する装置

NºPublicación:  JP2026500655A 08/01/2026
Solicitante: 
アングロベルジャンコーポレーションエンフェー
JP_2026500655_PA

Resumen de: CN120457273A

An apparatus (100, 200) suitable for hydrogen applications, comprising: a hydrogen preparation unit (102) suitable for supplying a gaseous medium containing hydrogen at a pressure between a lower limit and an upper limit, the gaseous medium containing at least 85 volume percent hydrogen; a hydrogen collector unit (101, 201) comprising one or more duct elements (300, 301), which together define an internal space delimited by a wall portion; a hydrogen treatment unit (103) adapted to treat and/or use a hydrogen-containing medium wherein the apparatus (100, 200) is adapted to: feed the hydrogen-containing medium from the hydrogen production unit (102) to the hydrogen collector unit (101, 201); the hydrogen-containing medium is supplied from the hydrogen collector unit (101, 201) to the hydrogen treatment unit (103), where the upper limit is at most 50 bar, and each of the one or more conduit elements (300, 301) is a casting made of nodular cast iron having a tensile strength of at most 600 MPa.

FREE-STANDING, ION-SELECTIVE COMPOSITE MEMBRANES INCLUDING SULFONATED AROMATIC POLYMERS

NºPublicación:  WO2026011156A1 08/01/2026
Solicitante: 
AMTEK RES INTERNATIONAL LLC [US]
AMTEK RESEARCH INTERNATIONAL LLC

Resumen de: WO2026011156A1

This disclosure relates to free-standing, composite membranes that include an ion-selective polymer coating that covers at least one surface and partially penetrates into the pore structure of a polyolefin substrate. The ion-selective polymer coating includes an ion-selective, sulfonated aromatic polymer containing aromatic groups in the backbone of the polymer. While the composite membranes do not have open, interconnected pores that connect each major surface, ion transport can take place through wetting of available pores and swelling of the ion-selective polymer coating accompanied by ion migration from one membrane surface to the opposite surface. Such composite membranes are useful for separating the anolyte and catholyte in a flow battery.

BIODEGRADABLE BATTERY SYSTEM WITH MODULAR ENERGY PODS

NºPublicación:  WO2026010707A1 08/01/2026
Solicitante: 
MAGVOLTS ENERGY INC [US]
MAGVOLTS ENERGY, INC

Resumen de: WO2026010707A1

The present disclosure provides a modular biodegradable battery system addressing limitations of conventional batteries. The system comprises removable energy pods, each containing a first electrode, a second electrode, separate compartments for organic material and vinegar, and an activation mechanism to mix these components into a biodegradable slurry. A reusable modular base removably couples with the energy pods. This design enables customizable power configurations while utilizing environmentally friendly materials. The activation mechanism allows on-demand power generation, overcoming shelf-life issues of pre-mixed biodegradable batteries. The modular base facilitates easy replacement of depleted pods and supports series or parallel connections for voltage or current amplification. This system offers a sustainable alternative to traditional batteries, reducing electronic waste and environmental impact.

HUMIDIFIER FOR FUEL CELL FOR INCREASING FLUID RESIDENCE TIME

NºPublicación:  WO2026010471A1 08/01/2026
Solicitante: 
KOLON IND INC [KR]
\uCF54\uC624\uB871\uC778\uB354\uC2A4\uD2B8\uB9AC \uC8FC\uC2DD\uD68C\uC0AC

Resumen de: WO2026010471A1

A humidifier for a fuel cell for increasing a fluid residence time, of the present invention, comprises: a mid-case provided with a first fluid inlet through which a first fluid flows in and a second fluid outlet through which the first fluid is discharged; a mid-case barrier wall which is provided in the mid-case and partitions a space inside the mid-case between a plurality of cartridges; an end cap which is provided with a second fluid inlet through which a second fluid flows in and a second fluid outlet through which the second fluid is discharged, and is coupled to the mid-case; and an end cap barrier wall which is provided in the end cap and partitions a space in the end cap.

STACK MODULE HAVING IMPROVED FUEL SUPPLY CONFIGURATION

NºPublicación:  WO2026010059A1 08/01/2026
Solicitante: 
KOREA HYDRO & NUCLEAR POWER CO LTD [KR]
\uD55C\uAD6D\uC218\uB825\uC6D0\uC790\uB825 \uC8FC\uC2DD\uD68C\uC0AC
KR_102898184_B1

Resumen de: WO2026010059A1

The present invention relates to a stack module having an improved fuel supply configuration, comprising: a stack including a fuel flow path for receiving fuel and discharging the fuel after use; a manifold located below the stack, including a sub-manifold elongated in a first direction, and forming a lower flow path communicating with the fuel flow path; a main flow path connected to an end of the lower flow path; and a gasket located between the stack and the manifold and compressed by the load of the stack to bring the stack and the manifold into close contact with each other, wherein a plurality of stacks are provided, a plurality of manifolds are provided corresponding to the respective stacks, and the plurality of stacks are disposed along a second direction perpendicular to the first direction.

SOLID OXIDE ELECTROLYSIS CELL

NºPublicación:  WO2026009553A1 08/01/2026
Solicitante: 
DENSO CORP [JP]
\u682A\u5F0F\u4F1A\u793E\u30C7\u30F3\u30BD\u30FC

Resumen de: WO2026009553A1

A solid oxide electrolysis cell (1) has: a metal support (2) having a through-pore formation region (22) in which a large number of through-pores (21) penetrating in the thickness direction are formed; and a cell portion (3) layered on one surface of the through-pore formation region (22). The cell portion (3) has, in order from the metal support (2) side, a fuel diffusion layer (31) that diffuses fuel gas, a fuel electrode layer (32) to which the fuel gas is supplied from the fuel diffusion layer (31), a solid electrolyte layer (33), and an air electrode layer (34) that pairs with the fuel electrode layer (32). The solid oxide electrolysis cell (1) satisfies the relationship: metal support porosity < fuel diffusion layer porosity < fuel electrode layer porosity, where the metal support porosity is the area ratio of voids in a cross section along the surface direction of the metal support (2), the fuel diffusion layer porosity is the area ratio of voids in a cross section along the surface direction of the fuel diffusion layer (31), and the fuel electrode layer porosity is the area ratio of voids in a cross section along the surface direction of the fuel electrode layer (32).

LOW-COST ZINC-POLYIODIDE REDOX FLOW BATTERY

NºPublicación:  WO2026009233A1 08/01/2026
Solicitante: 
INDIAN INSTITUTE OF TECH MADRAS IIT MADRAS [IN]
INDIAN INSTITUTE OF TECHNOLOGY MADRAS (IIT MADRAS)

Resumen de: WO2026009233A1

The present invention relates to redox flow battery system. In particular, the present invention relates to low-cost Zinc-polyiodide redox flow battery (ZIFBs) with a low-cost electrolyte additive and a composite membrane comprising a microporous membrane and a cation conducting membrane.

AN ELECTRODE, A METHOD OF PRODUCING IT, AND A FUEL CELL WITH SUCH ELECTRODE

NºPublicación:  WO2026008113A1 08/01/2026
Solicitante: 
BLUE WORLD TECH HOLDING APS [DK]
BLUE WORLD TECHNOLOGIES HOLDING APS

Resumen de: WO2026008113A1

An electrode, a method of producing it, and a fuel cell with such elec- trode In a method of producing electrodes (20), for example for fuel cells, two aqueous coatings (15, 16) are subsequently applied onto a porous hydrophobic electroconductive substrate (10). A first coating containing a sacrificial hydrophilic polymer, for example HEC and/or PPC, is applied for temporarily hydrophilizing the substrate surface. For providing a catalyst layer, CL, a second coating is applied on the first coating. The sec- ond coating comprises an electroconductive filler and a catalyst and water soluble polymeric binders, for example PVA and HPC. By heating the coatings, the sacrificial pol- ymer decomposes and evaporates and binds the catalyst layer to the substrate.

AN ELECTRODE, A METHOD OF PRODUCING IT, AND A FUEL CELL WITH SUCH ELECTRODE

NºPublicación:  WO2026008114A1 08/01/2026
Solicitante: 
BLUE WORLD TECH HOLDING APS [DK]
BLUE WORLD TECHNOLOGIES HOLDING APS

Resumen de: WO2026008114A1

An electrode, a method of producing it, and a fuel cell with such elec- trode In a method of producing electrodes (20), for example for fuel cells, an aqueous coating (15, 16) is applied onto a microporous substrate (10) for a gas diffusion layer. The coating comprises a catalyst as well as a first polymeric binder that is only water soluble below a first temperature T1 and a second polymeric binder that is only water soluble above a second temperature T2, wherein T2>T1. When preparing the coating, the first and second polymeric binders are added to an aqueous base in separate stages, where the temperature of the aqueous base is below T1 when adding the first polymeric binder and above T2 when adding the second polymeric binder. By heating the coating, the two polymers are cross linked, which prevents dissolution of the two polymeric binders.

BATTERY CELL, FUEL CELL STACK, AND VEHICLE

NºPublicación:  WO2026007333A1 08/01/2026
Solicitante: 
DONGFENG MOTOR GROUP CO LTD [CN]
\u4E1C\u98CE\u6C7D\u8F66\u96C6\u56E2\u80A1\u4EFD\u6709\u9650\u516C\u53F8
CN_118738455_PA

Resumen de: WO2026007333A1

The present application relates to the technical field of fuel cells, and discloses a battery cell, a fuel cell stack, and a vehicle. The battery cell comprises: a negative electrode sheet and a positive electrode sheet arranged in parallel; and a membrane electrode arranged between the negative electrode sheet and the positive electrode sheet, and at least partially arranged obliquely with respect to the negative electrode sheet and the positive electrode sheet, so that the flow areas of reaction medium cavities formed between the membrane electrode and the negative electrode sheet and between the membrane electrode and the positive electrode sheet decrease in the flow direction of reaction media.

Verfahren zum Betreiben eines Brennstoffzellensystems, Steuergerät

NºPublicación:  DE102024205899A1 08/01/2026
Solicitante: 
BOSCH GMBH ROBERT [DE]
Robert Bosch Gesellschaft mit beschr\u00E4nkter Haftung

Resumen de: DE102024205899A1

Die Erfindung betrifft ein Verfahren zum Betreiben eines Brennstoffzellensystems (1), umfassend einen Brennstoffzellenstapel (2) mit einer Kathode (2.1) und einer Anode (2.2), wobei der Anode (2.2) über einen Anodenkreis (3) Wasserstoff zugeführt wird, der einem Tank entnommen und mittels eines Wasserstoffdosierventils (4) in den Anodenkreis (3) eindosiert wird, und wobei aus der Anode (2.2) austretendes, Restwasserstoff enthaltendes Anodengas über den Anodenkreis (3) rezirkuliert wird. Erfindungsgemäß wird das Wasserstoffdosierventil (4) zumindest temporär, insbesondere im Teillastbetrieb, gepulst betrieben, so dass im Anodenkreis (3) sowie in der Anode (2.2) den Wasseraustrag fördernde Druckpulse erzeugt werden.Die Erfindung betrifft ferner ein Steuergerät zur Ausführung des Verfahrens oder von Verfahrensschritten.

Verfahren zum Betreiben eines Brennstoffzellensystems

NºPublicación:  DE102024206171A1 08/01/2026
Solicitante: 
BOSCH GMBH ROBERT [DE]
Robert Bosch Gesellschaft mit beschr\u00E4nkter Haftung

Resumen de: DE102024206171A1

Verfahren zum Betreiben eines Brennstoffzellensystems (10) mit mindestens zwei Brennstoffzellenstacks (100, 200), wobei bei einer geänderten Lastanforderung an das Brennstoffzellensystem (10) folgende Schritte durchgeführt werden:a. Ermitteln eines Alterungsmerkmals für jeden Brennstoffzellenstack (100, 200)b. In Abhängigkeit des Alterungsmerkmals des jeweiligen Brennstoffzellenstacks (100, 200) findet eine Aufteilung der Leistungsbereitstellung auf die jeweiligen Brennstoffzellenstacks (100, 200) statt

Verfahren und Produktionsvorrichtung zur Herstellung und Bearbeitung von strukturierten Platten und Stapelanordnung von strukturierten Platten

NºPublicación:  DE102024118528A1 08/01/2026
Solicitante: 
FRAUNHOFER GES FORSCHUNG [DE]
Fraunhofer-Gesellschaft zur F\u00F6rderung der angewandten Forschung eingetragener Verein

Resumen de: DE102024118528A1

Die vorliegende Erfindung betrifft ein Verfahren und eine Produktionsvorrichtung zur Herstellung und Bearbeitung von strukturierten Platten, bei welchen ein Metallband dreidimensional unter Ausbildung von zusammenhängenden strukturierten Platten strukturiert wird. Außerdem betrifft die Erfindung eine Stapelanordnung von strukturierten Platten, bei der die strukturierten Platten jeweils zusammenhängend zickzackförmig oder aufeinander oder nebeneinander angeordnet sind, sodass abwechselnd entweder zwei Vorderseiten oder zwei Rückseiten der strukturierten Platten einander gegenüber angeordnet sind. Erfindungsgemäß wird in das Metallband durchgängig quer zu der Bandlängsrichtung in Abständen, die jeweils einer Länge oder einem Vielfachen der Länge der strukturierten Platten entsprechen, und/oder durchgängig in der Bandlängsrichtung entweder mittig des Metallbandes oder in Abständen, die jeweils einer Breite der strukturierten Platten entsprechen, jeweils eine das Material des Metallbandes nicht durchtrennende Kerbe eingebracht, wobei die strukturierten Platten jeweils an einem Kerbenboden der Kerbe(n) miteinander verbunden sind, und das Metallband entlang der jeweiligen Kerbe(n) gefaltet wird.

ELEKTRODENPLATTE FÜR EINE BRENNSTOFFZELLE, HERSTELLUNGSVERFAHREN, BRENNSTOFFZELLENSYSTEM SOWIE FAHRZEUG

NºPublicación:  DE102025121733A1 08/01/2026
Solicitante: 
BOSCH GMBH ROBERT [DE]
Robert Bosch Gesellschaft mit beschr\u00E4nkter Haftung
CN_121282234_PA

Resumen de: DE102025121733A1

Die vorliegende Offenbarung betrifft eine Elektrodenplatte für eine Brennstoffzelle, ein Herstellungsverfahren, ein Brennstoffzellensystem sowie ein Fahrzeug. Diese Elektrodenplatte für eine Brennstoffzelle umfasst ein Substrat, das zum Verteilen der Ziel-Reaktanten der Brennstoffzelle dient und leitfähig ist; eine erste Materialschicht, die auf der Oberseite des Substrats angeordnet ist und über eine zum Kontakt mit der Oberseite des Substrats dienende erste Oberfläche verfügt; eine zweite Materialschicht, die eine Katalysatorschicht zum Schutz vor umgekehrter Spannung der Brennstoffzelle umfasst und auf der der ersten Oberfläche gegenüberliegenden zweiten Oberfläche der ersten Materialschicht angeordnet ist, wobei die zweite Materialschicht über eine zum Kontakt mit der Gasdiffusionsschicht der Brennstoffzelle dienende Kontaktfläche verfügt. Mithilfe der von den Ausführungsbeispielen der vorliegenden Offenbarung bereitgestellten Lösung wird durch Anordnen einer zweiten Materialschicht zum Schutz vor umgekehrter Polarität auf der Elektrodenplatte der Brennstoffzelle ein Schutz vor umgekehrter Spannung der Brennstoffzelle erzielt, wodurch die Korrosionsbeständigkeit der Elektrodenplatte bei hohen Potenzialen erhöht wird, was für die Gewährleistung der Betriebsstabilität der Brennstoffzelle und eine Verbesserung der Alterungsbeständigkeit der Brennstoffzelle sorgt.

Verfahren zum Betreiben eines Brennstoffzellensystems, Computerprogrammprodukt, Steuereinheit und Brennstoffzellensystem

NºPublicación:  DE102024206380A1 08/01/2026
Solicitante: 
BOSCH GMBH ROBERT [DE]
Robert Bosch Gesellschaft mit beschr\u00E4nkter Haftung

Resumen de: DE102024206380A1

Die Erfindung betrifft ein Verfahren zum Betreiben eines Brennstoffzellensystems (100),welches mit mindestens einem Brennstoffzellenstack (101) ausgeführt ist, wobei der mindestens eine Brennstoffzellenstack (101) ein korrespondierendes Luftsystem (10) aufweist,aufweisend:(4) Erfassen einer Startanforderung des Brennstoffzellensystems (100),(8) Überprüfen, ob ein Gefrierstart erforderlich ist, wenn ja, dann:(20) Einschränken eines Gefrierstartverfahrens auf Reglermodi für das Luftsystem (10) ohne eine Nutzung von einfrierkritischen Ventilen (kV) für die Regelung,(24) Durchführen des Gefrierstartverfahrens ohne die Nutzung von einfrierkritischen Ventilen (kV) für die Regelung,(30) Überprüfen einer Einsatzbereitschaft von einfrierkritischen Ventilen (kV), wenn ja, dann:(34) Freigeben von einfrierkritischen Ventilen (kV) für die Regelung in Abhängigkeit ihrer Einsatzbereitschaft,(36) Weiterführen des Startverfahrens mit freigegebenen Ventilen (kV).

Verfahren zum Anpassen einer Betriebsstrategie eines Brennstoffzellensystems, Brennstoffzellensystem, Fahrzeug, Computerprogrammprodukt, computerlesbares Medium sowie Datenträgersignal

NºPublicación:  DE102024118926A1 08/01/2026
Solicitante: 
BAYERISCHE MOTOREN WERKE AG [DE]
Bayerische Motoren Werke Aktiengesellschaft

Resumen de: DE102024118926A1

Die vorliegende Erfindung betrifft ein Verfahren zum Anpassen einer Betriebsstrategie eines Brennstoffzellensystems (100), wobei für viele Betriebspunkte der Betriebsstrategie auf einer Speichervorrichtung (51) des Brennstoffzellensystems (100) jeweils zumindest als Betriebspunktinformationen ein Soll-Druckunterschied, ein Schwellwert einer mit einem Brennstoffanteil eines Anodengases zumindest in Beziehung stehender Fluid-Größe sowie ein Soll-Eingangsdruck des Anodengases hinterlegt sind, und wobei das Verfahren als Schritte ein Ermitteln (320) mehrerer physikalischer Größen des Brennstoffzellensystems (100), ein Ermitteln (340) eines ersten Betriebspunktes des Brennstoffzellensystems (100), ein Ermitteln (360) eines Soll-Druckunterschieds für den ersten Betriebspunkt des Brennstoffzellensystems (100) basierend zumindest auf einem hinterlegten Soll-Druckunterschied zumindest eines Betriebspunkts der vielen Betriebspunkte des Brennstoffzellensystems (100), ein Ermitteln (380) eines Ist-Druckunterschieds für den ersten Betriebspunkt des Brennstoffzellensystems (100) sowie ein Erkennen (400) eines Erfüllens eines Anpassungskriterium basierend auf dem ermittelten Soll-Druckunterschied und Ist-Druckunterschied, wobei als Reaktion darauf zumindest die hinterlegten Betriebspunktinformationen eines Betriebspunktes angepasst werden (420).

Verfahren zum hybriden Fügen sehr dünner Fügepartner

NºPublicación:  DE102024206139A1 08/01/2026
Solicitante: 
FRAUNHOFER GES FORSCHUNG [DE]
TECHNISCHE UNIV DRESDEN KOERPERSCHAFT DES OEFFENTLICHEN RECHTS [DE]
Fraunhofer-Gesellschaft zur F\u00F6rderung der angewandten Forschung eingetragener Verein,
Technische Universit\u00E4t Dresden, K\u00F6rperschaft des \u00F6ffentlichen Rechts

Resumen de: DE102024206139A1

Die Erfindung betrifft ein Verfahren zum hybriden Fügen von mindestens zwei sehr dünnen Fügepartnern (1) aus einem oder mehreren elektrisch leitfähigen und schweißbaren Werkstoffen. Das Verfahren weist zunächst einen Verfahrensschritt auf, bei dem die mindestens zwei sehr dünnen Fügepartner (1) so umgeformt, beschichtet, mit einem lokalen Auftrag versehen oder ihre Oberfläche derart strukturiert wird, dass definierte Kavitäten (2) und definierte Fügestellen (3) entstehen. Die mindestens zwei sehr dünnen Fügepartner (1) werden so miteinander verbunden, dass aus den definierten Kavitäten (2) Klebstoffkanäle (4) und/oder Strömungskanäle (5) ausgebildet werden und dass aus den definierten Fügestellen (3) Kontaktstellen (6) ausgebildet werden. Die mindestens zwei sehr dünnen Fügepartner (1) sind auf mindestens einer Seite ganz oder teilweise mit einem Klebstoff (7) beaufschlagt oder diejenigen definierten Kavitäten (2), aus denen die Klebstoffkanäle (4) ausgebildet werden, werden mit Klebstoff (7) befüllt oder die ausgebildeten Klebstoffkanäle (4) werden mit Klebstoff (7) befüllt. An mindestens zwei Kontaktstellen (6) wird durch Widerstandspressschweißen simultan eine stoffschlüssige Verbindung hergestellt.

Verfahren zum Betreiben einer elektrochemischen Zelle und Fahrzeug mit elektrochemischer Zelle

NºPublicación:  DE102025140771A1 08/01/2026
Solicitante: 
FEV EUROPE GMBH [DE]
FEV GROUP GMBH [DE]
RHEINISCH WESTFAELISCHE TECHNISCHE HOCHSCHULE AACHEN ABGEKUERZT RWTH AACHEN KOERPERSCHAFT DES OEFFEN [DE]
FEV Europe GmbH,
FEV Group GmbH,
Rheinisch-Westf\u00E4lische Technische Hochschule Aachen, abgek\u00FCrzt RWTH Aachen, K\u00F6rperschaft des \u00F6ffentlichen Rechts

Resumen de: DE102025140771A1

Die Erfindung betrifft ein Verfahren zum Betreiben einer elektrochemischen Zelle. Das Verfahren umfasst zumindest die folgenden Schritte:S1: Messen zumindest eines Zellparameters (11) der elektrochemischen Zelle;S2: Bestimmen zumindest eines Vergleichsparameters (15) mit einem Modell (13) der elektrochemischen Zelle anhand von Daten (14) über einen zurückliegenden Betrieb der elektrochemischen Zelle;S3: Vergleichen des zumindest einen Zellparameters (11) und des zumindest einen Vergleichsparameters (15);S4: Auswählen eines Betriebsmodus (21, 22) basierend auf dem Vergleich; undS5: Betreiben der elektrochemischen Zelle im ausgewählten Betriebsmodus (21, 22).Ferner betrifft die Erfindung ein Fahrzeug mit einer elektrochemischen Zelle.

Verfahren und Vorrichtung zur Trocknung eines Brennstoffzellensystems

NºPublicación:  DE102024119012A1 08/01/2026
Solicitante: 
BAYERISCHE MOTOREN WERKE AG [DE]
Bayerische Motoren Werke Aktiengesellschaft

Resumen de: DE102024119012A1

Die hier offenbarte Technologie betrifft erfindungsgemäß eine Vorrichtung (103) zur Trocknung eines Brennstoffzellensystems (100), das einen Brennstoffzellenstapel (102) und einen Oxidationsmittelförderer (205) zur Förderung von Oxidationsmittel (212) für den Brennstoffzellenstapel (102) aufweist. Die Vorrichtung (103) ist eingerichtet, während einer Trocknungsphase zur Trocknung des Brennstoffzellensystems (100), Leistungsinformation in Bezug auf eine elektrische Leistung zu ermitteln, die von dem Oxidationsmittelförderer (205) aufgenommen wird, um einen Massenstrom an Oxidationsmittel (212) zur Trocknung des Brennstoffzellensystems (100) zu bewirken, und auf Basis der Leistungsinformation zu bestimmen, ob ein Abbruchkriterium zur Beendigung der Trocknungsphase erfüllt ist oder nicht.

PLATE FOR AN ELECTROCHEMICAL CELL ASSEMBLY AND ELECTROCHEMICAL CELL ASSEMBLY

NºPublicación:  WO2026008134A1 08/01/2026
Solicitante: 
CERES POWER LTD [GB]
ROBERT BOSCH GES MIT BESCHRAENKTER HAFTUNG [DE]
CERES POWER LIMITED,
ROBERT BOSCH GESELLSCHAFT MIT BESCHR\u00C4NKTER HAFTUNG

Resumen de: WO2026008134A1

The invention relates to plates for an electrochemical cell assembly (10), preferably fuel cell assembly or electrolyser cell assembly, comprising debris collection features formed in a surface of the plate. The invention also relates to an electrochemical cell assembly comprising such a plate. The invention also relates to a system comprising such an electrochemical cell assembly and a fluid circulation device for circulating a fluid through the electrochemical cell assembly.

Subsystem zur Versorgung einer Anode eines wasserstoffbasierten Brennstoffzellensystems und Verfahren zum Betreib eines Subsystems

NºPublicación:  DE102024205881A1 08/01/2026
Solicitante: 
BOSCH GMBH ROBERT [DE]
Robert Bosch Gesellschaft mit beschr\u00E4nkter Haftung

Resumen de: DE102024205881A1

Die vorliegende Erfindung schafft ein Subsystem zur Versorgung einer Anode eines wasserstoffbasierten Brennstoffzellensystems, insbesondere PEM-Brennstoffzellensystems, mit einem Wasserstoff-Rezirkulatstrom, wobei das Subsystem eine Wasserstoff-Rezirkulatstrom-Leitung, eine Erfassungseinheit zur Erfassung von Druckwerten oder Druckwertänderungen im Wasserstoff-Rezirkulatstrom, in der Wasserstoff-Rezirkulatstrom-Leitung angeordnet eine Strahlpumpe und ein bedarfsweise aktivierbares Wasserstoffrezirkulationsgebläse aufweist, wobei der Wasserstoff-Rezirkulatstrom-Leitung eine Bypass-Leitung mit einem Bypass-Ventil zugeordnet ist, wobei das Bypass-Ventil in Abhängigkeit von erfassten Druckwerten oder Druckwertdifferenzen ansteuerbar ausgebildet ist, um eine Einleitung des Wasserstoff-Rezirkulatstroms in die Strahlpumpe wahlweise über die Bypass-Leitung oder das Wasserstoffrezirkulationsgebläse zuzulassen, sowie ein Verfahren zum Betreib eines solchen Subsystems und ein wasserstoffbasiertes Brennstoffzellensystems mit einem solchen Subsystem.

Wasserabscheidevorrichtung zum Verbinden mit einem Anodenmodul eines Brennstoffzellensystems sowie Brennstoffzellensystem umfassend eine solche Wasserabscheidevorrichtung

NºPublicación:  DE102024205910A1 08/01/2026
Solicitante: 
BOSCH GMBH ROBERT [DE]
Robert Bosch Gesellschaft mit beschr\u00E4nkter Haftung

Resumen de: DE102024205910A1

Die vorliegende Erfindung schafft eine Wasserabscheidevorrichtung (110) zum Verbinden mit einem Anodenmodul (100) eines Brennstoffzellensystems, mit einem Purgeventil (301) und einem Drainventil (302), wobei ein strömungsmäßig mit einem Anodenauslass des Anodenmoduls (100) verbindbarer Grundkörper (200) vorgesehen ist, der eine erste Schnittstelle (404) zum Anordnen eines Ventilauslasses (405) des Purgeventils (301) und eine zweite Schnittstelle (403) zum Anordnen eines Ventilauslasses (406) des Drainventils (302) und einen Spülkanal (400) aufweist und wobei wenigstens ein mit dem Grundkörper (200) verbindbares Heizelement (202203, 203204) vorgesehen ist sowie ein Brennstoffzellensystem umfassend eine derartige Wasserabscheidevorrichtung (110).

MEMBRANELEKTRODENANORDNUNG MIT BIFUNKTIONALEN KATALYSATOREN FÜR BRENNSTOFFZELLEN UND ELEKTROLYSEURE

NºPublicación:  DE102024124476A1 08/01/2026
Solicitante: 
GM GLOBAL TECH OPERATIONS LLC [US]
GM Global Technology Operations LLC
CN_121282262_PA

Resumen de: DE102024124476A1

Eine Membranelektrodenanordnung (MEA) für eine Brennstoffzelle und einen Elektrolyseur ist bereitgestellt. Die MEA umfasst eine erste Elektrodenschicht, eine zweite Elektrodenschicht, die gegenüber der ersten Elektrodenschicht angeordnet ist, eine Polymerelektrolytmembran, die sich zwischen der ersten Elektrodenschicht und der zweiten Elektrodenschicht erstreckt, eine Gasdiffusionsschicht (GDL), die an die erste und zweite Elektrodenschicht angrenzt. Ein bifunktionaler Katalysator, der ein Edelmetall umfasst, das auf einer Metalloxidverbindung geträgert ist, ist in einer Polymerelektrolytmembran, ersten und zweiten Elektroden und/oder GDLs angeordnet. Das Edelmetall umfasst Pt und/oder Pd. Die Metalloxidverbindung umfasst CeO2, CexZryO4, MnO2, CeEO, MnEOx und/oder CoEOx. Das Verhältnis von Edelmetall zu Metalloxidverbindung beträgt 1 bis 80 Gewichtsprozent.

Verfahren und Vorrichtung zur Überprüfung von Brennstoffsensoren eines Brennstoffzellensystems

NºPublicación:  DE102024119013A1 08/01/2026
Solicitante: 
BAYERISCHE MOTOREN WERKE AG [DE]
Bayerische Motoren Werke Aktiengesellschaft

Resumen de: DE102024119013A1

Die hier offenbarte Technologie betrifft erfindungsgemäß eine Vorrichtung (103) zur Überprüfung einer Mehrzahl von Brennstoffsensoren (130) eines Brennstoffzellensystems (100). Die Vorrichtung (103) ist eingerichtet, zu bestimmen, dass eine Überprüfungs-Betriebssituation des Brennstoffzellensystems (100) vorliegt, bei der für die Mehrzahl von Brennstoffsensoren (130) ein oder mehrere einheitliche Randbedingungen vorliegen. Die Vorrichtung (103) ist ferner eingerichtet, in Reaktion auf das Bestimmen, für zumindest einen Messzeitpunkt (210), eine Mehrzahl von Messwerten (136) der entsprechenden Mehrzahl von Brennstoffsensoren (130) zu ermitteln, die Mehrzahl von Messwerten (136) zu vergleichen und die Mehrzahl von Brennstoffsensoren (130) auf Basis des Vergleichs der Mehrzahl von Messwerten (136) zu überprüfen.

Verfahren zum Abschalten einer Brennstoffzelle und zum Überwachen eines solchen Abschaltvorgangs einer Vorrichtung zum Bereitstellen von elektrischer Energie, Computerprogramm zum Durchführen eines solchen Verfahrens sowie Vorrichtung, die mit einem solchen Verfahren betrieben werden kann

NºPublicación:  DE102025120199A1 08/01/2026
Solicitante: 
FEV GROUP GMBH [DE]
FEV Group GmbH
DE_102024117809_PA

Resumen de: DE102025120199A1

Die vorliegende Erfindung betrifft ein Verfahren zum Abschalten einer Brennstoffzelle und zum Überwachen eines solchen Abschaltvorgangs (12) einer Vorrichtung (101, 102) zum Bereitstellen von elektrischer Energie, wobei das Verfahren folgende Schritte aufweist:- Hinterlegen eines Referenz-Spannungsverlaufs (70),- Unterbrechen der Zufuhr des Sauerstoffs zur Kathode (16) mit der Sauerstoffzufuhreinheit (32),- Bestimmen des Spannungsverlaufs (68) ab der Unterbrechung der Zufuhr des Sauerstoffs zur Kathode (16) mittels der Spannungsmesseinrichtung (50),- Vergleichen des bestimmten Spannungsverlaufs (68) mit dem Referenz-Spannungsverlauf (70) und Bestimmen des Grads der Spannungsabweichung (72) mit der Steuerungseinheit (60), und- Erzeugen eines Hinweissignals mit der Steuerungseinheit (60) für den Fall, dass der Grad der Spannungsabweichung (72) einen vorgebbaren Schwellenwert über- oder unterschreitet.Ferner betrifft die vorliegende Erfindung ein Computerprogramm zum Durchführen eines solchen Verfahrens sowie eine Vorrichtung (101,102), die mit einem solchen Verfahren betrieben werden kann.

ELECTRICAL POWER SOURCE

NºPublicación:  MX2025014576A 07/01/2026
Solicitante: 
PRIMETALS TECH GERMANY GMBH [DE]
PRIMETALS TECHNOLOGIES GERMANY GMBH
CN_121263891_PA

Resumen de: MX2025014576A

The invention relates to an electrical power source comprising two flow batteries (1, 2), which are held at different temperatures (T1, T2) from one another and the potential difference of which can be tapped as useful voltage. The electrolyte liquids (15, 16) are conducted comprehensively across the two flow batteries (1, 2). A heat store (42) is additionally incorporated into the energy source and the electrolyte liquids (15, 16) are conducted through said heat store so that they have their respective temperatures (T1, T2) on the input side of the respective flow batteries (1, 2). The heat store (42) is held in the upper region at the higher of the two temperatures (T1, T2) by feed elements (29) arranged in the upper region and in the lower region at the lower of the two temperatures (T1, T2) by feed elements (29) arranged in the lower region. The temperature profile therebetween is established in accordance with the state of charge of the heat store (42).

FUEL CELL SYSTEM

NºPublicación:  EP4675718A1 07/01/2026
Solicitante: 
PANASONIC IP MAN CO LTD [JP]
Panasonic Intellectual Property Management Co., Ltd
EP_4675718_PA

Resumen de: EP4675718A1

A fuel cell system (100) according to the present disclosure includes: a fuel cell (10); a first input and output terminal (20) to which a first external power source (50) is connected; a second input terminal (22) to which a second external power source (52) is connected; the first input and output terminal (20) to which an AC load is connected; a second output terminal (24) to which a DC load is connected; and a control circuit (32) that performs electrical processing for, when the first external power source (50) is connected to the first input and output terminal (20), converting DC power generated by the fuel cell (10) to AC power and supplying the AC power to the first input and output terminal (20), and for, when the second external power source (52) is connected to the second input terminal (22), supplying the DC power generated by the fuel cell (10) to the second output terminal (24).

電気化学反応セルスタック

NºPublicación:  JP2026001264A 07/01/2026
Solicitante: 
森村SOFCテクノロジー株式会社
JP_2026001264_PA

Resumen de: JP2026001264A

【課題】シール部材の接合対象部材からの剥離の発生を低減する。【解決手段】電気化学反応セルスタックは、第1接合対象部材と、前記第1接合対象部材とは異なる第2接合対象部材と、前記第1接合対象部材と前記第2接合対象部材とを接合するシール部材と、を備え、前記シール部材が、前記第1接合対象部材に接合される、ガラス製の第1ガラスシールと、前記第2接合対象部材に接合される、ガラス製の第2ガラスシールと、前記第1ガラスシールと前記第2ガラスシールとの間に配される中間シールと、を備え、前記中間シールが気孔を有し、前記気孔の最大径が20μm以下である。【選択図】図7

水素発生組成物、水素発生システムおよび燃料電池システム

NºPublicación:  JP2026001566A 07/01/2026
Solicitante: 
国立大学法人筑波大学
JP_2026001566_A

Resumen de: JP2026001566A

【課題】外部刺激により水素を発生することができる水素発生組成物、並びに、水素発生組成物を備える水素発生システムおよび燃料電池システムを提供する。【解決手段】プロトンおよび電子を1つずつ受容した含窒素芳香族化合物を含む、水素発生組成物。前記プロトンおよび前記電子を供与する物質として、(BH)n(n≧4、但しnは整数)からなる二次元ネットワークを有するホウ化水素含有シートを含む、水素発生組成物。【選択図】なし

Ejector, particularly for use with a blower for recirculating hydrogen in a proton exchange membrane fuel cell

NºPublicación:  GB2642321A 07/01/2026
Solicitante: 
CATERPILLAR INC [US]
Caterpillar Inc
GB_2642321_PA

Resumen de: GB2642321A

An ejector 100 includes a convergent portion 101; a cylindrical throat 102 downstream of the convergent portion and having a length Tl and a diameter Td; and a divergent portion 103 downstream of the throat and having a length Dl and a divergence angle Da between its internal surface and the flow axis Fx. The primary nozzle has a minimum diameter Nd and an orifice 122 coaxial with the flow axis and separated from an upstream end of the throat by a separation distance NTl, wherein: 6.1 ≥ (Td / Nd) ≥ 4.5, and 7.0 ≥ (Tl / Td) ≥ 3.5, and 1.1 ≥ (NTl / Td) ≥ 0.3, and 4.5° ≥ Da ≥ 2.0°, and (Dl / Td) ≥ 10. The ejector may be arranged in parallel with a downsized blower to recirculate hydrogen at the anode of a proton exchange membrane fuel cell power supply unit, wherein the ejector operates alone in a high load range of the unit, and progressively replaces the operation of the blower through a medium load range.

SYSTEM AND METHOD FOR PREVENTING FLOODING IN VEHICLE FUEL CELLS AND AIRCRAFT COMPRISING SAID SYSTEM

NºPublicación:  EP4675716A1 07/01/2026
Solicitante: 
AIRBUS OPERATIONS SLU [ES]
AIRBUS OPERATIONS, S.L.U
EP_4675716_PA

Resumen de: EP4675716A1

The system comprises a monitor (4) for monitoring the voltage and/or current of the fuel cell (5); a pitch and roll sensor (10) that detects the pitch and roll of the vehicle; a separator (6) where the water from the fuel cell (5) accumulates; a water level sensor (8) that the detects the water level inside the separator (6); and a water purge valve (7) that purges water from the fuel cell (5) when the monitor (4) detects a voltage and/or current value lower than a preset value, the operating frequency of the water purge valve being dependent on the voltage and/or current detected by the monitor (4), the water level detected by the water level sensor (8) and the pitch and roll of the vehicle detected by the pitch and roll sensor (10).The system and method avoid the flooding problem, permitting the installation of the fuel cell in any orientation.

SOLID OXIDE ELECTROLYSIS CELL WITH CATHODE, AND METHOD

NºPublicación:  EP4673587A1 07/01/2026
Solicitante: 
FORSCHUNGSZENTRUM JUELICH GMBH [DE]
Forschungszentrum J\u00FClich GmbH
DE_102023208892_PA

Resumen de: WO2025056199A1

The invention relates to a solid oxide cell with an electrolyte (2), wherein gas-permeable electrodes (1, 3) are attached on opposite sides of the electrode (2), wherein the fuel electrode (1) comprises Sr2Fe2-xMoxO6-δ or Sr2Fe2-xMox-yMyO6-δ, where M = nickel (Ni), and/or cobalt (Co), and/or titanium (Ti), and/or manganese (Mn) and/or copper (Cu). The invention also relates to a method for operating the solid oxide cell.

BALANCE-OF-PLANT FOR ELECTRO-SYNTHETIC OR ELECTRO-ENERGY LIQUID-GAS CELLS OR CELL STACKS

NºPublicación:  EP4673987A1 07/01/2026
Solicitante: 
HYSATA PTY LTD [AU]
Hysata Pty Ltd
CN_121100420_PA

Resumen de: AU2024202934A1

Disclosed in one example is gas pressure equalisation systems (400-401), and method of operation, for an electro-synthetic or electro-energy liquid-gas cell or cell stack (210). The gas pressure equalisation systems (400-401) comprise a first pressure equalisation tank (410) for partially containing a first liquid (470) and a first gas. The first gas is positioned above a liquid first level (471). A first gas conduit (430) is provided for the transfer of the first gas between the cell or cell stack (210) and the first pressure equalisation tank (410). In another example, a second pressure equalisation tank (420) may be additionally provided for partially containing a second liquid (473) and a second gas positioned above a liquid second level (472). A second gas conduit (440) is then provided for the transfer of the second gas between the cell or cell stack (210) and the second pressure equalisation tank (420).

FUEL TANK VALVE AND METHOD FOR OPERATING A FUEL TANK VALVE

NºPublicación:  EP4673680A1 07/01/2026
Solicitante: 
BOSCH GMBH ROBERT [DE]
Robert Bosch GmbH
KR_20250155573_PA

Resumen de: CN120813799A

The invention relates to a fuel tank valve (1) for filling and/or emptying a pressure tank having a tank interior (6) containing fuel and having a temperature sensor device (8) which is integrated into the fuel tank valve (1) and protrudes into the tank interior in order to detect a temperature of the fuel in the tank interior, wherein the temperature sensor device is mounted on a valve housing (10) and is connected to an electrical conduction device (20), which comprises at least one elongated electrical conductor, which extends in the longitudinal direction through an elongated connection channel (23) in the valve housing, the elongated electrical conductor is made of an electrically conductive material different from the material constituting the valve housing. In order to functionally and/or technically improve the fuel tank valve, the elongated electrical conductor is connected in at least one axial section to at least one expansion transmission body in a form-fitting manner.

SINGLE PIECE FILTERING ELEMENT FOR A FLUID RECIRCULATION SYSTEM FOR AN AIR CONDITIONING SYSTEM SUCH AS A SYSTEM FOR COOLING A BATTERY ASSEMBLY IN PARTICULAR FOR ELECTRIC VEHICLES

NºPublicación:  EP4673244A1 07/01/2026
Solicitante: 
GVS SPA [IT]
GVS S.p.A
CN_120359074_PA

Resumen de: CN120359074A

A filter element (1) suitable for use in a fluid recirculation system of an air conditioning system for cooling or heating one or more components, such as, for example, a battery pack, in particular for a vehicle, comprising a hollow filter portion (4) and a hollow constrained end portion (3). The filter portion (4) is manufactured as a single piece with the constraining portion (3) and, in use, is inserted directly into a first conduit (60) of a cooling system, the first conduit (60) and a second conduit (50) of the system being directly connected to said hollow constraining end portion (3).

SEPARATOR PLATE, BIPOLAR PLATE, PRODUCTION METHOD AND ELECTROCHEMICAL CELL

NºPublicación:  EP4673986A1 07/01/2026
Solicitante: 
SCHAEFFLER TECHNOLOGIES AG [DE]
Schaeffler Technologies AG & Co. KG
KR_20250153280_PA

Resumen de: CN120239910A

The invention relates to a separating plate (28) comprising: a half-sheet (3, 4) having an active zone (2); a frame means (11) surrounding the active region (2); and a sealing device (15, 15 ') assigned to the frame device (11) and comprising a seal (16, 16') extending in a wave shape in a top view of a plane spanned by the separating plate (28). A three-dimensional support structure (29) is formed in the half-sheet (3, 4) in the region of the sealing device (15, 15 '), the support structure (29) being formed so as to protrude from the plane spanned by the separator plate (28). The invention also relates to a bipolar plate (1, 1'), a method for producing a sealing device (15, 15 ') on a separator plate (28) or a bipolar plate (1, 1'), and an electrochemical cell (40).

FUEL CELL EXHAUST SYSTEM, FUEL CELL SYSTEM, AND METHOD FOR REDUCING WATER CONTENT IN FUEL CELL EXHAUST

NºPublicación:  EP4675717A1 07/01/2026
Solicitante: 
PUREM GMBH [DE]
Purem GmbH
EP_4675717_PA

Resumen de: EP4675717A1

Eine Brennstoffzellenabgasanlage (20) für ein Brennstoffzellensystem (10), insbesondere in einem Fahrzeug, umfasst eine Mischanordnung (24) zur Aufnahme von aus wenigstens einer Brennstoffzelle (12) eines Brennstoffzellensystems (10) abgegebenem Brennstoffzellenabgas (B) und zur Aufnahme eines Mischgases (L) und zur Erzeugung eines Gemisches (G) aus Brennstoffzellenabgas (B) und Mischgas (L) sowie eine Wasser-Abscheideanordnung (50) im Bereich der Mischanordnung (24) oder/und stromabwärts der Mischanordnung (24) zum Abscheiden von aus dem Gemisch (G) auskondensiertem Wasser (W) und zur Abgabe des Gemisches (G).

ION CONDUCTIVE POLYMER AND SEPARATOR INCLUDING THE SAME

NºPublicación:  EP4674880A1 07/01/2026
Solicitante: 
SK INNOVATION CO LTD [KR]
SK Innovation Co., Ltd
EP_4674880_A1

Resumen de: EP4674880A1

The present disclosure relates to an ion conductive polymer including a repeating unit which includes quaternary ammonium and at least one ether group.

A SYSTEM FOR GENERATING ELECTRICITY AND CAPTURING CARBON DIOXIDE FROM AIR

NºPublicación:  EP4673988A1 07/01/2026
Solicitante: 
SCHIBSBYE KARSTEN [DK]
Schibsbye, Karsten
AU_2024256779_PA

Resumen de: AU2024256779A1

A fuel cell such as an alkaline fuel cell for generating electricity and for extracting carbon dioxide from the air by means of direct air capture. The carbon dioxide is captured in the fuel by a chemical reaction with the electrolyte of the fuel cell. The product produced by the chemical reaction is transported to a reactor for replenishing the amount of electrolyte that reacted with the carbon dioxide.

CATALYST COMPOSITION AND CATALYST LAYER OF SOLID POLYMER FUEL CELL

NºPublicación:  EP4675715A1 07/01/2026
Solicitante: 
NISSAN CHEMICAL CORP [JP]
Nissan Chemical Corporation
EP_4675715_PA

Resumen de: EP4675715A1

The catalyst composition of the present invention is a catalyst composition comprising a hydrocarbon ionomer, a catalyst, and a catalyst support, wherein the hydrocarbon ionomer comprises a polymer compound having a structure represented by the following general formula (I), wherein the mass ratio of the hydrocarbon ionomer to the carbon in the catalyst support is 0.10 to 1.20:wherein, in general formula (I), n is 1 to 2, o is 1 to 3, and p is 0 to 3, wherein the relationship: o + p ≤ 4 is satisfied,ring A is a benzene ring or a naphthalene ring, andeach of B and C is independently a group having at least one member selected from the group consisting of an alkyl group, an alkyl group having an ether linkage, a cycloalkyl group, and an aromatic group, which is bonded to ring A through a single heteroatom, or a heterocycle having a heteroatom therein bonded to ring A, and the ring and the group of B and C optionally have a substituent,wherein B and C are the same or different, at least one of B and C has an aromatic ring, and at least one aromatic ring of B and C has at least one sulfonic acid group, andwherein carbons of ring A, except the carbons bonded to the principal chain and the carbons to which B and C are bonded, are optionally substituted by a halogen. atom.

カーボンナノチューブ膜、ガス拡散層、及び固体高分子形燃料電池

Nº publicación: JP2026001532A 07/01/2026

Solicitante:

リンテック株式会社

JP_2026001532_PA

Resumen de: JP2026001532A

【課題】薄膜化が可能であり、ガス透過性が高く、濡れ性に優れたカーボンナノチューブ膜の提供。【解決手段】自立性を有するカーボンナノチューブ膜10。カーボンナノチューブ膜10は、カーボンナノチューブ1と、ポリビニルアルコール系樹脂と、スルホン化パーフルオロアルキルポリマーと、を含み、前記スルホン化パーフルオロアルキルポリマーに対する前記ポリビニルアルコール系樹脂の比率が、固形分換算の質量基準で、0.6以上、1.4以下である。【選択図】図1

traducir