Ministerio de Industria, Turismo y Comercio LogoMinisterior
 

Barnices y textiles con nanorrecubrimientos funcionales

Resultados 25 resultados
LastUpdate Última actualización 05/04/2026 [07:57:00]
pdfxls
Solicitudes publicadas en los últimos 120 días / Applications published in the last 120 days (Publicaciones Chinas excluidas / Chinese publications excluded).
Resultados 1 a 25  

UV-VIS RADIATION CURABLE COATING COMPOSITIONS COMPRISING MAGNETIC OR MAGNETIZABLE PIGMENT PARTICLES AND METHODS FOR PRODUCING OPTICAL EFFECT LAYERS

NºPublicación:  AU2024327641A1 02/04/2026
Solicitante: 
SICPA HOLDING SA
SICPA HOLDING SA
AU_2024327641_PA

Resumen de: AU2024327641A1

The invention relates of UV-Vis radiation curable coating compositions comprising magnetic or magnetizable pigment particles and methods for producing optical effect layers (OELs) comprising magnetically oriented magnetic or magnetizable pigment particles and the use of said OELs as anti-counterfeit means on security documents or security articles as well as decorative purposes. The UV-Vis radiation curable coating compositions comprises one or more (meth)acrylate monomers, one or more cyclic ether compounds, one or more vinyl ether compounds, one or more photoinitiators, one or more thermoplastic polymers and non-spherical magnetic or magnetisable pigment particles.

METHOD FOR PRODUCING A VALUABLE DOCUMENT AND VALUABLE DOCUMENT

NºPublicación:  EP4717465A2 01/04/2026
Solicitante: 
GIESECKE & DEVRIENT CURRENCY TECHNOLOGY GMBH [DE]
Giesecke+Devrient Currency Technology GmbH
EP_4717465_PA

Resumen de: EP4717465A2

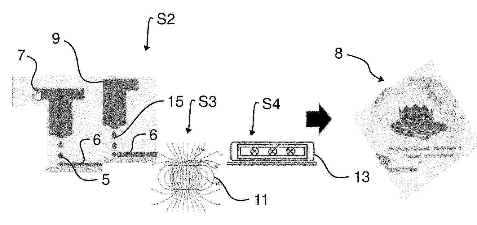
Die Erfindung betrifft ein Verfahren zur Herstellung eines Wertdokuments (1), wie einer Banknote, einem Scheck, einer Kredit- oder sonstige Zahlungskarte, einer Ausweiskarte oder dergleichen. Es wird ein Substratkörper (2), der eine Vorderseite (3) und eine Rückseite (4) hat, bereitgestellt, und eine Druckschicht (6) wird mit einer ersten Tinte (5) und einer zweiten Tinte (15), die beide magnetisch ausrichtbare Pigmente aufweisen, auf die Vorderseite (3) des Substratkörpers (2) aufgedruckt. Die magnetisch ausrichtbaren Pigmente werden mit einer Magnetvorrichtung (11) ausgerichtet und anschließend mit einer Aushärtungsvorrichtung (13) durch Aushärten einer Matrix im ausgerichteten Zustand fixiert.-Mindestens die erste Tinte (5) wird in einem Digitaldruckprozess mittels eines ersten Druckkopfs (7) gedruckt, der die erste Tinte (5) gemäß einem Punktraster tröpfchenförmig abgibt, so dass die Druckschicht (6) mindestens hinsichtlich der ersten Tinte (5) als Digitaldruckschicht ausgebildet wird, wobei die erste Tinte (5) und die zweite Tinte (15) zwei unterschiedliche Farben aufweisen, und die magnetisch ausrichtbaren Pigmente jeweils einen Mehrschichtverbund umfassen, der mindestens eine magnetische Schicht umfasst.

Verfahren zur Herstellung eines Wertdokuments und Wertdokument

NºPublicación:  DE102024127365A1 26/03/2026
Solicitante: 
GIESECKE & DEVRIENT CURRENCY TECHNOLOGY GMBH [DE]
Giesecke+Devrient Currency Technology GmbH
CN_121716438_PA

Resumen de: DE102024127365A1

Die Erfindung betrifft ein Verfahren zur Herstellung eines Wertdokuments (1), wie einer Banknote, einem Scheck, einer Kredit- oder sonstige Zahlungskarte, einer Ausweiskarte oder dergleichen. Es wird ein Substratkörper (2), der eine Vorderseite (3) und eine Rückseite (4) hat, bereitgestellt, und eine Druckschicht (6) wird mit einer ersten Tinte (5) und einer zweiten Tinte (15), die beide magnetisch ausrichtbare Pigmente aufweisen, auf die Vorderseite (3) des Substratkörpers (2) aufgedruckt. Die magnetisch ausrichtbaren Pigmente werden mit einer Magnetvorrichtung (11) ausgerichtet und anschließend mit einer Aushärtungsvorrichtung (13) durch Aushärten einer Matrix im ausgerichteten Zustand fixiert.-Mindestens die erste Tinte (5) wird in einem Digitaldruckprozess mittels eines ersten Druckkopfs (7) gedruckt, der die erste Tinte (5) gemäß einem Punktraster tröpfchenförmig abgibt, so dass die Druckschicht (6) mindestens hinsichtlich der ersten Tinte (5) als Digitaldruckschicht ausgebildet wird, wobei die erste Tinte (5) und die zweite Tinte (15) zwei unterschiedliche Farben aufweisen, und die magnetisch ausrichtbaren Pigmente jeweils einen Mehrschichtverbund umfassen, der mindestens eine magnetische Schicht umfasst.

LATENT INFORMATION ON A TRANSPARENT LAYER ON IDENTITY CARDS

NºPublicación:  EP4713211A1 25/03/2026
Solicitante: 
IAI IND SYSTEMS B V [NL]
IAI industrial systems B.V
WO_2024235461_PA

Resumen de: WO2024235461A1

The present disclosure provides an identification card (1), including a base sheet (2) and on top of said base sheet an information layer containing at least one feature made of a first material, which is transparent for white light and which under irradiation with electromagnetic radiation which is not in the visible spectrum is opaque and/or colored and/or emits colored light. The feature is at least laterally embedded in a layer made of a second material, which is transparent for white light and which, is or is not under irradiation with electromagnetic radiation which is not in the visible spectrum opaque and/or colored and/or does or does not emit colored light.

TACTILE LATENT INFORMATION IN AN INKJET PRINTED LAYER ON IDENTIY CARDS

NºPublicación:  EP4713210A1 25/03/2026
Solicitante: 
IAI IND SYSTEMS B V [NL]
IAI industrial systems B.V
WO_2024235464_PA

Resumen de: WO2024235464A1

Identification card (1), including a base sheet (2) and on top of said base sheet an information layer (8) containing at least one feature made of a first material, which is transparent for white light and which is or is not under irradiation with electromagnetic radiation which is not in the visible spectrum (eg UV-light or IR-light) opaque and/or colored and/or emits colored light. The feature is directly or via an intermediation of one or more layers inkjet printed on a surface of the base sheet (2) such that it protrudes therefrom. The protrusion height is 2 µm to 13 µm. The base sheet can have a laser engraved image.

SECURE TRANSACTION OR STORED-VALUE CARD ASSEMBLIES

NºPublicación:  US20260077613A1 19/03/2026
Solicitante: 
TRAVEL TAGS INC [US]
Travel Tags, Inc
US_20260077613_A1

Resumen de: US20260077613A1

Card assemblies for concealing and protecting activation indicia on the card assembly. Two panels, either discrete or foldable, form the card itself, such as a CR80 card or an M6 card assembly, with or without a CR80 snap-off portion. Activation indicia, such as a barcode, can be printed or otherwise applied to an exterior portion of the card assembly, or printed or otherwise applied to an interior of the assembly which is accessed by a tamper evident pull tab. Redemption indicia, such as an alpha-numeric code, can be applied to an interior surface of the card, which is accessed by a tamper evident pull tab or other tab.

SECURITY SUBSTRATE AND SECURITY DOCUMENTS PRODUCED THEREFROM

NºPublicación:  WO2026058177A1 19/03/2026
Solicitante: 
Q&T HI TECH POLYMER COMPANY LTD [VN]
Q&T HI-TECH POLYMER COMPANY LIMITED
WO_2026058177_A1

Resumen de: WO2026058177A1

The invention relates to a security substrate for security documents, which is formed based on a laminated structure comprising two BOPP films with appropriate thickness and structure so as to improve durability, enhance tactile feel, and provide advantages in circulation. The security substrate according to the present invention comprises a lower surface and an upper surface. The substrate comprises a laminated structure of two BOPP films bonded together by an adhesive layer. The thickness of the BOPP film layers provides the laminated structure with improved tensile strength compared to the prior art. The coating layers may be applied to one side of the laminated structure, and are preferably applied to both sides of the laminated structure, for example, two coating layers on each side. The thickness of the coating layer, in combination with the laminated structure, provides advantages in terms of tactile feel.

COMPOSITIONS, COMPRISING SILVER NANOPLATELETS

NºPublicación:  EP4709544A1 18/03/2026
Solicitante: 
BASF SE [DE]
BASF SE
WO_2024231418_A1

Resumen de: WO2024231418A1

The present invention relates to compositions, comprising silver nanoplatelets, wherein the silver nanoplatelets are capped by a compound of formula (XX), wherein R41 is a C4-C25alkyl group, which may be interrupted by one, or more oxygen atoms, and n is a number 1 to 10, especially 1 to 4, very especially 1, or 2, a process for its production, printing inks containing the compositions and their use in security products. The capping with the compound of formula (XX) renders the surface on the nanoparticles more hydrophobic, while maintaining colloidal stability of their dispersions in organic solvents and/or monomer compositions. This combination of properties allows for production of stable UV curable coating/printing compositions, suitable for manufacture of dichroic security elements for protection of value documents. The surface modification, described in the present invention is suitable for silver nanoplatelets of different sizes and, correspondingly, colors, and is especially useful for manufacture of solvent-free coating, or printing compositions.

PERSONALIZABLE SECURITY DOCUMENT

NºPublicación:  EP4711148A1 18/03/2026
Solicitante: 
TOPPAN SECURITY SAS [FR]
TOPPAN Security SAS
EP_4711148_PA

Resumen de: EP4711148A1

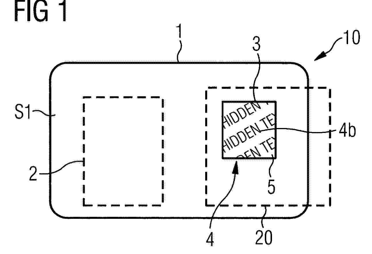
A personalizable security document (10) includes a hidden pattern (4b) that is formed in an image-forming region (2, 3) configured to have a personalized image laser-engraved in the same. The hidden pattern (4b) is formed by a polarization-changing material layer, which changes the polarization of light passing through the same. The pattern (4b) is not visible when the security document (10) is viewed under white light in reflection. The pattern (4b) becomes visible when the security document (10) is viewed under white light through a polarization filter (20).

UV-LED CURABLE VISCOUS PRINTING INKS AND PRINTING PROCESSES

NºPublicación:  AU2024318588A1 12/03/2026
Solicitante: 
SICPA HOLDING SA
SICPA HOLDING SA
AU_2024318588_PA

Resumen de: AU2024318588A1

The present invention relates to the field of viscous UV-LED radically curable inks for printing security features on substrates, in particular security documents, said inks comprising one or more radically curable (meth)acrylate compounds, one or more thioxanthone compounds, one or more amino containing synergists, one or more fillers and/or extenders, and one or more pigments of formula (I).

PRINTING INKS

NºPublicación:  WO2026052580A1 12/03/2026
Solicitante: 
SICPA HOLDING SA [CH]
SICPA HOLDING SA
WO_2026052580_A1

Resumen de: WO2026052580A1

The invention provides an oxidative drying intaglio ink.

PRINTED MATTER, MANUFACTURING METHOD FOR PRINTED MATTER, PROGRAM, AND PRINTING APPARATUS

NºPublicación:  US20260070346A1 12/03/2026
Solicitante: 
MIMAKI ENG CO LTD [JP]
MIMAKI ENGINEERING CO., LTD
US_20260070346_PA

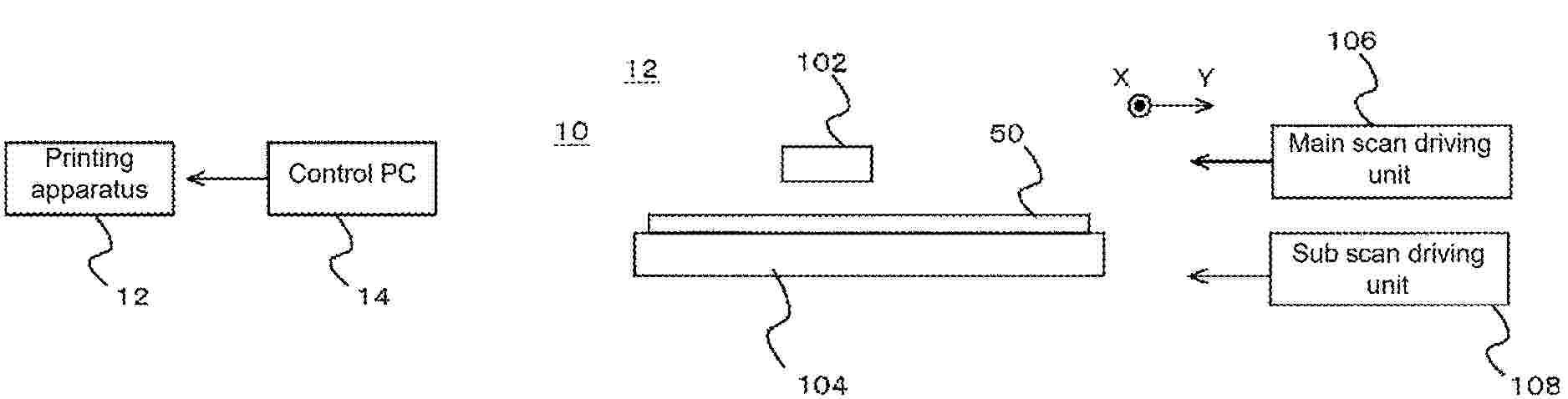
Resumen de: US20260070346A1

Various designs are appropriately expressed by a printed matter. A printed matter 52 in which a plurality of ink layers overlap each other includes an image layer 202 and a transmission rate control layer 204, and as the transmission rate control layer 204 has a low-transmission region 302 and a high-transmission region 306, light is transmitted through the printed matter 52 such that a pattern corresponding to a shape of the high-transmission region 306 is visually recognized from an observation-surface side when irradiated with rear-surface light, and the pattern corresponding to the shape of the high-transmission region 306 becomes inconspicuous when not irradiated with the rear-surface light, for an observer observing the image layer 202 from the observation-surface side.

Wertdokument mit einem Substrat und einem Sicherheitsmerkmal sowie zugehöriges Herstellungsverfahren

NºPublicación:  DE102024124689A1 05/03/2026
Solicitante: 
GIESECKE & DEVRIENT CURRENCY TECHNOLOGY GMBH [DE]
Giesecke+Devrient Currency Technology GmbH

Resumen de: DE102024124689A1

Die Erfindung betrifft ein Wertdokument (10), insbesondere eine Banknote, mit einem Substrat (12) und einem mehrelementigen Sicherheitsmerkmal (14). Die mehreren Elemente (30, 32+34, 40) des Sicherheitsmerkmals überlappen einander dabei paarweise zumindest teilweise und wirken zusammen, um ein Kulissenbild (20) zu bilden, bei dem mehrere Bildteile (22, 24, 26) kulissenartig hintereinander angeordnet erscheinen. Das Sicherheitsmerkmal (14) enthält als ein erstes Element ein optisch variables Druckelement (30), das einen ersten Bildteil (22) des Kulissenbilds (20) bildet, und enthält als ein zweites Element ein teilmetallisiertes Folienelement (40) mit transparenten Folienbereichen, bei dem der metallisierte Bereich (42) des Folienelements (40) einen zweiten Bildteil (24) des Kulissenbilds bildet. Das Folienelement (40) ist auf dem Substrat (12) gepassert über dem Druckelement (30) angeordnet und überlappt dieses mit seinem metallisierten Bereich (42) zumindest teilweise.

IDENTIFICATION DOCUMENT WITH A RECESS FOR IDENTIFICATION FEATURE AND METHOD OF MANUFACTURING IT

NºPublicación:  WO2026047152A1 05/03/2026
Solicitante: 
TOPPAN SECURITY SAS [FR]
HID GLOBAL IRELAND TEORANTA [IE]
TOPPAN SECURITY SAS,
HID GLOBAL IRELAND TEORANTA
WO_2026047152_PA

Resumen de: WO2026047152A1

A personalized identification document (1) comprising a substrate (5) and an identification feature (15). The substrate (5) comprises an outer surface portion (35) and a recess (10) formed within the outer surface portion (35). The identification feature (15) comprises an inkjet-printed colored image (16) and a varnish material (17). The inkjet-printed colored image (16) is positioned completely within the recess (10). The varnish material (17) is provided completely within the recess (10) and covers the inkjet-printed colored image (16) to the outside.

SECURED DOCUMENT

NºPublicación:  WO2026047569A2 05/03/2026
Solicitante: 
POLSKA WYTWORNIA PAPIEROW WARTOSCIOWYCH SPOLKA AKCYJNA [PL]
POLSKA WYTW\u00D3RNIA PAPIER\u00D3W WARTO\u015ACIOWYCH SP\u00D3\u0141KA AKCYJNA
WO_2026047569_A2

Resumen de: WO2026047569A2

The invention relates to a secured document (100) comprising: a substrate (101) partially covered in at least two, preferably non-overlapping regions with an additional layer, wherein a first effect layer (104) made of a material susceptible to deformation under the influence of an external pressure force and reflecting light, having a high light reflectance coefficient, is applied to at least a first substrate region (106), and a second print layer (103) made of a reflective, color, high-viscosity coating material, which modifies the substrate (101), is applied to at least a second substrate region (107); and wherein on at least the first region (106) of the substrate there is a first security element (102) which is an embossed optical element (108) comprising an embossed structure made by the gravure method in the form of a grid (400) of cells (401), preferably equilateral cells, most preferably square cells, wherein a single cell (401) corresponds to a single point of the first security element (102) forming, together with the remaining points of the grid, a globally perceptible, information-bearing first security element (102), and in which cells (401) there are sub-images (403) formed by convex embossed lines (402) parallel to the remaining ones present in the cell, having a predetermined height (h) in relation to the surface of the substrate (101) between the lines (402), modified with a material susceptible to deformation under the influence of an external pressure for

Composiciones de recubrimiento curables por radiación uv vis que comprenden partículas de pigmento magnéticas o magnetizables y métodos para producir capas de efecto óptico

NºPublicación:  CO2026001951A2 05/03/2026
Solicitante: 
SICPA HOLDING SA [CH]
SICPA HOLDING SA
TW_202528492_A

Resumen de: TW202528492A

The invention relates of UV-Vis radiation curable coating compositions comprising magnetic or magnetizable pigment particles and methods for producing optical effect layers (OELs) comprising magnetically oriented magnetic or magnetizable pigment particles and the use of said OELs as anti-counterfeit means on security documents or security articles as well as decorative purposes. The UV- Vis radiation curable coating compositions comprises one or more (meth)acrylate monomers, one or more cyclic ether compounds, one or more vinyl ether compounds, one or more photoinitiators, one or more thermoplastic polymers and non-spherical magnetic or magnetisable pigment particles.

SECURITY EMBOSSED PRINTING INK USED FOR DOCUMENTS AND PACKAGING AGAINST FORGERY WITH EMBOSSED PRINTING

NºPublicación:  EP4701862A1 04/03/2026
Solicitante: 
SAM SECURITY PRINTING MATBAA ANONIM SIRKETI [TR]
Sam Security Printing Matbaa Anonim Sirketi
TR_2023004788_A2

Resumen de: WO2024226003A1

The present invention relates to a security embossed printing ink which can be used in dry offset and normal offset printing systems and inkjet offset digital printing systems to promote a wide market such as industrial and commercial packaging, food, pharmaceuticals, health, cosmetics, especially on paper and sheets, which can be used for documents and packaging against forgery with embossed printing in the field of printing, which provides a significant reduction in costs by obtaining the desired products in one time, and it comprises an ink composition containing at least one UV curable photopolymerization initiator (1) material, at least one filling material with thickening properties (2), at least one polymer material (3), at least one antistatic material (4), at least one antioxidant ingredient (5), at least one UV-blocking material (6), aerosol as at least one moisture-retaining and anti-condensation material (7), at least one additive with wetting, dispersing, leveling, anti-foaming, rheology modifying properties (8), at least one curing agent (9), at least one color pigment (10).

IDENTIFICATION DOCUMENT WITH A RECESS FOR IDENTIFICATION FEATURE AND METHOD OF MANUFACTURING IT

NºPublicación:  EP4703145A1 04/03/2026
Solicitante: 
TOPPAN SECURITY SAS [FR]
TOPPAN SECURITY IRELAND TEORANTA [IE]
TOPPAN Security SAS,
Toppan Security Ireland Teoranta
EP_4703145_PA

Resumen de: EP4703145A1

A personalized identification document (1) comprising a substrate (5) and an identification feature (15). The substrate (5) comprises an outer surface portion (35) and a recess (10) formed within the outer surface portion (35). The identification feature (15) comprises an inkjet-printed colored image (16) and a varnish material (17). The inkjet-printed colored image (16) is positioned completely within the recess (10). The varnish material (17) is provided completely within the recess (10) and covers the inkjet-printed colored image (16) to the outside.

Protected document

NºPublicación:  PL449590A1 02/03/2026
Solicitante: 
POLSKA WYTWORNIA PAPIEROW WARTOSCIOWYCH SPOLKA AKCYJNA [PL]
POLSKA WYTW\u00D3RNIA PAPIER\u00D3W WARTO\u015ACIOWYCH SP\u00D3\u0141KA AKCYJNA
PL_449590_A1

Resumen de: PL449590A1

Przedmiotem zgłoszenia jest dokument zabezpieczony obejmujący: podłoże, pokryte częściowo co najmniej na dwóch, korzystnie niepokrywających się obszarach dodatkową warstwą, przy czym na co najmniej pierwszym obszarze podłoża jest naniesiona modyfikująca podłoże pierwsza warstwa efektowa z podatnego na odkształcanie pod wpływem zewnętrznej siły nacisku i odbijającego światło materiału o wysokim współczynniku odbicia światła, a na co najmniej drugim obszarze podłoża jest naniesiona modyfikująca podłoże druga warstwa drukowa z odbijającego, barwnego materiału środka kryjącego o wysokiej lepkości; i gdzie na co najmniej pierwszym obszarze podłoża znajduje się pierwszy element zabezpieczający (102) jaki stanowi tłoczony element optyczny obejmujący tłoczoną metodą wklęsłodruku strukturę pod postacią siatki komórek, korzystnie równobocznych, najkorzystniej kwadratowych, gdzie pojedyncza komórka odpowiada pojedynczemu punktowi pierwszego elementu zabezpieczającego (102) tworzącemu wraz z pozostałymi punktami siatki postrzegalny globalnie, niosący informację pierwszy element zabezpieczający (102) i w których to komórkach znajdują się subobrazy tworzone przez wypukłe, równoległe względem pozostałych obecnych w komórce, tłoczone linie o określonej wysokości względem powierzchni podłoża pomiędzy liniami zmodyfikowanej podatnym na odkształcanie pod wpływem zewnętrznej siły nacisku i odbijającym światło mat

Composiciones de recubrimiento curables por radiación uv-vis que comprenden partículas de pigmento magnéticas o magnetizables y métodos para producir capas de efecto óptico

NºPublicación:  CL2025004124A1 27/02/2026
Solicitante: 
SICPA HOLDING SA [CH]
SICPA HOLDING SA
CN_121773167_PA

Resumen de: TW202528492A

The invention relates of UV-Vis radiation curable coating compositions comprising magnetic or magnetizable pigment particles and methods for producing optical effect layers (OELs) comprising magnetically oriented magnetic or magnetizable pigment particles and the use of said OELs as anti-counterfeit means on security documents or security articles as well as decorative purposes. The UV- Vis radiation curable coating compositions comprises one or more (meth)acrylate monomers, one or more cyclic ether compounds, one or more vinyl ether compounds, one or more photoinitiators, one or more thermoplastic polymers and non-spherical magnetic or magnetisable pigment particles.

NOVEL ANTHRAQUINONE-BASED NIR ABSORBERS

NºPublicación:  US20260055115A1 26/02/2026
Solicitante: 
BASF SE [DE]
MAX PLANCK GESELLSCHAFT ZUR FOERDERUNG DER WSS E V [DE]
BASF SE,
Max-Planck-Gesellschaft zur F\u00F6rderung der Wissenschaften e.V
US_20260055115_A1

Resumen de: US20260055115A1

The present invention relates to compounds of the formula (I′), especially compounds of formula (I), a process for their preparation and their use as almost colourless IR absorbers, for optical filter applications, especially for plasma display panels, or for laser welding of plastics. The compounds may be used in compositions for inks, paints and plastics, especially in a wide variety of printing systems and are particularly well-suited for security applications, or for brand protection; or as marker for liquid. Compounds of formula (I′), especially compounds of formula (I), represent almost colourless IR absorbers, which exhibit high resistance against chemicals and solvents as well as good light stability and good thermal stability. Due to their unique application properties they can be advantageously employed as IR absorbers for laser writing, heat shielding, security printing, the laser-welding of plastics and as marker for liquids.

BIODEGRADABLE VALUE-DOCUMENT SUBSTRATE

NºPublicación:  EP4698382A1 25/02/2026
Solicitante: 
GIESECKE & DEVRIENT CURRENCY TECHNOLOGY GMBH [DE]
Giesecke+Devrient Currency Technology GmbH
CN_120659719_PA

Resumen de: CN120659719A

The invention relates to a machine-recognizable, biodegradable polymeric value document substrate, comprising a polymeric composite substrate, which is at least substantially based on renewable raw materials, and at least one machine-recognizable feature embedded in the composite substrate, the machine recognizable feature exhibits a characteristic luminescent emission upon excitation with light of a suitable wavelength, in particular upon excitation with light of the ultraviolet or infrared wavelength range.

RADIATION-CURABLE RADICAL-CURING PROTECTIVE VARNISHES FOR SECURITY DOCUMENTS

NºPublicación:  WO2026037786A1 19/02/2026
Solicitante: 
SICPA HOLDING SA [CH]
SICPA HOLDING SA
WO_2026037786_A1

Resumen de: WO2026037786A1

The invention provides a radiation-curable protective varnish showing good anti-soiling and durability characteristics.

RADIATION-CURABLE HYBRID PROTECTIVE VARNISHES FOR SECURITY DOCUMENTS

NºPublicación:  WO2026037785A1 19/02/2026
Solicitante: 
SICPA HOLDING SA [CH]
SICPA HOLDING SA
WO_2026037785_A1

Resumen de: WO2026037785A1

The invention provides a radiation-curable hybrid protective varnish showing good protective effect and durability characteristics.

SECURITY FEATURE

Nº publicación: EP4695096A1 18/02/2026

Solicitante:

CCL SECURE PTY LTD [AU]
CCL Secure Pty Ltd

AU_2024255149_PA

Resumen de: AU2024255149A1

A security feature for a security document, the security feature comprising one or more photoluminescent ink layers, each including a composition capable of emitting visible light when irradiated with a specified electromagnetic wavelength range, wherein the one or more photoluminescent ink layers are at least partially printed in a window region of the security document.

traducir