Ministerio de Industria, Turismo y Comercio LogoMinisterior
 

Energía eólica

Resultados 512 resultados
LastUpdate Última actualización 03/04/2026 [07:13:00]
pdfxls
Solicitudes publicadas en los últimos 15 días / Applications published in the last 15 days
previousPage Resultados 25 a 50 de 512 nextPage  

MAGNETIZING PERMANENT MAGNET MODULES

NºPublicación:  EP4718478A1 01/04/2026
Solicitante: 
GE VERNOVA RENOVABLES ESPANA S L [ES]
Ge Vernova Renovables Espa\u00F1a, S.L
EP_4718478_PA

Resumen de: EP4718478A1

The present disclosure relates to methods for magnetizing sections of one or more permanent magnets arranged substantially in a V-shape. The methods comprise applying a first magnetic field comprising activating (402) an open end magnetizing coil (61) arranged near an open end of the V-shape and generating a first magnetic flux (MF61), activating (404) a first side magnetizing coil (63) arranged at a first side of a first leg (41) of the V-shape and generating a second magnetic flux (MF63), and activating (406) a second side magnetizing coil (62) arranged at a second side of a second leg (42) of the V-shape and generating a third magnetic flux (MF62). The magnetizing coils are simultaneously activated, and the second side magnetizing coil is activated in reversed polarity to the first side magnetizing coil.

AN UNDERWATER UNMANNED VEHICLE DOCKING ARRANGEMENT

NºPublicación:  EP4716801A1 01/04/2026
Solicitante: 
ELEVATED LAUNCH AB [SE]
Elevated Launch AB
WO_2024242599_PA

Resumen de: WO2024242599A1

The present disclosure relates to an off-shore wind power plant arrangement (100) comprising a wind power plant tower (102) and a wind power plant nacelle arrangement (101) The wind power plant arrangement (100) comprises an unmanned underwater vehicle, UUV, docking arrangement (110a, 110b) that is adapted to accommodate at least one remotely controlled UUV (140) and comprises an electrical charging connection (112). The electrical charging connection (112) is adapted to electrically connect and charge a re-chargeable battery arrangement (141) comprised in a UUV (140) to an electrical power source (113) comprised in the wind power plant arrangement (100) via at least one power interface means (180). Furthermore, the wind power plant arrangement (100) comprises at least one hydroacoustic sensor arrangement (190a, 190b, 190c).

SYSTEMS AND METHODS FOR MANUFACTURING COMPOSITE LAMINATE STRUCTURES

NºPublicación:  EP4716631A2 01/04/2026
Solicitante: 
SUPERNAL LLC [US]
Supernal, LLC
CN_121175182_A

Resumen de: CN121175182A

A method is disclosed. The method includes applying a layer of woven fibrous material around a tool. The method further includes disposing the composite laminated sheet onto the woven fibrous material. The method further includes applying an additional layer of woven fibrous material onto the composite laminate sheet to form a spar. The method additionally includes joining the spar such that the woven fibrous material layer is fixedly coupled to the composite laminate sheet. The method includes removing the tool from the spar.

A METHOD AND SYSTEM FOR MANUFACTURE OF A COMPOSITE STRUCTURE OF A WIND TURBINE BLADE

NºPublicación:  EP4716630A1 01/04/2026
Solicitante: 
ENVISION ENERGY CO LTD [CN]
Envision Energy Co., Ltd
AU_2023457078_PA

Resumen de: AU2023457078A1

The invention relates to a system and method for manufacture of a composite structure (17) of a wind turbine blade (5). Layers of a fibrous material (33) are arranged in a mould (16) and the top surface of the upper layer is scanned using a measuring device (25). The data inputted from the measuring device (25) is analysed in a processor (26) to identify the locations of defects (27) and detailed information thereof. The location data is then transmitted to a lighting system (28), where the locations of the defects (27) are visually indicated on or relative to the upper layer of the composite structure (17) using lighting devices (29). The present inspection method can be performed during dry layup of the respective layers, thereby allows defects (27) to be corrected be-fore infusion of the resin matrix material.

SPAR PLATFORM FOR A FLOATING OFFSHORE WIND TURBINE

NºPublicación:  EP4717581A2 01/04/2026
Solicitante: 
EQUINOR ENERGY AS [NO]
Equinor Energy AS
EP_4717581_PA

Resumen de: EP4717581A2

A floating spar platform 7 for supporting an offshore wind turbine comprises at least one first ballast tank 15 for holding adjustable ballast and at least one second ballast tank 16 for holding adjustable ballast. The second ballast tank 16 is arranged vertically higher than the first ballast tank 15, allowing a vertical distance between the bottom of the spar platform 7 and the centre of centre of gravity 31 of the spar platform 7 to be controlled by adjusting the amount of ballast held within the first and/or second ballast tanks 15, 16. This provides for control over the resonant response of the floating spar platform 7. During installation of a wind turbine on the floating spar platform 7, ballast associated with the spar platform may be adjusted in order to increase the vertical distance between the bottom of the spar platform 7 and the centre of gravity 31 of the spar platform 7, which reduces wave-induced resonant motions of the spar platform 7.

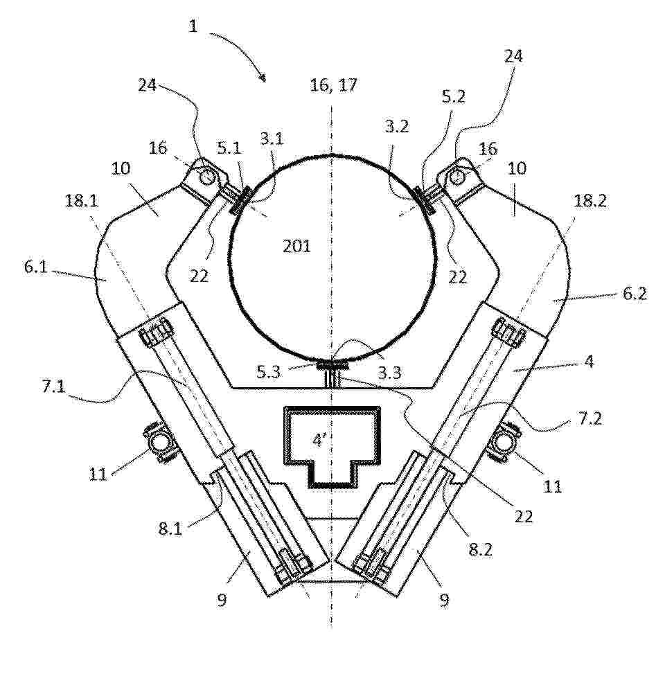
CLIMBING STRUCTURE FOR WIND TURBINES

NºPublicación:  EP4717660A1 01/04/2026
Solicitante: 
KIMUA ENG S L [ES]
Kimua Engineering, S.L
EP_4717660_PA

Resumen de: EP4717660A1

A climbing structure (100) comprising at least two holding devices (1) for securing the structure (100) to a tower (201) of a wind turbine. Each holding device (1) comprises three pushers, a central one (5.3) and side pushers (5.1, 5.2), with at least a respective supporting surface (3.1, 3.2, 3.3), the pushers being configured to press the tower (201) at a certain height on three angularly equally distributed areas. Each holding device (1) also comprises a main body (4) and two side arms (6.1, 6.2) cooperating with said main body (4) and comprising a respective side pusher (5.1, 5.2), the central pusher (5.3) being associated with the main body (4). Likewise, the main body (4) of each holding device (1) comprises two inclined side guide housings (8.1, 8.2), the central pusher (5.3) being arranged between both side arms (6.1, 6.2). Each holding device (1) comprises actuating means for moving the side arms (6.1, 6.2) with respect to the main body (4) guided in the corresponding side guide housing (8.1, 8.2), such that the respective holding device (1) can be coupled to towers (201) of different diameters.

WING ARRANGEMENT COMPRISING A MAIN WING AND A SLAT ATTACHED THERETO IN FRONT OF THE MAIN WING IN A DIRECTION OPPOSITE TO A FLOW DIRECTION

NºPublicación:  EP4717591A2 01/04/2026
Solicitante: 
SCHLECHT PAUL MATTHIAS [DE]
Schlecht, Paul-Matthias
EP_4717591_PA

Resumen de: EP4717591A2

Die Erfindung betrifft eine Flügelanordnung (10) in der Form eines Propellers eines Flächenflugzeugs oder eines Tragschraubers oder in der Form eines Rotorblatts eines Haupt- und/oder Nebenrotors eines Flugzeugs mit Tragflächen, eines Hubschraubers oder eines Tragschraubers, oder in der Form eines Rotorblatts eines Rotors einer Windkraftanlage. Die Flügelanordnung (10) umfasst einen Hauptflügel (12) und einen entgegen einer Strömungsrichtung (22) vor dem Hauptflügel (12) daran befestigten Vorflügel (14), sodass zwischen dem Vorflügel (14) und dem Hauptflügel (12) ein Spalt (16) mit einem Strömungseinlass (18) und einem definierten, unveränderlichen Strömungsauslass (20) gebildet ist. In einem vertikalen Querschnitt längs der Strömungsrichtung (22) betrachtet beträgt eine Länge (D) eines sich entgegen der Strömungsrichtung (22) über eine Länge (A) des Hauptflügels (12) hinaus nach vorne erstreckenden Abschnitts (32) des Vorflügels (14) mindestens 20% einer Gesamtlänge (C) der Flügelanordnung (10) in Strömungsrichtung (22). Es wird vorgeschlagen, dass der Strömungseinlass (18) größer als der Strömungsauslass (20) ist, sodass sich durch eine Luftströmung (24) in dem Spalt (16) ein Bernoulli-Effekt einstellt.

OFFSHORE WIND TURBINE SYSTEMS AND PROCESSES FOR INSTALLING SAME

NºPublicación:  EP4717580A2 01/04/2026
Solicitante: 
MODEC AMERICA INC [US]
MODEC America, Inc
EP_4717580_PA

Resumen de: EP4717580A2

Offshore wind turbine systems and processes for installing same. The system can include a wind turbine generator can include a plurality of blades connected thereto. The system can also include a first support arm and a second support arm each having a first end and a second end. The system can also include a support structure that can be configured to float on a surface of a body of water that can include first, second, and third columns. The first end of the first support arm and the first end of the second support arm can each support the wind turbine generator at an elevation above the support structure. The second end of the first support arm can be connected to and supported by the first column. The second end of the second support arm can be connected to and supported Q by the second column.

SYSTEM AND METHOD FOR CONTROLLING A WIND TURBINE BASED ON AN ESTIMATED ROTOR AZIMUTH

NºPublicación:  EP4717907A1 01/04/2026
Solicitante: 
GE VERNOVA INFRASTRUCTURE TECH LLC [US]
GE Vernova Infrastructure Technology LLC
EP_4717907_PA

Resumen de: EP4717907A1

A method for controlling a wind turbine is provided. The method includes receiving, via a control system, at least one speed condition of a drivetrain of the wind turbine from a first sensor. The method also includes receiving, via the control system, a pulse from a second sensor mounted within a nacelle of the wind turbine, the pulse being generated when the drivetrain shifts to a known angle. The method also includes estimating, via the control system, an azimuth of a designated rotor blade based on a combination of the at least one speed condition of the drivetrain and the pulse. The method also includes implementing, via the control system, a control action for the wind turbine based on the estimated azimuth.

SYSTEM AND METHOD FOR CONTROLLING A SPEED OF A WIND TURBINE

NºPublicación:  EP4717908A2 01/04/2026
Solicitante: 
GE VERNOVA INFRASTRUCTURE TECH LLC [US]
GE Vernova Infrastructure Technology LLC
EP_4717908_PA

Resumen de: EP4717908A2

A method for controlling a wind turbine is provided. The method includes receiving, via a control system, at least one speed measurement from at least one sensor on a drivetrain of the wind turbine. The method also includes receiving, via the control system, at least one rate gyroscope speed measurement from at least one rate gyroscope on the drivetrain of the wind turbine. The method also includes calculating, via the control system, an offset for the at least one rate gyroscope speed measurement as a function of the at least one speed measurement. The method also includes adjusting, via the control system, the at least one rate gyroscope speed measurement by the offset. The method also includes implementing, via the control system, a control action for the wind turbine based on the adjusted at least one rate gyroscope speed measurement.

IMPROVEMENTS RELATING TO COOLING WIND TURBINES

NºPublicación:  EP4716802A1 01/04/2026
Solicitante: 
VESTAS WIND SYS AS [DK]
VESTAS WIND SYSTEMS A/S
CN_121039393_PA

Resumen de: CN121039393A

A wind turbine cooling system comprises: a coolant circuit adapted to convey coolant between a first heat exchanger arranged to cool coolant flowing through the coolant circuit and a second heat exchanger arranged to heat coolant flowing through the coolant circuit; a coolant pump adapted to pump coolant around the coolant circuit; a first flow control valve having a first port and a second port wherein the coolant flows between the first port and the second port along the coolant circuit in a cooling mode of operation, the first flow control valve further having a third port to which the expansion tank is connected and a fourth port adapted to be connected to a coolant fill tank; and a second flow control valve having a first port and a second port, where coolant flows through the first port and the second port during a cooling mode of operation. The second flow control valve further includes a third port and a fourth port, where coolant flows between the second port and the third port during a bypass mode of operation in which the coolant bypasses the first heat exchanger, the fourth port being adapted to be connected to a coolant fill tank. Advantageously, three operating modes of the system are achieved only with two four-way valves and a single pump, which represents a significant reduction in complexity and cost compared to known systems with comparable functionality.

SYSTEM AND METHOD FOR DETECTING ANOMALIES ON A WIND TURBINE ROTOR BLADE

NºPublicación:  EP4717911A1 01/04/2026
Solicitante: 
GE VERNOVA RENOVABLES ESPANA S L [ES]
Ge Vernova Renovables Espa\u00F1a, S.L
EP_4717911_PA

Resumen de: EP4717911A1

A method for improving quality of a rotor blade of a wind turbine includes receiving, via a data acquisition module of a controller, image data relating to the rotor blade. The image data is collected during or after manufacturing of the rotor blade before the rotor blade is placed into operation on the wind turbine. The method includes identifying, via a processor of the controller, an anomaly on the rotor blade using the image data relating to the rotor blade. The method also includes determining, via the processor, a location of the anomaly of the rotor blade using a combination of at least two of the following: an estimated location of an imaging device when the image data was collected, a known location of a pixel as represented by multiple angles that describe a location of the pixel and the anomaly within the image data as projected onto a spherical shell, Light Detection and Ranging (LIDAR) data of a cross section of the rotor blade at a time and location when the image data was collected, a specific internal cavity that the imaging device is in when the image data was collected, or a computer-aided design (CAD) model of the rotor blade. Further, the method includes displaying, via the processor, the location of the anomaly of the rotor blade. Moreover, the method includes implementing, via the processor, a corrective action for a subsequent manufacturing process of another rotor blade based on the location of the anomaly of the rotor blade.

SYSTEM AND METHOD FOR IMPROVING WIND TURBINE ROTOR BLADE QUALITY USING ARTIFICIAL INTELLIGENCE

NºPublicación:  EP4717912A1 01/04/2026
Solicitante: 
GE VERNOVA INFRASTRUCTURE TECH LLC [US]
GE Vernova Infrastructure Technology LLC
EP_4717912_PA

Resumen de: EP4717912A1

A method for improving quality of a rotor blade of a wind turbine includes collecting, via a controller, data relating to the rotor blade during or after manufacturing of the rotor blade before the rotor blade is placed into operation on the wind turbine. The data includes visual data and multi-spectral infrared (IR) data. The method also includes fusing, via the controller, image data from the visual data and the multi-spectral IR data to determine an occurrence of one or more anomalies on or within the rotor blade. Further, the method includes automatically generating, via the controller, a quality report of the rotor blade comprising the one or more anomalies. Moreover, the method includes implementing, via the controller, a corrective action for the rotor blade or a subsequent manufacturing process of another rotor blade based on the quality report.

一种风机混塔结构连接结构

NºPublicación:  CN224064466U 31/03/2026
Solicitante: 
江苏筑岩建设有限公司
CN_224064466_U

Resumen de: CN224064466U

本实用新型涉及一种风机混塔结构连接结构,包括上、下堆叠设置的上预制筒段和下预制筒段,以及设置在上、下预制筒段之间的预制件水平连接密封件;所述预制件水平连接密封件为一扁平形状的环形件,在环形件内置有至少一道沿环形方向延伸的金属片,环形件的上端面具有至少一道上环形凸起,环形件的下端面具有至少一道下环形凸起;所述上预制筒段的下端面设置有刚好容纳上环形凸起的上嵌合槽,下预制筒段的上端面设置有刚好容纳下环形凸起的下嵌合槽。通过在上、下预制筒段之间设置预制件水平连接密封件来代替传统的密封垫与密封胶的组合,在实现了连接、找平、密封的基础上,取消了打胶的过程,也就不会受到天气环境的影响,施工更方便,效率更高。

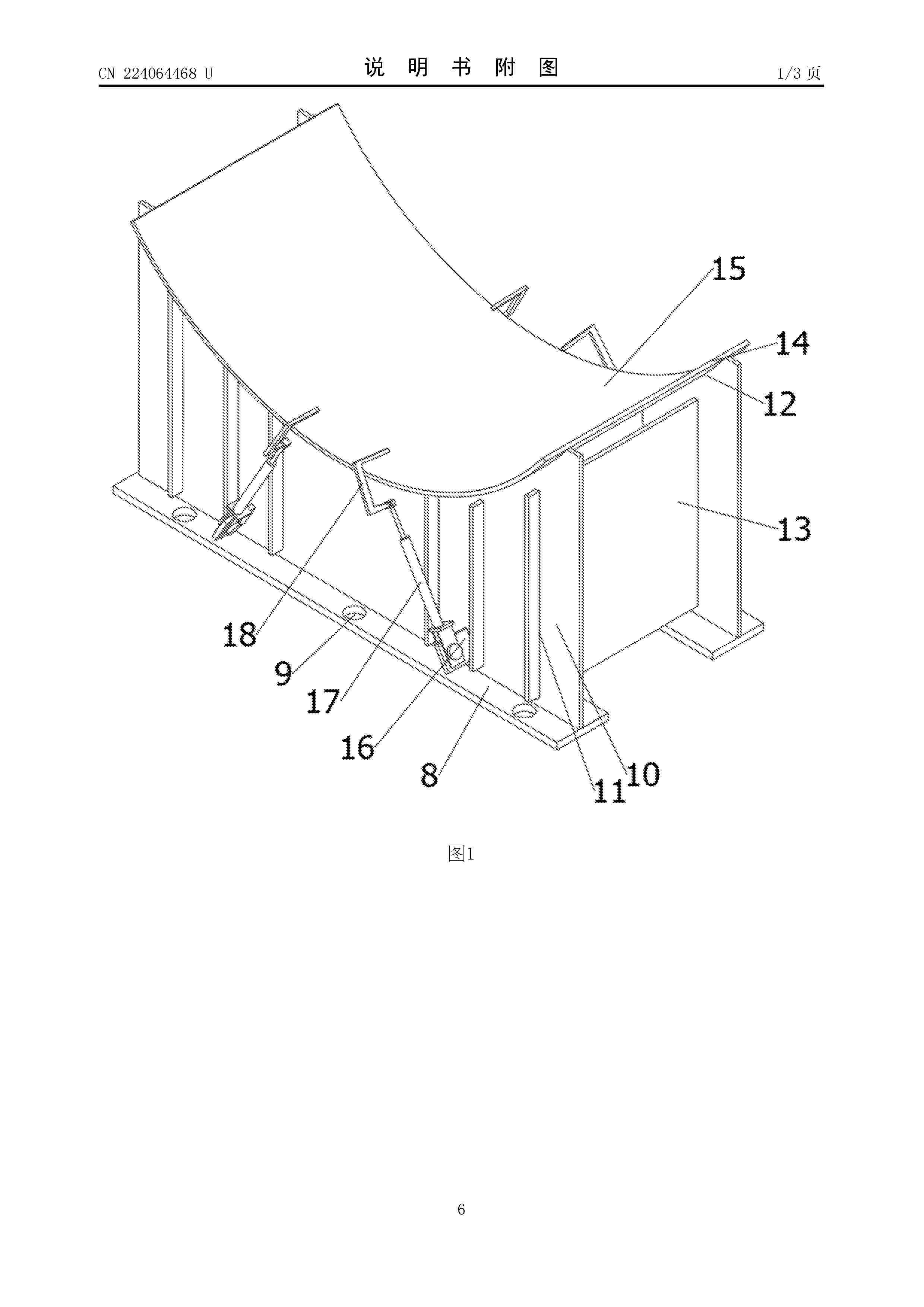
一种防倾倒的海上风机单桩支撑托架

NºPublicación:  CN224064468U 31/03/2026
Solicitante: 
海力风电设备科技(威海)有限公司
CN_224064468_U

Resumen de: CN224064468U

本实用新型公开了一种防倾倒的海上风机单桩支撑托架,包括底安装组件,所述底安装组件上设置有支撑组件,两个支撑组件之间通过连接组件连接,所述支撑组件上设置有单桩限位组件,所述支撑组件上设置有辅助安装组件,所辅助安装组件上设置有防倾倒控制组件,所述防倾倒控制组件的输出端设置有夹紧组件。本实用新型的有益效果是,本技术方案的单桩支撑托架,结构设计巧妙,实用性较强,且稳定性高,运用此支撑托架,实现了对海上风机单桩的稳定存放,有效保证了海上风机单桩存放的稳定性,避免了海上风机单桩出现倾倒的问题。

一种风力发电旋转平台

NºPublicación:  CN224064471U 31/03/2026
Solicitante: 
山东能源装备集团中传矿用设备制造有限公司
CN_224064471_U

Resumen de: CN224064471U

本实用新型涉及风力发电技术领域,尤其涉及一种风力发电旋转平台,包括用于提供支撑的安装筒体、处于安装筒体内部的变速箱、以及处于安装筒体的外部且其驱动转杆的动力输出端与变速箱动力输入端连接的风轮,所述风轮的驱动转杆与安装筒体的端壁通过轴承进行转动连接,所述安装筒体的内侧壁上一体成型有与端壁平行的纵向立壁,所述纵向立壁与驱动转杆之间也通过轴承进行转动连接,通过对现有的安装筒体与驱动转杆的连接处进行改进,使得驱动转杆能够进行多点支撑,防止驱动转杆出现挠曲,通过设置纵向立壁与安装筒体的内侧壁转动连接,能够减少安装筒体的端壁所受载荷,防止端壁出现变形的风险。

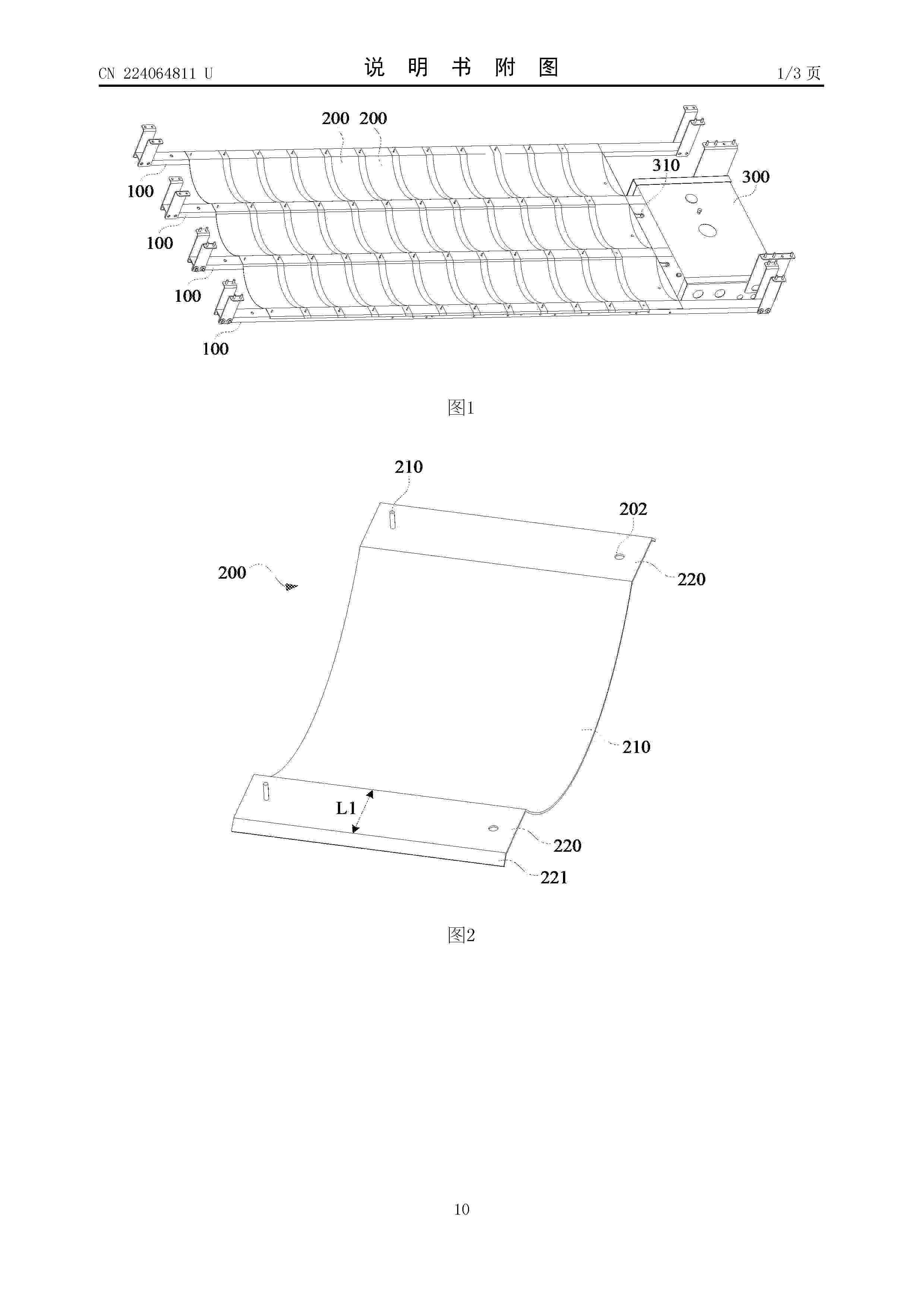
接油结构及风力发电机组

NºPublicación:  CN224064811U 31/03/2026
Solicitante: 
三一重能股份有限公司
CN_224064811_U

Resumen de: CN224064811U

本申请涉及风力发电技术领域,尤其涉及一种接油结构及风力发电机组。接油结构包括:至少两个支撑件和多个接油件,各支撑件间隔设置,支撑件用于与风电齿轮箱的后底架相连。接油件相对的两侧分别搭设在相邻的两个支撑件上,且相邻的两个接油件相搭接以共同形成油液流道。本申请提供的接油结构及风力发电机组,接油结构安装方便,提高了接油结构的安装效率。

齿轮箱离线过滤装置及风力发电装置

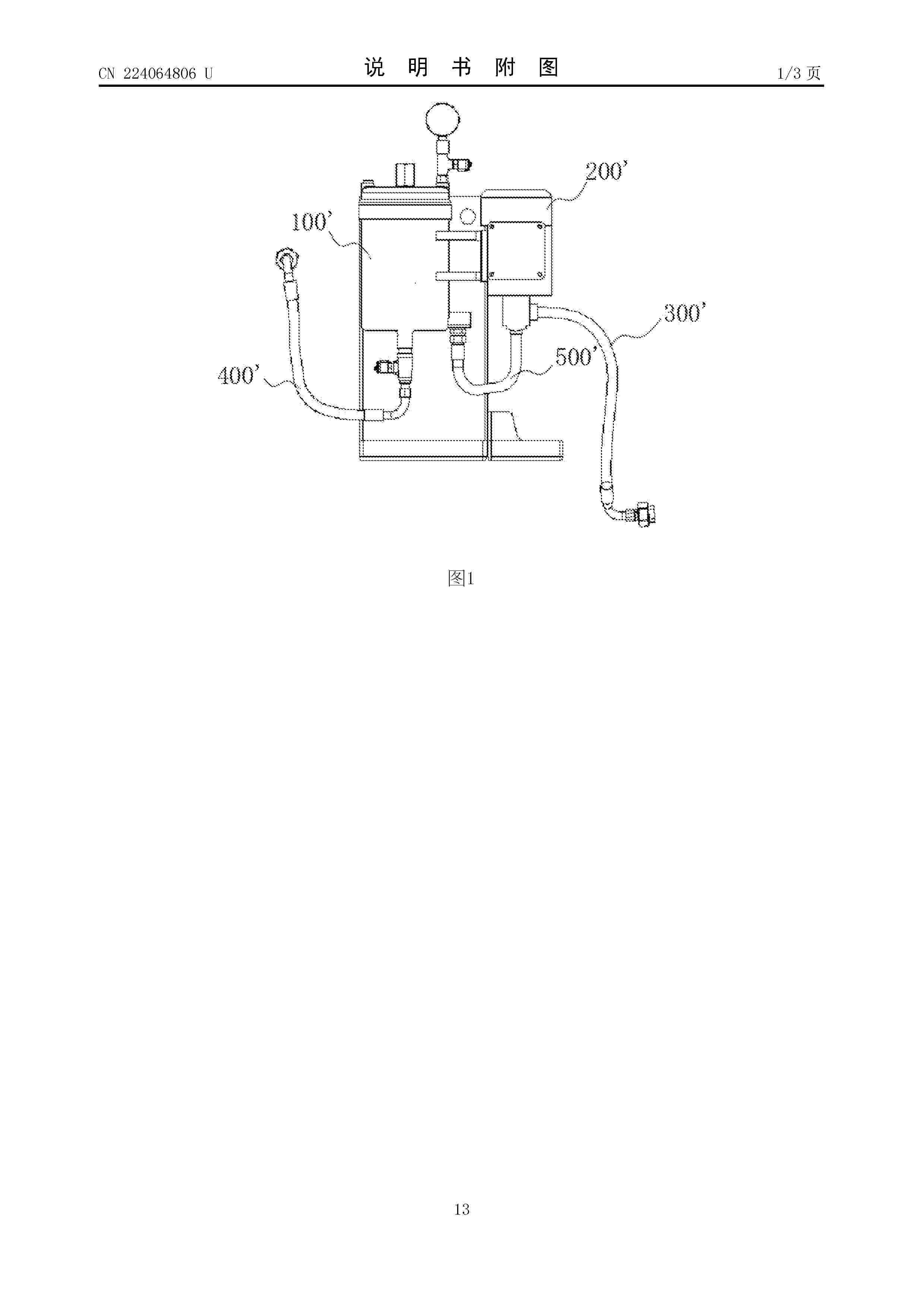
NºPublicación:  CN224064806U 31/03/2026
Solicitante: 
远景能源有限公司射阳远景能源科技有限公司
CN_224064806_U

Resumen de: CN224064806U

本申请公开了一种齿轮箱离线过滤装置及风力发电装置。其中,齿轮箱离线过滤装置包括过滤机构、流量控制阀和控制器,过滤机构设有进液口和出液口,进液口通过进液管与齿轮箱的润滑系统连通,出液口通过出液管与齿轮箱的油箱连通,流量控制阀与进液管连通,并设于过滤机构与润滑系统之间,控制器与流量控制阀电连接,用于控制流量控制阀的开闭及流量调节。本申请提供的技术方案,可以在齿轮箱自带润滑系统基础上增设流量控制阀和控制器实现过滤功能,无需安装油泵和电机等部件,简化了系统配置,缩小了安装尺寸,降低了成本。

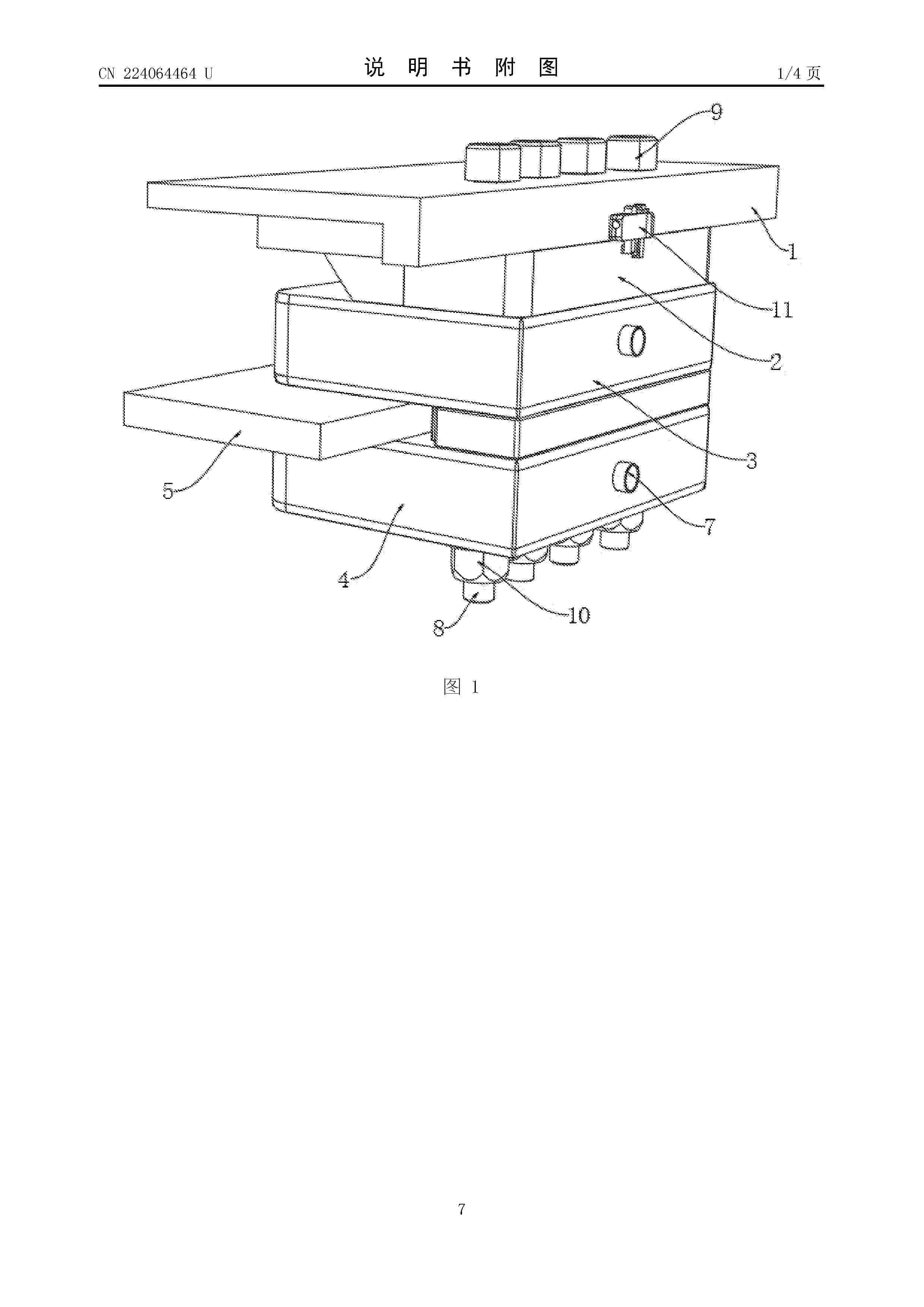
一种风力发电机偏航制动器安装结构

NºPublicación:  CN224064464U 31/03/2026
Solicitante: 
湖南达立新能源科技有限公司
CN_224064464_U

Resumen de: CN224064464U

本实用新型涉及制动器安装结构技术领域,公开了一种风力发电机偏航制动器安装结构,包括上钳体和下钳体,所述上钳体顶部设置有安装垫块,所述安装垫块顶部设置有薄板,所述上钳体和下钳体之间设置有制动盘,所述上钳体和下钳体内部均固定连接有摩擦片,所述摩擦片与所述制动盘相接触,所述上钳体和下钳体一侧均设置有油压口,所述上钳体和下钳体内部设置有固定组件,所述薄板一侧设置有连接组件。本实用新型中,通过将安装垫块贴合在薄板底部,上钳体和下钳体贴合在安装垫块底部,再用安装螺栓依次穿过薄板、安装垫块、上钳体和下钳体,拧紧螺帽和螺母,实现了保证偏航制动器整体结构稳定,使上钳体和下钳体与制动盘距离上下均匀的效果。

基于深度声纹的风机叶片材料疲劳度在线评估系统

NºPublicación:  CN121765289A 31/03/2026
Solicitante: 
国电投南通新能源有限公司
CN_121765289_PA

Resumen de: CN121765289A

本发明涉及大型旋转机械结构动态特性在线监测技术领域,公开一种基于深度声纹的风机叶片材料疲劳度在线评估系统,包括:利用机组自身运行数据流,同步采集发电机有功功率与结构振动信号;在运算前,先依据SCADA事件日志对数据段进行核查以剔除电网扰动工况;进而生成表征动态传递关系的气动弹性传递函数及表征振动源的相干函数,本发明利用机组自身运行产生的两个信号,通过构建传递函数,在随机激励源无法测量的环境中建立了一个稳定的动态特性观测方式,使得对叶片整体刚度这一核心结构参数的长期趋势监测脱离了对外部已知激励源的依赖,从而在连续运行工况下实现了对结构动态平衡状态的评估。

一种风力发电机组用油冷却器

NºPublicación:  CN121760899A 31/03/2026
Solicitante: 
华能国际电力开发公司吉林通榆风电分公司
CN_121760899_PA

Resumen de: CN121760899A

本发明提供了一种风力发电机组用油冷却器,包括冷却器壳体、进油口、出油口、换热芯体和散热风机,所述进油口和出油口分别设置于冷却器壳体的两端,所述换热芯体设置于冷却器壳体内部,其两端分别与进油口及出油口连通,所述散热风机设置于冷却器壳体的外侧。本申请通过设置螺旋形结构的冷却管和换热芯体外侧平行等距排列的散热片,极大地增加了有效换热面积,再配合散热风机强制对流,显著提升了冷却效率,能够根据润滑油的实时温度自动调节流经冷却器芯体的油量,在油温较低时,油液经旁通管路直接回流,避免过冷,在油温升高时,逐渐增加流经冷却管路的油量,实现智能温控,保证系统始终在最佳温度区间运行。

海上风电机组抗海浪扰动方法及系统

NºPublicación:  CN121760883A 31/03/2026
Solicitante: 
华能昌黎太阳能发电有限公司
CN_121760883_PA

Resumen de: CN121760883A

本发明提供一种海上风电机组抗海浪扰动方法及系统,该海上风电机组抗海浪扰动方法包括:步骤1:通过布置在塔筒上的传感器实时获取海面距离数据,并根据距离数据的变化判断海浪是否处于波峰接近状态;步骤2:当判定为波峰接近状态时,测量海浪冲击的能量等级;步骤3:根据判定出的能量等级,控制变刚度液压支撑系统的阀门开闭状态,以调节塔筒底部的连接刚度或执行锁止操作。本发明能够实现在海浪撞击前,通过物理传感器获取数据,通过一系列逻辑门判断,直接改变塔筒底部连接件的刚度和吸能策略,使塔筒在硬接触和卸力之间切换,从而破坏海浪的共振条件。

基于多模态协同Transformer网络的风电机组齿轮箱故障预警系统

NºPublicación:  CN121765570A 31/03/2026
Solicitante: 
广东工业大学
CN_121765570_PA

Resumen de: CN121765570A

本发明公开基于多模态协同Transformer网络的风电机组齿轮箱故障预警系统,涉及风电机组预警技术,针对现有技术中预警效果不理想的问题提出本方案。包括四路径特征提取模块、自适应融合模块、特征细化模块以及多尺度早期故障预警模块;利用Spearman相关分析选择齿轮箱平均油温相关的多模态特征;其优点在于,基于提前预警机制提供维护预警,突破人工设定阈值易受外部波动影响的局限性。在具体实施时有效提前14天预警且无误报出现,尤其适用于高温、高湿和风速多变的恶劣海洋环境。

变桨系统的控制方法及装置、设备、存储介质

NºPublicación:  CN121760881A 31/03/2026
Solicitante: 
远景能源有限公司
CN_121760881_PA

Resumen de: CN121760881A

本申请涉及风力发电技术领域,公开一种变桨系统的控制方法,应用于风力发电机,方法包括:获取变桨系统中变桨电机的运行参数,以及获取变桨系统中后备电源的电气参数。基于变桨电机的运行参数,计算变桨电机的功率,基于后备电源的电气参数,计算后备电源的充电功率。计算变桨电机的功率与后备电源的充电功率之和,得到变桨系统的输出功率,根据变桨系统预设的效率系数和变桨系统的输出功率,计算变桨系统的输入功率。方法在监测变桨系统的输入功率时,无需依赖变桨系统中额外配置的电流传感器,从而可以降低检测风力发电机变桨系统的成本。该方法的技术效果说明。本申请还公开一种变桨系统的控制装置及设备、存储介质。

风力发电机的合成惯性控制方法及系统

Nº publicación: CN121769874A 31/03/2026

Solicitante:

株式会社韩国再生能源研究院

CN_121769874_PA

Resumen de: CN121769874A

根据本发明的合成惯性控制方法包括如下几个步骤:执行最大功率点跟踪控制;检测电力系统的频率偏差;当频率偏差大于规定值时,将最大功率点跟踪控制转换为临时频率支持控制,临时频率支持控制包括对从最大功率点跟踪控制向临时频率支持控制变换的时间点开始的规定的第一时间期间,根据变换时间点的最大功率点跟踪控制比原来的基准值增加了的有功功率基准值进行计算和控制,根据临时频率支持控制增加的有功功率基准值可通过频率偏差和风力发电机的转子速度的函数算出。根据本发明,电力系统受到干扰以后,通过乘以与频率偏差成比例且根据转子速度而变动的控制增益来使得输出增加,因此当转子速度高时,输出增加量变大,从而最低频率上升效果明显。

traducir