Ministerio de Industria, Turismo y Comercio LogoMinisterior
 

Energía eólica flotante

Resultados 114 resultados
LastUpdate Última actualización 01/04/2026 [08:44:00]
pdfxls
Publicaciones de los últimos 120 días / Applications published in the last 120 days
previousPage Resultados 25 a 50 de 114 nextPage  

MODULAR FLOATING STRUCTURE FOUNDATION FOR WIND TURBINE

NºPublicación:  US20260063108A1 05/03/2026
Solicitante: 
ZOU JUN [US]
Zou Jun
US_20260063108_PA

Resumen de: US20260063108A1

A floating structure foundation for a wind turbine features several improvements, including a transition assembly that supports the wind turbine generator (WTG) and tower centrally, transferring loads to primary structural components to maximize efficiency. Its highly modular design allows for flexible construction and scalability, with each component built independently for easier adaptation to different project requirements and site conditions. This modularity supports efficient dry transport, enabling multiple modules to be shipped simultaneously on various vessels. The foundation offers a simplified design with accelerated construction, rapid assembly, and installation.

WAVE ENERGY-BASED REEF SUSTAINABLE DEVICE INTEGRATED WITH OFFSHORE WIND TURBINE

NºPublicación:  US20260063101A1 05/03/2026
Solicitante: 
NATIONAL CHENG KUNG UNIV [TW]
National Cheng Kung University
US_20260063101_PA

Resumen de: US20260063101A1

A wave energy-based reef sustainable device integrated with an offshore wind turbine is provided. The wave energy-based reef sustainable device integrated with an offshore wind turbine can be put into a seabed, is configured to connect with a floating wind turbine, and includes a base is configured as a fish reef, an anchoring device configured to connect with the floating wind turbine, and includes plural rings with a luminous coating and at least one mooring system or cable with a luminous layer. The rings swing and/or rotate due to the pull of the floating wind turbine and present a flashing effect to attract fish. The mooring system or cable with the luminous layer provides a warning effect, a lighting device configured to emit light to attract fish, and a green energy device configured to convert a green energy into an electrical energy, which is provided to the lighting device.

A TURRET CONNECTING MODULE FOR A FLOATING OFFSHORE SYSTEM OF A WIND TURBINE, AND A FLOATING OFFSHORE SYSTEM COMPRISING A TURRET CONNECTING MODULE

NºPublicación:  WO2026047092A1 05/03/2026
Solicitante: 
EXPONENTIAL RENEWABLES S L [ES]
EXPONENTIAL RENEWABLES, S.L
WO_2026047092_PA

Resumen de: WO2026047092A1

A turret connecting module (100) for being selectively inserted in an operating position (O) within a weathervaning floating offshore structure (200) of a wind turbine (202) for connecting said weathervaning floating offshore structure (200) to a pre-laid mooring system (300), the turret connecting module (100) comprising: an external trunk element (1) configured to be attached to the weathervaning floating offshore structure (200); an internal shaft element (2) configured to be arranged within the external trunk element (1), and comprising a base portion (22) configured to be coupled to the pre-laid mooring system (300); and a bearing system (3) comprising at least one bearing (31, 32) configured to connect the external trunk element (1) to the internal shaft element (2) such that the external trunk element (1) is allowed to weathervane together with the weathervaning floating offshore structure (200) relative to the internal shaft element (2) and the prelaid mooring system (300).

FLOATING PLATFORM, IN PARTICULAR FOR AN OFFSHORE WIND TURBINE, HAVING IMPROVED STABILITY

NºPublicación:  EP4701924A1 04/03/2026
Solicitante: 
COFFRATHERM [FR]
Coffratherm
CN_121001923_PA

Resumen de: CN121001923A

The invention relates to a floating platform (2), the arrangement of anchoring ribs (17, 18) of which makes it possible to improve stability, in particular for a platform of a wind turbine (2). The invention also relates to a method of assembling such a platform and a wind turbine thereof, and to a method of anchoring such a platform at sea.

NON-IMAGING NON-TRACKING SOLAR CONCENTRATOR BASED COMBINED CSP AND WAVE ENERGY AND WIND ENERGY CONVERSION HYBRID THERMAL ENERGY AND ELECTRIC POWER COGENERATION SYSTEM

NºPublicación:  US20260055756A1 26/02/2026
Solicitante: 
WANG YONGHUA [US]
Wang Yonghua
US_20260055756_PA

Resumen de: US20260055756A1

A combined stationary solar CSP, wave motion, and wind power generation and fresh water production system that deploys close structure non-imaging non-tracking solar concentrator array as buoy for wave motion converter system and floating platform for wind mills comprises a divergent Fresnel lens and non-imaging concentrator enabled non-imaging non-tracking solar concentrator based hybrid solar thermal and photovoltaic CSP system, a wave energy converter system, and a vertical axis wind energy system. Wherein, the stationary solar CSP system realizes ultra-high efficiency through solar thermal and photovoltaic cogeneration, substantially-low cost through stationary high concentration ratio concentration, and super-stable power generation through electrothermal energy storage. The system produces fresh water through thermal power generation and uses swappable battery modules to address power transportation and utilization issues.

OPERATING A FLOATING WIND TURBINE

NºPublicación:  WO2026041307A1 26/02/2026
Solicitante: 
SIEMENS GAMESA RENEWABLE ENERGY AS [DK]
SIEMENS GAMESA RENEWABLE ENERGY A/S
WO_2026041307_PA

Resumen de: WO2026041307A1

A method of operating a floating wind turbine (1), FWT, is provided. The floating wind turbine (1) is exposed to waves during operation, the waves causing a wave induced motion of the floating wind turbine (1). The floating wind turbine (1) is configured to operate a protective function. The method comprises obtaining, during operation of the floating wind turbine (1), monitored wave data (70) indicative of a wave height of the waves the floating wind turbine (1) is exposed to during operation. It further comprises processing the monitored wave data (70) to obtain processed wave data, wherein the processing comprises at least a processing by descriptive statistical analysis, comparing the processed wave data to a threshold (140) that corresponds to a predetermined sea state and activating the protective function upon detecting that the processed wave data reaches or exceeds the threshold (140).

GREEN POWER INTEGRATED HUB FOR OCEAN CRUISE SHIPS

NºPublicación:  WO2026041034A1 26/02/2026
Solicitante: 
SHANGHAI WAIGAOQIAO SHIPBUILDING CO LTD [CN]
\u4E0A\u6D77\u5916\u9AD8\u6865\u9020\u8239\u6709\u9650\u516C\u53F8
WO_2026041034_PA

Resumen de: WO2026041034A1

A green power integrated hub for ocean cruise ships, which hub comprises a relay mother ship hull (1) and a green energy complex. The relay mother ship hull (1) cruises on a fixed schedule along a designated route between fixed locations. The green energy complex is arranged at the starting point of the route of the relay mother ship hull (1) and is used for re-fueling the relay mother ship hull (1). Ten connection assemblies are respectively arranged on two sides of the relay mother ship hull (1) and are used for connecting cruise ships (16) located on both sides. Two personnel access galleries (17) are respectively connected to the two sides of the relay mother ship hull (1) and are used for communicating the cruise ships (16) on both sides with the relay mother ship hull (1). Each connection assembly comprises a structural reinforcing member (14), a connecting arm support (13), a connecting arm device (12) and a hull connecting member (11). The structural reinforcing member (14) is arranged on a side wall of the relay mother ship hull (1).

FLOATING OFFSHORE WIND TURBINE SYSTEM, METHOD FOR TRANSPORTING FLOATING OFFSHORE WIND TURBINE, AND FLOATING OFFSHORE WIND TURBINE

NºPublicación:  WO2026042428A1 26/02/2026
Solicitante: 
HITACHI LTD [JP]
\u682A\u5F0F\u4F1A\u793E\u65E5\u7ACB\u88FD\u4F5C\u6240
WO_2026042428_PA

Resumen de: WO2026042428A1

Provided is a floating offshore wind turbine system having a structure useful for replacing large components of a floating offshore wind turbine. A floating offshore wind turbine system having a floating offshore wind turbine, a main floating body, and a mooring body, the floating offshore wind turbine system characterized in that: the floating offshore wind turbine has blades for receiving wind, a hub to which the blades are fixed, a nacelle for storing a generator for converting rotational energy of the hub into electric power, a tower for supporting the nacelle, a sub-floating body for supporting the tower, and a sub-floating body connection part that can be fitted to a transport ship connection part; and the main floating body is moored to the sea bottom by the mooring body, and has a sub-floating body insertion space into which the sub-floating body is inserted.

TAUT-MOORED FLOATING STRUCTURE

NºPublicación:  WO2026042417A1 26/02/2026
Solicitante: 
MODEC INC [JP]
\u4E09\u4E95\u6D77\u6D0B\u958B\u767A\u682A\u5F0F\u4F1A\u793E
WO_2026042417_PA

Resumen de: WO2026042417A1

The present invention addresses the problem of providing a taut-moored floating structure that is taut-moored by a plurality of taut mooring cables, the taut-moored floating structure reducing shaking due to wind or waves, preventing an instantaneous increase in load on the taut mooring cables, and reducing fluctuations in the load on the taut mooring cables when shaking occurs. The problem is solved by a taut-moored floating structure 1 that supports an offshore wind power generation system, the taut-moored floating structure comprising a floating structure 5 and three sets of taut mooring cables 7 that connect seabed mooring parts 9 fixed to the seabed and connection parts 5b. Each column 51, 52, 53 of the floating structure 5 is provided with the connection parts 5b on an outside portion of an overhang part 6 overhanging outward. Each set of taut mooring cables 7 is composed of at least three taut mooring cables. When tension is generated in each taut mooring cable 7 by buoyancy generated in the floating structure 5 and the floating structure 5 is held in a tautly-moored state, distances between one set of taut mooring cables 7 which are connected to one column 51 are substantially equal to each other and are between the connection parts 5b and the seabed mooring parts 9, and an angle formed by the one set of taut mooring cables with respect to a vertical line is 15° or less.

SYSTEM FORMING AN ANCHOR POINT FOR OFFSHORE WIND TURBINE FLOATS AND INSTALLATION METHOD

NºPublicación:  EP4698427A1 25/02/2026
Solicitante: 
SAIPEM SA [FR]
SAIPEM S.A
KR_20250165410_PA

Resumen de: CN120916941A

The invention relates to a system (2) for forming an anchor point for an offshore wind turbine float, comprising at least one enclosure (6) having an open bottom (8) and an open top (10), the enclosure being at least partially filled with a solid particulate material (12) capable of withstanding shear forces with a seabed (4) on which the enclosure is intended to sit, the enclosure further comprises at least one mooring lug (14) for securing a mooring line (16) of the float.

SEABED ANCHORING DEVICE

NºPublicación:  EP4698426A1 25/02/2026
Solicitante: 
TECHNIP ENERGIES FRANCE [FR]
Technip Energies France
KR_20250172661_PA

Resumen de: TW202442530A

Device 1 for anchoring in a seabed 8 comprising - a hollow cylinder 2 comprising: - an open upper base 3, - an open lower base 4 configured to be embedded in the seabed, - a peripheral wall 5 with an internal face and an external face, - an internal stiffening structure 6 attached to the internal face of the hollow cylinder and extending axially within the cylinder between the lower and upper bases of the cylinder, and - an anchoring chain fastening means 9 rigidly connected to the hollow cylinder.

OPERATING A FLOATING WIND TURBINE

NºPublicación:  EP4700235A1 25/02/2026
Solicitante: 
SIEMENS GAMESA RENEWABLE ENERGY AS [DK]
Siemens Gamesa Renewable Energy A/S
EP_4700235_PA

Resumen de: EP4700235A1

A method of operating a floating wind turbine (1), FWT, is provided. The floating wind turbine (1) is exposed to waves during operation, the waves causing a wave induced motion of the floating wind turbine (1). The floating wind turbine (1) is configured to operate a protective function. The method comprises obtaining, during operation of the floating wind turbine (1), monitored wave data (70) indicative of a wave height of the waves the floating wind turbine (1) is exposed to during operation. It further comprises processing the monitored wave data (70) to obtain processed wave data, wherein the processing comprises at least a processing by descriptive statistical analysis, comparing the processed wave data to a threshold (140) that corresponds to a predetermined sea state and activating the protective function upon detecting that the processed wave data reaches or exceeds the threshold (140).

VERTICAL AXIS TURBINE AND FLOATING VESSEL

NºPublicación:  WO2026038959A1 19/02/2026
Solicitante: 
BLOWN B V [NL]
BLOWN B.V
WO_2026038959_PA

Resumen de: WO2026038959A1

The invention relates to a vertical axis turbine comprising a rotor and a frame for supporting the rotor, said frame comprising: - a top support with a bearing for the rotor, - a base support, and - six rigid legs, wherein the six rigid legs are attached in pairs to three mounting positions on the base support, and wherein the six rigid legs are attached in pairs different from the pairs formed at the base support to three mounting positions on the top support, wherein the three mounting positions on the base support lie on a first virtual circle with a first diameter, wherein the three mounting positions on the top support lie on a second virtual circle with a second diameter, and wherein the first diameter is larger than the second diameter.

Generation of Electrical Power Offshore

NºPublicación:  US20260048818A1 19/02/2026
Solicitante: 
SUBSEA 7 NORWAY AS [NO]
Subsea 7 Norway AS
US_20260048818_PA

Resumen de: US20260048818A1

A floating power-generation group comprises a floating hub such as a spar buoy that is anchored to subsea foundations by anchor lines. Floating power producer units such as wind turbines are connected electrically and mechanically to the hub. The power producer units are each moored by mooring lines. At least one mooring line extends inwardly toward the hub to effect mechanical connection to the hub and at least one other mooring line extends outwardly toward a subsea foundation. The groups are combined as a set whose hubs are connected electrically to each other via subsea energy storage units. Anchor lines of different groups can share subsea foundations. The storage units comprise pumping machinery to expel water from an elongate storage volume and generating machinery to generate electricity from a flow of water entering the storage volume. The pumping machinery can be in deeper water than the generating machinery.

FLOATING WIND TURBINE PLATFORM

NºPublicación:  US20260042517A1 12/02/2026
Solicitante: 
PRINCIPLE POWER INC [US]
Principle Power, Inc
US_20260042517_PA

Resumen de: US20260042517A1

The disclosure relates to a floating wind turbine platform, comprising: a substantially triangular hull configurable to support a wind turbine tower; the hull comprising a first, second and third column, the first, second and third columns being connected by a first, second and third pontoon member, as well as by a first, second and third connector.

ANCHORING SYSTEM AND METHOD FOR INSTALLING AND UNINSTALLING THE ANCHORING SYSTEM

NºPublicación:  US20260042509A1 12/02/2026
Solicitante: 
GAZELLE WIND POWER LTD [IE]
GAZELLE WIND POWER LIMITED
US_20260042509_PA

Resumen de: US20260042509A1

Anchoring system having a floating platform from which first anchoring lines emerge, an anchoring block with at least three non-aligned anchoring points, a central float swinging arms being joined by a joint to the block, the joint located in an intermediate area so that each arm has an internal section and an external section, the internal section located between the intermediate area and an inner free end, and the outer section located between the intermediate area and an outer free end, the inner end closer to the central float than the outer end, so that first anchoring lines leaving the floating platform are joined to the outer free ends. The system has second anchoring lines between the central float and the inner end portions containing the inner free ends of the inner sections of the arms. Also a method of install and uninstalling such a system.

METHOD FOR DETERMINING THE PRODUCTION AVAILABILITY OF AN OFFSHORE WIND FARM

NºPublicación:  US20260036115A1 05/02/2026
Solicitante: 
TOTALENERGIES ONETECH [FR]
TotalEnergies OneTech
US_20260036115_PA

Resumen de: US20260036115A1

The present invention concerns a method for determining the production availability of an offshore wind farm comprising at least one floating wind turbine, the method comprising: obtaining wind farm data, obtaining strategy data relative to operation and maintenance resources to carry out an action on the floating wind turbine(s), obtaining meteorological data relative to an offshore environment for the offshore wind farm over a given period of time, determining motion parameters as a function of the wind farm data and of the meteorological data, and determining the production availability of the offshore wind farm in the offshore environment over the given period of time on the basis of the wind farm data, of the strategy data, of the meteorological data, and of the determined motion parameters.

MOTION CONTROL OF AN OFFSHORE WIND TURBINE

NºPublicación:  WO2026027268A1 05/02/2026
Solicitante: 
SIEMENS GAMESA RENEWABLE ENERGY AS [DK]
SIEMENS GAMESA RENEWABLE ENERGY A/S
WO_2026027268_PA

Resumen de: WO2026027268A1

Motion control of an offshore wind turbine A method of controlling a motion of an offshore wind turbine (OWT) is provided. The OWT (100) comprises a tower (101), a wind turbine rotor (102), and a generator (120), wherein the generator (120) is mechanically coupled to the wind turbine rotor (102) and is configured to convert mechanical power to electrical power. The method comprises operating the OWT in an active motion control mode in which a motion of the OWT is controlled. Operation in the active motion control mode comprises operating the wind turbine rotor (102) to cause an application of a torque and/or force to an upper part of the tower (101) of the OWT to control the motion of the OWT. The wind turbine rotor (102) is operated by actively controlling a torque applied by the generator (120) to the wind turbine rotor (102).

MOVING BODY AND POWER TRANSMISSION METHOD

NºPublicación:  US20260034905A1 05/02/2026
Solicitante: 
POWERX INC [JP]
POWERX, INC
US_20260034905_PA

Resumen de: US20260034905A1

Provided is a moving body used in a power transmission system that charges a storage battery mounted on the moving body with power generated by a power generation facility and feeds the power to a power receiving facility from the storage battery transported by the moving body. This moving body is provided with a battery control device that causes the storage battery to be charged with the supply of power based on a voltage value that does not reach a maximum voltage value of direct-current power between the power generation facility and the power receiving facility.

DISCONNECTABLE MOORING SYSTEM

NºPublicación:  US20260035055A1 05/02/2026
Solicitante: 
SLLP 134 LTD [GB]
SLLP 134 Limited
US_20260035055_PA

Resumen de: US20260035055A1

A disconnectable mooring system for offshore semi-submersible floating structures. A disconnectable buoy has a number of mooring lines which include a buoy chain between the mooring chain and the buoy. The mooring chain and the buoy chain are connected via a three way mooring connector, with the third connection configured to pull the mooring connector to a mooring point on the structure. In a first configuration the buoy is disconnected and supports the mooring chains for recovery at shallow depths to be pulled in. In a second configuration, the mooring lines are pulled in via the mooring connectors thereby providing a spread mooring to the structure with the buoy chain left as a catenary between the buoy and mooring point.

MOTION CONTROL OF AN OFFSHORE WIND TURBINE

NºPublicación:  EP4686827A1 04/02/2026
Solicitante: 
SIEMENS GAMESA RENEWABLE ENERGY AS [DK]
Siemens Gamesa Renewable Energy A/S
EP_4686827_PA

Resumen de: EP4686827A1

A method of controlling a motion of an offshore wind turbine (OWT) is provided. The OWT (100) comprises a tower (101), a wind turbine rotor (102), and a generator (120), wherein the generator (120) is mechanically coupled to the wind turbine rotor (102) and is configured to convert mechanical power to electrical power. The method comprises operating the OWT in an active motion control mode in which a motion of the OWT is controlled. Operation in the active motion control mode comprises operating the wind turbine rotor (102) to cause an application of a torque and/or force to an upper part of the tower (101) of the OWT to control the motion of the OWT. The wind turbine rotor (102) is operated by actively controlling a torque applied by the generator (120) to the wind turbine rotor (102).

MOBILE ENERGY HARVESTING DEVICE FOR ENERGY GENERATION, CONVERSION, AND DELIVERY

NºPublicación:  US20260028098A1 29/01/2026
Solicitante: 
THE REGENTS OF THE UNIV OF CALIFORNIA [US]
The Regents of the University of California
US_20260028098_PA

Resumen de: US20260028098A1

A mobile energy harvesting device and method for using the same are described. In one embodiment, the device comprises a hull with a steering system, wherein the steering system steers the device. The device also includes a sail coupled to the hull and configured to propel the mobile energy harvesting device. An energy storage device is coupled to the hull and is configured to store energy. The device also further includes one or more energy generation devices configured to produce energy to be stored in the energy storage device. A control system is positioned in the hull and includes a control center communicatively coupled to a sensor, wherein the sensor detects input and communicates the input to the control center and the control center communicates with the steering system to steer the mobile energy harvesting device.

ENERGY COLLECTING METHOD

NºPublicación:  US20260028107A1 29/01/2026
Solicitante: 
TOYOTA MOTOR CO LTD [JP]
TOYOTA JIDOSHA KABUSHIKI KAISHA
US_20260028107_PA

Resumen de: US20260028107A1

An energy collecting method includes: a step in which a floating body, which constitutes a power generation system, stores energy by the floating body generating power while automatically sailing; and a step in which an energy transport ship collects energy from the floating body near an edge of a sea area in which the floating body automatically sails.

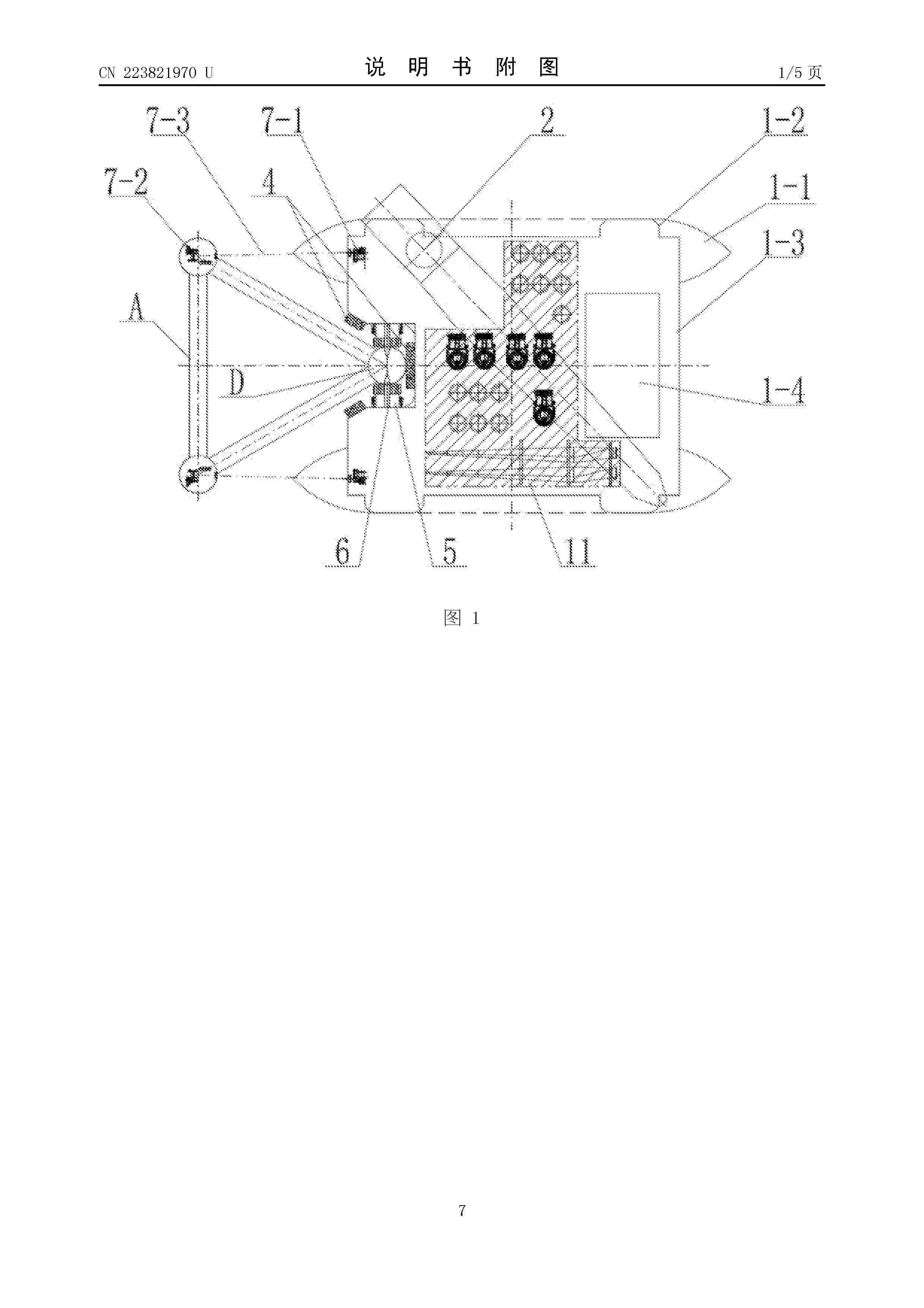
Semi-submersible offshore floating fan mounting platform

NºPublicación:  CN223821970U 23/01/2026
Solicitante: 
DALIAN SHIPBUILDING IND CO LTD
\u5927\u8FDE\u8239\u8236\u91CD\u5DE5\u96C6\u56E2\u6709\u9650\u516C\u53F8
CN_223821970_U

Resumen de: CN223821970U

A semi-submersible offshore floating type fan installation platform comprises a fan installation platform body and a three-stand-column type fan foundation, the fan installation platform body moves towards the three-stand-column type fan foundation, one stand column of the three-stand-column type fan foundation is provided with a conical groove and a fan floating body winch, and the installation platform body is provided with a butt joint groove and a platform winch. A stand column with a conical groove is inserted into the butt joint groove, a mooring rope is arranged between the fan floating body winch and the platform winch, hydraulic anti-collision devices at the two ends are started to clamp the stand column, and after the stand column is fixed, a hydraulic bolt is started, and a hydraulic rod of a locking hydraulic cylinder is inserted into the conical groove to be fixed. The floating body of the floating fan and the platform can be combined into a floating structure in an operation sea area of the floating fan, and the floating body and the platform are relatively static, so that good conditions are provided for fan installation, and the installation operation of the floating fan on the sea is completed. And the offshore installation operation of the floating fan is realized.

Anti-corrosion protection equipment for offshore wind power tower drum

Nº publicación: CN223825175U 23/01/2026

Solicitante:

JIANGSU TIANNENG MARINE HEAVY IND CO LTD
\u6C5F\u82CF\u5929\u80FD\u6D77\u6D0B\u91CD\u5DE5\u6709\u9650\u516C\u53F8

CN_223825175_U

Resumen de: CN223825175U

The utility model discloses an anti-corrosion protective device for an offshore wind power tower drum, which relates to the technical field of protective devices and comprises two symmetrically arranged semicircular mounting sleeves and two symmetrically arranged semicircular stroke sleeves, the semicircular mounting sleeves are sleeved on the outer drum walls of the semicircular stroke sleeves, and the semicircular stroke sleeves are sleeved on the outer drum walls of the semicircular stroke sleeves. A stroke block is fixedly connected to the outer cylinder wall of the semicircular stroke sleeve, a matched stroke groove corresponding to the stroke block is formed in the cylinder wall of the semicircular mounting sleeve, the offshore wind power tower cylinder can be effectively prevented from being collided through the arrangement of the mounting sleeve and the stroke sleeve, and a floating plate on the semicircular stroke sleeve can generate buoyancy along with the impact of sea waves. The buoyancy of the floating plate can drive the cleaning semi-ring in the semicircular stroke sleeve to clean the outer wall of the offshore wind power tower, dirt and marine organisms attached to the outer wall of the offshore wind power tower can be effectively scraped off, and the offshore wind power tower can be effectively prevented from being corroded.

traducir